CN114285222A - 卫星循环供热用磁悬浮电机 - Google Patents

卫星循环供热用磁悬浮电机 Download PDF

Info

Publication number
CN114285222A
CN114285222A CN202210073952.0A CN202210073952A CN114285222A CN 114285222 A CN114285222 A CN 114285222A CN 202210073952 A CN202210073952 A CN 202210073952A CN 114285222 A CN114285222 A CN 114285222A
Authority
CN
China
Prior art keywords
insulating
radial
coil
stator
casing
Prior art date
Legal status (The legal status is an assumption and is not a legal conclusion. Google has not performed a legal analysis and makes no representation as to the accuracy of the status listed.)
Granted
Application number
CN202210073952.0A
Other languages
English (en)
Other versions
CN114285222B (zh
Inventor
蒋启权
曾祥平
Current Assignee (The listed assignees may be inaccurate. Google has not performed a legal analysis and makes no representation or warranty as to the accuracy of the list.)
Chengdu Kaici Technology Co ltd
Original Assignee
Chengdu Kaici Technology Co ltd
Priority date (The priority date is an assumption and is not a legal conclusion. Google has not performed a legal analysis and makes no representation as to the accuracy of the date listed.)
Filing date
Publication date
Application filed by Chengdu Kaici Technology Co ltd filed Critical Chengdu Kaici Technology Co ltd
Priority to CN202210073952.0A priority Critical patent/CN114285222B/zh
Publication of CN114285222A publication Critical patent/CN114285222A/zh
Application granted granted Critical
Publication of CN114285222B publication Critical patent/CN114285222B/zh
Active legal-status Critical Current
Anticipated expiration legal-status Critical

Links

Images

Landscapes

  • Connection Of Motors, Electrical Generators, Mechanical Devices, And The Like (AREA)
  • Motor Or Generator Frames (AREA)

Abstract

本发明公开了卫星循环供热用磁悬浮电机,包括机壳,机壳内安装有转轴、定子组件、前磁轴承组件和后磁轴承组件,机壳的左端通过左端盖密封,机壳的右端通过右端盖密封,左端盖的左端面上密封连接有蜗壳,蜗壳上开设有进水孔和出水孔,进水孔和出水孔均与蜗壳的蜗腔连通,转轴的左端安装有叶轮,叶轮位于蜗腔内,转轴的中心开设有中心通孔,定子组件、前磁轴承组件和后磁轴承组件的导电线圈均绝缘密封安装。本发明的有益效果是:定子组件、前磁轴承组件和后磁轴承组件在水液中可以正常工作,从而能够为卫星循环供热,而且水液在机壳能还能形成循环,无需设计冷却通道,从而缩减了磁悬浮电机的体积。

Description

卫星循环供热用磁悬浮电机
技术领域
本发明涉及卫星循环供热设备,特别是卫星循环供热用磁悬浮电机。
背景技术
随着科学技术的发展,卫星已成为一个强国必不可少的大国重器之一,而卫星所工作的环境为真空环境,其温度较低,需要对其进行循环供热,因此则需要一种泵对卫星循环供热,而为了提高卫星的空间利用率,需要将泵防止浸泡在水液中,而现有的泵无法达到该要求,因此发明人经过长期研究,研究出了一种浸泡在水液中的磁悬浮电机。
发明内容
本发明的目的在于克服现有技术的缺点,提供卫星循环供热用磁悬浮电机。
本发明的目的通过以下技术方案来实现:卫星循环供热用磁悬浮电机,包括机壳,机壳内安装有转轴、定子组件、前磁轴承组件和后磁轴承组件,机壳的左端通过左端盖密封,机壳的右端通过右端盖密封,左端盖的左端面上密封连接有蜗壳,蜗壳上开设有进水孔和出水孔,进水孔和出水孔均与蜗壳的蜗腔连通,转轴的左端安装有叶轮,叶轮位于蜗腔内,转轴的中心开设有中心通孔,定子组件、前磁轴承组件和后磁轴承组件的导电线圈均绝缘密封安装。
可选的,定子组件包括定子铁芯、绝缘骨架c和线圈绕组,线圈绕组为定子组件的导电线圈,定子铁芯安装在机壳内,绝缘骨架c上安装有定子铁芯和线圈绕组,且定子铁芯和线圈绕组通过绝缘骨架c绝缘隔开,绝缘骨架c上还塑封有绝缘塑封件,且线圈绕组塑封在绝缘塑封件内,线圈绕组的引出线从绝缘塑封件的表面穿出。
可选的,后磁轴承组件包括壳体,壳体安装在机壳内,壳体上从左往右依次安装有径向位移检测装置、径向磁轴承定子和轴向位移调节装置,径向磁轴承定子的径向轴承定子线圈通过绝缘塑封件塑封,轴向位移调节装置的轴向位移调节线圈通过塑封胶绝缘密封。
可选的,前磁轴承组件包括支撑架,支撑架的内腔左端安装有检测组件,转轴上的待测盘位于检测组件的左侧,支撑架的内腔后端也安装有径向磁轴承定子,且径向磁轴承定子的径向轴承定子线圈通过绝缘塑封件塑封。
可选的,径向磁轴承定子还包括径向轴承定子铁芯,径向轴承定子铁芯上成对设置有磁极,磁极上套装有绝缘骨架a,绝缘骨架a上缠绕有径向轴承定子线圈,且若干径向轴承定子线圈均被塑封在一绝缘塑封件内。
可选的,轴向位移调节装置包括左安装盘、右安装盘和衬套,衬套位于左安装盘和右安装盘之间,且左安装盘、衬套和右安装盘通过锁紧螺钉锁紧,左安装盘和右安装盘之间具有容纳推力盘外圆盘的间隙,且左安装盘和右安装盘与推力盘的外圆盘之间均具有间隙,左安装盘的右端面和右安装盘的左端面均开设有环形槽,环形槽内安装有绝缘骨架b,绝缘骨架b上开设有环形的安装槽,轴向位移调节线圈缠绕在安装槽内,且环形槽内塑封有塑封胶。
可选的,绝缘骨架b的外壁上开设有引线孔,左安装盘和右安装盘上开设有引出孔,线圈上具有引出线,引出线从引线孔穿出,且左侧的引出线从左安装盘的引出孔穿出,右侧的引出线从右安装盘的引出孔穿出。
可选的,绝缘骨架b的外侧壁上开设有引流槽,引流槽与引线孔连通,塑封胶从引流槽流入并将引线孔密封。
可选的,壳体的外侧壁上开设有与径向位移检测装置、径向磁轴承定子和轴向位移调节装置对应的出线槽,径向位移检测装置、径向轴承定子线圈和轴向位移调节线圈的引出线从对应的出线槽穿出。
可选的,左端盖、右端盖、蜗壳上均开设有环形密封槽,环形密封槽内均安装有O型密封圈。
本发明具有以下优点:本发明的磁悬浮电机,机壳内充满水液,而定子组件、前磁轴承组件和后磁轴承组件的导电线圈均绝缘密封安装,从而使得定子组件、前磁轴承组件和后磁轴承组件在水液中也可以正常工作,从而能够为卫星循环供热,而且水液在机壳能还能形成循环,无需设计冷却通道,从而缩减了磁悬浮电机的体积。
附图说明
图1 为本发明的结构示意图
图2 为本发明的剖视示意图
图3 为后磁轴承组件的结构示意图;
图4 为本发明的剖视示意图;
图5 为壳体的剖视示意图;
图6 为径向磁轴承定子的结构示意图;
图7 为径向轴承定子线圈的安装示意图;
图8 为径向轴承定子铁芯的结构示意图;
图9 为绝缘骨架a的结构示意图;
图10 为轴向位移调节装置的结构示意图;
图11为轴向位移调节装置的剖视示意图;
图12为图11中A处的放大示意图;
图13为绝缘骨架b的结构示意图;
图14 为定子组件的结构示意图
图15 为定子组件的剖视示意图
图16 为定子铁芯的结构示意图一
图17 为定子铁芯的结构示意图二
图18 为绝缘骨架c的结构示意图
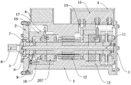
1-机壳,2-左端盖,3-右端盖,4-接线盒,5-蜗壳,6-进水孔,7-出水孔,8-叶轮,9-待测盘,10-检测组件,11-转轴,12-定子组件,13-径向磁轴承组件,14-线夹,15-灌封胶,16-支撑架,101-定子铁芯,102-绝缘骨架,103-线圈绕组,104-绝缘塑封件,105-引出线,106-凸齿a,107-翼缘a,108-环形安装槽,109-限位盘,110-凸齿b,111-容置槽,112-翼缘b,113-限位槽,114-绕线槽,201-壳体,202-出线槽,203-第一腔体,204-第二腔体,205-第三腔体,206-径向位移检测装置,207-径向磁轴承定子,208-轴向位移调节装置,211-推力盘,212-左安装盘,213-右安装盘,214-衬套,215-轴向位移调节线圈,216-锁紧螺钉,217-绝缘骨架b,218-塑封胶,219-安装槽,220-引线孔,221-引流槽,231-径向轴承定子铁芯,232-绝缘塑封件,233-绝缘骨架a,234-磁极,235-翼缘,236-径向轴承定子线圈。
具体实施方式
为使本发明实施方式的目的、技术方案和优点更加清楚,下面将结合本发明实施方式中的附图,对本发明实施方式中的技术方案进行清楚、完整地描述,显然,所描述的实施方式是本发明一部分实施方式,而不是全部的实施方式。通常在此处附图中描述和示出的本发明实施方式的组件可以以各种不同的配置来布置和设计。
因此,以下对在附图中提供的本发明的实施方式的详细描述并非旨在限制要求保护的本发明的范围,而是仅仅表示本发明的选定实施方式。基于本发明中的实施方式,本领域普通技术人员在没有作出创造性劳动前提下所获得的所有其他实施方式,都属于本发明保护的范围。
需要说明的是,在不冲突的情况下,本发明中的实施方式及实施方式中的特征可以相互组合。
应注意到:相似的标号和字母在下面的附图中表示类似项,因此,一旦某一项在一个附图中被定义,则在随后的附图中不需要对其进行进一步定义和解释。
在本发明的描述中,需要说明的是,术语“中心”、“上”、“下”、“左”、“右”、“竖直”、“水平”、“内”、“外”等指示的方位或位置关系为基于附图所示的方位或位置关系,或者是该发明产品使用时惯常摆放的方位或位置关系,或者是本领域技术人员惯常理解的方位或位置关系,仅是为了便于描述本发明和简化描述,而不是指示或暗示所指的装置或元件必须具有特定的方位、以特定的方位构造和操作,因此不能理解为对本发明的限制。此外,术语“第一”、“第二”等仅用于区分描述,而不能理解为指示或暗示相对重要性。
在本发明的描述中,还需要说明的是,除非另有明确的规定和限定,术语“设置”、“安装”、“相连”、“连接”应做广义理解,例如,可以是固定连接,也可以是可拆卸连接,或一体地连接;可以是机械连接,也可以是电连接;可以是直接相连,也可以通过中间媒介间接相连,可以是两个元件内部的连通。对于本领域的普通技术人员而言,可以具体情况理解上述术语在本发明中的具体含义。
如图1和图2所示,卫星循环供热用磁悬浮电机,包括机壳1,机壳1内安装有转轴11、定子组件12、前磁轴承组件17和后磁轴承组件13,机壳1的左端通过左端盖2密封,机壳1的右端通过右端盖3密封,左端盖2的左端面上密封连接有蜗壳5,蜗壳5上开设有进水孔6和出水孔7,进水孔6和出水孔7均与蜗壳5的蜗腔连通,转轴11的左端安装有叶轮8,叶轮8位于蜗腔内,转轴11的中心开设有中心通孔,在本实施例中,转轴11在定子组件12的驱动下转动,从而带动叶轮8在蜗壳5内转动,叶轮8转动后,从而将蜗壳5内的水液进行增压并从出水孔7排出,而且水液排出后,蜗腔对进水孔6内的水液具有吸水作用,从而将水液吸入到蜗腔内,而且在当叶轮8转动后,蜗壳5边缘的水液处于增压状态,而蜗壳5中部的水液处于降压状态,从而使得水液沿着转轴11与前磁轴承组件17、定子组件12、后磁轴承组件13的缝隙进入到右端盖3处,最后水液再通过中心通孔从转轴11的右端进入并从转轴11的左端排出,从而使得机壳1内的水液形成了一个循环,从而能够带走热量,也就是说该磁悬浮电机无需再在机壳1上设置散热通道,为了避免水液对定子组件12、前磁轴承组件17和后磁轴承组件13造成影响,在定子组件12、前磁轴承组件17和后磁轴承组件13的导电线圈均绝缘密封安装。
在本实施例中,如图14-图18所示,定子组件12包括定子铁芯101、绝缘骨架c102和线圈绕组103,绝缘骨架c102上安装有定子铁芯101和线圈绕组103,且定子铁芯101和线圈绕组103通过绝缘骨架c102绝缘隔开,绝缘骨架c102上还塑封有绝缘塑封件104,且线圈绕组103塑封在绝缘塑封件104内,线圈绕组103的引出线从绝缘塑封件104的表面穿出,绝缘骨架c102使得线圈绕组103与定子铁芯101隔开,从而保证了线圈绕组103的正常工作,而线圈绕组103的线圈绕法为现有技术,可以根据实际需求采用合适的绕线方法,在本实施例中,绝缘骨架c102呈筒状结构,绝缘骨架c102的外表面上开设有环形安装槽108,环形安装槽108的轴向两侧形成限位盘109,绝缘骨架c102的内表面上开设有若干分布在同一圆周上的绕线槽114,相邻绕线槽114之间形成凸齿b110,凸齿b110上径向开设有容置槽111,定子铁芯101层筒状结构,定子铁芯101套装在环形安装槽108内,且定子铁芯101在轴向方向上的两端面与限位盘109贴合,定子铁芯101的内圈上还设置有径向凸起的凸齿a106,且凸齿a106配合在容置槽111内,绝缘骨架c102为塑封成型,也就是说,先将定子铁芯101制作好后,然后再将定子铁芯101放置在塑封模具内,最终再塑封成型,脱模后,也就实现了绝缘骨架c102和定子铁芯101的连接,为保证绝缘骨架c102与定子铁芯101连接的稳固性,在凸齿a106内侧的端部在周向方向上设置有翼缘a107,凸齿b110内侧的端部在周向方向上设置有翼缘b112,翼缘b112上开设有与翼缘a107匹配的限位槽113,凸齿a106的内圆周直径与凸齿b110的内圆周直径相同,然后再在绝缘骨架c102的将线圈安装上,最后再将其放置在另一塑封模具内进行塑封,塑封好后,线圈绕组103则被绝缘塑封件104塑封,而线圈绕组103的引出线从绝缘塑封件104的径向表面穿出,而引出线与绝缘塑封件104的衔接处,由于是塑封成型,因此其衔接处也是被密封的,因此当定子组件12浸泡在水中后,并不会与水液接触,从而能够保证定子组件12的正常工作,而且绝缘塑封件104为绝缘材料制成,并不会影响线圈绕组103的磁路走向。
在本实施例中,如图3、图4和图5所示,后磁轴承组件13,包括壳体201,壳体201上从左往右依次安装有径向位移检测装置206、径向磁轴承定子207和轴向位移调节装置208,进一步的,壳体201的内腔从左往右依次开设有第一腔体203、第二腔体204和第三腔体205,径向位移检测装置206安装在第一腔体203内,径向磁轴承定子207安装在第二腔体204内,轴向位移调节装置208安装在第三腔体205内,且径向位移检测装置206、径向磁轴承定子207和轴向位移调节装置208彼此隔开,进一步的,径向磁轴承定子207的径向轴承定子线圈236通过绝缘塑封件232塑封,轴向位移调节装置208的轴向位移调节线圈215通过塑封胶218绝缘密封,当径向磁轴承定子207浸泡在水液中时,径向轴承定子线圈236通过绝缘塑封件232塑件,而轴向位移调节线圈215通过塑封胶218绝缘密封,因此径向轴承定子线圈236和轴向位移调节线圈215不会与水液接触,能够正常工作,从而使得径向磁轴承定子207可以浸泡在水液中稳定的工作。
在本实施例中,如图6和图7所示,径向磁轴承定子207包括径向轴承定子铁芯231和径向轴承定子线圈236,如图8和图9所示,径向轴承定子铁芯231上成对设置有磁极234,在本实施例中,磁极234为八极或十二级或十六极,且均匀分布在同一圆周上,优选的,磁极234为八极,磁极234上套装有绝缘骨架a233,绝缘骨架a233上缠绕有径向轴承定子线圈236,从而使得径向轴承定子线圈236与径向轴承定子铁芯231之间通过绝缘骨架a233隔开,从而使得径向轴承定子线圈236与径向轴承定子铁芯231不导通,进一步的,若干径向轴承定子线圈236均被塑封在一绝缘塑封件232内,而径向轴承定子线圈236的引出线从绝缘塑封件232的径向方向引出,径向轴承定子线圈236通过绝缘塑封件232塑封后,从而使得径向轴承定子线圈236嵌入一个封闭的空腔内,而绝缘塑封件232不导电也不导磁,因此绝缘塑封件232不会对径向轴承定子线圈236的磁力造成影响,同时当径向磁轴承定子207浸泡在水液中后,水液也不会与径向轴承定子线圈236接触,从而使得径向磁轴承定子207具有良好的防水性能,能够浸泡在水液中正常使用。
在本实施例中,磁极234内侧端部设置有向周向延伸的翼缘c235,绝缘骨架a233采用注塑工艺制成,也就是说,当径向轴承定子铁芯231制作好后,然后将径向轴承定子铁芯231放入注塑模具,最后再通过注塑形成绝缘骨架a233,当绝缘骨架a233注塑成型后,由于翼缘c235的存在,绝缘骨架a233则不会退出磁极234,当然为了保证径向轴承定子线圈236的缠绕,绝缘骨架a233上则具有相应的绕线槽。
在本实施例中,磁极234的内侧壁为内圆弧,且内圆弧分布在同一圆周上,当转轴11在径向磁轴承定子207内对中转动时,转轴11与内圆弧之间的间距相等。
在本实施例中,绝缘塑封件232的为圆形,且绝缘塑封件232的内圈直径小于或等于内圆弧的直径,绝缘塑封件232的外圈直径小于或等于径向轴承定子铁芯231外圆的直径,优选的,绝缘塑封件232的内圈直径小于内圆弧的直径,绝缘塑封件232的外圈直径小于径向轴承定子铁芯231外圆的直径,这样话,在塑封过程中,即可以实现径向轴承定子线圈236的包覆,还能够降低绝缘塑封件232的耗材,降低径向磁轴承定子207的重量。
在本实施例中,如图10和图11所示,轴向位移调节装置208包括左安装盘212、右安装盘213和衬套214,所述左安装盘212和右安装盘213均为导磁材料支撑,衬套214位于左安装盘212和右安装盘213之间,且左安装盘212、衬套214和右安装盘213通过锁紧螺钉216锁紧,进一步的,锁紧螺钉216为多个,且均匀分布在同一圆周上,在本实施例中,该轴向位移调节装置208还包括有连接螺钉,连接螺钉从右侧往左侧依次穿过右安装盘213、衬套214和左安装盘212与壳体201连接,从而实现该轴向位移调节装置208在磁悬浮电机内的安装,当左安装盘212和右安装盘213安装好后,由于衬套214的存在,左安装盘212和右安装盘213之间具有容纳推力盘211外圆盘的间隙,在本实施例中,为了避免推力盘211与左安装盘212和右安装盘213发生干涉,当推力盘211安装好后,左安装盘212和右安装盘213与推力盘211的外圆盘之间均具有间隙,左安装盘212的右端面和右安装盘213的左端面均开设有环形槽,环形槽内绝缘密封安装有线圈,由于线圈是绝缘安装在环形槽内的,因此线圈与对应的左安装盘212和右安装盘213则只会导磁而不导电,也就是说是左侧的线圈与与左安装盘212形成磁路,右侧的线圈与右安装盘213形成磁路,然后通过改变线圈的电流的大小及方向就可改变推力盘211左右两侧的受力大小,从而实现推力盘211轴向位置的调节,从而实现转轴11轴向位移的调节,而且线圈是密封安装在环形槽内的,因此该轴向位移调节装置208浸泡在水液中后,线圈不会与水液接触,从而能够保证该轴向位移调节装置208的正常工作。
在本实施例中,如图12所示,环形槽内安装有绝缘骨架b217,如图13所示,绝缘骨架b217上开设有环形的安装槽219,线圈缠绕在安装槽219内,且环形槽内塑封有塑封胶218,绝缘骨架b217为塑料注塑形成,因此绝缘骨架b217则不导电,且具有一定的刚度,线圈则可以缠绕在安装槽219内,当线圈在绝缘骨架b217内安装好后,再将绝缘骨架b217安装在环形槽内,由于绝缘骨架b217为塑料材质制成,因此绝缘骨架b217能够发生一定的形变,因此,绝缘骨架b217与环形槽之间为紧配合安装,从而能够保证绝缘骨架b217与对应的左安装盘212或右安装盘213安装的稳定性,当绝缘骨架b217安装好后,然后再通过塑封工艺将环形槽的开口密封,而将环形槽的开口密封后,绝缘骨架b217和线圈则塑封在环形槽内,从而保证了线圈的密封性能。
在本实施例中,在绝缘骨架b217的外壁上开设有引线孔,左安装盘212和右安装盘213上开设有引出孔220,线圈上具有引出线,引出线从引线孔穿出,且左侧的引出线从左安装盘212的引出孔220穿出,右侧的引出线从右安装盘213的引出孔220穿出,进一步的,绝缘骨架b217的外侧壁上开设有引流槽221,引流槽221与引线孔连通,塑封胶218从引流槽221流入并将引线孔密封,在塑封胶218塑封过程中,塑封胶218则通过引流槽221的引流进入到引线孔出,从而将引出线与引线孔的缝隙进行密封,保证了引出线与引线孔的密封性能,进一步的,由于引出孔220与对应的引线孔对应,因此塑封胶218还能进入到引出线与引出孔220之间的缝隙内,从而保证了引出线与引出孔220之间的密封性能,因此进一步的保证了该轴向位移调节装置208在水中浸泡工作的可靠性。
在本实施例中,壳体的外侧壁上开设有与径向位移检测装置206、径向磁轴承定子207和轴向位移调节装置208对应的出线槽202,径向位移检测装置206、径向轴承定子线圈236和轴向位移调节线圈215的引出线从对应的出线槽202穿出。
在本实施例中,前磁轴承组件17包括支撑架16,支撑架16的内腔左端安装有检测组件10,检测组件10为现有结构,一般可以通过市购获得,在检测组件10上塑封有轴向位移传感器和径向位移传感器,而转轴11上的待测盘9位于检测组件10的左侧,轴向位移传感器则公国检测待测盘9的相对位置以检测转轴11的轴向位移,支撑架16的内腔后端也安装有径向磁轴承定子,且径向磁轴承定子的径向轴承定子线圈通过绝缘塑封件塑封,该径向磁轴承定子的结构与后磁轴承组件13上的径向磁轴承定子结构相同。
在本实施例中,左端盖2、右端盖3、蜗壳5上均开设有环形密封槽,环形密封槽内均安装有O型密封圈,从而保证了左端盖2、右端盖3与机壳1的密封性能,以及左端盖2与蜗壳5的密封性能。
在本实施例中,机壳1上还设置有接线盒4,接线盒4的底部设置有线夹14,线夹14则可以用于固定引出线,并且当引出线引出后,并与接线盒4上的接头连接好后,则将接线盒4的内腔用灌封胶15灌封。
尽管参照前述实施例对本发明进行了详细的说明,对于本领域的技术人员来说,其依然可以对前述各实施例所记载的技术方案进行修改,或者对其中部分技术特征进行等同替换,凡在本发明的精神和原则之内,所作的任何修改、等同替换、改进等,均应包含在本发明的保护范围之内。

Claims (10)

1.卫星循环供热用磁悬浮电机,包括机壳,所述机壳内安装有转轴、定子组件、前磁轴承组件和后磁轴承组件,其特征在于:所述机壳的左端通过左端盖密封,所述机壳的右端通过右端盖密封,所述左端盖的左端面上密封连接有蜗壳,所述蜗壳上开设有进水孔和出水孔,所述进水孔和所述出水孔均与所述蜗壳的蜗腔连通,所述转轴的左端安装有叶轮,所述叶轮位于所述蜗腔内,所述转轴的中心开设有中心通孔,所述定子组件、前磁轴承组件和后磁轴承组件的导电线圈均绝缘密封安装。
2.根据权利要求1所述的卫星循环供热用磁悬浮电机,其特征在于:所述定子组件包括定子铁芯、绝缘骨架c和线圈绕组,所述线圈绕组为所述定子组件的导电线圈,所述定子铁芯安装在机壳内,所述绝缘骨架c上安装有所述定子铁芯和所述线圈绕组,且所述定子铁芯和所述线圈绕组通过所述绝缘骨架c绝缘隔开,所述绝缘骨架c上还塑封有绝缘塑封件,且所述线圈绕组塑封在所述绝缘塑封件内,所述线圈绕组的引出线从所述绝缘塑封件的表面穿出。
3.根据权利要求2所述的卫星循环供热用磁悬浮电机,其特征在于:所述后磁轴承组件包括壳体,所述壳体安装在机壳内,所述壳体上从左往右依次安装有径向位移检测装置、径向磁轴承定子和轴向位移调节装置,所述径向磁轴承定子的径向轴承定子线圈通过绝缘塑封件塑封,所述轴向位移调节装置的轴向位移调节线圈通过塑封胶绝缘密封。
4.根据权利要求3所述的卫星循环供热用磁悬浮电机,其特征在于:所述前磁轴承组件包括支撑架,所述支撑架的内腔左端安装有检测组件,所述转轴上的待测盘位于所述检测组件的左侧,所述支撑架的内腔后端也安装有径向磁轴承定子,且所述径向磁轴承定子的径向轴承定子线圈通过绝缘塑封件塑封。
5.根据权利要求4所述的卫星循环供热用磁悬浮电机,其特征在于:所述径向磁轴承定子还包括径向轴承定子铁芯,所述径向轴承定子铁芯上成对设置有磁极,所述磁极上套装有绝缘骨架a,所述绝缘骨架a上缠绕有所述径向轴承定子线圈,且若干所述径向轴承定子线圈均被塑封在一绝缘塑封件内。
6.根据权利要求5所述的卫星循环供热用磁悬浮电机,其特征在于:所述轴向位移调节装置包括左安装盘、右安装盘和衬套,所述衬套位于所述左安装盘和所述右安装盘之间,且所述左安装盘、所述衬套和所述右安装盘通过锁紧螺钉锁紧,所述左安装盘和所述右安装盘之间具有容纳推力盘外圆盘的间隙,且所述左安装盘和所述右安装盘与所述推力盘的外圆盘之间均具有间隙,所述左安装盘的右端面和所述右安装盘的左端面均开设有环形槽,所述环形槽内安装有绝缘骨架b,所述绝缘骨架b上开设有环形的安装槽,所述轴向位移调节线圈缠绕在所述安装槽内,且所述环形槽内塑封有塑封胶。
7.根据权利要求6所述的卫星循环供热用磁悬浮电机,其特征在于:所述绝缘骨架b的外壁上开设有引线孔,所述左安装盘和所述右安装盘上开设有引出孔,所述线圈上具有引出线,所述引出线从引线孔穿出,且左侧的引出线从左安装盘的引出孔穿出,右侧的引出线从右安装盘的引出孔穿出。
8.根据权利要求7所述的卫星循环供热用磁悬浮电机,其特征在于:所述绝缘骨架b的外侧壁上开设有引流槽,所述引流槽与所述引线孔连通,所述塑封胶从引流槽流入并将所述引线孔密封。
9.根据权利要求8所述的卫星循环供热用磁悬浮电机,其特征在于:所述壳体的外侧壁上开设有与径向位移检测装置、径向磁轴承定子和轴向位移调节装置对应的出线槽,所述径向位移检测装置、所述径向轴承定子线圈和所述轴向位移调节线圈的引出线从对应的出线槽穿出。
10.根据权利要求1所述的卫星循环供热用磁悬浮电机,其特征在于:所述左端盖、所述右端盖、蜗壳上均开设有环形密封槽,所述环形密封槽内均安装有O型密封圈。
CN202210073952.0A 2022-01-21 2022-01-21 卫星循环供热用磁悬浮电机 Active CN114285222B (zh)

Priority Applications (1)

Application Number Priority Date Filing Date Title
CN202210073952.0A CN114285222B (zh) 2022-01-21 2022-01-21 卫星循环供热用磁悬浮电机

Applications Claiming Priority (1)

Application Number Priority Date Filing Date Title
CN202210073952.0A CN114285222B (zh) 2022-01-21 2022-01-21 卫星循环供热用磁悬浮电机

Publications (2)

Publication Number Publication Date
CN114285222A true CN114285222A (zh) 2022-04-05
CN114285222B CN114285222B (zh) 2025-09-30

Family

ID=80881380

Family Applications (1)

Application Number Title Priority Date Filing Date
CN202210073952.0A Active CN114285222B (zh) 2022-01-21 2022-01-21 卫星循环供热用磁悬浮电机

Country Status (1)

Country Link
CN (1) CN114285222B (zh)

Cited By (2)

* Cited by examiner, † Cited by third party
Publication number Priority date Publication date Assignee Title
CN114964389A (zh) * 2022-08-03 2022-08-30 成都凯磁科技有限公司 一种受电弓滑板运行状态评估系统及方法
CN115615460A (zh) * 2022-09-26 2023-01-17 北京航天控制仪器研究所 一种磁悬浮定子检测装置

Citations (8)

* Cited by examiner, † Cited by third party
Publication number Priority date Publication date Assignee Title
CN201031800Y (zh) * 2007-04-24 2008-03-05 周建斌 一种潜水泵
JP2010045905A (ja) * 2008-08-12 2010-02-25 Ntn Corp モータ一体型の磁気軸受装置
CN204517625U (zh) * 2015-04-02 2015-07-29 河南工业职业技术学院 一种防水电机
CN106762694A (zh) * 2016-12-12 2017-05-31 华中科技大学 一种微型水力悬浮机械泵
CN213899326U (zh) * 2020-12-25 2021-08-06 成都凯磁科技有限公司 一种冷却效果好的磁悬浮增压机
CN216672712U (zh) * 2022-01-21 2022-06-03 凯磁科技(宁波)有限公司 一种具有防水功能的径向磁轴承定子
CN216672786U (zh) * 2022-01-21 2022-06-03 成都凯磁科技有限公司 卫星循环供热用磁悬浮电机
CN217240432U (zh) * 2022-01-21 2022-08-19 凯磁科技(宁波)有限公司 一种具有防水功能的轴向位移调节装置

Patent Citations (8)

* Cited by examiner, † Cited by third party
Publication number Priority date Publication date Assignee Title
CN201031800Y (zh) * 2007-04-24 2008-03-05 周建斌 一种潜水泵
JP2010045905A (ja) * 2008-08-12 2010-02-25 Ntn Corp モータ一体型の磁気軸受装置
CN204517625U (zh) * 2015-04-02 2015-07-29 河南工业职业技术学院 一种防水电机
CN106762694A (zh) * 2016-12-12 2017-05-31 华中科技大学 一种微型水力悬浮机械泵
CN213899326U (zh) * 2020-12-25 2021-08-06 成都凯磁科技有限公司 一种冷却效果好的磁悬浮增压机
CN216672712U (zh) * 2022-01-21 2022-06-03 凯磁科技(宁波)有限公司 一种具有防水功能的径向磁轴承定子
CN216672786U (zh) * 2022-01-21 2022-06-03 成都凯磁科技有限公司 卫星循环供热用磁悬浮电机
CN217240432U (zh) * 2022-01-21 2022-08-19 凯磁科技(宁波)有限公司 一种具有防水功能的轴向位移调节装置

Cited By (2)

* Cited by examiner, † Cited by third party
Publication number Priority date Publication date Assignee Title
CN114964389A (zh) * 2022-08-03 2022-08-30 成都凯磁科技有限公司 一种受电弓滑板运行状态评估系统及方法
CN115615460A (zh) * 2022-09-26 2023-01-17 北京航天控制仪器研究所 一种磁悬浮定子检测装置

Also Published As

Publication number Publication date
CN114285222B (zh) 2025-09-30

Similar Documents

Publication Publication Date Title
EP0967707B1 (en) Divisible lamination brushless pump-motor having fluid cooling system
JP3213465B2 (ja) 燃料供給ポンプ
CN100454721C (zh) 电动机以及其与燃油泵结合在一起的组件
US7573169B2 (en) Permanent magnet rotor
CN216672786U (zh) 卫星循环供热用磁悬浮电机
CN205407546U (zh) 定子浸油散热且转子内置式的盘式电动机
CN114285222A (zh) 卫星循环供热用磁悬浮电机
CN111425409B (zh) 一种内部液冷隔离式盘式无刷电子水泵
US4496866A (en) Submersible electric motor and method of manufacturing the same
CN216599305U (zh) 一种具可连通泵送冷却液结构的电机及电动水泵
CN105576927A (zh) 定子浸油散热且转子内置式的盘式电动机
CN111425408A (zh) 一种高效散热一体化盘式无刷电子水泵
CN213661288U (zh) 一种定子模块、电机和管道泵
CN112443491B (zh) 磁悬浮高速增压机
CN107676307B (zh) 电子水泵水循环结构以及电子水泵
CN111884483B (zh) 一种具有限位结构的高功率密度的超导电机
CN216714991U (zh) 一种适用于水下工作的径向磁轴承组件
CN217240432U (zh) 一种具有防水功能的轴向位移调节装置
CN211423020U (zh) 泵及洗碗机
JP2022554156A (ja) 電動ポンプ
CN219086975U (zh) 一种定子及轴向磁场电机
JP7568563B2 (ja) 回転電機のステータ
CN108894999A (zh) 电动水泵
CN210327230U (zh) 隔离潜水泵
CN112780610B (zh) 泵及洗碗机

Legal Events

Date Code Title Description
PB01 Publication
PB01 Publication
SE01 Entry into force of request for substantive examination
SE01 Entry into force of request for substantive examination
GR01 Patent grant
GR01 Patent grant