CN114232168B - Large jacquard batch warping machine - Google Patents
Large jacquard batch warping machine Download PDFInfo
- Publication number
- CN114232168B CN114232168B CN202210054484.2A CN202210054484A CN114232168B CN 114232168 B CN114232168 B CN 114232168B CN 202210054484 A CN202210054484 A CN 202210054484A CN 114232168 B CN114232168 B CN 114232168B
- Authority
- CN
- China
- Prior art keywords
- fixed
- baffle
- wall
- box body
- box
- Prior art date
- Legal status (The legal status is an assumption and is not a legal conclusion. Google has not performed a legal analysis and makes no representation as to the accuracy of the status listed.)
- Active
Links
- 239000000428 dust Substances 0.000 claims abstract description 58
- 230000005611 electricity Effects 0.000 claims abstract description 47
- 230000005540 biological transmission Effects 0.000 claims abstract description 42
- 230000000712 assembly Effects 0.000 claims abstract description 13
- 238000000429 assembly Methods 0.000 claims abstract description 13
- 238000001179 sorption measurement Methods 0.000 claims abstract description 5
- 238000004804 winding Methods 0.000 claims abstract description 5
- 239000011324 bead Substances 0.000 claims description 12
- 238000010521 absorption reaction Methods 0.000 claims description 11
- 238000009434 installation Methods 0.000 claims description 11
- 239000003595 mist Substances 0.000 claims description 7
- 230000007246 mechanism Effects 0.000 claims description 6
- 230000002093 peripheral effect Effects 0.000 claims description 4
- 238000005507 spraying Methods 0.000 claims description 4
- 238000009736 wetting Methods 0.000 abstract description 7
- 239000004753 textile Substances 0.000 description 36
- 239000007921 spray Substances 0.000 description 11
- 230000003068 static effect Effects 0.000 description 8
- 239000002184 metal Substances 0.000 description 7
- 239000000463 material Substances 0.000 description 6
- 239000004744 fabric Substances 0.000 description 5
- 238000009987 spinning Methods 0.000 description 5
- 230000003472 neutralizing effect Effects 0.000 description 4
- 238000000889 atomisation Methods 0.000 description 3
- 238000007664 blowing Methods 0.000 description 3
- 230000000694 effects Effects 0.000 description 3
- 230000006872 improvement Effects 0.000 description 3
- 238000006386 neutralization reaction Methods 0.000 description 3
- XLYOFNOQVPJJNP-UHFFFAOYSA-N water Substances O XLYOFNOQVPJJNP-UHFFFAOYSA-N 0.000 description 3
- 238000010586 diagram Methods 0.000 description 2
- 238000000034 method Methods 0.000 description 2
- 235000014676 Phragmites communis Nutrition 0.000 description 1
- 230000006978 adaptation Effects 0.000 description 1
- 239000003086 colorant Substances 0.000 description 1
- 230000008030 elimination Effects 0.000 description 1
- 238000003379 elimination reaction Methods 0.000 description 1
- 239000000835 fiber Substances 0.000 description 1
- 238000012986 modification Methods 0.000 description 1
- 230000004048 modification Effects 0.000 description 1
- 230000008569 process Effects 0.000 description 1
Images
Classifications
-
- D—TEXTILES; PAPER
- D02—YARNS; MECHANICAL FINISHING OF YARNS OR ROPES; WARPING OR BEAMING
- D02H—WARPING, BEAMING OR LEASING
- D02H3/00—Warping machines
-
- D—TEXTILES; PAPER
- D02—YARNS; MECHANICAL FINISHING OF YARNS OR ROPES; WARPING OR BEAMING
- D02H—WARPING, BEAMING OR LEASING
- D02H13/00—Details of machines of the preceding groups
-
- D—TEXTILES; PAPER
- D02—YARNS; MECHANICAL FINISHING OF YARNS OR ROPES; WARPING OR BEAMING
- D02J—FINISHING OR DRESSING OF FILAMENTS, YARNS, THREADS, CORDS, ROPES OR THE LIKE
- D02J7/00—Cleaning, e.g. removing dust, loose fibres, charred ends
-
- D—TEXTILES; PAPER
- D06—TREATMENT OF TEXTILES OR THE LIKE; LAUNDERING; FLEXIBLE MATERIALS NOT OTHERWISE PROVIDED FOR
- D06B—TREATING TEXTILE MATERIALS USING LIQUIDS, GASES OR VAPOURS
- D06B1/00—Applying liquids, gases or vapours onto textile materials to effect treatment, e.g. washing, dyeing, bleaching, sizing or impregnating
- D06B1/02—Applying liquids, gases or vapours onto textile materials to effect treatment, e.g. washing, dyeing, bleaching, sizing or impregnating by spraying or projecting
Landscapes
- Engineering & Computer Science (AREA)
- Textile Engineering (AREA)
- Treatment Of Fiber Materials (AREA)
Abstract
The invention relates to the technical field of warping machines, in particular to a jacquard batch warping machine which comprises a first electricity removing device and a second electricity removing device arranged on one side of the first electricity removing device, wherein the first electricity removing device comprises a first box body, the second electricity removing device comprises a second box body, transmission assemblies are respectively arranged at two side positions inside the first box body and at a position far away from the first electricity removing device inside the second box body, a driving assembly matched with each transmission assembly is arranged at the top position of the first electricity removing device, a dust collecting assembly is arranged at the top of the first electricity removing device, a wetting assembly is arranged at the top of the second electricity removing device, a winding roller is arranged at one side position of the second electricity removing device, and an adsorption electricity removing assembly is arranged inside the first box body.
Description
Technical Field
The invention relates to the technical field of warping machines, in particular to a large-jacquard batch warping machine.
Background
The jacquard fabric is a large pattern fabric woven by a jacquard machine, and the number of warp yarns of the complete pattern fabric is hundreds of warp yarns and thousands of warp yarns. Jacquard patterns are usually based on one weave (ground weave) and have a pattern, such as plain weave, satin weave, developed on it in another or several different weaves. Sometimes, the fabric can also be provided with colorful large patterns by using warps and wefts with different colors. It can also be made into various styles of jacquard fabrics by matching with different fiber types, yarn counts and different warp and weft densities. Jacquard weave is used in a wide range of applications, such as bedding, curtains, blankets, artwork and other textiles.
The invention discloses a large jacquard batch warping machine with the publication number of CN113249844A, which comprises a workbench, wherein two wire rollers and a take-up roller are connected to the workbench in a rotating manner, a transmission shaft of the take-up roller is connected with a servo motor in a transmission manner, a reed is fixedly connected to the workbench, a supporting plate is fixedly connected to the side wall of one side, close to the take-up roller, of the workbench, the supporting plate is fixedly connected with a bearing box through a plurality of reset springs, a plurality of limiting rods are fixedly connected to the lower end of the bearing box, and the limiting rods are connected with the supporting plate in a sliding manner. The device can eliminate static electricity generated by the yarn in a winding process of the yarn winding roller by matching the vibration electricity eliminating roller with each metal ball, and can better eliminate dust possibly existing on the yarn and ensure the cleanness of the yarn by matching the vibration mechanism, the linkage mechanism and the driving mechanism.
The above invention also has the following disadvantages: although can be through under vibrations mechanism, link gear and actuating mechanism's the cooperation for the device can be better clear away the dust that probably exists on the yarn, but vibration itself probably can make the braided wire dislocation of wind-up roll, and dust removal effect is not good simultaneously, because the dust that the vibration dropped can be diffused in the air, probably falls on the braided wire again.
Disclosure of Invention
The present invention is directed to a large sample batch warper that solves the problems set forth above in the background art.
The technical scheme of the invention is as follows: the utility model provides a big jacquard weave warper in batches, includes that one number removes the electric installation and sets up No. two on one number removes electric installation on one side position, no. one remove the electric installation and include the box No. one, no. two remove the electric installation and include the box No. two, the inside both sides position department of a box and the inside of No. two boxes are kept away from a except that electric installation position department and are all installed drive assembly, the top position department that removes the electric installation installs the drive assembly with each drive assembly looks adaptation, no. one remove the top of electric installation and install dust absorption assembly, no. two remove the top of electric installation and install moist subassembly, no. two remove one side positions of electric installation and have the wind-up roll, the internally mounted of a box has the absorption to remove the electric subassembly, the inside both ends position department of a box all installs the adjusting part, the adjusting part is located the below that adsorbs to remove the electric subassembly.
Preferably, the bottom of a box and No. two boxes is fixed with places the bottom plate, drive assembly includes mount, dwang, a plurality of drive wheel and a plurality of clamping component, the mount is U-shaped structure and bottom and fixes on the bottom plate, and is a plurality of the drive wheel equidistance is fixed on the periphery wall of dwang, one side cross section of drive wheel is H shape structure, the working chamber that the equidistance distributes is all seted up to the both ends inside of drive wheel, and is a plurality of clamping component and a plurality of working chamber one-to-one, and in the inside of installation working chamber, the both ends inside wall of mount is run through to the both ends head of dwang, and forms normal running fit with the mount.
Preferably, clamping unit includes catch bar, spacing crown plate, spring one and presss from both sides tight piece, the both ends inner wall of working chamber is run through at the both ends of catch bar, and forms sliding fit with the working chamber, press from both sides tight piece and fix on a tip of catch bar, it is located the inboard of drive wheel to press from both sides tight piece, spacing crown plate is fixed on the periphery wall of catch bar, spacing crown plate slidable mounting is on the inner wall of working chamber, the both ends of spring one contact with the one end inner wall that spacing crown plate and working chamber are close to its outside respectively, the outside both ends position department of drive wheel all is provided with the sloping block, the top of sloping block is fixed with the dead lever, the top of dead lever is fixed on the top inside wall of mount.
Preferably, the driving assembly comprises a first servo motor fixed on the top of the first box body, a driving wheel fixed on an output shaft of the first servo motor, and a driven wheel fixed on one end of the rotating rod, a first transmission belt used for connection is arranged between the driving wheel and one of the driven wheels, and a second output transmission belt used for connection is arranged between the two adjacent driven wheels.
Preferably, electricity removal device still includes two driving rollers, cup joints transport area and servo motor two on two driving roller periphery walls, two the both ends head of driving roller rotates respectively and installs on the inner wall both ends of a box, servo motor two is fixed on the one end outer wall of a box, servo motor two's output shaft is fixed mutually with the one end of one of them driving roller, the periphery wall in transport area is fixed with the brush that the equidistance distributes.
Preferably, the dust absorption mouth has been seted up at the top of box, a box inner wall is fixed with baffle one and baffle two, baffle one and baffle two are located the both sides position department of dust absorption mouth respectively and are located the top in transportation area, ion wind stick one is installed to the one end inner wall of box, ion wind stick one is located baffle one and a box and is close to between the one side inner wall of baffle one, the both ends inner wall of box runs through and is provided with the live-rollers, the periphery wall of live-rollers is fixed with the scraper blade, the one end outer wall of box is fixed with servo motor three, the one end of live-rollers is fixed mutually with servo motor three's output shaft, the live-rollers is located between baffle one and the baffle two and is located the top in transportation area.
Preferably, the dust collection assembly comprises a dust collector, a dust outlet pipe, a dust collection pipe and a dust collection cover, wherein one end of the dust outlet pipe and one end of the dust collection pipe are fixed to the output end and the inlet end of the dust collector respectively, the other end of the dust collection pipe is connected with the dust collection cover, and the dust collection cover is fixed to the inner wall of the dust collection opening.
Preferably, the adjusting assembly comprises a moving block, a tip pin, a fixed cylinder, a second spring, a moving cylinder, a positive plate and a fixed plate, the adjusting assembly is located below the conveying belt, the fixed plate is fixed on the inner wall of one end of the first box body, the fixed cylinder is fixed on the top of the fixed plate, the moving cylinder penetrates through the top of the fixed cylinder and forms sliding fit with the fixed cylinder, a circular ring plate coaxial with the moving cylinder is fixed at the bottom of the moving cylinder, the circular ring plate is in contact with the inner wall of the fixed cylinder, the spring is sleeved on the outer peripheral wall of the moving cylinder and located above the circular ring plate, the moving block is fixed at the top of the moving cylinder, the tip pin is fixed at the bottom of the moving block and located inside the moving cylinder, the positive plate is fixed at the position at the top of the fixed plate and located inside the fixed cylinder, and contact rods are fixed on the outer walls of two ends, close to each other, of the two moving blocks.
Preferably, no. two electricity removal devices still include a plurality of deep bead one and a plurality of deep bead two, the both ends outer wall of deep bead one and the both ends outer wall of deep bead two are equallyd divide and are fixed respectively on the both ends inner wall of No. two boxes, and are a plurality of two evenly distributed of deep bead are between per two adjacent deep beads one.
Preferably, two ion wind bars II of moist subassembly, ultrasonic atomization ware, play fog pipe and fog cover, ion wind bar two is located transmission assembly upper and lower both sides, the both ends of ion wind bar two all are fixed with the backup pad, ion wind bar two-way is fixed on one side outer wall of No. two boxes through the backup pad, a tip that goes out the fog pipe sets up on ultrasonic atomization ware's spraying end, the fog cover is fixed on the other tip that goes out the fog pipe, the fog cover sets up the top at top ion wind bar two, ultrasonic atomization ware is fixed on the top of No. two boxes.
The invention provides a jacquard batch warping machine through improvement, compared with the prior art, the jacquard batch warping machine has the following improvement and advantages:
one is as follows: the spinning wheel is driven to rotate by an output shaft of a servo motor I, one driven wheel is driven to rotate by the driving wheel I through a transmission belt I, two adjacent driven wheels synchronously rotate through a transmission belt II, the driven wheels drive rotating rods to synchronously rotate, the push rods on the transmission wheels pass through the inclined blocks, the two push rods are close to each other, the clamping blocks on the two push rods are close to each other at the moment to clamp spinning threads, the limiting ring plate on the push rods compresses a spring I, when the push rods on the transmission wheels are far away from the inclined blocks, the spring I resets, the clamping blocks loosen the spinning threads, and in such a clamping and transporting mode, the number of point contact between the spinning wheel and the spinning threads is reduced, so that the electrostatic effect caused by static friction force is reduced;
the second step is as follows: according to the conveying belt and the brush with the neutralized charges, when the conveying belt and the brush are close to the textile yarns, the negative charges of the conveying belt and the brush are gradually lost, the charges on the textile yarns are continuously neutralized, at the moment, the conveying belt and the brush are positively charged due to the loss of the negative charges, dust is adsorbed away, the servo motor III drives one of the driving rollers to rotate, the two driving rollers synchronously rotate through the conveying belt, the transmission direction of the conveying belt is opposite to the transmission direction of the textile yarns, and therefore the dust is more favorably taken away, the conveying belt and the brush are recommended to be made of soft plastic materials, and the charge losing capacity of the soft plastic materials is higher than that of the textile yarns;
the top part of the conveying belt is subjected to neutralization blowing by the ion air bar, charges on the conveying belt are neutralized, the rotating roller is clockwise rotated by the servo motor II, the dust is scraped by the scraper on the rotating roller, and the dust is sucked away by the dust collector;
and thirdly: the metal rod can lead charges on the textile thread to the needle points of the tip needles on the two moving blocks to be concentrated, the positive plate is electrified with positive electricity, if the charges are large, the repulsive force between the positive plate and the tip needles is stronger, the spring II is compressed at the moment, the textile thread is in contact with the conveying belt, otherwise, the spring II extends, the metal rod pulls the textile thread downwards, the textile thread is gradually far away from the conveying belt, and static electricity is prevented from being generated due to secondary friction;
fourthly, the method comprises the following steps: the ultrasonic atomizer provided by the invention is used for spraying treatment, the ion wind rod II enables the spray to be sprayed into the box body II with neutralizing charges, and the spray can swirl on the textile wire according to hydrodynamics, so that the spray can fully contact the textile wire, the wetting efficiency can be increased, and the water can be saved.
Drawings
The invention is further explained below with reference to the figures and examples:
FIG. 1 is a perspective view of the present invention;
FIG. 2 is a front view of the present invention;
FIG. 3 is a front cross-sectional view of the present invention;
FIG. 4 isbase:Sub>A cross-sectional view A-A of FIG. 2;
FIG. 5 is an enlarged view at A of FIG. 4;
FIG. 6 is a diagram of the transmission assembly of the present invention;
FIG. 7 is a front view of the transmission assembly of the present invention;
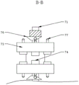
FIG. 8 is a sectional partial view taken along line B-B of FIG. 7;
FIG. 9 is a cross-sectional view C-C of FIG. 7;
FIG. 10 is an enlarged view at B of FIG. 9;
fig. 11 is a schematic diagram of the operation of the present invention.
Description of reference numerals:
1. a first static elimination device; 11. a first box body; 12. a driving roller; 13. a conveyor belt; 14. a brush; 15. a first ion wind rod; 16. a first baffle plate; 17. a second baffle plate; 18. a squeegee; 19. a rotating roller; 2. a drive assembly; 21. a first servo motor; 22. a driving wheel; 23. a first transmission belt; 24. a driven wheel; 25. a second transmission belt; 3. a dust collection assembly; 31. a dust collector; 32. a dust outlet pipe; 33. a dust collection pipe; 34. a dust hood; 4. a second neutralization device; 41. a second box body; 42. a first wind shield; 43. a second wind shield; 5. wetting the component; 51. an ultrasonic atomizer; 52. a mist outlet pipe; 53. a fog cover; 54. a support plate; 55. a second ion wind rod; 6. a wind-up roll; 7. a transmission assembly; 71. a fixed mount; 72. rotating the rod; 73. a driving wheel; 74. a clamping block; 75. a fixing rod; 76. a sloping block; 77. a push rod; 78. a limit ring plate; 79. a first spring; 8. an adjustment assembly; 81. a moving block; 82. a sharp-pointed needle; 83. a fixed cylinder; 84. a second spring; 85. moving the drum; 86. a positive plate; 87. a fixing plate; 88. contacting the rod.
Detailed Description
The present invention is described in detail below, and the technical solutions in the embodiments of the present invention are clearly and completely described, and it is obvious that the described embodiments are only a part of the embodiments of the present invention, and not all of the embodiments. All other embodiments, which can be obtained by a person skilled in the art without making any creative effort based on the embodiments in the present invention, belong to the protection scope of the present invention.
The invention provides a jacquard batch warping machine through improvement, and the technical scheme of the invention is as follows:
as shown in fig. 1 to 11, a large jacquard batch warping machine comprises a first electricity removing device 1 and a second electricity removing device 4 arranged on one side of the first electricity removing device 1, wherein the first electricity removing device 1 comprises a first box body 11, the second electricity removing device 4 comprises a second box body 41, transmission assemblies 7 are arranged at positions on two sides of the inside of the first box body 11 and positions, far away from the first electricity removing device 1, of the inside of the second box body 41, driving assemblies 2 matched with the transmission assemblies 7 are arranged at positions on the top of the first electricity removing device 1, a dust suction assembly 3 is arranged at the top of the first electricity removing device 1, a wetting assembly 5 is arranged at the top of the second electricity removing device 4, a winding roller 6 is arranged at one side of the second electricity removing device 4, an adsorption electricity removing assembly is arranged inside the first box body 11, adjusting assemblies 8 are arranged at positions on two ends of the inside of the first box body 11, and the adjusting assemblies 8 are arranged below the adsorption electricity removing assemblies.
Furthermore, a placing bottom plate is fixed at the bottom of the first box body 11 and the second box body 41, the transmission assembly 7 comprises a fixing frame 71, a rotating rod 72, a plurality of transmission wheels 73 and a plurality of clamping assemblies, the fixing frame 71 is in a U-shaped structure, the bottom of the fixing frame 71 is fixed on the bottom plate, the plurality of transmission wheels 73 are fixed on the peripheral wall of the rotating rod 72 at equal intervals, the cross section of one side of each transmission wheel 73 is in an H-shaped structure, working cavities distributed at equal intervals are formed in the two ends of each transmission wheel 73, the plurality of clamping assemblies correspond to the plurality of working cavities one by one, and is arranged in the working cavity, two ends of the rotating rod 72 penetrate through the inner side walls of two ends of the fixed frame 71, and forms a rotating fit with the fixed frame 71, the clamping component comprises a push rod 77, a limit ring plate 78, a first spring 79 and a clamping block 74, two ends of the push rod 77 penetrate through the inner walls of two ends of the working cavity, the driving assembly 2 comprises a first servo motor 21 fixed on the top of the first box 11, a driving wheel 22 fixed on an output shaft of the first servo motor 21 and driven wheels 24 fixed on one end of the rotating rod 72, a first transmission belt 23 used for connection is arranged between the driving wheel 22 and one of the driven wheels 24, and a second transmission belt 25 used for connection is arranged between two adjacent driven wheels 24.
By means of the structure: the servo motor I21 enables the driving wheel 22 to rotate through an output shaft, the driving wheel 22 drives one of the driven wheels 24 to rotate through a transmission belt I23, two adjacent driven wheels 24 synchronously rotate through a transmission belt II 25, the driven wheels 24 drive the rotating rod 72 to synchronously rotate, the push rods 77 on the transmission wheel 73 pass through the inclined blocks 76, in combination with the figure 8, the two push rods 77 are close to each other, the clamping blocks 74 on the two push rods 77 are close to each other at the moment to clamp the textile threads, in combination with the figure 9, the limiting ring plates 78 on the push rods 77 compress the springs I79, when the push rods 77 on the transmission wheel 73 are far away from the inclined blocks 76, the springs I79 reset, the clamping blocks 74 loosen the textile threads, and through the mode of clamping and transportation, the number of point contact between the textile wheels and the textile threads is reduced, and therefore the electrostatic effect caused by static friction force is reduced.
Furthermore, electricity removal device 1 still includes two driving rollers 12, cup joints transport area 13 and servo motor two on two driving rollers 12 periphery walls, and the both ends head of two driving rollers 12 rotates respectively and installs on the inner wall both ends of box 11, and servo motor two is fixed on the one end outer wall of box 11, and servo motor two's output shaft is fixed mutually with one of them driving roller 12's a terminal, and the periphery wall of transport area 13 is fixed with the brush 14 that the equidistance distributes.
By means of the structure: the textile line has positive charges on the body, the textile line has the ability of attracting negative charges, so when the conveyer belt 13 and the brush 14 with the neutralized charges are close to the textile line, the negative charges of the conveyer belt 13 and the brush 14 are gradually lost, the charges on the textile line are continuously neutralized, at the moment, the conveyer belt 13 and the brush 14 are positively charged because of losing the negative charges, dust is absorbed away, because the servo motor drives one of the driving rollers 12 to rotate, the two driving rollers 12 synchronously rotate through the conveyer belt 13, and the driving direction of the conveyer belt 13 is opposite to the conveying direction of the textile line, so that the dust is more favorably taken away, the conveyer belt 13 and the brush 14 propose to use soft plastic materials, because the ability of losing the charges of the soft plastic materials is higher than that of the textile line.
Furthermore, a dust suction port is formed in the top of the first box body 11, a first baffle 16 and a second baffle 17 are fixed on the inner wall of the first box body 11, the first baffle 16 and the second baffle 17 are respectively located at two sides of the dust suction port and above the conveyor belt 13, a first ion air bar 15 is installed on the inner wall of one end of the first box body 11, the first ion air bar 15 is located between the first baffle 16 and the inner wall of one side, close to the first baffle 16, of the first box body 11, a rotating roller 19 penetrates through the inner walls of two ends of the first box body 11, a scraper 18 is fixed on the outer wall of the rotating roller 19, a third servo motor is fixed on the outer wall of one end of the first box body 11, one end of the rotating roller 19 is fixed with an output shaft of the third servo motor, the rotating roller 19 is located between the first baffle 16 and the second baffle 17 and above the conveyor belt 13, the dust collection assembly 3 comprises a suction machine 31, a dust outlet pipe 32, a dust suction pipe 33 and a dust suction hood 34, one end of the dust outlet pipe 32 and one end of the dust suction hood are respectively connected with the inner wall of the dust suction port 34.
By means of the structure: the first ion air bar 15 performs neutralizing blowing on the top portion of the conveyor belt 13, charges on the conveyor belt 13 are neutralized, the second servo motor enables the rotating roller 19 to rotate clockwise, the scraper 18 on the rotating roller 19 scrapes up dust, and the dust collector 31 sucks away the dust.
Further, the adjusting assembly 8 includes a moving block 81, a tip end needle 82, a fixed cylinder 83, a second spring 84, a moving cylinder 85, a positive plate 86 and a fixed plate 87, the adjusting assembly 8 is located below the conveying belt 13, the fixed plate 87 is fixed on an inner wall of one end of the first box 11, the fixed cylinder 83 is fixed on a top of the fixed plate 87, the moving cylinder 85 penetrates through a top of the fixed cylinder 83 and forms a sliding fit with the fixed cylinder 83, a circular plate coaxial with the moving cylinder 85 is fixed at a bottom of the moving cylinder 85, the circular plate is in contact with an inner wall of the fixed cylinder 83, the second spring 84 is sleeved on an outer peripheral wall of the moving cylinder 85 and located above the circular plate, the moving block 81 is fixed at the top of the moving cylinder 85, the tip end needle 82 is fixed at the bottom of the moving block 81 and located inside the moving cylinder 85, the positive plate 86 is fixed at a position at a top of the fixed plate 87 and located inside the fixed cylinder 83, and contact rods 88 are fixed on outer walls of two ends of the two moving blocks 81 close to each other.
By means of the structure: the charges on the textile thread can be led into the needle points of the tip needles 82 of the two moving blocks 81 by the metal rods to be concentrated, the positive plate 86 is electrified with positive electricity, and with reference to fig. 5, if the charges are large, the stronger the repulsive force between the positive plate 86 and the tip needles 82 is, the spring two 84 is compressed at the moment, the textile thread is in contact with the conveyer belt 13, otherwise, the spring two 84 is extended, the metal rods pull the textile thread downwards, the textile thread is gradually far away from the conveyer belt 13, and the generation of static electricity due to secondary friction is prevented.
Furthermore, the second static eliminator 4 further comprises a plurality of first wind deflectors 42 and a plurality of second wind deflectors 43, outer walls of two ends of the first wind deflectors 42 and outer walls of two ends of the second wind deflectors 43 are respectively fixed on inner walls of two ends of the second box 41, the plurality of second wind deflectors 43 are evenly distributed between every two adjacent first wind deflectors 42, two ion wind rods 55 of the wetting assembly 5, the ultrasonic atomizer 51, the fog outlet pipe 52 and the fog cover 53, the ion wind rods 55 are located on the upper side and the lower side of the transmission assembly 7, supporting plates 54 are respectively fixed at two ends of the ion wind rods 55, the ion wind rods 55 are fixed on an outer wall of one side of the second box 41 through the supporting plates 54, one end of the fog outlet pipe 52 is arranged on a spraying end of the ultrasonic atomizer 51, the fog cover 53 is fixed on the other end of the fog outlet pipe 52, the fog cover 53 is arranged above the top ion wind rods 55, and the ultrasonic atomizer 51 is fixed on the top of the second box 41.
By means of the structure: the ultrasonic atomizer 51 carries out spray treatment, the second ion wind rod 55 enables spray with neutralizing charge to be sprayed into the second box 41, and according to hydrodynamics, the spray can circle round on the textile wire, so that the spray can fully contact the textile wire, the wetting efficiency can be improved, and water is saved.
The working principle is as follows: referring to fig. 11, a first servo motor 21 rotates a driving wheel 22 through an output shaft, the driving wheel 22 drives one of driven wheels 24 to rotate through a first transmission belt 23, two adjacent driven wheels 24 synchronously rotate through a second transmission belt 25, the driven wheels 24 drive a rotating rod 72 to synchronously rotate, a push rod 77 on a transmission wheel 73 passes through an inclined block 76, referring to fig. 8, two push rods 77 approach each other, and then clamping blocks 74 on the two push rods 77 approach each other to clamp textile threads;
the textile line has positive charges on the body, the textile line has the capability of attracting negative charges, so when the conveyer belt 13 and the brush 14 with the neutralized charges are close to the textile line, the negative charges of the conveyer belt 13 and the brush 14 are gradually lost, the charges on the textile line are continuously neutralized, at the moment, the conveyer belt 13 and the brush 14 are positively charged due to the loss of the negative charges, dust is absorbed, because the servo motor III drives one of the driving rollers 12 to rotate, the two driving rollers 12 synchronously rotate through the conveyer belt 13, and the transmission direction of the conveyer belt 13 is opposite to the transmission direction of the textile line, the dust is favorably carried away, the conveyer belt 13 and the brush 14 propose to use soft plastic materials, and the capacity of losing the charges of the soft plastic materials is higher than that of the textile line;
the first ion air bar 15 performs neutralization blowing on the top part of the conveyor belt 13, charges on the conveyor belt 13 are neutralized, the second servo motor enables the rotating roller 19 to rotate clockwise, the scraper 18 on the rotating roller 19 scrapes up dust, and the dust collector 31 sucks away the dust;
the charges on the spun yarns are led to the needle points of the tip needles 82 on the two moving blocks 81 by the metal rods to be concentrated, the positive plate 86 is electrified with positive electricity, and with reference to fig. 5, if the charges are large, the stronger the repulsive force between the positive plate 86 and the tip needles 82 is, the second spring 84 is compressed at the moment, the spun yarns are in contact with the conveying belt 13, otherwise, the second spring 84 is extended, the metal rods pull the spun yarns downwards, the spun yarns are gradually far away from the conveying belt 13, and the generation of static electricity due to secondary friction is prevented;
the ultrasonic atomizer 51 carries out spray treatment, the second ion wind rod 55 enables spray with neutralizing charge to be sprayed into the second box 41, and according to hydrodynamics, the spray can circle round on the textile wire, so that the spray can fully contact the textile wire, the wetting efficiency can be improved, and water is saved.
The previous description is provided to enable any person skilled in the art to make or use the present invention. Various modifications to these embodiments will be readily apparent to those skilled in the art, and the generic principles defined herein may be applied to other embodiments without departing from the spirit or scope of the invention. Thus, the present invention is not intended to be limited to the embodiments shown herein but is to be accorded the widest scope consistent with the principles and novel features disclosed herein.
Claims (6)
1. A large jacquard batch warping machine comprises a first electricity removing device (1) and a second electricity removing device (4) arranged at one side of the first electricity removing device (1), and is characterized in that: the first electricity removal device (1) comprises a first box body (11), the second electricity removal device (4) comprises a second box body (41), the positions of two sides of the interior of the first box body (11) and the interior of the second box body (41) are far away from the position of the first electricity removal device (1) and are provided with transmission assemblies (7), the top position of the first electricity removal device (1) is provided with a driving assembly (2) matched with each transmission assembly (7), the top of the first electricity removal device (1) is provided with a dust collection assembly (3), the top of the second electricity removal device (4) is provided with a wet assembly (5), one side position of the second electricity removal device (4) is provided with a winding roller (6), the interior of the first box body (11) is provided with an adsorption electricity removal assembly, the positions of two ends of the interior of the first box body (11) are provided with adjustment assemblies (8), the adjustment assemblies (8) are positioned below the adsorption assembly, the first electricity removal device (11) and the second box body (41) are fixedly provided with a plurality of transmission assemblies (7), a plurality of fixing frames (73) and a plurality of fixing frames (71) which are fixed on the U-shaped bottom plate (73) and are fixed on the transmission mechanism, the cross section of one side of drive wheel (73) is H shape structure, the working chamber that the equidistance distributes is all seted up to the both ends inside of drive wheel (73), and is a plurality of clamping components and a plurality of working chamber one-to-one, and install in the inside of working chamber, the both ends head of dwang (72) runs through the both ends inside wall of mount (71), and forms normal running fit with mount (71), clamping components includes catch bar (77), spacing ring plate (78), spring one (79) and presss from both sides tight piece (74), the both ends of catch bar (77) run through the both ends inner wall of working chamber, and form sliding fit with the working chamber, it fixes on the one end of catch bar (77) to press from both sides tight piece (74), the utility model discloses a clamping block, including the setting frame, the clamp block (74) is located the inboard of drive wheel (73), spacing ring board (78) are fixed on the periphery wall of catch bar (77), spacing ring board (78) slidable mounting is on the inner wall of working chamber, the both ends of spring (79) contact with one end inner wall that spacing ring board (78) and working chamber are close to its outside respectively, the outside both ends position department of drive wheel (73) all is provided with sloping block (76), the top of sloping block (76) is fixed with dead lever (75), the top of dead lever (75) is fixed on the top inside wall of mount (71), adsorb the electricity removal subassembly and include two driving roller (12), transport area (13) and servo motor two, two of cup jointing on two driving roller (12) periphery walls the both ends head of driving roller (12) rotates respectively and installs on the inner wall both ends of a box (11), servo motor two is fixed on the one end outer wall of a box (11), the output shaft of servo motor two is fixed mutually with the one end of one of them driving roller (12), the periphery wall of transport area (13) is fixed with brush (14) that the equidistance distributes, the dust absorption mouth has been seted up at the top of a box (11), a box (11) inner wall is fixed with baffle one (16) and baffle two (17), baffle one (16) and baffle two (17) are located the both sides position department of dust absorption mouth respectively and are located the top of transporting area (13), ion wind stick one (15) is installed to the one end inner wall of a box (11), ion wind stick one (15) are located baffle one (16) and one box (11) and are close to between the one side inner wall of baffle (16), the inner wall of box (11) runs through the two fixed rotating roller (19) of servo motor two (19), servo motor two fixed ends (19) are located between the one (19) and the rotating roller (19) the one (19), and the fixed baffle (19) of one end of servo motor (19) are located one (19), and the fixed baffle (16) the output shaft (19) is located between the baffle one (19), and the fixed one end of a baffle (16) one (16) the baffle (19), and the baffle (19) fixed motor (19) is located one end of the baffle (17) the baffle (19), and the two fixed roller (11) the baffle (19) is located one end of the baffle (19) the other fixed of the baffle (17) is located one end of the baffle (11) the other fixed roller (19), the baffle (19) the output shaft of the baffle (17) the baffle (11) the baffle (19) is located one end of the baffle (16) the rotating roller (17) one end of the rotating roller (11) is located one end of the rotating roller (17) one (19) one Above the conveyor belt (13).
2. The jacquard batch warping machine according to claim 1, wherein: drive assembly (2) are including fixing servo motor (21) on box (11) top, fixing action wheel (22) on servo motor (21) output shaft and fixing from driving wheel (24) at dwang (72) one end, action wheel (22) and one of them are provided with drive belt (23) that are used for connecting between driving wheel (24), adjacent two be provided with drive belt two (25) that are used for connecting between driving wheel (24).
3. The jacquard batch warping machine according to claim 1, wherein: dust absorption subassembly (3) are including cleaner (31), play dirt pipe (32), dust absorption pipe (33) and suction hood (34), it is fixed with the output and the entering end of cleaner (31) respectively to go out the one end of dirt pipe (32) and the one end of dust absorption pipe (33), another end of dust absorption pipe (33) is connected with suction hood (34), suction hood (34) are fixed mutually with the inner wall of dust absorption mouth.
4. The jacquard batch warping machine according to claim 1, wherein: the adjusting assembly (8) comprises a moving block (81), a tip needle (82), a fixed cylinder (83), a second spring (84), a moving cylinder (85), a positive plate (86) and a fixed plate (87), the adjusting assembly (8) is located below the conveying belt (13), the fixed plate (87) is fixed on the inner wall of one end of the first box body (11), the fixed cylinder (83) is fixed on the top of the fixed plate (87), the moving cylinder (85) penetrates through the top of the fixed cylinder (83) and is in sliding fit with the fixed cylinder (83), a circular ring plate coaxial with the moving cylinder (85) is fixed at the bottom of the moving cylinder (85), the circular ring plate is in contact with the inner wall of the fixed cylinder (83), the second spring (84) is sleeved on the outer peripheral wall of the moving cylinder (85) and is located above the circular ring plate, the moving block (81) is fixed at the top of the moving cylinder (85), the tip needle (82) is fixed at the bottom of the tip needle (81) and is located inside the moving cylinder (85), the positive plate (86) is fixed at the position of the top of the fixed cylinder (81), and two ends of the fixed cylinder (88) are located near the fixed contact rod (88).
5. The jacquard batch warper according to claim 1, wherein: no. two remove electric installation (4) still include a plurality of deep bead (42) and a plurality of deep bead two (43), the both ends outer wall of deep bead (42) and the both ends outer wall of deep bead two (43) are equallyd divide and are fixed respectively on the both ends inner wall of No. two boxes (41), and are a plurality of deep bead two (43) evenly distributed is between per two adjacent deep bead (42).
6. The jacquard batch warper according to claim 1, wherein: the humidifying component (5) comprises two ion wind rods II (55), an ultrasonic atomizer (51), a mist outlet pipe (52) and a mist cover (53), the ion wind rods II (55) are located on the upper side and the lower side of the transmission component (7), supporting plates (54) are fixed at the two ends of the ion wind rods II (55), the ion wind rods II (55) are fixed on the outer wall of one side of the box body (41) through the supporting plates (54), one end of the mist outlet pipe (52) is arranged on the spraying end of the ultrasonic atomizer (51), the mist cover (53) is fixed on the other end of the mist outlet pipe (52), the mist cover (53) is arranged above the top ion wind rods II (55), and the ultrasonic atomizer (51) is fixed on the top of the box body (41).
Priority Applications (1)
| Application Number | Priority Date | Filing Date | Title |
|---|---|---|---|
| CN202210054484.2A CN114232168B (en) | 2022-01-18 | 2022-01-18 | Large jacquard batch warping machine |
Applications Claiming Priority (1)
| Application Number | Priority Date | Filing Date | Title |
|---|---|---|---|
| CN202210054484.2A CN114232168B (en) | 2022-01-18 | 2022-01-18 | Large jacquard batch warping machine |
Publications (2)
| Publication Number | Publication Date |
|---|---|
| CN114232168A CN114232168A (en) | 2022-03-25 |
| CN114232168B true CN114232168B (en) | 2022-10-04 |
Family
ID=80746806
Family Applications (1)
| Application Number | Title | Priority Date | Filing Date |
|---|---|---|---|
| CN202210054484.2A Active CN114232168B (en) | 2022-01-18 | 2022-01-18 | Large jacquard batch warping machine |
Country Status (1)
| Country | Link |
|---|---|
| CN (1) | CN114232168B (en) |
Families Citing this family (1)
| Publication number | Priority date | Publication date | Assignee | Title |
|---|---|---|---|---|
| CN117684318A (en) * | 2023-12-29 | 2024-03-12 | 苏州朔海纺织有限公司 | A production device for memory cloth processing and its production method |
Citations (13)
| Publication number | Priority date | Publication date | Assignee | Title |
|---|---|---|---|---|
| KR100928002B1 (en) * | 2009-08-06 | 2009-11-24 | 김종현 | Scene winder with thread cutter |
| CN208632723U (en) * | 2018-06-06 | 2019-03-22 | 嘉兴市金鹭喷织有限公司 | A kind of slitting sub-wire warping apparatus for cotton yarn |
| CN209066079U (en) * | 2018-08-07 | 2019-07-05 | 嘉兴市油车港贵华织造厂 | A kind of novel warping machine |
| CN209901875U (en) * | 2019-04-29 | 2020-01-07 | 枝江市慧欣医用材料有限公司 | Cleaning device for medical gauze weaving |
| CN210765683U (en) * | 2019-09-25 | 2020-06-16 | 吴江市振啸织造有限公司 | Static eliminating device for warping machine |
| CN210958927U (en) * | 2019-11-20 | 2020-07-07 | 沭阳奥达工艺品有限公司 | Static eliminating device is used in surface fabric production |
| CN111893679A (en) * | 2020-07-02 | 2020-11-06 | 淄博大洋阻燃制品有限公司 | Automatic cleaning mechanism for flame-retardant polyester fabric woven by silk |
| CN211947427U (en) * | 2020-03-30 | 2020-11-17 | 傲丝生态(中国)有限公司 | Weaving dust collecting structure of extra-wide textile machine |
| CN212000061U (en) * | 2019-12-30 | 2020-11-24 | 江苏好运鸽机械有限公司 | Novel multi-functional sectional warper |
| DE212020000362U1 (en) * | 2020-10-28 | 2021-02-05 | Suzhou Fabry Textile Technology Co., Ltd. | A calender suitable for easy removal of contaminants from the fabric |
| CN113249844A (en) * | 2021-07-09 | 2021-08-13 | 南通吉利新纺织有限公司 | Large jacquard batch warping machine |
| CN215209820U (en) * | 2021-01-04 | 2021-12-17 | 桐乡市聚丰针织有限公司 | Warping machine with static electricity removal function |
| CN113897770A (en) * | 2021-10-26 | 2022-01-07 | 绍兴布凡科技有限公司 | Adsorption equipment based on static removes hair and adsorbs to weaving cloth |
Family Cites Families (7)
| Publication number | Priority date | Publication date | Assignee | Title |
|---|---|---|---|---|
| GB768860A (en) * | 1954-12-14 | 1957-02-20 | Carves Simon Ltd | Improvements relating to cleaners for conveyor belts |
| CN109179087B (en) * | 2018-10-27 | 2020-09-15 | 徐州宁和布业有限公司 | Textile winding drum capable of fixing textile |
| CN210596425U (en) * | 2019-07-04 | 2020-05-22 | 福建康百赛新材料有限公司 | Novel yarn clearing device |
| CN110629529A (en) * | 2019-09-23 | 2019-12-31 | 魏兰 | Cloth dust remover for spinning |
| CN214359229U (en) * | 2020-11-09 | 2021-10-08 | 共建新材料(苏州)有限公司 | Automatic coiling and uncoiling device for surface treatment of aluminum foil adhesive tape |
| CN112897146A (en) * | 2021-01-23 | 2021-06-04 | 戈郁 | Surface fabric surface dust removal device for surface fabric processing |
| CN214458582U (en) * | 2021-03-24 | 2021-10-22 | 宁夏丰源纺织有限公司 | Plush removing device of yarn for spinning |
-
2022
- 2022-01-18 CN CN202210054484.2A patent/CN114232168B/en active Active
Patent Citations (13)
| Publication number | Priority date | Publication date | Assignee | Title |
|---|---|---|---|---|
| KR100928002B1 (en) * | 2009-08-06 | 2009-11-24 | 김종현 | Scene winder with thread cutter |
| CN208632723U (en) * | 2018-06-06 | 2019-03-22 | 嘉兴市金鹭喷织有限公司 | A kind of slitting sub-wire warping apparatus for cotton yarn |
| CN209066079U (en) * | 2018-08-07 | 2019-07-05 | 嘉兴市油车港贵华织造厂 | A kind of novel warping machine |
| CN209901875U (en) * | 2019-04-29 | 2020-01-07 | 枝江市慧欣医用材料有限公司 | Cleaning device for medical gauze weaving |
| CN210765683U (en) * | 2019-09-25 | 2020-06-16 | 吴江市振啸织造有限公司 | Static eliminating device for warping machine |
| CN210958927U (en) * | 2019-11-20 | 2020-07-07 | 沭阳奥达工艺品有限公司 | Static eliminating device is used in surface fabric production |
| CN212000061U (en) * | 2019-12-30 | 2020-11-24 | 江苏好运鸽机械有限公司 | Novel multi-functional sectional warper |
| CN211947427U (en) * | 2020-03-30 | 2020-11-17 | 傲丝生态(中国)有限公司 | Weaving dust collecting structure of extra-wide textile machine |
| CN111893679A (en) * | 2020-07-02 | 2020-11-06 | 淄博大洋阻燃制品有限公司 | Automatic cleaning mechanism for flame-retardant polyester fabric woven by silk |
| DE212020000362U1 (en) * | 2020-10-28 | 2021-02-05 | Suzhou Fabry Textile Technology Co., Ltd. | A calender suitable for easy removal of contaminants from the fabric |
| CN215209820U (en) * | 2021-01-04 | 2021-12-17 | 桐乡市聚丰针织有限公司 | Warping machine with static electricity removal function |
| CN113249844A (en) * | 2021-07-09 | 2021-08-13 | 南通吉利新纺织有限公司 | Large jacquard batch warping machine |
| CN113897770A (en) * | 2021-10-26 | 2022-01-07 | 绍兴布凡科技有限公司 | Adsorption equipment based on static removes hair and adsorbs to weaving cloth |
Also Published As
| Publication number | Publication date |
|---|---|
| CN114232168A (en) | 2022-03-25 |
Similar Documents
| Publication | Publication Date | Title |
|---|---|---|
| CN210287886U (en) | Textile fabric cleaning device | |
| CN110219158B (en) | Carding machine with dust removal function | |
| CN113184593A (en) | Weaving cloth batting cleaning equipment convenient to rolling | |
| CN213114023U (en) | Dust collector for textile fabric | |
| CN114232168B (en) | Large jacquard batch warping machine | |
| CN210765732U (en) | Dust removing device for air jet loom | |
| CN112226856B (en) | A carding machine with cotton wool dust removal function | |
| CN213267230U (en) | Device for conveniently removing dust on surface of textile fabric | |
| CN112760774A (en) | Spinning is with high-efficient clean system of spinning thread based on electrostatic absorption | |
| CN220812992U (en) | Tentering setting machine oven with preheat structure | |
| CN112647267A (en) | Device for removing textile dust on textile fabric | |
| CN116005328B (en) | Preparation device and preparation method of high-air-permeability composite fabric | |
| CN108691189A (en) | It weaves on a kind of textile fabric dirt removal device | |
| CN114507979A (en) | Woven jean weaving system | |
| CN106004025A (en) | Dust collection type weaving and printing device for spinning | |
| CN218621424U (en) | Continuous steam cleaning mechanism for polyester viscose woven fabric | |
| CN215163722U (en) | Woven fabric infiltration drying device | |
| CN112281287B (en) | Equipment for absorbing and treating textile dust of textile machine | |
| CN213804207U (en) | Automatic reed cleaning equipment for air jet loom | |
| CN208653160U (en) | A kind of water absorber of water-jet loom | |
| JPH0255531B2 (en) | ||
| CN223255609U (en) | Knitting grey cloth knitting loom capable of improving knitting performance | |
| CN208455320U (en) | A kind of textile cloth production textile cloth cleaning device | |
| CN221259385U (en) | Knitted fabric drying device | |
| CN215508287U (en) | Silk loom with cleaning device |
Legal Events
| Date | Code | Title | Description |
|---|---|---|---|
| PB01 | Publication | ||
| PB01 | Publication | ||
| SE01 | Entry into force of request for substantive examination | ||
| SE01 | Entry into force of request for substantive examination | ||
| GR01 | Patent grant | ||
| GR01 | Patent grant |