CN114191196A - Nursing bed capable of being converted into bed and chair - Google Patents

Nursing bed capable of being converted into bed and chair Download PDF

Info

Publication number
CN114191196A
CN114191196A CN202010980975.0A CN202010980975A CN114191196A CN 114191196 A CN114191196 A CN 114191196A CN 202010980975 A CN202010980975 A CN 202010980975A CN 114191196 A CN114191196 A CN 114191196A
Authority
CN
China
Prior art keywords
bed
board
plate
tail
patient
Prior art date
Legal status (The legal status is an assumption and is not a legal conclusion. Google has not performed a legal analysis and makes no representation as to the accuracy of the status listed.)
Pending
Application number
CN202010980975.0A
Other languages
Chinese (zh)
Inventor
吴勤仲
Current Assignee (The listed assignees may be inaccurate. Google has not performed a legal analysis and makes no representation or warranty as to the accuracy of the list.)
Guangdong Dexin Medical Technology Co ltd
Original Assignee
Guangdong Dexin Medical Technology Co ltd
Priority date (The priority date is an assumption and is not a legal conclusion. Google has not performed a legal analysis and makes no representation as to the accuracy of the date listed.)
Filing date
Publication date
Application filed by Guangdong Dexin Medical Technology Co ltd filed Critical Guangdong Dexin Medical Technology Co ltd
Priority to CN202010980975.0A priority Critical patent/CN114191196A/en
Publication of CN114191196A publication Critical patent/CN114191196A/en
Pending legal-status Critical Current

Links

Images

Classifications

    • AHUMAN NECESSITIES
    • A61MEDICAL OR VETERINARY SCIENCE; HYGIENE
    • A61GTRANSPORT, PERSONAL CONVEYANCES, OR ACCOMMODATION SPECIALLY ADAPTED FOR PATIENTS OR DISABLED PERSONS; OPERATING TABLES OR CHAIRS; CHAIRS FOR DENTISTRY; FUNERAL DEVICES
    • A61G7/00Beds specially adapted for nursing; Devices for lifting patients or disabled persons
    • A61G7/002Beds specially adapted for nursing; Devices for lifting patients or disabled persons having adjustable mattress frame
    • AHUMAN NECESSITIES
    • A61MEDICAL OR VETERINARY SCIENCE; HYGIENE
    • A61GTRANSPORT, PERSONAL CONVEYANCES, OR ACCOMMODATION SPECIALLY ADAPTED FOR PATIENTS OR DISABLED PERSONS; OPERATING TABLES OR CHAIRS; CHAIRS FOR DENTISTRY; FUNERAL DEVICES
    • A61G7/00Beds specially adapted for nursing; Devices for lifting patients or disabled persons
    • A61G7/05Parts, details or accessories of beds
    • AHUMAN NECESSITIES
    • A61MEDICAL OR VETERINARY SCIENCE; HYGIENE
    • A61GTRANSPORT, PERSONAL CONVEYANCES, OR ACCOMMODATION SPECIALLY ADAPTED FOR PATIENTS OR DISABLED PERSONS; OPERATING TABLES OR CHAIRS; CHAIRS FOR DENTISTRY; FUNERAL DEVICES
    • A61G7/00Beds specially adapted for nursing; Devices for lifting patients or disabled persons
    • A61G7/10Devices for lifting patients or disabled persons, e.g. special adaptations of hoists thereto
    • A61G7/16Devices for lifting patients or disabled persons, e.g. special adaptations of hoists thereto converting a lying surface into a chair
    • AHUMAN NECESSITIES
    • A61MEDICAL OR VETERINARY SCIENCE; HYGIENE
    • A61HPHYSICAL THERAPY APPARATUS, e.g. DEVICES FOR LOCATING OR STIMULATING REFLEX POINTS IN THE BODY; ARTIFICIAL RESPIRATION; MASSAGE; BATHING DEVICES FOR SPECIAL THERAPEUTIC OR HYGIENIC PURPOSES OR SPECIFIC PARTS OF THE BODY
    • A61H1/00Apparatus for passive exercising; Vibrating apparatus; Chiropractic devices, e.g. body impacting devices, external devices for briefly extending or aligning unbroken bones
    • A61H1/02Stretching or bending or torsioning apparatus for exercising
    • A61H1/0237Stretching or bending or torsioning apparatus for exercising for the lower limbs
    • AHUMAN NECESSITIES
    • A61MEDICAL OR VETERINARY SCIENCE; HYGIENE
    • A61HPHYSICAL THERAPY APPARATUS, e.g. DEVICES FOR LOCATING OR STIMULATING REFLEX POINTS IN THE BODY; ARTIFICIAL RESPIRATION; MASSAGE; BATHING DEVICES FOR SPECIAL THERAPEUTIC OR HYGIENIC PURPOSES OR SPECIFIC PARTS OF THE BODY
    • A61H2201/00Characteristics of apparatus not provided for in the preceding codes
    • A61H2201/01Constructive details
    • A61H2201/0119Support for the device
    • A61H2201/0138Support for the device incorporated in furniture
    • A61H2201/0142Beds
    • AHUMAN NECESSITIES
    • A61MEDICAL OR VETERINARY SCIENCE; HYGIENE
    • A61HPHYSICAL THERAPY APPARATUS, e.g. DEVICES FOR LOCATING OR STIMULATING REFLEX POINTS IN THE BODY; ARTIFICIAL RESPIRATION; MASSAGE; BATHING DEVICES FOR SPECIAL THERAPEUTIC OR HYGIENIC PURPOSES OR SPECIFIC PARTS OF THE BODY
    • A61H2201/00Characteristics of apparatus not provided for in the preceding codes
    • A61H2201/12Driving means
    • A61H2201/1207Driving means with electric or magnetic drive

Landscapes

  • Health & Medical Sciences (AREA)
  • Life Sciences & Earth Sciences (AREA)
  • Animal Behavior & Ethology (AREA)
  • General Health & Medical Sciences (AREA)
  • Public Health (AREA)
  • Veterinary Medicine (AREA)
  • Nursing (AREA)
  • Epidemiology (AREA)
  • Pain & Pain Management (AREA)
  • Physical Education & Sports Medicine (AREA)
  • Rehabilitation Therapy (AREA)
  • Invalid Beds And Related Equipment (AREA)

Abstract

本发明所述的可床椅转换的护理床,包括床架主体、床头、以及床尾,床架主体上设有床板,床板包括可转动的背板、臀板、以及可翻转的腿板;床尾包括床尾本体,该床尾本体与腿板活动连接,当病人需要活动时,背板升起使病人坐立,腿板向下翻转至臀板且露出供病人踩踏的床尾本体,床尾本体相对于腿板活动以实现病人腿部跟随床尾本体活动。本发明的结构使得病人从坐立、到下地活动过程平缓过渡,即准备活动时,先坐起,如果感觉腿脚不灵活,可以通过床尾本体的运动活动腿脚,也可以仅使床尾本体移动至腿板左右或后侧,以腾出病人下地的活动通道。

Figure 202010980975

The bed-chair convertible nursing bed of the present invention includes a bed frame body, a bed head, and a bed end, the bed frame body is provided with a bed board, and the bed board includes a rotatable back board, a hip board, and a turnable leg board; The end of the bed includes a body of the end of the bed, which is movably connected with the leg board. When the patient needs to move, the back plate is raised to make the patient sit and stand, and the leg board is turned down to the hip board to expose the body of the end of the bed for the patient to step on. The leg board moves to realize the movement of the patient's legs following the body at the end of the bed. The structure of the invention enables the patient to smoothly transition from sitting up to moving down the ground, that is, when preparing to move, sit up first. If the legs and feet feel inflexible, the legs and feet can be moved through the movement of the foot of the bed, or only the foot of the bed can be moved to the legs. The left and right or rear side of the board to free up the patient's movement channel.

Figure 202010980975

Description

Nursing bed capable of being converted into bed and chair
Technical Field
The invention relates to the technical field of nursing beds, in particular to a nursing bed with a convertible bed and chair.
Background
Generally, hospital wards are limited in area and many patients, and it is difficult to provide comfortable activity space for the patients, so that the functionality of the device needs to be improved in the limited space to overcome the contradiction between less space and more space needed for activities.
The existing multifunctional electric sickbed has the functions of lifting the sickbed surface and lifting the back plate to enable a patient to lean against the sickbed, but because the feet of the patient cannot land, the patient has weak physical strength and is difficult to get off the sickbed for exercise in fracture rehabilitation period, and the like.
For the old and the patient with inconvenient movement, the conversion advantages of the electric bed chair are more fully embodied, and the safety and the convenience of getting on and off the bed can be improved. The conventional multifunctional electric sickbed also has the functions of sitting up and lowering legs, one mode is that a shank position bed plate is directly lowered to form a chair, the length of the shank position bed plate is about 650mm generally, so that the chair surface is too high from the ground, and the feet of a patient cannot touch the ground, and the other mode is that the shank position bed plate is divided into two folds, but the end-folded bed plate (mattress) after being folded down can only be used as a foot pad, and the feet cannot touch the ground, so that the patient cannot easily get out of the bed after standing due to the soft quality of the mattress. The two multifunctional electric sickbeds only have the function of a chair on the bed.
The ideal bed would be converted into a chair: firstly, the cushion can be adjusted to be less than or equal to 450mm above the ground, and feet can land on the ground. And secondly, the folding-down and resetting processes of the bed plate mattress at the shank position in the conversion process can continuously support the shank, so that the falling feeling can not occur, and the mood tension of a patient on the bed can not be caused. And thirdly, there is no blocking component in front of the chair and beside the chair, there is no blocking for the entrance and exit, and it can also be used to place dining table or walking aid frame, which is convenient for the patient to use. And fourthly, providing the patient with a plurality of activity choices. In view of the above, the present inventors have made extensive studies and studies to solve the above problems in combination with the application of the above prior art, and as a result, the present inventors have improved the present invention.
Disclosure of Invention
The invention aims at overcoming the defects and shortcomings and providing a nursing bed which can realize the conversion of a bed and a chair, can realize the sitting and the standing of a patient, can assist the leg movement and can also facilitate the patient to get off the bed so as to realize the smooth transition of the sitting, the assisting and the moving processes of the patient.
In order to achieve the purpose, the invention adopts the following specific technical scheme:
the nursing bed capable of being converted into the bed-chair comprises a bed frame main body, a bed head and a bed tail, wherein a bed board is arranged on the bed frame main body, and the bed board comprises a rotatable back board, a hip board and a turnable leg board; the bed tail comprises a bed tail body, the bed tail body is movably connected with leg plates, when a patient needs to move, the back plate is lifted to enable the patient to sit upright, the leg plates are downwards overturned to the hip plate and expose the bed tail body trampled by the patient, and the bed tail body moves relative to the leg plates to enable the legs of the patient to move along with the bed tail body.
Preferably, the bed tail body comprises at least two bed tail split bodies arranged in the left-right direction, and the bed tail split bodies are connected with the leg plates through first sliding mechanisms.
Preferably, the first sliding mechanism includes a first slide rail disposed along the left-right direction of the leg plate, and a first slider engaged with the first slide rail.
Preferably, the bed tail body comprises a bed tail plate, the left end side and the right end side of the bed tail plate are provided with limiting structures, and the limiting structures are used for limiting the movement range of the bed tail plate and further ensuring that the legs of the patient cannot move too much.
Preferably, the bed tail body comprises a bed tail plate, and the bed tail plate is connected with the leg plate through a second sliding mechanism capable of moving along the front and back directions of the leg plate.
Preferably, the tailstock body includes the tailstock components of a whole that can function independently that two at least left and right directions set up, the tailstock components of a whole that can function independently includes the footboard, the footboard includes the first end of being connected with the rotation of shank and rotates in the second end in shank the place ahead.
Preferably, the first end is connected with the leg plate through a rotating shaft structure, and the rotating shaft structure comprises a rotating shaft and a bearing matched with the rotating shaft.
Preferably, the leg plate comprises a constriction consisting of at least two rotatably connected slats; the bed frame sliding mechanism comprises a sliding frame and a telescopic mechanism; the utility model discloses a hip plate, including bed frame, carriage, telescopic mechanism, carriage, telescopic portion and bedstead main part, the telescopic portion passes through the carriage with the bedstead main part and is connected, the carriage is equipped with the telescopic mechanism that one end is connected with the carriage, the other end is connected with the bedstead main part, telescopic mechanism is flexible to drive the carriage along bedstead main part seesaw, and then the carriage drives the telescopic portion and removes to hip plate below, and when the self shrink of telescopic portion, a plurality of slats rotated relatively and formed contraction structure.
Preferably, the carriage includes a carriage body connected to the frame body by a third sliding mechanism and rotatably connected to the contraction portion by a connection rod.
Preferably, the third sliding mechanism includes sliding rails disposed on two sides of the bed frame body, and sliding blocks engaged with the sliding rails.
Preferably, the bed tail components of a whole that can function independently is including establishing the fixed bed tailboard at both ends to and establish two movable bed tailboards in the centre, movable bed tailboard passes through the pivot with the leg board and is connected, and is equipped with the torsional spring in the junction, the expansion end of torsional spring is equipped with the contact plate, be equipped with on the pivot can with the eccentric cam of contact plate butt, the motion of eccentric cam oppression contact plate in order to realize movable bed tailboard.
Compared with the prior art, the invention has the following beneficial effects:
according to the invention, the bed tail body is movably connected with the leg plates, when a patient needs to move, the back plate is lifted to enable the patient to sit upright, the leg plates are turned over to the lower part of the hip plate and expose the bed tail body for the patient to tread, and the bed tail body moves relative to the leg plates to enable the legs of the patient to move along with the bed tail body. The structure enables the patient to have a gentle transition from sitting and moving to the lower ground, namely when the patient is ready to move, the patient sits up first, if the patient feels that the legs and the feet are not flexible, the legs and the feet can be moved through the movement of the bed tail body, and the bed tail body can be only moved to the left side or the right side of the leg plate or the rear side of the leg plate, so that a moving channel for the patient to go to the lower ground is vacated.
The invention will be further described with reference to the accompanying drawings.
Drawings
Fig. 1 is a schematic structural view of a nursing bed convertible into a bed chair according to a preferred embodiment of the present invention.
Fig. 2 is a schematic view of a part a of fig. 1.
Fig. 3 is a side view structure diagram of a nursing bed convertible into a bed chair according to a preferred embodiment of the invention.
Fig. 4 is a schematic view of the bottom structure of a nursing bed convertible into a bed chair according to a preferred embodiment of the invention.
Fig. 5 is a schematic view of the leg board contraction structure of the nursing bed convertible into a bed chair in the preferred embodiment of the invention.
Fig. 6 is a schematic view of the connection structure of the bed tail split body and the leg plate in the left-right sliding manner in the preferred embodiment of the invention.
Fig. 7 is a schematic view of the front-back sliding connection structure of the bed tail split body and the leg plate in the preferred embodiment of the invention.
Fig. 8 is a schematic structural diagram of another view angle of fig. 7.
Fig. 9 is a schematic view of the rotary connection structure of the bed tail split body and the leg plate in the preferred embodiment of the invention.
Fig. 10 is a schematic structural view of the bed tail split body and the leg plate which are connected through a torsion spring in a rotating manner in the preferred embodiment of the invention.
Fig. 11 is a schematic structural diagram of another view angle of fig. 10.
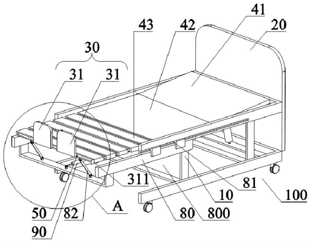
Description of reference numerals:
100 bed frame,
10 a bed frame main body,
20 bed head,
30 bed tails, 31 bed tail split bodies, 311 limit structures, 312 first ends, 313 second ends,
40 bed boards, 41 back boards, 42 hip boards, 43 leg boards, 431 contraction parts, 4311 laths, 432 contraction structures,
50 a first sliding mechanism, 51 a first sliding rail, 52 a first sliding block,
60 a second sliding mechanism,
70 rotating shaft structure, 71 rotating shaft, 72 bearing,
800 bed frame sliding mechanism, 80 sliding frame, 81 third sliding mechanism, 82 connecting rod, 811 sliding rail, 812 slide block,
90 telescoping mechanism, 91 drive, 92 pivot, 93 torsion spring, 94 contact plate, 95 eccentric cam.
Detailed Description
The present invention is further explained and illustrated by the following embodiments, which should be understood to make the technical solution of the present invention clearer and easier to understand, and not to limit the scope of the claims.
As shown in fig. 1 to 4, the nursing bed capable of changing bed and chair according to the present invention comprises a bed frame 100, wherein the bed frame 100 comprises a bed frame main body 10, a bed head 20 and a bed tail 30, the bed frame main body 10 is provided with a bed board 40, the bed board 40 comprises a back plate 41 connected with the bed frame main body 10 in a turning manner, a hip plate 42, and a leg plate 43 connected with the hip plate 42 in a turning manner and connected with the bed frame main body 10 through a bed frame sliding mechanism 800; the bed tail 30 comprises a bed tail body which is movably connected with a leg plate 43, when a patient needs to move, the back plate 41 is lifted to enable the patient to sit up, the leg plate 43 is turned to the lower part of the hip plate 42 and exposes the bed tail body which is trampled by the patient, and the bed tail body moves relative to the leg plate 43 to enable the legs of the patient to move along with the bed tail body.
As shown in fig. 5 to 8, in a preferred embodiment, the bed tail body includes at least two bed tail split bodies 31 arranged in the left-right direction, and the bed tail split bodies 31 and the leg plates 43 are connected by a first sliding mechanism 50. Specifically, the first sliding mechanism 50 includes a first slide rail 51 provided along the left-right direction of the leg plate 43, and a first slider 52 engaged with the first slide rail 51. The bed tail split body 31 may further include a bed tail plate, the left and right end sides of the bed tail plate are provided with a limiting structure 311, and the limiting structure 311 is used for limiting the movement range of the bed tail plate so as to ensure that the legs of the patient do not move too much. In this embodiment, the first sliding mechanism can be moved by using an electric driving device 91, for example, one end of the bed tail board is connected with the piston end of a cylinder, and the left and right reciprocating movement of the bed tail board is realized through the cylinder, so as to realize automatic movement to help move the patient's legs and feet, or the bed tail board can be pulled manually to move the patient's legs and feet.
In a preferred embodiment, the footboard comprises a footboard connected to the leg plates 43 by a second sliding mechanism 60 movable in the fore-and-aft direction of the leg plates 43. In this embodiment, the second sliding mechanism can be moved by using an electric driving device 91, for example, one end of the bed tail board is connected to the piston end of a cylinder, and the back and forth reciprocating motion of the bed tail board is realized through the cylinder, so as to realize the automatic motion to help move the patient's legs and feet, or the bed tail board can be pulled manually to move the patient's legs and feet.
As shown in fig. 9, in the preferred embodiment, the bed tail body comprises at least two bed tail split bodies 31 arranged in the left-right direction, the bed tail split bodies comprise a bed tail plate, and the bed tail plate comprises a first end 312 rotatably connected with the leg plate 43 and a second end 313 rotated in front of the leg plate 43. Specifically, the first end 312 is connected to the leg plate 43 through a rotating shaft structure 70, and the rotating shaft structure 70 includes a rotating shaft 71 and a bearing 72 engaged with the rotating shaft 71. In this embodiment, the rotation of the first end can be achieved by using an electric driving device 91, for example, the bottom end of the rotating shaft is connected with a speed reducer and an electrode, and the rotation of the electrode is transmitted to the rotating shaft through the speed reducer in a speed reducing manner to achieve repeated rotation back and forth, so as to achieve automatic movement to help move the legs and feet of the patient, or the bed tail plate can be rotated manually to move the legs and feet of the patient.
In the preferred embodiment, said leg plate 43 comprises a constriction 431 consisting of at least two rotatably connected laths 4311; the bed frame sliding mechanism 800 includes a sliding frame 80 and a telescopic mechanism 90; the contraction part 431 is connected with the bed frame main body 10 through a sliding frame 80, the sliding frame 80 is provided with a telescopic mechanism 90, one end of the telescopic mechanism 90 is connected with the sliding frame 80, the other end of the telescopic mechanism is connected with the bed frame main body 10, the telescopic mechanism 90 stretches and retracts to drive the sliding frame 80 to move back and forth along the bed frame main body 10, then the sliding frame 80 drives the contraction part 431 to move towards the lower part of the hip plate 42, and when the contraction part 431 contracts, the plurality of the battens 4311 rotate relatively to form a contraction structure 432. Specifically, the carriage 80 includes a carriage body connected to the frame body 10 by a third slide mechanism 81 and rotatably connected to the constricted portion 431 by a connecting rod 82. More specifically, the third sliding mechanism 81 includes slide rails 811 provided on both sides of the frame body 10, and sliders 812 engaged with the slide rails 811.
The working mode of the invention is as follows:
the bed frame 100 is used for supporting the bed board 40, the bed frame 100 includes a bed frame body 10, a head board 20 disposed at the front end of the bed frame body 10, and a foot board 30 disposed at the foot of the bed frame, the bed board 40 is used for a patient to lie on, the bed board 40 includes a retractable device (shown in the figures, but not referenced) which is used for supporting the back of the patient and can be extended and retracted through a cylinder/oil cylinder, and the lifting is realized by turning over the bed frame body 10, and is a conventional backboard lifting in the prior art. The hip plate 42 is used for the patient to sit down. The leg plate 43 includes a multi-stage hinged slat 4311, and the multi-stage slat 4311 is first pulled down and retracted below the hip plate 42 by the sliding rack 80 and the telescoping mechanism 90. The multi-stage slats 4311 are retracted to a degree that the foot board 30 is exposed to a position convenient for the patient to step on. Then, the foot board 30 moves to both sides of the leg board 43, and the patient's foot moves along with the foot board 30, thereby achieving the effect of assisting the movement of the patient's leg.
The movement of the pedal 30 to both sides is only one way of realizing, and it is also possible that the outer end of the pedal 30 is connected with the one end rotating shaft 71 of the end slat 4311 of the leg plate 43, and then the pedal 30 is turned back and forth to the front side with the axis of the rotating shaft, so as to realize the following movement of the foot of the patient.
Alternatively, the pedal 30 is connected to the end plate 4311 through a sliding mechanism, so that the pedal 30 moves back and forth along the leg plate 43 to realize the following movement of the patient's leg.
As shown in fig. 10 to 11, the bed tail body may include 4 bed tail split bodies 31, wherein the middle two bed tail split bodies are turnable parts for the patient to step on and move to help the patient move legs and feet. Specifically, 4 bed tail components are installed on the pivot, the bed tail components on two sides are connected with the pivot 92 through a bearing 96, the connecting end of the middle 2 bed tail components (bed tail plate) is provided with a torsion spring 93, the free end of the torsion spring 93 is provided with a contact plate 94, and the pivot 92 is provided with an eccentric cam 95 corresponding to the connecting part. State 1: the eccentric cam 95 is abutted with the contact plate 94 to compress the torsion spring 93, and the torsion spring 93 overcomes the torque to drive the bed tail plate 31 to move; state 2 the eccentric cam 95 is disengaged from the contact plate 94 and the torsion spring 93 releases the torque to drive the bed tail plate 31 to reset. Wherein the rotation power of the pivot 92 is provided by the driving device 91, and can also be provided manually. And the contact between the two bed tail plates 31 and the eccentric cam 95 is asynchronous, so that the fluctuation of the walking of a real human body can be better simulated.
While the present invention has been described by way of examples, and not by way of limitation, other variations of the disclosed embodiments, as would be readily apparent to one of skill in the art, are intended to be within the scope of the present invention, as defined by the claims.

Claims (10)

1. A nursing bed capable of being converted into a bed chair is characterized in that: the bed comprises a bed frame main body (10), a bed head (20) and a bed tail (30), wherein the bed frame main body (10) is provided with a bed board (40), and the bed board (40) comprises a rotatable back board (41), a hip board (42) and a turnable leg board (43); the bed tail (30) comprises a bed tail body, the bed tail body is movably connected with leg plates (43), when a patient needs to move, the back plate (41) is lifted to enable the patient to sit, the leg plates (43) are downwards turned to the hip plate (42) and expose the bed tail body which is trampled by the patient, and the bed tail body moves relative to the leg plates (43) to enable the legs of the patient to move along with the bed tail body.
2. The convertible bed-chair care bed of claim 1, wherein: the bed tail body comprises at least two bed tail split bodies (31) arranged in the left-right direction, and the bed tail split bodies (31) are connected with the leg plates (43) through first sliding mechanisms (50).
3. The convertible bed-chair care bed of claim 2, wherein: the first sliding mechanism (50) comprises a first sliding rail (51) arranged along the left-right direction of the leg plate (43) and a first sliding block (52) matched with the first sliding rail (51).
4. The bed-chair convertible nursing bed of claim 2 or 3, characterized in that: the bed tail body (31) comprises a bed tail plate, the left side and the right side of the bed tail plate are provided with limiting structures (311), and the limiting structures (311) are used for limiting the movement range of the bed tail plate so as to ensure that the legs of a patient cannot move too much.
5. The convertible bed-chair care bed of claim 1, wherein: the bed tail body comprises a bed tail plate, and the bed tail plate is connected with the leg plates (43) through a second sliding mechanism (60) capable of moving along the front and back directions of the leg plates (43).
6. The convertible bed-chair care bed of claim 1, wherein: the bed tail body comprises at least two bed tail components of a whole that can function independently (31) that the left and right directions set up, the bed tail components of a whole that can function independently includes the bed tail board, the bed tail board includes first end (312) of being connected with leg board (43) rotation and rotates in second end (313) in leg board (43) the place ahead.
7. The convertible bed-chair care bed of claim 6, wherein: the first end (312) is connected with the leg plate (43) through a rotating shaft structure (70), and the rotating shaft structure (70) comprises a rotating shaft (71) and a bearing (72) matched with the rotating shaft (71).
8. The convertible bed-chair care bed of claim 1, wherein: the leg plate (43) comprises a constriction (431) consisting of at least two rotatably connected strips (4311); the bed frame sliding mechanism (800) comprises a sliding frame (80) and a telescopic mechanism (90); the telescopic part (431) is connected with the bedstead main body (10) through a sliding frame (80), the sliding frame (80) is provided with a telescopic mechanism (90) with one end connected with the sliding frame (80) and the other end connected with the bedstead main body (10), the telescopic mechanism (90) stretches and retracts to drive the sliding frame (80) to move back and forth along the bedstead main body (10), then the sliding frame (80) drives the telescopic part (431) to move towards the lower part of the hip plate (42), and when the telescopic part (431) contracts per se, the plurality of laths (4311) rotate relatively to form a telescopic structure (432).
9. The convertible bed-chair care bed of claim 8, wherein: the carriage (80) comprises a carriage body which is connected with the bed frame body (10) through a third sliding mechanism (81) and is hinged with the contraction part (431) through a connecting rod (82); preferably, the third sliding mechanism (81) includes slide rails (811) provided on both sides of the frame body (10), and sliders (812) engaged with the slide rails (811).
10. The convertible bed-chair care bed of claim 1, wherein: bed tail components of a whole that can function independently (31) are including establishing the fixed bed tailboard at both ends to and establish two movable bed tailboards in the centre, movable bed tailboard passes through pivot (92) with leg board (43) and is connected, and is equipped with torsional spring (93) in the junction, the expansion end of torsional spring (93) is equipped with contact plate (94), be equipped with on pivot (92) can with eccentric cam (95) of contact plate (94) butt, eccentric cam (95) oppression contact plate (94) are in order to realize the motion of movable bed tailboard.
CN202010980975.0A 2020-09-17 2020-09-17 Nursing bed capable of being converted into bed and chair Pending CN114191196A (en)

Priority Applications (1)

Application Number Priority Date Filing Date Title
CN202010980975.0A CN114191196A (en) 2020-09-17 2020-09-17 Nursing bed capable of being converted into bed and chair

Applications Claiming Priority (1)

Application Number Priority Date Filing Date Title
CN202010980975.0A CN114191196A (en) 2020-09-17 2020-09-17 Nursing bed capable of being converted into bed and chair

Publications (1)

Publication Number Publication Date
CN114191196A true CN114191196A (en) 2022-03-18

Family

ID=80644818

Family Applications (1)

Application Number Title Priority Date Filing Date
CN202010980975.0A Pending CN114191196A (en) 2020-09-17 2020-09-17 Nursing bed capable of being converted into bed and chair

Country Status (1)

Country Link
CN (1) CN114191196A (en)

Citations (10)

* Cited by examiner, † Cited by third party
Publication number Priority date Publication date Assignee Title
CN201572491U (en) * 2009-12-30 2010-09-08 山东省立医院 An ankle joint mover
KR20130115643A (en) * 2012-04-12 2013-10-22 (주)엔텍 Machine for exercising and medical treating for whole body by bending body right and left
CN104434439A (en) * 2013-09-21 2015-03-25 梁颖 Nursing wheelchair bed
CN205626259U (en) * 2016-03-01 2016-10-12 南通大学附属医院 Accurate extrusion device of eyedrops
CN209986912U (en) * 2019-06-11 2020-01-24 涡阳县幸福门业有限公司 Metal door ejector pin formula presss from both sides tight hoisting device
CN110812022A (en) * 2019-11-25 2020-02-21 西安星球通智能装备技术有限公司 Automatic wheelchair with lower limb rehabilitation training function
CN210644990U (en) * 2019-06-06 2020-06-02 遂宁市中心医院 Device is tempered with shank to old nursing
CN111494106A (en) * 2020-05-19 2020-08-07 宿州市久协医药信息咨询有限公司 Rehabilitation wheelchair capable of flexibly adjusting dynamic frequency and adapting to different heights
CN211329670U (en) * 2019-12-03 2020-08-25 李美 Waste paper recovery unit that soaks for environmental protection
CN212592790U (en) * 2020-09-17 2021-02-26 广东德鑫医疗科技有限公司 Nursing bed capable of being converted into bed and chair

Patent Citations (10)

* Cited by examiner, † Cited by third party
Publication number Priority date Publication date Assignee Title
CN201572491U (en) * 2009-12-30 2010-09-08 山东省立医院 An ankle joint mover
KR20130115643A (en) * 2012-04-12 2013-10-22 (주)엔텍 Machine for exercising and medical treating for whole body by bending body right and left
CN104434439A (en) * 2013-09-21 2015-03-25 梁颖 Nursing wheelchair bed
CN205626259U (en) * 2016-03-01 2016-10-12 南通大学附属医院 Accurate extrusion device of eyedrops
CN210644990U (en) * 2019-06-06 2020-06-02 遂宁市中心医院 Device is tempered with shank to old nursing
CN209986912U (en) * 2019-06-11 2020-01-24 涡阳县幸福门业有限公司 Metal door ejector pin formula presss from both sides tight hoisting device
CN110812022A (en) * 2019-11-25 2020-02-21 西安星球通智能装备技术有限公司 Automatic wheelchair with lower limb rehabilitation training function
CN211329670U (en) * 2019-12-03 2020-08-25 李美 Waste paper recovery unit that soaks for environmental protection
CN111494106A (en) * 2020-05-19 2020-08-07 宿州市久协医药信息咨询有限公司 Rehabilitation wheelchair capable of flexibly adjusting dynamic frequency and adapting to different heights
CN212592790U (en) * 2020-09-17 2021-02-26 广东德鑫医疗科技有限公司 Nursing bed capable of being converted into bed and chair

Similar Documents

Publication Publication Date Title
CN106390375A (en) Rehabilitation training bed for comprehensive training of four limbs
CN108969239B (en) Adjustable bed panel of medical bed and medical bed
CN112076035A (en) Nursing bed
CN206687850U (en) Full-automatic multi-functional wheelchair nursing bed
KR101522929B1 (en) Bed chair for patient convertible into bed or wheel chair with stool function
CN212592790U (en) Nursing bed capable of being converted into bed and chair
CN204600956U (en) Multi-direction flip type nursing bed
CN107260434B (en) Automatic super-comfortable rehabilitation and leisure bed
CN210250345U (en) multifunctional rehabilitation bed
CN112704607A (en) Multifunctional electric wheelchair
CN114795725A (en) Nursing bed turnover mechanism and electric turnover nursing bed
CN212662129U (en) A multifunctional deep care bed
CN208229071U (en) Auxiliary indexing chair
CN114732621A (en) Multifunctional electric nursing bed with bedside table plate
CN112618202B (en) Nursing sickbed with turning function and using method thereof
CN202459033U (en) Multifunctional rehabilitation nursing wheelchair bed
CN114191196A (en) Nursing bed capable of being converted into bed and chair
CN219557840U (en) Wheelchair mechanism
CN216652702U (en) A multi-directional adjustable chair bed
CN214909373U (en) A multi-position adjustment rehabilitation treatment medical chair for elderly patients
CN210991311U (en) A movable nursing combination bed
CN215131963U (en) Medical sickbed
CN219680981U (en) Sickbed with lower limb rehabilitation function
CN211156797U (en) Novel wheelchair bed
CN202314005U (en) Electric multifunctional nursing bed

Legal Events

Date Code Title Description
PB01 Publication
PB01 Publication
SE01 Entry into force of request for substantive examination
SE01 Entry into force of request for substantive examination
RJ01 Rejection of invention patent application after publication

Application publication date: 20220318

RJ01 Rejection of invention patent application after publication