CN114180181A - A logistics box that is easy to disassemble - Google Patents

A logistics box that is easy to disassemble Download PDF

Info

Publication number
CN114180181A
CN114180181A CN202210056526.6A CN202210056526A CN114180181A CN 114180181 A CN114180181 A CN 114180181A CN 202210056526 A CN202210056526 A CN 202210056526A CN 114180181 A CN114180181 A CN 114180181A
Authority
CN
China
Prior art keywords
plate
logistics box
easy
packaging
sealing
Prior art date
Legal status (The legal status is an assumption and is not a legal conclusion. Google has not performed a legal analysis and makes no representation as to the accuracy of the status listed.)
Pending
Application number
CN202210056526.6A
Other languages
Chinese (zh)
Inventor
王嘉盛
Current Assignee (The listed assignees may be inaccurate. Google has not performed a legal analysis and makes no representation or warranty as to the accuracy of the list.)
Suzhou Maidian Color Printing Co ltd
Original Assignee
Suzhou Maidian Color Printing Co ltd
Priority date (The priority date is an assumption and is not a legal conclusion. Google has not performed a legal analysis and makes no representation as to the accuracy of the date listed.)
Filing date
Publication date
Application filed by Suzhou Maidian Color Printing Co ltd filed Critical Suzhou Maidian Color Printing Co ltd
Priority to CN202210056526.6A priority Critical patent/CN114180181A/en
Publication of CN114180181A publication Critical patent/CN114180181A/en
Pending legal-status Critical Current

Links

Images

Classifications

    • BPERFORMING OPERATIONS; TRANSPORTING
    • B65CONVEYING; PACKING; STORING; HANDLING THIN OR FILAMENTARY MATERIAL
    • B65DCONTAINERS FOR STORAGE OR TRANSPORT OF ARTICLES OR MATERIALS, e.g. BAGS, BARRELS, BOTTLES, BOXES, CANS, CARTONS, CRATES, DRUMS, JARS, TANKS, HOPPERS, FORWARDING CONTAINERS; ACCESSORIES, CLOSURES, OR FITTINGS THEREFOR; PACKAGING ELEMENTS; PACKAGES
    • B65D5/00Rigid or semi-rigid containers of polygonal cross-section, e.g. boxes, cartons or trays, formed by folding or erecting one or more blanks made of paper
    • B65D5/20Rigid or semi-rigid containers of polygonal cross-section, e.g. boxes, cartons or trays, formed by folding or erecting one or more blanks made of paper by folding-up portions connected to a central panel from all sides to form a container body, e.g. of tray-like form
    • B65D5/30Rigid or semi-rigid containers of polygonal cross-section, e.g. boxes, cartons or trays, formed by folding or erecting one or more blanks made of paper by folding-up portions connected to a central panel from all sides to form a container body, e.g. of tray-like form with tongue-and-slot or like connections between sides and extensions of other sides
    • B65D5/301Rigid or semi-rigid containers of polygonal cross-section, e.g. boxes, cartons or trays, formed by folding or erecting one or more blanks made of paper by folding-up portions connected to a central panel from all sides to form a container body, e.g. of tray-like form with tongue-and-slot or like connections between sides and extensions of other sides the tongue being a part of a lateral extension of a side wall
    • BPERFORMING OPERATIONS; TRANSPORTING
    • B65CONVEYING; PACKING; STORING; HANDLING THIN OR FILAMENTARY MATERIAL
    • B65DCONTAINERS FOR STORAGE OR TRANSPORT OF ARTICLES OR MATERIALS, e.g. BAGS, BARRELS, BOTTLES, BOXES, CANS, CARTONS, CRATES, DRUMS, JARS, TANKS, HOPPERS, FORWARDING CONTAINERS; ACCESSORIES, CLOSURES, OR FITTINGS THEREFOR; PACKAGING ELEMENTS; PACKAGES
    • B65D5/00Rigid or semi-rigid containers of polygonal cross-section, e.g. boxes, cartons or trays, formed by folding or erecting one or more blanks made of paper
    • B65D5/42Details of containers or of foldable or erectable container blanks
    • B65D5/70Break-in flaps, or members adapted to be torn-off, to provide pouring openings

Landscapes

  • Engineering & Computer Science (AREA)
  • Mechanical Engineering (AREA)
  • Cartons (AREA)

Abstract

本发明提出了一种便于拆卸的物流盒,涉及物流包装技术领域。该物流盒包括物流盒盒体和封装组件;上述物流盒盒体具有容纳腔,上述容纳腔用于存储待运输的物品,上述物流盒盒体开设有连用上述容纳腔的取放口,上述取放口用于上述物品的通过;上述封装组件包括铰接于上述取放口的密封板,上述密封板用于密封上述取放口,上述密封板铰接有封装板,上述封装板用于连接上述物流盒盒体与上述密封板,上述封装板设置有用于连接上述物流盒盒体的连接结构,上述连接结构与上述物流盒盒体之间的上述封装板设置有易撕带,上述易撕带用于分离其两侧的上述封装板板体。解决了物流盒不易拆卸的问题。

Figure 202210056526

The invention provides a logistics box that is easy to disassemble, and relates to the technical field of logistics packaging. The logistics box includes a logistics box body and a packaging assembly; the logistics box body has a accommodating cavity, the accommodating cavity is used to store the items to be transported, and the logistics box body is provided with a pick-and-place port for connecting the accommodating cavity. The opening is used for the passage of the above-mentioned articles; the above-mentioned packaging assembly includes a sealing plate hinged on the above-mentioned pick-and-place port, the above-mentioned sealing plate is used for sealing the above-mentioned pick-and-place port, the above-mentioned sealing plate is hinged with a packaging plate, and the above-mentioned packaging plate is used to connect the above-mentioned logistics. The box body and the above-mentioned sealing plate, the above-mentioned packaging plate is provided with a connecting structure for connecting the above-mentioned logistics box body, and the above-mentioned packaging plate between the above-mentioned connecting structure and the above-mentioned logistics box body is provided with an easy tearing tape, and the above-mentioned easy tearing tape is used for The above-mentioned package board body on both sides is separated. The problem that the logistics box is not easy to disassemble is solved.

Figure 202210056526

Description

Logistics box convenient to disassemble
Technical Field
The invention relates to the technical field of logistics packaging, in particular to a logistics box convenient to disassemble.
Background
Express delivery is also called express delivery or express delivery, and refers to a novel transportation mode in which a logistics enterprise (including a freight transport agent) delivers a file or a package entrusted by a user from a sender to a receiver quickly and safely (hand delivery) through an independent network of the logistics enterprise or in a combined cooperation mode (namely networking).
In the express transportation process, the logistics boxes are indispensable products, and when express transportation is carried out, goods need to be filled in the logistics boxes, then the logistics boxes are packaged, and generally packaged through adhesive tapes; when the logistics box after encapsulation needs to be disassembled, the adhesive tape on the surface needs to be disassembled, then the logistics box is disassembled, and finally goods are taken. In the above process, the adhesive tape on the surface of the logistics box needs to be removed by a removal tool such as scissors or a knife, that is, the logistics box has the problem of inconvenient removal.
In summary, we propose a logistics box convenient to disassemble to solve the above technical problems.
Disclosure of Invention
The invention aims to provide a logistics box convenient to disassemble, and solves the problem that the logistics box is not easy to disassemble.
The embodiment of the invention is realized by the following steps:
the embodiment of the application provides a logistics box convenient to disassemble, which comprises a logistics box body and a packaging assembly;
the logistics box body is provided with an accommodating cavity, the accommodating cavity is used for storing articles to be transported, the logistics box body is provided with a taking and placing opening which is used for connecting the accommodating cavity, and the taking and placing opening is used for the articles to pass through;
the packaging assembly comprises a sealing plate hinged to the taking and placing opening, the sealing plate is used for sealing the taking and placing opening, a packaging plate is hinged to the sealing plate and used for connecting the logistics box body and the sealing plate, the packaging plate is provided with a connecting structure used for connecting the logistics box body, an easy-tearing tape is arranged on the packaging plate between the connecting structure and the logistics box body, and the easy-tearing tape is used for separating the packaging plate bodies on two sides of the easy-tearing tape.
In some embodiments of the invention, the package board includes a first board body connected to the sealing board, the easy-to-tear tape is disposed on a side of the first board body away from the sealing board, a second board body is disposed on a side of the easy-to-tear tape away from the first board body, and the connecting structure is disposed on the second board body.
In some embodiments of the present invention, a plurality of through holes are disposed on both a side of the easy-to-tear tape connected to the first board and a side of the easy-to-tear tape connected to the second board.
In some embodiments of the present invention, both ends of the easy-to-tear tape in the delayed extension direction are provided with a lifting tape, and a width of the lifting tape is smaller than a width of the easy-to-tear tape.
In some embodiments of the present invention, the box body of the logistics box comprises a bottom plate, a front plate, a rear plate, a left plate and a right plate, wherein the bottom plate, the front plate, the rear plate and the right plate are all rectangular, the front plate and the rear plate have the same shape, and the left plate and the right plate have the same shape;
the bottom plate, the front side plate, the rear side plate, the left side plate and the right side plate are rectangular, the front side plate, the rear side plate, the left side plate and the right side plate are respectively positioned on the front side, the rear side, the left side and the right side of the bottom plate, the front side plate, the rear side plate, the left side plate and the right side plate are matched with the bottom plate in a folding mode, and the sealing plate is arranged on the front side plate in a folding mode.
In some embodiments of the present invention, both sides of the front side panel and both sides of the rear side panel are provided with first reinforcing panels in a folded manner, and the first reinforcing panels are turned toward the front side panel or/and the rear side panel.
In some embodiments of the present invention, a second reinforcing plate is folded on both a side of the left side plate away from the bottom plate and a side of the right side plate away from the bottom plate, and the second reinforcing plate is turned towards the bottom plate.
In some embodiments of the present invention, the sealing plate is provided with third reinforcing plates on both sides thereof, and the third reinforcing plates are turned over toward the sealing plate.
In some embodiments of the present invention, the bottom plate, the front side plate, the rear side plate, the left side plate, the right side plate, the sealing plate and the sealing plate are all made of cardboard.
In some embodiments of the present invention, the connecting structure is a double-sided tape.
Compared with the prior art, the embodiment of the invention has at least the following advantages or beneficial effects:
a logistics box convenient to disassemble comprises a logistics box body and a packaging assembly;
the logistics box body is provided with an accommodating cavity, the accommodating cavity is used for storing articles to be transported, the logistics box body is provided with a taking and placing opening which is used for connecting the accommodating cavity, and the taking and placing opening is used for the articles to pass through;
the packaging assembly comprises a sealing plate hinged to the taking and placing opening, the sealing plate is used for sealing the taking and placing opening, a packaging plate is hinged to the sealing plate and used for connecting the logistics box body and the sealing plate, the packaging plate is provided with a connecting structure used for connecting the logistics box body, an easy-tearing tape is arranged on the packaging plate between the connecting structure and the logistics box body, and the easy-tearing tape is used for separating the packaging plate bodies on two sides of the easy-tearing tape.
When logistics transportation is carried out, goods to be transported are placed in the logistics box body (the containing cavity is placed through the taking and placing opening), the taking and placing opening of the logistics box body is sealed through the sealing plate, the packaging plate is fixed on the outer side wall of the logistics box body through the connecting structure, the sealing plate is further sealed through the taking and placing opening, the sealing plate and the logistics box body form a sealed logistics box, and the goods cannot fall out of the logistics box during logistics transportation; when carrying out the dismantlement of commodity circulation box, tear easily the area of tearing on the encapsulation board (pull through the manual and fall), make the encapsulation board go up the disconnection, the face that contains connection structure and the face of connecting the closing plate separate, the closing plate is in the active state, can open the closing plate and carry out taking out of goods in the commodity circulation box body, has realized the quick dismantlement of commodity circulation box body, and it is more convenient, swift and practical to compare in the tradition needs scissors, sword to carry out the shearing of sticky tape on the commodity circulation box body. The design of the invention solves the problem that the logistics box is not easy to disassemble.
Drawings
In order to more clearly illustrate the technical solutions of the embodiments of the present invention, the drawings needed to be used in the embodiments will be briefly described below, it should be understood that the following drawings only illustrate some embodiments of the present invention and therefore should not be considered as limiting the scope, and for those skilled in the art, other related drawings can be obtained according to the drawings without inventive efforts.
Fig. 1 is a schematic structural diagram of a logistics box convenient to disassemble according to an embodiment of the invention after disassembly;
FIG. 2 is a schematic structural diagram of an assembly of a logistics box convenient to disassemble according to an embodiment of the invention;
FIG. 3 is a schematic structural diagram of a conveniently detachable logistics box after assembly according to an embodiment of the invention;
fig. 4 is a schematic structural diagram of a package board according to an embodiment of the present invention.
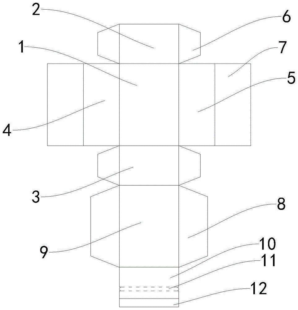
Icon: 1-bottom plate, 2-rear side plate, 3-front side plate, 4-left side plate, 5-right side plate, 6-first reinforcing plate, 7-second reinforcing plate, 8-third reinforcing plate, 9-sealing plate, 10-packaging plate, 11-easy-tearing tape, 12-connecting structure and 13-lifting tape.
Detailed Description
In order to make the objects, technical solutions and advantages of the embodiments of the present invention clearer, the technical solutions in the embodiments of the present invention will be clearly and completely described below with reference to the drawings in the embodiments of the present invention, and it is obvious that the described embodiments are some, but not all, embodiments of the present invention. The components of embodiments of the present invention generally described and illustrated in the figures herein may be arranged and designed in a wide variety of different configurations.
Thus, the following detailed description of the embodiments of the present invention, presented in the figures, is not intended to limit the scope of the invention, as claimed, but is merely representative of selected embodiments of the invention. All other embodiments, which can be derived by a person skilled in the art from the embodiments given herein without making any creative effort, shall fall within the protection scope of the present invention.
It should be noted that: like reference numbers and letters refer to like items in the following figures, and thus, once an item is defined in one figure, it need not be further defined and explained in subsequent figures.
In the description of the embodiments of the present invention, it should be noted that, if the terms "center", "upper", "lower", "left", "right", "vertical", "horizontal", "inner", "outer", etc. indicate orientations or positional relationships based on the orientations or positional relationships shown in the drawings or the orientations or positional relationships that the products of the present invention are usually placed in when used, the orientations or positional relationships are only used for convenience of describing the present invention and simplifying the description, but the terms do not indicate or imply that the devices or elements indicated must have specific orientations, be constructed in specific orientations, and operate, and therefore, should not be construed as limiting the present invention. Furthermore, the terms "first," "second," "third," and the like are used solely to distinguish one from another and are not to be construed as indicating or implying relative importance.
Furthermore, the terms "horizontal", "vertical", "overhang" and the like do not require that the components be absolutely horizontal or overhang, but may be slightly inclined. For example, "horizontal" merely means that the direction is more horizontal than "vertical" and does not mean that the structure must be perfectly horizontal, but may be slightly inclined.
In the description of the embodiments of the present invention, "a plurality" represents at least 2.
In the description of the embodiments of the present invention, it should be further noted that unless otherwise explicitly stated or limited, the terms "disposed," "mounted," "connected," and "connected" should be interpreted broadly, and may be, for example, fixedly connected, detachably connected, or integrally connected; can be mechanically or electrically connected; they may be connected directly or indirectly through intervening media, or they may be interconnected between two elements. The specific meanings of the above terms in the present invention can be understood by those skilled in the art according to specific situations.
Examples
Referring to fig. 1 to 4, the present embodiment provides a conveniently detachable logistics box, which includes a logistics box body and a packaging assembly;
the logistics box body is provided with an accommodating cavity, the accommodating cavity is used for storing articles to be transported, the logistics box body is provided with a taking and placing opening which is used for connecting the accommodating cavity, and the taking and placing opening is used for the articles to pass through;
the packaging assembly comprises a sealing plate 9 hinged to the taking and placing opening, the sealing plate 9 is used for sealing the taking and placing opening, the sealing plate 9 is hinged to a packaging plate 10, the packaging plate 10 is used for connecting the logistics box body and the sealing plate 9, the packaging plate 10 is provided with a connecting structure 12 used for connecting the logistics box body, an easy-to-tear tape 11 is arranged on the packaging plate 10 between the connecting structure 12 and the logistics box body, and the easy-to-tear tape 11 is used for separating the packaging plate 10 on two sides of the packaging plate.
When logistics transportation is carried out, goods to be transported are placed in the logistics box body (the goods are placed in the accommodating cavity through the taking and placing opening), the taking and placing opening of the logistics box body is sealed through the sealing plate 9, the packaging plate 10 is fixed on the outer side wall of the logistics box body through the connecting structure 12, the sealing taking and placing opening is sealed through the sealing plate 9, the sealing plate 9 and the logistics box body form a sealed logistics box, and the goods cannot fall out of the logistics box during logistics transportation; when carrying out the dismantlement of commodity circulation box, tear easily on the packaging board 10 and tear area 11 (pull through manual and fall), make packaging board 10 go up the disconnection, the face that contains connection structure 12 and the face of connecting sealing plate 9 separate, sealing plate 9 is in the active state, can open sealing plate 9 and carry out taking out of commodity circulation box internal goods, realized the quick dismantlement of commodity circulation box body, it is more convenient, swift and practical to compare in the tradition needs scissors, the sword carries out the shearing of sticky tape on the commodity circulation box body. The design of the invention solves the problem that the logistics box is not easy to disassemble.
In some embodiments of the present invention, the package board 10 includes a first board body connected to the sealing board 9, the easy-to-tear tape 11 is disposed on a side of the first board body away from the sealing board 9, a second board body is disposed on a side of the easy-to-tear tape 11 away from the first board body, and the connecting structure 12 is disposed on the second board body.
In the above embodiment, the material homogeneous phase of easy tear tape 11, first plate body, second plate body is the same, and first plate body is used for connecting closing plate 9, and the second plate body is used for setting up connection structure 12, and connection structure 12 can realize the connection of second plate body and commodity circulation box body, and then realizes closing plate 9 through easy tear tape 11 and first plate body and puts the sealed of mouth.
In some embodiments of the present invention, through holes are formed in both the side of the easy-to-tear tape 11 connected to the first board body and the side of the easy-to-tear tape 11 connected to the second board body, and the number of the through holes is plural.
In the above embodiment, the number of the through holes on one side of the easy-to-tear tape 11, which is connected to the first plate body, is multiple, and the multiple through holes are arranged along the extending direction of the easy-to-tear tape 11; the through-hole quantity that the second plate body one side was connected to easy tear tape 11 is a plurality of, and a plurality of through-holes set up along the extending direction of easy silk ribbon. The tear tape 11 at the through hole is more easily broken when the tear tape 11 is pulled.
In some embodiments of the present invention, both ends of the easy-to-tear tape 11 in the delayed extending direction are provided with a pulling strip 13, and the width of the pulling strip 13 is smaller than the width of the easy-to-tear tape 11.
In the above embodiment, the lifting tape 13 and the easily tearable tape 11 are integrally formed, so that the stability of connection between the lifting tape 13 and the easily tearable tape 11 is increased, and the breakage of the lifting tape 13 when the lifting tape 13 is pulled is avoided. The width of the lifting belt 13 is smaller than that of the easy-to-tear belt 11, and the two sides of the lifting belt 13 are not in contact with the first plate body and the second plate body, so that a user can conveniently find the position of the lifting belt 13. The lifting belt 13 and the easy-tearing belt 11 are made of the same material.
In some embodiments of the present invention, the box body of the logistics box comprises a bottom plate 1, a front plate 3, a rear plate 2, a left plate 4 and a right plate 5, wherein the bottom plate 1, the front plate 3, the rear plate 2 and the right plate 5 are all rectangular, the front plate 3 and the rear plate 2 have the same shape, and the left plate 4 and the right plate 5 have the same shape;
the bottom plate 1, the front plate 3, the rear plate 2, the left plate 4, and the right plate 5 are rectangular, the front plate 3, the rear plate 2, the left plate 4, and the right plate 5 are respectively located on the front side, the rear side, the left side, and the right side of the bottom plate 1, the front plate 3, the rear plate 2, the left plate 4, and the right plate 5 are all in folding engagement with the bottom plate 1, and the sealing plate 9 is provided in the front plate 3 in a folding manner.
In the above embodiment, one side of bottom plate 1 is connected to preceding curb plate 3, one side of bottom plate 1 is connected to posterior lateral plate 2, one side of bottom plate 1 is connected to left curb plate 4, one side of bottom plate 1 is connected to right curb plate 5 respectively rather than the 1 curb plate parallel and level of bottom plate of homonymy for the fashioned commodity circulation box body side of butt joint does not have the gap, and sealing performance is better.
In some embodiments of the present invention, both sides of the front side panel 3 and both sides of the rear side panel 2 are provided with first reinforcing panels 6 in a folded manner, and the first reinforcing panels 6 are turned toward the front side panel 3 or/and the rear side panel 2.
In the above embodiment, the front side plate 3 and the rear side plate 2 are turned over, so that the front side plate 3 and the rear side plate 2 are both perpendicular to the bottom plate 1, and then the first reinforcing plate 6 is turned over, the first reinforcing plate 6 is turned over to be located between the front side plate 3 and the rear side plate 2, and the box body structure of the logistics box formed by butt-jointing the front side plate 3, the rear side plate 2, the left side plate 4, the right side plate 5 and the bottom plate 1 is more stable. The first reinforcing plate 6 is made of the same material as the front side plate 3 and the rear side plate 2.
In some embodiments of the present invention, a second reinforcing plate 7 is folded on both a side of the left side plate 4 away from the bottom plate 1 and a side of the right side plate 5 away from the bottom plate 1, and the second reinforcing plate 7 is turned toward the bottom plate 1.
In the above embodiment, the front side plate 3, the rear side plate 2, the left side plate 4 and the right side plate 5 are turned over, so that the front side plate 3, the rear side plate 2, the left side plate 4 and the right side plate 5 are located on the same side of the bottom plate 1, and the front side plate 3, the rear side plate 2, the left side plate 4 and the right side plate 5 are all perpendicular to the bottom plate 1; make between the folding sword of first gusset plate 6 preceding curb plate 3 and posterior lateral plate 2, make two second gusset plates 7 enstrophes again, make two second gusset plates 7 push down the first gusset plate 6 of left side board 4, right side board 5 respectively, and then make, bottom plate 1, preceding curb plate 3, posterior lateral plate 2, left side board 4 and right side board 5 connect as a whole, through the cooperation of first gusset plate 6 and second gusset plate 7 for fashioned commodity circulation box body structure is more firm.
In some embodiments of the present invention, the sealing plate 9 is provided with third reinforcing plates 8 folded at both sides thereof, and the third reinforcing plates 8 are turned over toward the sealing plate 9.
In the above embodiment, when the sealing plate 9 covers the access opening of the box body of the logistics box, the third reinforcing plate 8 is folded to the inner side of the box body of the logistics box, so that the sealing performance of the sealing plate 9 covering the access opening is further improved. The third reinforcing plate 8 and the sealing plate 9 are made of the same material.
In some embodiments of the present invention, the bottom plate 1, the front side plate 3, the rear side plate 2, the left side plate 4, the right side plate 5, the sealing plate 9 and the sealing plate 10 are all made of cardboard.
In the above embodiments, the cardboard is also called paperboard. The thick paper sheet is made up by using various paper pulps and making them be mutually interwoven. The bottom plate 1, the front side plate 3, the rear side plate 2, the left side plate 4, the right side plate 5, the sealing plate 9 and the packaging plate 10 supported by the paper board have the advantages of low cost and easy production and manufacture. Here, it should be noted that the bottom plate 1, the front plate 3, the rear plate 2, the left plate 4, the right plate 5, the sealing plate 9, and the sealing plate 10 are all made of cardboard, which is only one embodiment of the present invention, and the bottom plate 1, the front plate 3, the rear plate 2, the left plate 4, the right plate 5, the sealing plate 9, and the sealing plate 10 are not limited to the structure made of cardboard, and may be made of other structures in other embodiments.
In summary, the embodiments of the present invention provide a logistics box convenient to disassemble, which at least has the following technical effects:
when logistics transportation is carried out, goods to be transported are placed in the logistics box body (the goods are placed in the accommodating cavity through the taking and placing opening), the taking and placing opening of the logistics box body is sealed through the sealing plate 9, the packaging plate 10 is fixed on the outer side wall of the logistics box body through the connecting structure 12, the sealing taking and placing opening is sealed through the sealing plate 9, the sealing plate 9 and the logistics box body form a sealed logistics box, and the goods cannot fall out of the logistics box during logistics transportation; when carrying out the dismantlement of commodity circulation box, tear easily on the packaging board 10 and tear area 11 (pull through manual and fall), make packaging board 10 go up the disconnection, the face that contains connection structure 12 and the face of connecting sealing plate 9 separate, sealing plate 9 is in the active state, can open sealing plate 9 and carry out taking out of commodity circulation box internal goods, realized the quick dismantlement of commodity circulation box body, it is more convenient, swift and practical to compare in the tradition needs scissors, the sword carries out the shearing of sticky tape on the commodity circulation box body. The design of the invention solves the problem that the logistics box is not easy to disassemble.
The above is only a preferred embodiment of the present invention, and is not intended to limit the present invention, and various modifications and changes will occur to those skilled in the art. Any modification, equivalent replacement, or improvement made within the spirit and principle of the present invention should be included in the protection scope of the present invention.

Claims (10)

1.一种便于拆卸的物流盒,其特征在于,包括物流盒盒体和封装组件;1. a logistics box that is easy to disassemble, is characterized in that, comprises logistics box body and packaging assembly; 所述物流盒盒体具有容纳腔,所述容纳腔用于存储待运输的物品,所述物流盒盒体开设有连用所述容纳腔的取放口,所述取放口用于所述物品的通过;The logistics box body has an accommodating cavity, and the accommodating cavity is used to store the items to be transported, and the logistics box body is provided with a pick-and-place port that is used in conjunction with the accommodating cavity, and the pick-and-place port is used for the items. the passage of; 所述封装组件包括铰接于所述取放口的密封板,所述密封板用于密封所述取放口,所述密封板铰接有封装板,所述封装板用于连接所述物流盒盒体与所述密封板,所述封装板设置有用于连接所述物流盒盒体的连接结构,所述连接结构与所述物流盒盒体之间的所述封装板设置有易撕带,所述易撕带用于分离其两侧的所述封装板板体。The packaging assembly includes a sealing plate hinged to the pick-and-place opening, the sealing plate is used for sealing the pick-and-place opening, the sealing plate is hinged with a packaging board, and the packaging board is used for connecting the logistics box body and the sealing plate, the packaging plate is provided with a connection structure for connecting the logistics box body, and the packaging plate between the connection structure and the logistics box body is provided with an easy-tear tape, so The easy-tear tape is used to separate the packaging board bodies on both sides thereof. 2.根据权利要求1所述的一种便于拆卸的物流盒,其特征在于,所述封装板包括连接所述密封板的第一板体,所述第一板体远离所述密封板的一侧设置所述易撕带,所述易撕带远离所述第一板体的一侧设置有第二板体,所述连接结构设置于所述第二板体。2 . The disassembled logistics box according to claim 1 , wherein the packaging plate comprises a first plate body connected to the sealing plate, and the first plate body is away from a part of the sealing plate. 3 . The easy-tear tape is provided on the side, a second board body is provided on the side of the easy-tear tape away from the first board body, and the connection structure is provided on the second board body. 3.根据权利要求2所述的一种便于拆卸的物流盒,其特征在于,所述易撕带与所述第一板体连接的一侧、所述易撕带与所述第二板体连接的一侧均设置有通孔,且通孔的数量为多个。3. A kind of logistics box that is easy to disassemble according to claim 2, it is characterized in that, the side that the said easy-tear tape is connected with the said first board body, the said easy-tear tape and the said second board body The connected side is provided with through holes, and the number of the through holes is multiple. 4.根据权利要求3所述的一种便于拆卸的物流盒,其特征在于,所述易撕带延期延伸方向的两端均设置有提拉带,且提拉带的宽度小于所述易撕带的宽度。4. A kind of logistics box that is easy to disassemble according to claim 3, it is characterized in that, both ends of the extension direction of the easy-tear belt are provided with a pull-up belt, and the width of the pull-up belt is smaller than the easy-tear belt. the width of the belt. 5.根据权利要求1-4任一项所述的一种便于拆卸的物流盒,其特征在于,所述物流盒盒体包括底板、前侧板、后侧板、左侧板和右侧板,所述底板、所述前侧板、所述后侧板和所述右侧板均呈矩形,所述前侧板和所述后侧板的形状相同、所述左侧板和所述右侧板的形状相同;5. A kind of logistics box that is easy to disassemble according to any one of claims 1-4, it is characterized in that, described logistics box box body comprises bottom plate, front side plate, rear side plate, left side plate and right side plate , the bottom plate, the front side plate, the rear side plate and the right side plate are all rectangular, the shape of the front side plate and the rear side plate are the same, the left side plate and the right side plate are the same The shape of the side panels is the same; 所述底板、所述前侧板、所述后侧板、所述左侧板和所述右侧板均呈矩形,所述前侧板、所述后侧板、所述左侧板和所述右侧板分别位于所述底板的前侧、后侧、左侧和右侧,且所述前侧板、所述后侧板、所述左侧板和所述右侧板均与所述底板折叠配合,所述密封板折叠设置于所述前侧板。The bottom panel, the front side panel, the rear side panel, the left side panel and the right side panel are all rectangular, and the front side panel, the rear side panel, the left side panel and the The right side panels are respectively located on the front side, rear side, left side and right side of the bottom plate, and the front side panel, the rear side panel, the left side panel and the right side panel are all the same as the The bottom plate is folded and matched, and the sealing plate is folded and arranged on the front side plate. 6.根据权利要求5所述的一种便于拆卸的物流盒,其特征在于,所述前侧板的两侧和所述后侧板的两侧均折叠设置有第一加固板,且第一加固板朝所述前侧板或/和所述后侧板翻转。6 . The easily disassembled logistics box according to claim 5 , characterized in that, both sides of the front side plate and both sides of the rear side plate are folded and provided with first reinforcing plates, and the first reinforcement plate is folded. The reinforcement plate is turned over towards the front side panel or/and the rear side panel. 7.根据权利要求6所述的一种便于拆卸的物流盒,其特征在于,所述左侧板远离所述底板的一侧和所述右侧板远离所述底板的一侧均折叠设置有第二加固板,且第二加固板朝所述底板翻转。7. A kind of logistics box that is easy to dismantle according to claim 6, it is characterized in that, the side of the left side plate away from the bottom plate and the side of the right side plate away from the bottom plate are both folded and provided with The second reinforcing plate is turned over toward the bottom plate. 8.根据权利要求7所述的一种便于拆卸的物流盒,其特征在于,所述密封板的两侧均折叠设置有第三加固板,且第三加固板朝向所述密封板翻转。8 . The easily disassembled logistics box according to claim 7 , wherein a third reinforcing plate is folded on both sides of the sealing plate, and the third reinforcing plate is turned over toward the sealing plate. 9 . 9.根据权利要求8所述的一种便于拆卸的物流盒,其特征在于,所述底板、所述前侧板、所述后侧板、所述左侧板、所述右侧板、所述密封板和所述封装板均为纸板。9 . The disassembled logistics box according to claim 8 , wherein the bottom plate, the front side plate, the rear side plate, the left side plate, the right side plate, the Both the sealing board and the packaging board are cardboard. 10.根据权利要求1所述的一种便于拆卸的物流盒,其特征在于,所述连接结构为双面胶带。10 . The easily disassembled logistics box according to claim 1 , wherein the connecting structure is a double-sided tape. 11 .
CN202210056526.6A 2022-01-18 2022-01-18 A logistics box that is easy to disassemble Pending CN114180181A (en)

Priority Applications (1)

Application Number Priority Date Filing Date Title
CN202210056526.6A CN114180181A (en) 2022-01-18 2022-01-18 A logistics box that is easy to disassemble

Applications Claiming Priority (1)

Application Number Priority Date Filing Date Title
CN202210056526.6A CN114180181A (en) 2022-01-18 2022-01-18 A logistics box that is easy to disassemble

Publications (1)

Publication Number Publication Date
CN114180181A true CN114180181A (en) 2022-03-15

Family

ID=80545729

Family Applications (1)

Application Number Title Priority Date Filing Date
CN202210056526.6A Pending CN114180181A (en) 2022-01-18 2022-01-18 A logistics box that is easy to disassemble

Country Status (1)

Country Link
CN (1) CN114180181A (en)

Citations (7)

* Cited by examiner, † Cited by third party
Publication number Priority date Publication date Assignee Title
CN203638270U (en) * 2013-12-17 2014-06-11 韩美华 Airplane-shaped box type packaging case
CN207258191U (en) * 2017-08-24 2018-04-20 马克华菲(上海)商业有限公司 A kind of fast folding cardboard case
CN209972998U (en) * 2019-05-29 2020-01-21 上海橘色供应链管理有限公司 Packing box easy to unseal
CN210140046U (en) * 2019-04-04 2020-03-13 Oppo广东移动通信有限公司 box
CN212638268U (en) * 2020-05-20 2021-03-02 北京一撕得物流技术有限公司 Easy-to-form packaging box
CN214566795U (en) * 2021-03-12 2021-11-02 中山易择优资打印科技有限公司 Packing box
CN216660653U (en) * 2022-01-18 2022-06-03 苏州市麦点彩印有限公司 Logistics box convenient to disassemble

Patent Citations (7)

* Cited by examiner, † Cited by third party
Publication number Priority date Publication date Assignee Title
CN203638270U (en) * 2013-12-17 2014-06-11 韩美华 Airplane-shaped box type packaging case
CN207258191U (en) * 2017-08-24 2018-04-20 马克华菲(上海)商业有限公司 A kind of fast folding cardboard case
CN210140046U (en) * 2019-04-04 2020-03-13 Oppo广东移动通信有限公司 box
CN209972998U (en) * 2019-05-29 2020-01-21 上海橘色供应链管理有限公司 Packing box easy to unseal
CN212638268U (en) * 2020-05-20 2021-03-02 北京一撕得物流技术有限公司 Easy-to-form packaging box
CN214566795U (en) * 2021-03-12 2021-11-02 中山易择优资打印科技有限公司 Packing box
CN216660653U (en) * 2022-01-18 2022-06-03 苏州市麦点彩印有限公司 Logistics box convenient to disassemble

Similar Documents

Publication Publication Date Title
CN109311576B (en) Reclosable battery package
CN216660653U (en) Logistics box convenient to disassemble
CN214876318U (en) Packing box and have its packing aggregate
CN114180181A (en) A logistics box that is easy to disassemble
US20240383648A1 (en) Foldable and sealable packaging bag
CN210883014U (en) Novel packaging box capable of being opened from two sides
JPH09207933A (en) Easy unpacking cardboard case
CN218594776U (en) Packing container
CN111470142B (en) A tearable take-out pizza box
CN209064555U (en) A kind of drawer type packages assembly
JP3174251U (en) Cardboard box
CN215707811U (en) Detachable packaging box
CN211686016U (en) Carton for transporting articles needing heat preservation
CN216509727U (en) Packing case for TV set
CN208134904U (en) A kind of New honeycomb carton
CN209382447U (en) A wine bottle packaging box
CN223046130U (en) A partitioned openable paper box
CN214567588U (en) Packing box (Chinese character' jiangsu
CN211055590U (en) Glue-free environment-friendly symmetrical hand basket
CN208102583U (en) A kind of packaging box with drawing and tearing device
CN216103221U (en) Packing box (Chinese character' jiangsu
CN213324381U (en) Connected lining type packaging paper box
CN215753560U (en) Reusable environment-friendly carton structure without adhesive tape sealing
CN217023256U (en) Cigarette packaging barrel with display function
CN217893497U (en) Packaging box

Legal Events

Date Code Title Description
PB01 Publication
PB01 Publication
SE01 Entry into force of request for substantive examination
SE01 Entry into force of request for substantive examination
RJ01 Rejection of invention patent application after publication
RJ01 Rejection of invention patent application after publication

Application publication date: 20220315