CN114179758A - 支腿滑移机构 - Google Patents
支腿滑移机构 Download PDFInfo
- Publication number
- CN114179758A CN114179758A CN202111414924.2A CN202111414924A CN114179758A CN 114179758 A CN114179758 A CN 114179758A CN 202111414924 A CN202111414924 A CN 202111414924A CN 114179758 A CN114179758 A CN 114179758A
- Authority
- CN
- China
- Prior art keywords
- sliding
- face
- shaft assembly
- sliding disc
- ball socket
- Prior art date
- Legal status (The legal status is an assumption and is not a legal conclusion. Google has not performed a legal analysis and makes no representation as to the accuracy of the status listed.)
- Granted
Links
- 230000007246 mechanism Effects 0.000 title claims abstract description 27
- 238000007789 sealing Methods 0.000 claims abstract description 26
- 238000002955 isolation Methods 0.000 claims description 11
- 230000007704 transition Effects 0.000 claims description 6
- 229910000906 Bronze Inorganic materials 0.000 description 1
- 230000002159 abnormal effect Effects 0.000 description 1
- XAGFODPZIPBFFR-UHFFFAOYSA-N aluminium Chemical compound [Al] XAGFODPZIPBFFR-UHFFFAOYSA-N 0.000 description 1
- 229910052782 aluminium Inorganic materials 0.000 description 1
- 230000009286 beneficial effect Effects 0.000 description 1
- 239000010974 bronze Substances 0.000 description 1
- 238000010276 construction Methods 0.000 description 1
- KUNSUQLRTQLHQQ-UHFFFAOYSA-N copper tin Chemical compound [Cu].[Sn] KUNSUQLRTQLHQQ-UHFFFAOYSA-N 0.000 description 1
- 230000007547 defect Effects 0.000 description 1
- 230000000694 effects Effects 0.000 description 1
- 239000012535 impurity Substances 0.000 description 1
- 230000003993 interaction Effects 0.000 description 1
- 239000000463 material Substances 0.000 description 1
- 238000000034 method Methods 0.000 description 1
- 238000005192 partition Methods 0.000 description 1
- 230000008569 process Effects 0.000 description 1
- 238000000926 separation method Methods 0.000 description 1
- 230000000087 stabilizing effect Effects 0.000 description 1
Images
Classifications
-
- B—PERFORMING OPERATIONS; TRANSPORTING
- B60—VEHICLES IN GENERAL
- B60S—SERVICING, CLEANING, REPAIRING, SUPPORTING, LIFTING, OR MANOEUVRING OF VEHICLES, NOT OTHERWISE PROVIDED FOR
- B60S9/00—Ground-engaging vehicle fittings for supporting, lifting, or manoeuvring the vehicle, wholly or in part, e.g. built-in jacks
- B60S9/02—Ground-engaging vehicle fittings for supporting, lifting, or manoeuvring the vehicle, wholly or in part, e.g. built-in jacks for only lifting or supporting
- B60S9/10—Ground-engaging vehicle fittings for supporting, lifting, or manoeuvring the vehicle, wholly or in part, e.g. built-in jacks for only lifting or supporting by fluid pressure
Landscapes
- Physics & Mathematics (AREA)
- Fluid Mechanics (AREA)
- Engineering & Computer Science (AREA)
- Mechanical Engineering (AREA)
- Vibration Prevention Devices (AREA)
- Vehicle Body Suspensions (AREA)
Abstract
本发明涉及支腿滑移机构,属于支腿油缸技术领域;包括滑盘组件、滑板轴组件;所述滑盘组件包括滑盘套、滑盘底座,滑盘套、滑盘底座共同构成上端开口、下端封闭的圆筒状结构;滑板轴组件的上端与支腿油缸可拆卸连接,下端插接于滑盘套内部,滑板轴组件的下端面与滑盘底座上端面相滑动连接,所述滑盘套内壁与滑板轴组件外侧面之间通过一周圈均匀设置的弹簧相连接;所述滑盘套上端开口处设置有环形的第一密封罩,套接于滑板轴组件的外侧,滑板轴组件外侧面固定连接有环形的第二密封罩,第二密封罩的下端面与第一密封罩的上端面相滑动连接;解决了在地面工况恶略的情况下,任意部分滑移都将使支腿与车体之间产生很大的内力的问题。
Description
技术领域
本发明属于支腿油缸技术领域,具体涉及支腿滑移机构。
背景技术
随车起重机、信号车等车辆设备,在停车工作前,首先需要将支腿油缸伸出支撑地面,没有绝对平整的地面,一般地面都会存在坑洼、倾斜、松软等情况,支腿与地面或车体随支腿发生相对滑移,具体滑移部位主要由支腿底盘与地面之间的摩擦力、车体重量等决定。在地面工况恶略的情况下,任意部分滑移都将使支腿与车体之间产生很大的内力,支腿油缸承受偏载,整车稳定性、可靠性、安全性降低。基于该种情况,设计支腿滑移机构。
支腿滑移机主要功能是在工况恶略的情况下,使相对滑移部位发生在机构内部零部件之间,相对滑移部位摩擦力小,能够实现快速移动,且移动到位,避免支腿与车体之间产生作用力,支腿油缸无偏载或偏载很小。使车载设备在平稳、可靠的工况下工作。
发明内容
本发明克服了现有技术的不足,提出支腿滑移机构;解决在地面工况恶略的情况下,任意部分滑移都将使支腿与车体之间产生很大的内力的问题。
为了达到上述目的,本发明是通过如下技术方案实现的。
支腿滑移机构,包括滑盘组件、滑板轴组件;所述滑盘组件包括滑盘套、滑盘底座,滑盘套、滑盘底座共同构成上端开口、下端封闭的圆筒状结构;滑板轴组件的上端与支腿油缸可拆卸连接,下端插接于滑盘套内部,滑板轴组件的下端面与滑盘底座上端面相滑动连接,所述滑盘套内壁与滑板轴组件外侧面之间通过一周圈均匀设置的弹簧相连接;
所述滑盘套上端开口处设置有环形的第一密封罩,套接于滑板轴组件的外侧,滑板轴组件外侧面固定连接有环形的第二密封罩,第二密封罩的下端面与第一密封罩的上端面相滑动连接。
进一步的,所述滑板轴组件包括下球窝、底板、弹簧座,所述下球窝为圆柱体结构,上端面设置有半圆球状的球窝凹槽,下球窝的上端设置有上球窝,上球窝与下球窝共同构成了球窝结构,支腿油缸与支腿滑移机构通过所述球窝结构可拆卸连接。
进一步的,所述底板为圆形板状结构,同轴设置于下球窝的下端面处,底板下端面上均匀设置有多个滑动垫片,滑动垫片滑动连接于滑盘底座的上端面上。
进一步的,所述滑盘套的内部侧壁分为两段,下段的内径小于上段的内径,下段与上段的连接处为水平的过渡台阶;过渡台阶上卡接有隔离板,隔离板为圆环形的板状结构,套接于下球座的外侧,并且位于底板的上方。
进一步的,所述滑盘套内部侧壁的上端处沿着周圈均匀设置有多个连接座,下球座的外侧面上沿着周圈均匀设置有多个弹簧座,连接座与弹簧座高度相等并且一一对应,所述弹簧的两端分别固定于连接座以及弹簧座上,弹簧沿着下球座以及滑盘套的径向设置。
进一步的,隔离板的外径略小于滑盘套上段的内径而大于下段的内径,隔离板的内径小于底板的外径。
进一步的,第二密封罩的外径小于第一密封罩的外径;第二密封罩的外径大于第一密封罩的内径。
进一步的,所述滑盘底座的下端面上设置有防滑花纹,所述防滑花纹为突出于滑盘底座下端面的筋条结构。
更进一步的,所述筋条结构的中心处为正方形结构,正方形的外围为正八边形结构,正方形结构与正八边形结构同心设置,正方形结构上每条边分别通过两条连接筋条与正八边形结构上的两个角相连接并且延伸至滑盘底座的外周圈上。
本发明相对于现有技术所产生的有益效果为:
支腿滑移机构是在随车起重机、信号车等车辆设备调平时使用,随车起重机、信号车等是集车辆与运输为一体的高效装备,目前在设备调平过程中经常出现车体与油缸之间相互作用力过大、油缸偏载过大的情况。设备存在侧翻、支腿油缸存在压力异常、油缸内部密封易损坏等情况。支腿滑移机构可以有效避免该种情况的发生。支腿滑移机构的应用,将从很大程度上提升车辆设备的稳定性、可靠性和安全性。目前国内在该方面缺乏成熟的技术方案,随着车辆设备安全性能要求的提高,必将在工程机械领域得到广泛应用。
附图说明
下面结合附图对本发明作进一步详细的说明:
图1是本发明整体的结构示意图;
图2是本发明拆去第一密封罩与第二密封罩时的俯视图;
图3是本发明中滑盘组件的剖视图;
图4是本发明中滑盘底座上的防滑花纹的结构示意图;
图5是本发明中滑板轴组件的剖视图;
图6是底板上的滑动垫片的结构示意图;
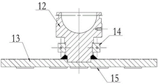
其中,1为滑盘组件、2为滑板轴组件、3为第二密封罩、4为隔离板、5为第一密封罩、6为上球窝、7为弹簧、8为滑盘套、9为连接座、10为滑盘底座、11为固定座、12为下球窝、13为底板、14为弹簧座、15为滑动垫片。
具体实施方式
为了使本发明所要解决的技术问题、技术方案及有益效果更加清楚明白,结合实施例和附图,对本发明进行进一步详细说明。应当理解,此处所描述的具体实施例仅仅用以解释本发明,并不用于限定本发明。下面结合实施例及附图详细说明本发明的技术方案,但保护范围不被此限制。
如图1—6所示,本发明提供了支腿滑移机构,包括滑盘组件1、滑板轴组件2、第一密封罩5、第二密封罩3、上球窝6、隔离板4、弹簧7。
所述滑盘组件1包括滑盘套8、连接座9、滑盘底座10、固定座11,所述滑盘套8与滑盘底座10共同构成了上端开口、下端封闭的圆筒状结构,所述滑盘套8的内部侧壁分为两段,下段的内径小于上段的内径,下段与上段的连接处为水平的过渡台阶。
所述滑盘底座10的下端面上设置有防滑花纹,所述防滑花纹为突出于滑盘底座10下端面的筋条结构,中心处为正方形结构,正方形的外围为正八边形结构,正方形结构与正八边形结构同心设置,正方形结构上每条边分别通过两条连接筋条与正八边形结构上的两个角相连接并且延伸至滑盘底座10的外周圈上。
所述连接座9的数量为八个,分别沿着周圈均匀分布并且固定设置于滑盘套8的内部侧壁上段处。所述连接座9的中间高度处设置有一个轴线水平的第一弹簧固定孔。
所述固定座11的数量为三个,分别沿着周圈均匀分布固定于滑盘套8的外侧面上。所述固定座的上端面上设置有卡接槽,卡接槽的两侧侧壁上设置有螺栓孔,通过卡接槽以及固定螺栓可以将滑盘套与车体的连接,这样当处于行车状态时,可以将支腿滑移机构固定在车体上,从而实现支腿滑移机构与支腿油缸的收回固定。
所述滑板轴组件2包括下球窝12、底板13、弹簧座14、滑动垫片15。所述滑板轴组件2插接于滑盘套8内部并且其下端与滑盘底座10的上端面相贴合。
所述下球窝12为下细上粗的圆柱状结构,下球窝12的上端面设置有半圆球状的球窝凹槽,所述上球窝6设置于下球窝12的上端,上球窝6的中部设置有上下贯通的圆弧形球窝凹槽。所述上球窝6与下球窝12可拆卸连接,共同构成了球窝结构,球窝结构与支腿油缸相连接,从而实现了支腿滑移机构与支腿油缸的可拆卸连接。
所述底板13为圆形板状结构,固定设置于下球窝12的底端中心处并且与下球窝12同轴设置。所述底板13的下端面上固定设置有若干个滑动垫片15,所述滑动垫片15为圆形片状结构,由铝青铜材料制成。滑动垫片15均匀分布于底板13的下端面上。
所述下球窝12同轴插接于滑盘套8内部,并且底板13下端面上的滑动垫片15与滑盘底座10上端面相贴合从而滑动连接,底板13的直径小于滑盘套8内侧壁下段的内径。
所述弹簧座14的数量为八个,分别沿着周圈均匀固定在下球窝12的直径较小的下段外侧面上,弹簧座14与滑盘套8内侧面的连接座9一一对应,弹簧座14上设置有第二弹簧固定孔,所述第一弹簧固定孔与第二弹簧固定孔处于同一高度。相对应的弹簧座14与连接座9之间通过弹簧7相连接,所述弹簧7沿着下球座以及滑盘套8的径向设置。
所述隔离板4为圆环形的板状结构,圆心处设置有上下贯通的过孔,隔离板4的外径略小于滑盘套8上段的内径而大于下段的内径,隔离板4的内径小于底板13的外径。隔离板4卡接于滑盘套8内侧壁上段与下段的过渡台阶处,下球窝12插接于隔离板4的中间过孔内,底板13位于隔离板4的下方。
所述第一密封罩5与第二密封罩3为圆环形的板状结构,圆心处设置有上下贯通的过孔。第二密封罩3的外径小于第一密封罩5的外径;第二密封罩3的外径大于第一密封罩5的内径。
第一密封罩5可拆卸连接于滑盘套8的上端开口处,将滑盘套8的上端开口所封闭。第二密封罩3的过孔内径与下球座直径较大的上段外径相等,并且套接在下球座直径较大的上段的外侧。所述第二密封罩3相贴合地设置于第一密封罩5的上端,并且与第一密封罩5的上端面相滑动连接。
本发明的工作原理为:
通过上球窝6与下球窝12的可拆卸连接,将本发明的支腿滑移机构与支腿油缸相连接起来。然后将滑盘底座10的下端面与地面相稳固接触,通过设置防滑花纹,可以使得滑盘底座10实现稳固抓地,从而达到车体稳固的功能。
支腿油缸与下球座相固定连接,滑板轴组件2可以通过滑动垫片15在滑盘底座10的上端面相滑动,同时第二密封罩3可以在下球座的带动下在第一密封罩5的上端面相滑动,第一密封罩5与第二密封罩3共同构成一个平面密封结构,从而可以防止外界的杂质进入滑盘套8内部。
由于滑板轴组件2可以在滑盘套8内部进行相对滑动,这样就将支腿油缸与地面之间的相对滑移转移到支腿滑移机构内部的零部件之间,相对滑移的部位为滑动垫片15与滑盘底座10的上端面,这样滑动摩擦力较小,能够实现快速移动并且移动到位,避免支腿与车体之间产生作用力,支腿油缸无偏载或偏载很小,使车载设备在平稳、可靠的工况下工作。
当相对滑移消失后,通过弹簧7可以使得下球座快速回位,不影响下次使用。
对于本领域技术人员而言,显然本发明不限于上述示范性实施例的细节,而且在不背离本发明的精神或基本特征的情况下,能够以其他的具体形式实现本发明。因此,无论从哪一点来看,均应将实施例看作是示范性的,而且是非限制性的,本发明的范围由所附权利要求而不是上述说明限定,因此旨在将落在权利要求的等同要件的含义和范围内的所有变化囊括在本发明内。不应将权利要求中的任何附图标记视为限制所涉及的权利要求。
Claims (9)
1.支腿滑移机构,其特征在于:包括滑盘组件(1)、滑板轴组件(2);所述(1)包括滑盘套(8)、滑盘底座(10), 滑盘套(8)、滑盘底座(10)共同构成上端开口、下端封闭的圆筒状结构;滑板轴组件(2)的上端与支腿油缸可拆卸连接,下端插接于滑盘套(8)内部,滑板轴组件(2)的下端面与滑盘底座(10)上端面相滑动连接,所述滑盘套(8)内壁与滑板轴组件(2)外侧面之间通过一周圈均匀设置的弹簧(7)相连接;所述滑盘套(8)上端开口处设置有环形的第一密封罩(5),套接于滑板轴组件(2)的外侧,滑板轴组件(2)外侧面固定连接有环形的第二密封罩(3),第二密封罩(3)的下端面与第一密封罩(5)的上端面相滑动连接。
2.根据权利要求1所述的支腿滑移机构,其特征在于:所述滑板轴组件(2)包括下球窝(12)、底板(13)、弹簧座(14),所述下球窝(12)为圆柱体结构,上端面设置有半圆球状的球窝凹槽,下球窝(12)的上端设置有上球窝(6),上球窝(6)与下球窝(12)共同构成了球窝结构,支腿油缸与支腿滑移机构通过所述球窝结构可拆卸连接。
3.根据权利要求2所述的支腿滑移机构,其特征在于:所述底板(13)为圆形板状结构,同轴设置于下球窝(12)的下端面处,底板(13)下端面上均匀设置有多个滑动垫片(15),滑动垫片(15)滑动连接于滑盘底座(10)的上端面上。
4.根据权利要求3所述的支腿滑移机构,其特征在于:所述滑盘套(8)的内部侧壁分为两段,下段的内径小于上段的内径,下段与上段的连接处为水平的过渡台阶;过渡台阶上卡接有隔离板(4),隔离板(4)为圆环形的板状结构,套接于下球座的外侧,并且位于底板(13)的上方。
5.根据权利要求4所述的支腿滑移机构,其特征在于:所述滑盘套(8)内部侧壁的上端处沿着周圈均匀设置有多个连接座(9),下球座的外侧面上沿着周圈均匀设置有多个弹簧座(14),连接座(9)与弹簧座(14)高度相等并且一一对应,所述弹簧(7)的两端分别固定于连接座(9)以及弹簧座(14)上,弹簧(7)沿着下球座以及滑盘套(8)的径向设置。
6.根据权利要求4所述的支腿滑移机构,其特征在于:隔离板(4)的外径略小于滑盘套(8)上段的内径而大于下段的内径,隔离板(4)的内径小于底板(13)的外径。
7.根据权利要求1所述的支腿滑移机构,其特征在于:第二密封罩(3)的外径小于第一密封罩(5)的外径;第二密封罩(3)的外径大于第一密封罩(5)的内径。
8.根据权利要求1所述的支腿滑移机构,其特征在于:所述滑盘底座(10)的下端面上设置有防滑花纹,所述防滑花纹为突出于滑盘底座(10)下端面的筋条结构。
9.根据权利要求8所述的支腿滑移机构,其特征在于:所述筋条结构的中心处为正方形结构,正方形的外围为正八边形结构,正方形结构与正八边形结构同心设置,正方形结构上每条边分别通过两条连接筋条与正八边形结构上的两个角相连接并且延伸至滑盘底座(10)的外周圈上。
Priority Applications (1)
| Application Number | Priority Date | Filing Date | Title |
|---|---|---|---|
| CN202111414924.2A CN114179758B (zh) | 2021-11-25 | 2021-11-25 | 支腿滑移机构 |
Applications Claiming Priority (1)
| Application Number | Priority Date | Filing Date | Title |
|---|---|---|---|
| CN202111414924.2A CN114179758B (zh) | 2021-11-25 | 2021-11-25 | 支腿滑移机构 |
Publications (2)
| Publication Number | Publication Date |
|---|---|
| CN114179758A true CN114179758A (zh) | 2022-03-15 |
| CN114179758B CN114179758B (zh) | 2024-06-14 |
Family
ID=80602593
Family Applications (1)
| Application Number | Title | Priority Date | Filing Date |
|---|---|---|---|
| CN202111414924.2A Active CN114179758B (zh) | 2021-11-25 | 2021-11-25 | 支腿滑移机构 |
Country Status (1)
| Country | Link |
|---|---|
| CN (1) | CN114179758B (zh) |
Citations (9)
| Publication number | Priority date | Publication date | Assignee | Title |
|---|---|---|---|---|
| GB525354A (en) * | 1938-02-19 | 1940-08-27 | Fernand Auzoulat | Improvements in ball-and-socket joints |
| CN102416933A (zh) * | 2010-09-28 | 2012-04-18 | 徐州重型机械有限公司 | 工程机械底盘及其支腿支撑装置 |
| CN202669770U (zh) * | 2012-07-03 | 2013-01-16 | 徐工集团工程机械股份有限公司 | 一种车辆滑移支腿及清障车 |
| CN103010977A (zh) * | 2012-12-27 | 2013-04-03 | 徐州重型机械有限公司 | 一种起重机及其支撑机构 |
| CN207903760U (zh) * | 2017-12-28 | 2018-09-25 | 徐州重型机械有限公司 | 一种起重机支腿滑移补偿机构 |
| CN208856840U (zh) * | 2018-08-28 | 2019-05-14 | 山西航天清华装备有限责任公司 | 一种支腿油缸安装装置 |
| CN210236935U (zh) * | 2019-04-16 | 2020-04-03 | 浙江拓邦液压科技有限公司 | 一种具有保护机构的支腿油缸 |
| CN113021313A (zh) * | 2021-02-27 | 2021-06-25 | 章余 | 一种侦察机器人用的减震底座 |
| CN216737215U (zh) * | 2021-11-25 | 2022-06-14 | 山西航天清华装备有限责任公司 | 一种支腿滑移机构 |
-
2021
- 2021-11-25 CN CN202111414924.2A patent/CN114179758B/zh active Active
Patent Citations (9)
| Publication number | Priority date | Publication date | Assignee | Title |
|---|---|---|---|---|
| GB525354A (en) * | 1938-02-19 | 1940-08-27 | Fernand Auzoulat | Improvements in ball-and-socket joints |
| CN102416933A (zh) * | 2010-09-28 | 2012-04-18 | 徐州重型机械有限公司 | 工程机械底盘及其支腿支撑装置 |
| CN202669770U (zh) * | 2012-07-03 | 2013-01-16 | 徐工集团工程机械股份有限公司 | 一种车辆滑移支腿及清障车 |
| CN103010977A (zh) * | 2012-12-27 | 2013-04-03 | 徐州重型机械有限公司 | 一种起重机及其支撑机构 |
| CN207903760U (zh) * | 2017-12-28 | 2018-09-25 | 徐州重型机械有限公司 | 一种起重机支腿滑移补偿机构 |
| CN208856840U (zh) * | 2018-08-28 | 2019-05-14 | 山西航天清华装备有限责任公司 | 一种支腿油缸安装装置 |
| CN210236935U (zh) * | 2019-04-16 | 2020-04-03 | 浙江拓邦液压科技有限公司 | 一种具有保护机构的支腿油缸 |
| CN113021313A (zh) * | 2021-02-27 | 2021-06-25 | 章余 | 一种侦察机器人用的减震底座 |
| CN216737215U (zh) * | 2021-11-25 | 2022-06-14 | 山西航天清华装备有限责任公司 | 一种支腿滑移机构 |
Also Published As
| Publication number | Publication date |
|---|---|
| CN114179758B (zh) | 2024-06-14 |
Similar Documents
| Publication | Publication Date | Title |
|---|---|---|
| CN105134761A (zh) | 推力滑动轴承和使用该推力滑动轴承的支柱型悬架的安装结构 | |
| CN216737215U (zh) | 一种支腿滑移机构 | |
| US11400790B2 (en) | Concentric hydraulic ride height actuator for a motor vehicle | |
| CN106678265A (zh) | 适用于车载光电转台的自定心锁紧减振装置 | |
| CN114179758A (zh) | 支腿滑移机构 | |
| CN103470619B (zh) | 一种两滚道式平面回转支承 | |
| CN117301839A (zh) | 换电装置及工程机械 | |
| CN214277265U (zh) | 车轮偏距调节装置、车轮六分力适配器、车轮及汽车 | |
| CN221233459U (zh) | 锁止机构、换电装置及工程机械 | |
| CN112339886A (zh) | 一种轴向浮动式偏心锁紧装置和自动输送线 | |
| CN103954340B (zh) | 顶升式飞机称重转接器 | |
| CN117003141B (zh) | 一种防倾倒的塔式起重机底盘 | |
| CN215706234U (zh) | 一种工程车辆及其辅助支撑腿 | |
| CN113910841B (zh) | 一种轮毂内支撑体 | |
| CN213895139U (zh) | 一种机械防护装置 | |
| CN216272864U (zh) | 一种库房和野外多用途型卧式千斤顶 | |
| CN214688991U (zh) | 一种快锁机构及具有该快锁机构的车用电池包 | |
| JPH04230401A (ja) | 車両用車輪 | |
| CN211034892U (zh) | 盘件的翻转吊装装置及夹具 | |
| CN221078054U (zh) | 一种可整体吊装的火箭发动机试车台架 | |
| CN113525304A (zh) | 一种工程车辆及其辅助支撑腿 | |
| CN221569187U (zh) | 一种汽车悬挂球头 | |
| CN216280444U (zh) | 一种可用于松软地面上的升降支撑架 | |
| CN220043602U (zh) | 一种线阵负载角吊装音箱组件 | |
| CN223567625U (zh) | 用于静中通卫星通信车的反干扰的安装机构 |
Legal Events
| Date | Code | Title | Description |
|---|---|---|---|
| PB01 | Publication | ||
| PB01 | Publication | ||
| SE01 | Entry into force of request for substantive examination | ||
| SE01 | Entry into force of request for substantive examination | ||
| GR01 | Patent grant | ||
| GR01 | Patent grant |