CN114177007A - Recovery device after orthopedic surgery of hands and feet - Google Patents
Recovery device after orthopedic surgery of hands and feet Download PDFInfo
- Publication number
- CN114177007A CN114177007A CN202210023227.2A CN202210023227A CN114177007A CN 114177007 A CN114177007 A CN 114177007A CN 202210023227 A CN202210023227 A CN 202210023227A CN 114177007 A CN114177007 A CN 114177007A
- Authority
- CN
- China
- Prior art keywords
- fixing plate
- telescopic
- air bag
- leg fixing
- leg
- Prior art date
- Legal status (The legal status is an assumption and is not a legal conclusion. Google has not performed a legal analysis and makes no representation as to the accuracy of the status listed.)
- Withdrawn
Links
- 230000000399 orthopedic effect Effects 0.000 title claims abstract description 21
- 238000001356 surgical procedure Methods 0.000 title claims description 10
- 238000011084 recovery Methods 0.000 title description 3
- 210000002683 foot Anatomy 0.000 claims abstract description 30
- 230000006835 compression Effects 0.000 claims abstract description 15
- 238000007906 compression Methods 0.000 claims abstract description 15
- 210000003414 extremity Anatomy 0.000 claims abstract description 8
- 210000000245 forearm Anatomy 0.000 claims description 31
- 230000007246 mechanism Effects 0.000 claims description 15
- NJPPVKZQTLUDBO-UHFFFAOYSA-N novaluron Chemical compound C1=C(Cl)C(OC(F)(F)C(OC(F)(F)F)F)=CC=C1NC(=O)NC(=O)C1=C(F)C=CC=C1F NJPPVKZQTLUDBO-UHFFFAOYSA-N 0.000 claims description 6
- 230000008878 coupling Effects 0.000 claims description 5
- 238000010168 coupling process Methods 0.000 claims description 5
- 238000005859 coupling reaction Methods 0.000 claims description 5
- 210000002414 leg Anatomy 0.000 abstract description 29
- 230000000694 effects Effects 0.000 abstract description 6
- 210000000544 articulatio talocruralis Anatomy 0.000 abstract description 5
- 210000000629 knee joint Anatomy 0.000 abstract description 4
- 201000000585 muscular atrophy Diseases 0.000 abstract description 3
- 238000000034 method Methods 0.000 description 4
- 230000005611 electricity Effects 0.000 description 2
- 210000001145 finger joint Anatomy 0.000 description 2
- 230000005057 finger movement Effects 0.000 description 2
- 206010023230 Joint stiffness Diseases 0.000 description 1
- 238000010009 beating Methods 0.000 description 1
- 230000009286 beneficial effect Effects 0.000 description 1
- 238000010586 diagram Methods 0.000 description 1
- 210000002310 elbow joint Anatomy 0.000 description 1
- 238000012986 modification Methods 0.000 description 1
- 230000004048 modification Effects 0.000 description 1
- 210000003205 muscle Anatomy 0.000 description 1
- 230000008569 process Effects 0.000 description 1
- 238000006467 substitution reaction Methods 0.000 description 1
Images
Classifications
-
- A—HUMAN NECESSITIES
- A61—MEDICAL OR VETERINARY SCIENCE; HYGIENE
- A61H—PHYSICAL THERAPY APPARATUS, e.g. DEVICES FOR LOCATING OR STIMULATING REFLEX POINTS IN THE BODY; ARTIFICIAL RESPIRATION; MASSAGE; BATHING DEVICES FOR SPECIAL THERAPEUTIC OR HYGIENIC PURPOSES OR SPECIFIC PARTS OF THE BODY
- A61H1/00—Apparatus for passive exercising; Vibrating apparatus; Chiropractic devices, e.g. body impacting devices, external devices for briefly extending or aligning unbroken bones
- A61H1/02—Stretching or bending or torsioning apparatus for exercising
- A61H1/0237—Stretching or bending or torsioning apparatus for exercising for the lower limbs
-
- A—HUMAN NECESSITIES
- A61—MEDICAL OR VETERINARY SCIENCE; HYGIENE
- A61H—PHYSICAL THERAPY APPARATUS, e.g. DEVICES FOR LOCATING OR STIMULATING REFLEX POINTS IN THE BODY; ARTIFICIAL RESPIRATION; MASSAGE; BATHING DEVICES FOR SPECIAL THERAPEUTIC OR HYGIENIC PURPOSES OR SPECIFIC PARTS OF THE BODY
- A61H1/00—Apparatus for passive exercising; Vibrating apparatus; Chiropractic devices, e.g. body impacting devices, external devices for briefly extending or aligning unbroken bones
- A61H1/02—Stretching or bending or torsioning apparatus for exercising
- A61H1/0237—Stretching or bending or torsioning apparatus for exercising for the lower limbs
- A61H1/024—Knee
-
- A—HUMAN NECESSITIES
- A61—MEDICAL OR VETERINARY SCIENCE; HYGIENE
- A61H—PHYSICAL THERAPY APPARATUS, e.g. DEVICES FOR LOCATING OR STIMULATING REFLEX POINTS IN THE BODY; ARTIFICIAL RESPIRATION; MASSAGE; BATHING DEVICES FOR SPECIAL THERAPEUTIC OR HYGIENIC PURPOSES OR SPECIFIC PARTS OF THE BODY
- A61H1/00—Apparatus for passive exercising; Vibrating apparatus; Chiropractic devices, e.g. body impacting devices, external devices for briefly extending or aligning unbroken bones
- A61H1/02—Stretching or bending or torsioning apparatus for exercising
- A61H1/0237—Stretching or bending or torsioning apparatus for exercising for the lower limbs
- A61H1/0266—Foot
-
- A—HUMAN NECESSITIES
- A61—MEDICAL OR VETERINARY SCIENCE; HYGIENE
- A61H—PHYSICAL THERAPY APPARATUS, e.g. DEVICES FOR LOCATING OR STIMULATING REFLEX POINTS IN THE BODY; ARTIFICIAL RESPIRATION; MASSAGE; BATHING DEVICES FOR SPECIAL THERAPEUTIC OR HYGIENIC PURPOSES OR SPECIFIC PARTS OF THE BODY
- A61H1/00—Apparatus for passive exercising; Vibrating apparatus; Chiropractic devices, e.g. body impacting devices, external devices for briefly extending or aligning unbroken bones
- A61H1/02—Stretching or bending or torsioning apparatus for exercising
- A61H1/0274—Stretching or bending or torsioning apparatus for exercising for the upper limbs
-
- A—HUMAN NECESSITIES
- A61—MEDICAL OR VETERINARY SCIENCE; HYGIENE
- A61H—PHYSICAL THERAPY APPARATUS, e.g. DEVICES FOR LOCATING OR STIMULATING REFLEX POINTS IN THE BODY; ARTIFICIAL RESPIRATION; MASSAGE; BATHING DEVICES FOR SPECIAL THERAPEUTIC OR HYGIENIC PURPOSES OR SPECIFIC PARTS OF THE BODY
- A61H1/00—Apparatus for passive exercising; Vibrating apparatus; Chiropractic devices, e.g. body impacting devices, external devices for briefly extending or aligning unbroken bones
- A61H1/02—Stretching or bending or torsioning apparatus for exercising
- A61H1/0274—Stretching or bending or torsioning apparatus for exercising for the upper limbs
- A61H1/0277—Elbow
-
- A—HUMAN NECESSITIES
- A61—MEDICAL OR VETERINARY SCIENCE; HYGIENE
- A61H—PHYSICAL THERAPY APPARATUS, e.g. DEVICES FOR LOCATING OR STIMULATING REFLEX POINTS IN THE BODY; ARTIFICIAL RESPIRATION; MASSAGE; BATHING DEVICES FOR SPECIAL THERAPEUTIC OR HYGIENIC PURPOSES OR SPECIFIC PARTS OF THE BODY
- A61H15/00—Massage by means of rollers, balls, e.g. inflatable, chains, or roller chains
- A61H15/0078—Massage by means of rollers, balls, e.g. inflatable, chains, or roller chains power-driven
-
- A—HUMAN NECESSITIES
- A61—MEDICAL OR VETERINARY SCIENCE; HYGIENE
- A61H—PHYSICAL THERAPY APPARATUS, e.g. DEVICES FOR LOCATING OR STIMULATING REFLEX POINTS IN THE BODY; ARTIFICIAL RESPIRATION; MASSAGE; BATHING DEVICES FOR SPECIAL THERAPEUTIC OR HYGIENIC PURPOSES OR SPECIFIC PARTS OF THE BODY
- A61H23/00—Percussion or vibration massage, e.g. using supersonic vibration; Suction-vibration massage; Massage with moving diaphragms
- A61H23/006—Percussion or tapping massage
-
- A—HUMAN NECESSITIES
- A61—MEDICAL OR VETERINARY SCIENCE; HYGIENE
- A61H—PHYSICAL THERAPY APPARATUS, e.g. DEVICES FOR LOCATING OR STIMULATING REFLEX POINTS IN THE BODY; ARTIFICIAL RESPIRATION; MASSAGE; BATHING DEVICES FOR SPECIAL THERAPEUTIC OR HYGIENIC PURPOSES OR SPECIFIC PARTS OF THE BODY
- A61H23/00—Percussion or vibration massage, e.g. using supersonic vibration; Suction-vibration massage; Massage with moving diaphragms
- A61H23/02—Percussion or vibration massage, e.g. using supersonic vibration; Suction-vibration massage; Massage with moving diaphragms with electric or magnetic drive
-
- A—HUMAN NECESSITIES
- A63—SPORTS; GAMES; AMUSEMENTS
- A63B—APPARATUS FOR PHYSICAL TRAINING, GYMNASTICS, SWIMMING, CLIMBING, OR FENCING; BALL GAMES; TRAINING EQUIPMENT
- A63B21/00—Exercising apparatus for developing or strengthening the muscles or joints of the body by working against a counterforce, with or without measuring devices
- A63B21/00178—Exercising apparatus for developing or strengthening the muscles or joints of the body by working against a counterforce, with or without measuring devices for active exercising, the apparatus being also usable for passive exercising
-
- A—HUMAN NECESSITIES
- A63—SPORTS; GAMES; AMUSEMENTS
- A63B—APPARATUS FOR PHYSICAL TRAINING, GYMNASTICS, SWIMMING, CLIMBING, OR FENCING; BALL GAMES; TRAINING EQUIPMENT
- A63B21/00—Exercising apparatus for developing or strengthening the muscles or joints of the body by working against a counterforce, with or without measuring devices
- A63B21/008—Exercising apparatus for developing or strengthening the muscles or joints of the body by working against a counterforce, with or without measuring devices using hydraulic or pneumatic force-resisters
-
- A—HUMAN NECESSITIES
- A63—SPORTS; GAMES; AMUSEMENTS
- A63B—APPARATUS FOR PHYSICAL TRAINING, GYMNASTICS, SWIMMING, CLIMBING, OR FENCING; BALL GAMES; TRAINING EQUIPMENT
- A63B23/00—Exercising apparatus specially adapted for particular parts of the body
- A63B23/035—Exercising apparatus specially adapted for particular parts of the body for limbs, i.e. upper or lower limbs, e.g. simultaneously
- A63B23/12—Exercising apparatus specially adapted for particular parts of the body for limbs, i.e. upper or lower limbs, e.g. simultaneously for upper limbs or related muscles, e.g. chest, upper back or shoulder muscles
- A63B23/16—Exercising apparatus specially adapted for particular parts of the body for limbs, i.e. upper or lower limbs, e.g. simultaneously for upper limbs or related muscles, e.g. chest, upper back or shoulder muscles for hands or fingers
-
- A—HUMAN NECESSITIES
- A61—MEDICAL OR VETERINARY SCIENCE; HYGIENE
- A61H—PHYSICAL THERAPY APPARATUS, e.g. DEVICES FOR LOCATING OR STIMULATING REFLEX POINTS IN THE BODY; ARTIFICIAL RESPIRATION; MASSAGE; BATHING DEVICES FOR SPECIAL THERAPEUTIC OR HYGIENIC PURPOSES OR SPECIFIC PARTS OF THE BODY
- A61H2201/00—Characteristics of apparatus not provided for in the preceding codes
- A61H2201/01—Constructive details
- A61H2201/0119—Support for the device
- A61H2201/0138—Support for the device incorporated in furniture
- A61H2201/0149—Seat or chair
-
- A—HUMAN NECESSITIES
- A61—MEDICAL OR VETERINARY SCIENCE; HYGIENE
- A61H—PHYSICAL THERAPY APPARATUS, e.g. DEVICES FOR LOCATING OR STIMULATING REFLEX POINTS IN THE BODY; ARTIFICIAL RESPIRATION; MASSAGE; BATHING DEVICES FOR SPECIAL THERAPEUTIC OR HYGIENIC PURPOSES OR SPECIFIC PARTS OF THE BODY
- A61H2201/00—Characteristics of apparatus not provided for in the preceding codes
- A61H2201/12—Driving means
- A61H2201/1207—Driving means with electric or magnetic drive
-
- A—HUMAN NECESSITIES
- A61—MEDICAL OR VETERINARY SCIENCE; HYGIENE
- A61H—PHYSICAL THERAPY APPARATUS, e.g. DEVICES FOR LOCATING OR STIMULATING REFLEX POINTS IN THE BODY; ARTIFICIAL RESPIRATION; MASSAGE; BATHING DEVICES FOR SPECIAL THERAPEUTIC OR HYGIENIC PURPOSES OR SPECIFIC PARTS OF THE BODY
- A61H2205/00—Devices for specific parts of the body
- A61H2205/06—Arms
-
- A—HUMAN NECESSITIES
- A61—MEDICAL OR VETERINARY SCIENCE; HYGIENE
- A61H—PHYSICAL THERAPY APPARATUS, e.g. DEVICES FOR LOCATING OR STIMULATING REFLEX POINTS IN THE BODY; ARTIFICIAL RESPIRATION; MASSAGE; BATHING DEVICES FOR SPECIAL THERAPEUTIC OR HYGIENIC PURPOSES OR SPECIFIC PARTS OF THE BODY
- A61H2205/00—Devices for specific parts of the body
- A61H2205/10—Leg
-
- A—HUMAN NECESSITIES
- A61—MEDICAL OR VETERINARY SCIENCE; HYGIENE
- A61H—PHYSICAL THERAPY APPARATUS, e.g. DEVICES FOR LOCATING OR STIMULATING REFLEX POINTS IN THE BODY; ARTIFICIAL RESPIRATION; MASSAGE; BATHING DEVICES FOR SPECIAL THERAPEUTIC OR HYGIENIC PURPOSES OR SPECIFIC PARTS OF THE BODY
- A61H2205/00—Devices for specific parts of the body
- A61H2205/10—Leg
- A61H2205/102—Knee
-
- A—HUMAN NECESSITIES
- A61—MEDICAL OR VETERINARY SCIENCE; HYGIENE
- A61H—PHYSICAL THERAPY APPARATUS, e.g. DEVICES FOR LOCATING OR STIMULATING REFLEX POINTS IN THE BODY; ARTIFICIAL RESPIRATION; MASSAGE; BATHING DEVICES FOR SPECIAL THERAPEUTIC OR HYGIENIC PURPOSES OR SPECIFIC PARTS OF THE BODY
- A61H2205/00—Devices for specific parts of the body
- A61H2205/10—Leg
- A61H2205/106—Leg for the lower legs
-
- A—HUMAN NECESSITIES
- A61—MEDICAL OR VETERINARY SCIENCE; HYGIENE
- A61H—PHYSICAL THERAPY APPARATUS, e.g. DEVICES FOR LOCATING OR STIMULATING REFLEX POINTS IN THE BODY; ARTIFICIAL RESPIRATION; MASSAGE; BATHING DEVICES FOR SPECIAL THERAPEUTIC OR HYGIENIC PURPOSES OR SPECIFIC PARTS OF THE BODY
- A61H2205/00—Devices for specific parts of the body
- A61H2205/12—Feet
Landscapes
- Health & Medical Sciences (AREA)
- General Health & Medical Sciences (AREA)
- Physical Education & Sports Medicine (AREA)
- Life Sciences & Earth Sciences (AREA)
- Animal Behavior & Ethology (AREA)
- Rehabilitation Therapy (AREA)
- Pain & Pain Management (AREA)
- Epidemiology (AREA)
- Public Health (AREA)
- Veterinary Medicine (AREA)
- Orthopedic Medicine & Surgery (AREA)
- Biophysics (AREA)
- Rehabilitation Tools (AREA)
Abstract
The invention discloses a rehabilitation device after orthopedic operations of hands and feet, belonging to the technical field of medical instruments and comprising a seat body, wherein the seat body is provided with a fixed shaft, a sleeve is movably sleeved on the fixed shaft, and a telescopic shaft of a first telescopic motor and a leg fixing plate are fixedly connected to the sleeve; the leg fixing plate is provided with a fixing belt, the tail end of the leg fixing plate is fixedly provided with a connecting piece, the tail end of the connecting piece is of a spherical structure, the connecting piece is matched with the spherical structure and is rotatably connected with a foot movable plate, the top end of the foot movable plate is connected with a compression spring, and the tail end of the compression spring is fixedly connected to the bottom end of the seat body; the motion through first flexible motor drives the activity of patient shank to make the knee joint obtain taking exercise, through the setting of foot fly leaf, make patient's ankle joint obtain taking exercise, the problem of patient's limbs rigidity, the dumb of extension, muscular atrophy, joint rigidity is alleviated in the help.
Description
Technical Field
The invention relates to the technical field of medical instruments, in particular to a recovery device for a hand and foot after an orthopedic operation.
Background
Orthopedics is one of the most common departments of various hospitals, and after the operation of an orthopedic patient is completed, if the orthopedic patient cannot exercise, the problems of stiff limbs, inflexible stretching, muscular atrophy, stiff joints and the like easily occur, so that the rehabilitation exercise is needed after the operation.
In chinese patent publication No. CN110151486A, a novel rehabilitation device for orthopedic operations on hands and feet is disclosed, wherein the user fixes the feet by a strap, and then the patient can be actively and passively trained by connecting and separating a connecting plate and a sliding plate, so as to reduce the labor intensity of the medical staff.
Disclosure of Invention
In order to solve the technical problem, the invention provides a rehabilitation device after orthopedic operations on hands and feet, which comprises a seat body, wherein a fixed shaft is arranged on the seat body, a sleeve is movably sleeved on the fixed shaft, and a telescopic shaft of a first telescopic motor and a leg fixing plate are fixedly connected to the sleeve;
the leg fixing plate is provided with a fixing band, the tail end of the leg fixing plate is fixedly provided with a connecting piece, the tail end of the connecting piece is of a spherical structure, the connecting piece is matched with a foot movable plate which is rotatably connected with the spherical structure, the top end of the foot movable plate is connected with a compression spring, and the tail end of the compression spring is fixedly connected with the bottom end of the seat body.
Preferably, the leg fixing plate is of a telescopic structure.
Preferably, the shank fixed plate is the arc type structure, the inner wall of shank fixed plate is equipped with a plurality of openings, the shank fixed plate inboard passes a plurality of the opening activity is equipped with a plurality of first massage balls, and is a plurality of the end-to-end connection of first massage ball has first massage layer.
Preferably, the outer side of the leg fixing plate is fixedly provided with a bearing box, a third telescopic motor is fixedly arranged in the bearing box, a telescopic shaft of the third telescopic motor penetrates through the outer side wall of the leg fixing plate and is fixedly connected with the first massage layer, and the leg fixing plate is movably connected to the telescopic shaft of the third telescopic motor.
Preferably, still be equipped with hand moving mechanism on the pedestal, hand moving mechanism includes support column and forearm fixed plate, the support column sets up on the pedestal, the top of support column with the forearm fixed plate is articulated, the end of forearm fixed plate is equipped with the telescopic connecting rod, the end-to-end connection of connecting rod has the flexible motor of second.
Preferably, the end of forearm fixed plate is provided with the finger activity ware, the finger activity ware includes gasbag and gloves, the gasbag rigid coupling is in the end of forearm fixed plate, a plurality of extension spring have set firmly on the gasbag, it is a plurality of the end of spring is connected with jointly gloves.
Preferably, the forearm fixing plate is of a cylindrical structure, an air bag layer is arranged between the inner wall and the outer wall of the forearm fixing plate and communicated with the air bag, a second massage layer is fixedly arranged on the air bag layer and provided with a plurality of second massage balls, and the tail ends of the second massage balls penetrate through the inner wall of the forearm fixing plate.
Preferably, the number of the leg moving mechanisms and the number of the hand moving mechanisms are two, and the compression spring is fixedly connected to the base body and located on the symmetry line of the leg moving mechanisms.
Compared with the prior art, the invention has the beneficial effects that:
1. according to the novel rehabilitation device after the hand-foot orthopedic operation, the movement of the first telescopic motor drives the shank of the patient to move, so that the knee joint is exercised; the ankle joint of the patient is exercised through the arrangement of the foot movable plate; the motion of the second telescopic motor drives the lower arm of the patient to move, so that the elbow joint and the arm muscle are exercised; the knuckle can be exercised while exercising, and the training mode is comprehensive;
2. according to the novel rehabilitation device used after the hand-foot orthopedic operation, provided by the invention, through the arrangement of the first massage ball and the second massage ball, beating massage can be carried out on the lower leg and the forearm, so that the problems of muscular atrophy and stiff limbs are avoided.
Drawings
Fig. 1 is a schematic structural diagram of the novel rehabilitation device after the orthopedic surgery for hands and feet provided by the invention;
FIG. 2 is a schematic view of the connection relationship inside the base;
FIG. 3 is a schematic view of the inner side of the leg fixing plate;
FIG. 4 is a schematic view of the connection between the outer sides of the leg fixing plates;
FIG. 5 is a schematic view of the connection relationship of the forearm fixing plate;
fig. 6 is a cross-sectional view of the forearm fixing plate.
Description of reference numerals: 1. a base body; 2. a leg fixing plate; 3. a fixed shaft; 4. a sleeve; 5. a first telescoping motor; 6. fixing belts; 7. a connecting member; 8. a foot movable plate; 9. a compression spring; 10. a connecting rod; 11. a support pillar; 12. a small arm fixing plate; 13. a second telescoping motor; 14. a carrying case; 15. a finger mobilizer; 16. an air bag; 17. a glove; 18. an extension spring; 19. a first massage layer; 20. a first massage ball; 21. an air bag layer; 22. a second massage ball; 23. a second massage layer.
Detailed Description
The technical solutions in the embodiments of the present invention will be clearly and completely described below with reference to the drawings in the embodiments of the present invention, and it is obvious that the described embodiments are only a part of the embodiments of the present invention, and not all of the embodiments. All other embodiments, which can be derived by a person skilled in the art from the embodiments given herein without making any creative effort, shall fall within the protection scope of the present invention.
As shown in fig. 1, 2 and 3, a rehabilitation device for orthopedic operations of hands and feet comprises a base body 1, wherein a fixed shaft 3 is arranged on the base body 1, a sleeve 4 is movably sleeved on the fixed shaft 3, and a telescopic shaft of a first telescopic motor 5 and a leg fixing plate 2 are fixedly connected to the sleeve 4; first flexible motor 5 is connected with the power electricity, drives through the motion of the telescopic shaft of first flexible motor 5 sleeve 4 is in rotate on the fixed axle 3, makes the motion of shank fixed plate 2, when the patient sits on pedestal 1, the shank is put on shank fixed plate 2, by shank fixed plate 2 drives the shank motion to make the knee joint obtain taking exercise.
The leg fixing plate 2 is provided with a fixing belt 6, the tail end of the leg fixing plate 2 is fixedly provided with a connecting piece 7, the tail end of the connecting piece 7 is of a spherical structure, the connecting piece 7 is rotatably connected with a foot movable plate 8 in a fit manner of the spherical structure, the top end of the foot movable plate 8 is connected with a compression spring 9, and the tail end of the compression spring 9 is fixedly connected to the bottom end of the seat body 1; in the process of lifting the leg fixing plate 2, the foot movable plate 8 is under the pulling force of the compression spring 9, and the bottom end of the foot movable plate 8 is rotatably connected with the connecting piece 7, so that the included angle between the foot and the shank is smaller than 90 degrees, and the purpose of moving the ankle joint is achieved.
In the present embodiment, as shown in fig. 1, the leg fixing plate 2 is a retractable structure, and the leg fixing plate 2 is a retractable structure suitable for patients with different leg lengths.
In this embodiment, as shown in fig. 3, the leg fixing plate 2 is an arc-shaped structure, the inner wall of the leg fixing plate 2 is provided with a plurality of openings, a plurality of first massage balls 20 are movably arranged on the inner side of the leg fixing plate 2 through the plurality of openings, and the ends of the plurality of first massage balls 20 are connected with a first massage layer; when the lower leg is placed in the lower leg fixing plate 2, the first massage layer moves back and forth in the lower leg fixing plate 2, so that the first massage ball 20 goes in and out of the opening, and the first massage ball 20 performs knocking massage on the lower leg of the patient.
In this embodiment, as shown in fig. 4, a carrying box 14 is fixedly disposed on an outer side of the leg fixing plate 2, a third telescopic motor is fixedly disposed in the carrying box 14, a telescopic shaft of the third telescopic motor passes through an outer side wall of the leg fixing plate 2 and is fixedly connected to the first massage layer, and the leg fixing plate 2 is movably connected to a telescopic shaft of the third telescopic motor; the third motor is electrically connected with the power supply, and the first massage layer is driven to move through the third motor, so that the first massage balls 20 can perform knocking massage on the lower legs of the patient.
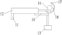
In this embodiment, as shown in fig. 1 and 5, a hand moving mechanism is further disposed on the base body 1, the hand moving mechanism includes a supporting column 11 and a forearm fixing plate 12, the supporting column 11 is disposed on the base body 1, a top end of the supporting column 11 is hinged to the forearm fixing plate 12, a telescopic connecting rod 10 is disposed at a tail end of the forearm fixing plate 12, and a telescopic shaft of a second telescopic motor 13 is connected to a tail end of the connecting rod 10; the second telescopic motor 13 is electrically connected with a power supply, the second telescopic motor 13 is started, and the connecting rod 10 and the small arm fixing plate are sequentially driven to move, so that the small arm is exercised.
In this embodiment, as shown in fig. 1 and 5, a finger movement device 15 is disposed at a distal end of the forearm fixing plate 12, the finger movement device 15 includes an air bag 16 and a glove 17, the air bag 16 is fixedly connected to the distal end of the forearm fixing plate 12, a plurality of extension springs 18 are fixedly disposed on the air bag 16, and distal ends of the plurality of springs 18 are commonly connected to the glove 17; the patient forearm is placed on forearm fixed plate 12, the hand stretches into in the gloves 17, the finger is hard, makes gasbag 16 shrink to temper finger joint, extension spring 18 has reduced the hand at the in-process that the finger tightened up with gasbag 16's area of contact can more light activity, and works as gasbag 16 is held between the fingers after flat and can continue to tighten up, increases training intensity.
In this embodiment, as shown in fig. 6, the forearm fixing plate 12 is a cylindrical structure, an air bag layer 21 is disposed between the inner wall and the outer wall of the forearm fixing plate 12, the air bag layer 21 is communicated with the air bag 16, a second massage layer 23 is fixedly disposed on the air bag layer 21, a plurality of second massage balls 22 are disposed on the second massage layer 23, and the ends of the second massage balls 22 penetrate through the inner wall of the forearm fixing plate 12; the air bag is communicated with the air bag layer 21, when a patient takes exercise to pinch the air bag by finger joints, air in the air bag is squeezed into the air bag layer 21, so that the air bag layer 21 is expanded, the second massage layer and the second massage balls 22 are sequentially driven to contact with the forearm of the patient, and the forearm of the patient is knocked and massaged.
In this embodiment, as shown in fig. 1, the shank moving mechanism with the hand moving mechanism all is provided with two, can obtain comprehensive exercise, compression spring 9 rigid coupling is in just be located two on the pedestal 1 on the symmetry line of shank moving mechanism shank fixed plate 2 is at the in-process of motion, not only makes the contained angle between patient's foot and the shank be less than 90, still can under compression spring 9's the pulling force, make patient's tiptoe surpass the inboard rotation of foot, make patient's ankle joint obtain many-sided exercise.
The working principle is as follows: during the use, the first flexible motor 5 of telling is connected to the electricity, through the motion drive of the telescopic shaft of first flexible motor 5 sleeve 4 is in rotate on the fixed axle 3, make the motion of shank fixed plate 2, when the patient sits on pedestal 1, the shank is put on shank fixed plate 2, by shank fixed plate 2 drives the shank motion to make the knee joint obtain taking exercise the in-process that shank fixed plate 2 was lifted, foot fly leaf 8 receives compression spring 9's pulling force, just foot fly leaf 8 the bottom with connecting piece 7 rotatable coupling makes the contained angle between foot and the shank be less than 90, thereby reaches the purpose of activity ankle joint.
Although the present invention has been described in detail with reference to the foregoing embodiments, it will be apparent to those skilled in the art that various changes in the embodiments and modifications of the embodiments or portions thereof may be made, and any changes, substitutions, improvements and the like made within the spirit and principle of the present invention should be included in the scope of the present invention.
Claims (8)
1. A rehabilitation device for orthopedic surgical operation of hands and feet comprises a base body (1), and is characterized in that a fixed shaft (3) is arranged on the base body (1), a sleeve (4) is movably sleeved on the fixed shaft (3), and a telescopic shaft of a first telescopic motor (5) and a leg fixing plate (2) are fixedly connected to the sleeve (4);
be equipped with fixed band (6) on shank fixed plate (2), just the end of shank fixed plate (2) has set firmly connecting piece (7), the end of connecting piece (7) is the ball-type structure, agree with on connecting piece (7) ball-type structure rotatable coupling has foot fly leaf (8), the top of foot fly leaf (8) is connected with compression spring (9), the terminal rigid coupling of compression spring (9) is in the bottom of pedestal (1).
2. The rehabilitation device after extremity orthopedic surgery according to claim 1, characterized in that the leg fixing plate (2) is of a telescopic structure.
3. The rehabilitation device for the orthopedic surgery on hands and feet, according to claim 1, is characterized in that the leg fixing plate (2) is of an arc structure, a plurality of openings are formed in the inner wall of the leg fixing plate (2), a plurality of first massage balls (20) are movably arranged on the inner side of the leg fixing plate (2) through the plurality of openings, and the tail ends of the plurality of first massage balls (20) are connected with a first massage layer.
4. The rehabilitation device after extremity orthopedic surgery according to claim 3, characterized in that the outer side of the leg fixing plate (2) is fixedly provided with a carrying box (14), a third telescopic motor is fixedly arranged in the carrying box (14), a telescopic shaft of the third telescopic motor penetrates through the outer side wall of the leg fixing plate (2) to be fixedly connected with the first massage layer, and the leg fixing plate (2) is movably connected to a telescopic shaft of the third telescopic motor.
5. The rehabilitation device for the orthopedic surgery on hands and feet, according to claim 1, is characterized in that a hand moving mechanism is further arranged on the base body (1), the hand moving mechanism comprises a supporting column (11) and a forearm fixing plate (12), the supporting column (11) is arranged on the base body (1), the top end of the supporting column (11) is hinged to the forearm fixing plate (12), a telescopic connecting rod (10) is arranged at the tail end of the forearm fixing plate (12), and the tail end of the connecting rod (10) is connected with a second telescopic motor (13).
6. The rehabilitation device after extremity orthopedic surgery according to claim 5, characterized in that the end of the forearm fixing plate (12) is provided with a finger mobilizer (15), the finger mobilizer (15) comprises an air bag (16) and a glove (17), the air bag (16) is fixedly connected to the end of the forearm fixing plate (12), the air bag (16) is fixedly provided with a plurality of extension springs (18), and the ends of the springs (18) are commonly connected with the glove (17).
7. The rehabilitation device after extremity orthopedic surgery according to claim 6, characterized in that the forearm fixing plate (12) is of a cylindrical structure, an air bag layer (21) is arranged between the inner wall and the outer wall of the forearm fixing plate (12), the air bag layer (21) is communicated with the air bag (16), a second massage layer (23) is fixedly arranged on the air bag layer (21), a plurality of second massage balls (22) are arranged on the second massage layer (23), and the tail ends of the second massage balls (22) penetrate through the inner wall of the forearm fixing plate (12).
8. The rehabilitation device after extremity orthopedic surgery according to claim 7, characterized in that there are two leg moving mechanisms and two hand moving mechanisms, and the compression spring (9) is fixedly connected to the seat body (1) and located on the symmetry line of the two leg moving mechanisms.
Priority Applications (1)
| Application Number | Priority Date | Filing Date | Title |
|---|---|---|---|
| CN202210023227.2A CN114177007A (en) | 2022-01-10 | 2022-01-10 | Recovery device after orthopedic surgery of hands and feet |
Applications Claiming Priority (1)
| Application Number | Priority Date | Filing Date | Title |
|---|---|---|---|
| CN202210023227.2A CN114177007A (en) | 2022-01-10 | 2022-01-10 | Recovery device after orthopedic surgery of hands and feet |
Publications (1)
| Publication Number | Publication Date |
|---|---|
| CN114177007A true CN114177007A (en) | 2022-03-15 |
Family
ID=80606723
Family Applications (1)
| Application Number | Title | Priority Date | Filing Date |
|---|---|---|---|
| CN202210023227.2A Withdrawn CN114177007A (en) | 2022-01-10 | 2022-01-10 | Recovery device after orthopedic surgery of hands and feet |
Country Status (1)
| Country | Link |
|---|---|
| CN (1) | CN114177007A (en) |
Cited By (1)
| Publication number | Priority date | Publication date | Assignee | Title |
|---|---|---|---|---|
| CN116763603A (en) * | 2023-08-21 | 2023-09-19 | 南通市康复医院(南通市第二人民医院) | An ankle training and care device for adult patients in the rehabilitation department |
-
2022
- 2022-01-10 CN CN202210023227.2A patent/CN114177007A/en not_active Withdrawn
Cited By (1)
| Publication number | Priority date | Publication date | Assignee | Title |
|---|---|---|---|---|
| CN116763603A (en) * | 2023-08-21 | 2023-09-19 | 南通市康复医院(南通市第二人民医院) | An ankle training and care device for adult patients in the rehabilitation department |
Similar Documents
| Publication | Publication Date | Title |
|---|---|---|
| CN106580629B (en) | Horizontal cervical vertebra parting rehabilitation therapy machine | |
| CN208989573U (en) | A three-degree-of-freedom ankle joint assisted rehabilitation device | |
| JPH1170148A (en) | Rehabilitation system for paralized leg | |
| CN213098963U (en) | Lower limb active stretching knee and hip joint exercise device | |
| CN113244087B (en) | Old patient's shank trainer | |
| CN114733145B (en) | Intelligent multifunctional lower limb rehabilitation training integrated machine | |
| CN109663282A (en) | Waist abdomen diaphragm thorax sports machine | |
| CN114177007A (en) | Recovery device after orthopedic surgery of hands and feet | |
| CN109998865A (en) | A kind of limbs restoring training apparatus tool arm | |
| CN114870356A (en) | Finger recovery training device for rheumatoid arthritis | |
| CN109529262A (en) | A kind of sports medical science or rehabilitation science hemiplegia fitness equipment | |
| CN211327982U (en) | Severe branch of academic or vocational study is with physical stamina rehabilitation device | |
| CN111568704A (en) | Lower limb rehabilitation exoskeleton based on rope drive | |
| CN213100650U (en) | Rheumatism arthritis motion rehabilitation device | |
| CN2180296Y (en) | Hand exerciser | |
| CN115624712A (en) | Neural rehabilitation training device | |
| CN114949746A (en) | A limb rehabilitation device for clinical nursing | |
| CN107898597A (en) | A kind of healing robot | |
| CN221866493U (en) | A multi-purpose upper limb rehabilitation exoskeleton | |
| CN207769095U (en) | A kind of convalescence device for the training of knee articulation degree | |
| CN112603765A (en) | Leg exercise auxiliary instrument based on biomechanics | |
| CN208048973U (en) | A kind of healing robot | |
| CN208591273U (en) | Portable hand type lower limb exercise convalescence device | |
| CN114533494B (en) | A visual interactive rehabilitation training system for hemiplegic patients | |
| CN220142081U (en) | Elbow joint exercising apparatus |
Legal Events
| Date | Code | Title | Description |
|---|---|---|---|
| PB01 | Publication | ||
| PB01 | Publication | ||
| SE01 | Entry into force of request for substantive examination | ||
| SE01 | Entry into force of request for substantive examination | ||
| WW01 | Invention patent application withdrawn after publication |
Application publication date: 20220315 |
|
| WW01 | Invention patent application withdrawn after publication |