CN114158338B - 一种大葱收获机自动集葱放铺机构 - Google Patents
一种大葱收获机自动集葱放铺机构 Download PDFInfo
- Publication number
- CN114158338B CN114158338B CN202111498098.4A CN202111498098A CN114158338B CN 114158338 B CN114158338 B CN 114158338B CN 202111498098 A CN202111498098 A CN 202111498098A CN 114158338 B CN114158338 B CN 114158338B
- Authority
- CN
- China
- Prior art keywords
- shaft
- fixed
- tray
- supporting plate
- rocker
- Prior art date
- Legal status (The legal status is an assumption and is not a legal conclusion. Google has not performed a legal analysis and makes no representation as to the accuracy of the status listed.)
- Active
Links
- 235000002732 Allium cepa var. cepa Nutrition 0.000 title claims description 36
- 241000234282 Allium Species 0.000 title claims 3
- 239000010720 hydraulic oil Substances 0.000 claims abstract description 10
- 244000295724 Allium chinense Species 0.000 claims abstract 18
- 235000016790 Allium chinense Nutrition 0.000 claims abstract 18
- 244000126211 Hericium coralloides Species 0.000 claims description 11
- 229910000831 Steel Inorganic materials 0.000 claims description 11
- 239000010959 steel Substances 0.000 claims description 11
- 238000005452 bending Methods 0.000 claims description 5
- 230000005540 biological transmission Effects 0.000 claims description 4
- 230000002093 peripheral effect Effects 0.000 claims description 2
- 244000291564 Allium cepa Species 0.000 abstract description 52
- 238000003306 harvesting Methods 0.000 abstract description 16
- 230000006378 damage Effects 0.000 abstract description 2
- 208000027418 Wounds and injury Diseases 0.000 abstract 1
- 208000014674 injury Diseases 0.000 abstract 1
- 238000010586 diagram Methods 0.000 description 13
- 230000009286 beneficial effect Effects 0.000 description 4
- 238000005516 engineering process Methods 0.000 description 3
- 239000002689 soil Substances 0.000 description 3
- 235000010167 Allium cepa var aggregatum Nutrition 0.000 description 2
- 238000009825 accumulation Methods 0.000 description 2
- 238000000034 method Methods 0.000 description 2
- 239000003921 oil Substances 0.000 description 2
- 241001124569 Lycaenidae Species 0.000 description 1
- 235000013409 condiments Nutrition 0.000 description 1
- 238000009434 installation Methods 0.000 description 1
- 238000012986 modification Methods 0.000 description 1
- 230000004048 modification Effects 0.000 description 1
- 235000013311 vegetables Nutrition 0.000 description 1
Images
Classifications
-
- A—HUMAN NECESSITIES
- A01—AGRICULTURE; FORESTRY; ANIMAL HUSBANDRY; HUNTING; TRAPPING; FISHING
- A01D—HARVESTING; MOWING
- A01D13/00—Diggers, e.g. potato ploughs
-
- A—HUMAN NECESSITIES
- A01—AGRICULTURE; FORESTRY; ANIMAL HUSBANDRY; HUNTING; TRAPPING; FISHING
- A01D—HARVESTING; MOWING
- A01D33/00—Accessories for digging harvesters
Landscapes
- Life Sciences & Earth Sciences (AREA)
- Environmental Sciences (AREA)
- Harvesting Machines For Root Crops (AREA)
Abstract
本发明涉及一种大葱收获机自动集葱放铺机构,包括:支撑架、输送带总成、液压油缸、挡板、托盘轴总成、托盘总成、两个从动摇杆及梳齿架,本发明挡板和托板组成的V型收集区和多个梳齿顶面组成的平面暂存区可以交错收集大葱,二者在双摇杆机构的带动下,可以无缝衔接收集和放铺操作,方便下一步捆扎或者装箱工作,有效解决了大葱机械化收获过程中,人工堆积、整理大葱劳动强度大、效率低、作业不连续和使用收集箱堆积杂乱及伤葱等问题,提高了大葱的收获效率、保证了大葱收获质量,提高了大葱收获的连续性。
Description
技术领域
本发明涉及农林机械技术领域,特别涉及一种大葱收获机自动集葱放铺机构。
背景技术
大葱在我国有悠久的栽培历史,主要分布在我国西北、东北和华北等地区,是重要的食用和药用蔬菜及调味品。当前,我国大葱种植面积超过800万亩,其已成为我国重要的内销及出口创汇经济作物之一,发展前景广阔。目前,我国大葱主要采用高培土的种植模式,收获难度较大,大葱的收获普遍采用人工或者半机械化作业,联合大葱收获机的收获技术还不够成熟,收获效率和稳定性较低。
当前,大葱的机械化放铺收集技术还不够成熟,现有较成熟的大葱收获机具在收获时主要采用挖掘铲将大葱底部土壤分离,再人工完成大葱拔出抖土、整理堆积和打捆作业,收集效率低、劳动强度大、收获连续性差。
因此,如何提供一种收集效率高、收获连接性强的大葱收获自动集葱放铺机构是本领域技术人员亟需解决的技术问题。
发明内容
本发明提供一种大葱收获机自动集葱放铺机构,解决现有大葱收获机集葱放铺机构收集效率低、劳动强度大且收获连续性差的技术问题。
本发明解决上述技术问题的技术方案如下:一种大葱收获机自动集葱放铺机构,包括:支撑架、输送带总成、液压油缸、挡板、托盘轴总成、托盘总成、两个从动摇杆及梳齿架,
输送带总成安装在支撑架的顶部;液压油缸铰接在支撑架底部;挡板位于输送带总成输送方向输出端下方且固定在支撑架上,其顶边对应输出端开设有多个与输送带总成输送方向一致的长槽孔,长槽孔的长度方向端部贯穿挡板的顶边;
托盘轴总成包括托盘轴和托盘轴摇杆,托盘轴转动连接在支撑架对应输送带总成输送方向一侧;托盘轴摇杆的一端与液压油缸的活塞杆固定,另一端与托盘轴固定;
托盘总成包括托板和托盘摇杆,托板与挡板呈角度布置且固定在托盘轴上;托盘摇杆的一端与托板靠近挡板的一侧固定;
梳齿架包括横轴、多个梳齿和梳齿连杆,两个从动摇杆的一端转动连接在支撑架对应输送带总成输送方向一侧;横轴与托盘轴平行且其两端分别铰接在两个从动摇杆的另一端;梳齿连杆的一端固定在横轴上,另一端铰接在托盘摇杆的另一端;多个梳齿一端均固定在横轴上,另一端可一一伸出或者缩回多个长槽孔。
其中挡板和托板可构成V型收集区;多个梳齿的顶面可构成平面暂存区;从动摇杆、托盘轴摇杆以及梳齿连杆组成双摇杆机构。
本发明的有益效果是:通过将从动摇杆、托盘轴摇杆和梳齿连杆设计成双摇杆机构,挡板和托板组成的V型收集区和多个梳齿顶面组成的平面暂存区可以在双摇杆机构的带动下交错收集大葱,从而省略收集和放铺之间的停车操作,方便下一步捆扎或者装箱工作,有效解决了大葱机械化收获过程中,人工堆积、整理大葱劳动强度大、效率低、作业不连续和使用收集箱堆积杂乱及伤葱等问题,提高了大葱的收获效率、保证了大葱收获质量,提高了大葱收获的连续性。
自动集葱放铺机构工作原理说明:夹持输送机构(公知技术)输送来的大葱掉落到输送带总成后,经继续运输落到后方的托板与挡板组成的V型收集区域内,待V型收集区域内大葱堆积满时,液压油缸伸开,托盘轴摇杆随之转动,并带动托盘轴转动,托板向下倾斜,同时托盘摇杆拉动梳齿连杆,梳齿连杆拉动横轴,横轴与多个梳齿联动,多个梳齿从长槽孔伸出,其组成的平面暂存区暂时收集输送带运输来的大葱,堆积好的大葱被成堆卸载放铺于地上;放铺完成,液压油缸收回,梳齿缩回、托板拉起,留在梳齿架上的大葱掉落到V型收集区域,继续收集堆积与卸载放铺过程。
在上述技术方案的基础上,本发明还可以做如下改进。
进一步,支撑架包括两个结构相同且平行布置的支撑框、两个相对布置的轴套a、两个相对布置的轴套b、连接支撑柱及连接轴头一,支撑框包括前立柱、后立柱、上横柱及下横柱,前立柱与后立柱均竖直布置;上横柱的两端分别垂直固定在前立柱顶端和后立柱顶端;下横柱的两端分别垂直固定在前立柱底端和后立柱底端;挡板固定在两个后立柱上;两个轴套a贯穿且垂直固定在两个后立柱上;托盘轴的两端转动连接在两个轴套a上且其一端穿过轴套a与托盘轴摇杆的另一端固定;两个轴套b对应两个轴套a的上方贯穿且垂直固定在两个后立柱上;两个从动摇杆的一端转动连接在两个轴套b上;连接支撑柱的两端分别固定两个上横柱上;连接轴头一固定在下横柱上且与液压油缸铰接。
采用上述进一步的有益效果是:轴套a和轴套b可以便于托盘轴和横轴的转动,进而减少托盘轴与横轴的转动磨损。
进一步,托板对应挡板远离支撑架的一侧底面固定有连接轴套,托盘轴穿固在连接轴套内。
进一步,输送带总成包括多个连接板、输送架、电机、大链轮、小链轮、链条、主动辊筒、从动辊筒及输送带,多个连接板垂直固定在两个上横柱上;输送架水平固定在多个连接板上;主动辊筒和从动辊筒均垂直输送架的前后端方向布置且分别转动连接在输送架的前端和后端;输送带包覆在主动辊筒和从动辊筒的外周侧且分别与主动辊筒和从动辊筒传动连接;小链轮与主动辊筒键连接;小链轮通过链条与大链轮传动连接;电机固定在输送架上且其输出轴与大链轮键连接。
进一步,多个连接板的板面上自上而下依次设有多个连接孔,多个连接板均通过连接孔与输送架固定连接。
采用上述进一步的有益效果是:连接孔为多个且高度不同,输送架的安装高度可以进行调整。
进一步,托盘轴总成还包括液压油缸支耳,液压油缸支耳的一端与托盘轴摇杆的一端固定,另一端与液压油缸的活塞杆固定。
进一步,还包括摇杆轴套,托板包括第一托板和第二托板,第一托板位于支撑架的后侧且其板平面与挡板的板平面呈角度布置,其底面固定有连接轴套;托盘摇杆的一端呈钝角固定在第一托板靠近支撑架的一边沿;摇杆轴套垂直固定在托盘摇杆的另一端;第二托板与第一托板平行布置且靠近支撑架的一边沿与第一托板远离支撑架的一边沿铰接。
进一步,第一托板远离支撑架边沿的两侧垂直固定有限位柱;第二托板远离支撑架边沿的两侧固定连接有连接柱;两个限位柱与两个连接柱铰接。
进一步,梳齿架还包括连接梁和连接轴头二,多个梳齿均为折弯圆钢,多个折弯圆钢的中间为90°折弯,其远离横轴的一端为60°折弯,且二者折弯方向相同;连接梁与横轴平行布置且均固定在多个弯折圆钢的中间弯折处;连接轴头二垂直固定在梳齿连杆上且与摇杆轴套铰接。
采用上述进一步的有益效果是:连接梁可以增加多个梳齿的连接强度,避免多个梳齿出现弯曲变形情况。
附图说明
图1为本发明一种大葱收获机自动集葱放铺机构立体结构示意图;
图2为本发明一种大葱收获机自动集葱放铺机构中挡板、托盘总成、托盘轴总成和从动摇杆结构示意图;
图3为本发明一种大葱收获机自动集葱放铺机构正视结构示意图;
图4为图3A-A方向中油缸伸开结构示意图;
图5为图3A-A方向中油缸收缩结构示意图;
图6为本发明一种大葱收获机自动集葱放铺机构中输送带总成结构示意图;
图7为本发明一种大葱收获机自动集葱放铺机构中输送带内部结构示意图;
图8为本发明一种大葱收获机自动集葱放铺机构中支撑架结构示意图;
图9为本发明一种大葱收获机自动集葱放铺机构中托盘轴总成结构示意图;
图10为本发明一种大葱收获机自动集葱放铺机构中梳齿架结构示意图;
图11为本发明一种大葱收获机自动集葱放铺机构中第一托板正视结构示意图;
图12为本发明一种大葱收获机自动集葱放铺机构中第一托板俯视结构示意图;
图13为本发明一种大葱收获机自动集葱放铺机构中第二托板俯视结构示意图。
附图中,各标号所代表的部件列表如下:
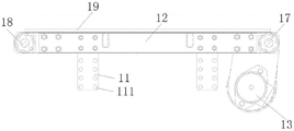
1、输送带总成,11、连接板,111、连接孔,12、输送架,13、电机,14、大链轮,15、小链轮,16、链条,17、主动辊筒,18、从动辊筒,19、输送带,
2、支撑架,21、前立柱,22、后立柱,23、上横柱,24、下横柱,25、轴套a,26、轴套b,27、连接支撑柱,28、连接轴头一,
3、液压油缸,
4、挡板,41、长槽孔,
5、托盘总成,51、托板,511、第一托板,5111、限位柱,512、第二托板,5121、连接柱,52、托盘摇杆,53、连接轴套,54、摇杆轴套,
6、托盘轴总成,61、托盘轴,62、托盘轴摇杆,63、液压油缸支耳,
7、从动摇杆,
8、梳齿架,81、横轴,82、梳齿,83、梳齿连杆,84、连接梁,85、连接轴头二。
具体实施方式
以下结合附图对本发明的原理和特征进行描述,所举实例只用于解释本发明,并非用于限定本发明的范围。
如图1和如图2所示,一种大葱收获机自动集葱放铺机构,包括:支撑架2、输送带总成1、液压油缸3、挡板4、托盘轴总成6、托盘总成5、两个从动摇杆7及梳齿架8,
输送带总成1安装在支撑架2的顶部;液压油缸3铰接在支撑架2底部;挡板4位于输送带总成1输送方向输出端下方且固定在支撑架2上,其顶边对应输出端开设有多个与输送带总成1输送方向一致的长槽孔41;
托盘轴总成6包括托盘轴61和托盘轴摇杆62,托盘轴61转动连接在支撑架2对应输送带总成1输送方向一侧;托盘轴摇杆62的一端与液压油缸的活塞杆固定,另一端与托盘轴61固定;
托盘总成5包括托板51和托盘摇杆52,托板51与挡板4呈角度布置且固定在托盘轴61上;托盘摇杆52的一端与托板51靠近挡板4的一侧固定;
梳齿架8包括横轴81、多个梳齿82和梳齿连杆83,两个从动摇杆7的一端转动连接在支撑架2对应输送带总成1输送方向一侧;横轴81与托盘轴61平行且其两端分别铰接在两个从动摇杆7的另一端;梳齿连杆83的一端固定在横轴81上,另一端铰接在托盘摇杆52的另一端;多个梳齿82一端均固定在横轴81上,另一端可一一伸出或者缩回多个长槽孔41。
如图8所示,在一些具体实施例中,支撑架2可以包括两个结构相同且平行布置的支撑框、两个相对布置的轴套a25、两个相对布置的轴套b26、连接支撑柱27及连接轴头一28,支撑框包括前立柱21、后立柱22、上横柱23及下横柱24,前立柱21与后立柱22均竖直布置;上横柱23的两端分别垂直固定在前立柱21顶端和后立柱22顶端;下横柱24的两端分别垂直固定在前立柱21底端和后立柱22底端;挡板4固定在两个后立柱22上;两个轴套a25贯穿且垂直固定在两个后立柱22上;托盘轴61的两端转动连接在两个轴套a25上且其一端穿过轴套a25与托盘轴摇杆62的另一端固定;两个轴套b26对应两个轴套a25的上方贯穿且垂直固定在两个后立柱22上;两个从动摇杆7的一端转动连接在两个轴套b26上;连接支撑柱27的两端分别固定两个上横柱23上;连接轴头一28固定在下横柱24上且与液压油缸3铰接。
如图11所示,在一些具体实施例中,托板51对应挡板4远离支撑架2的一侧底面可以固定有连接轴套53,托盘轴61穿固在连接轴套53内。
如图7所示,在一些具体实施例中,输送带总成1可以包括多个连接板11、输送架12、电机13、大链轮14、小链轮15、链条16、主动辊筒17、从动辊筒18及输送带19,多个连接板11垂直固定在两个上横柱23上;输送架12水平固定在多个连接板11的上;主动辊筒17和从动辊筒18均垂直输送架12的前后端方向布置且分别转动连接在输送架12的前端和后端;输送带19包覆在主动辊筒17和从动辊筒18的外周侧且分别与主动辊筒17和从动辊筒18传动连接;小链轮15与主动辊筒17键连接;小链轮15通过链条16与大链轮14传动连接;电机13固定在输送架12上且其输出轴与大链轮14键连接。
如图7所示,在一些具体实施例中,多个连接板11的板面上自上而下依次可以设有多个连接孔111,多个连接板11均通过连接孔111与输送架12固定连接。
如图9所示,在一些具体实施例中,托盘轴总成6还可以包括液压油缸支耳63,液压油缸支耳63的一端与托盘轴摇杆62的一端固定,另一端与液压油缸3的活塞杆固定。
如图11、图12和图13所示,在一些具体实施例中,还可以包括摇杆轴套54,托板51包括第一托板511和第二托板512,第一托板511位于支撑架2的后侧且其板平面与挡板4的板平面呈角度布置,其底面固定有连接轴套53;托盘摇杆52的一端呈钝角固定在第一托板511靠近支撑架2的一边沿;摇杆轴套54垂直固定在托盘摇杆52的另一端;第二托板512与第一托板511平行布置且靠近支撑架2的一边沿与第一托板511远离支撑架2的一边沿铰接。
如图12和图13所示,在一些具体实施例中,第一托板511远离支撑架2边沿的两侧可以垂直固定有限位柱5111;第二托板512远离支撑架2边沿的两侧固定连接有连接柱5121;两个限位柱5111与两个连接柱5121铰接。
如图10所示,在一些具体实施例中,梳齿架8还可以包括连接梁84和连接轴头二85,多个梳齿82均为折弯圆钢,多个折弯圆钢的中间为90°折弯,其远离横轴81的一端为60°折弯,且二者折弯方向相同;连接梁84与横轴81平行布置且均固定在多个弯折圆钢的中间弯折处;连接轴头二85垂直固定在梳齿连杆83上且与摇杆轴套54铰接。
以上仅为本发明的较佳实施例,并不用以限制本发明,凡在本发明的精神和原则之内,所作的任何修改、等同替换、改进等,均应包含在本发明的保护范围之内。
Claims (9)
1.一种大葱收获机自动集葱放铺机构,其特征在于,包括:支撑架(2)、输送带总成(1)、液压油缸(3)、挡板(4)、托盘轴总成(6)、托盘总成(5)、两个从动摇杆(7)及梳齿架(8),
所述输送带总成(1)安装在所述支撑架(2)的顶部;所述液压油缸(3)铰接在所述支撑架(2)底部;所述挡板(4)位于所述输送带总成(1)输送方向输出端下方且固定在所述支撑架(2)上,其顶边对应输出端开设有多个与所述输送带总成(1)输送方向一致的长槽孔(41);
所述托盘轴总成(6)包括托盘轴(61)和托盘轴摇杆(62),所述托盘轴(61)转动连接在所述支撑架(2)对应所述输送带总成(1)输送方向一侧;所述托盘轴摇杆(62)的一端与所述液压油缸(3)的活塞杆固定,另一端与所述托盘轴(61)固定;
所述托盘总成(5)包括托板(51)和托盘摇杆(52),所述托板(51)与所述挡板(4)呈角度布置且固定在所述托盘轴(61)上;所述托盘摇杆(52)的一端与所述托板(51)靠近所述挡板(4)的一侧固定;
所述梳齿架(8)包括横轴(81)、多个梳齿(82)和梳齿连杆(83),两个所述从动摇杆(7)的一端转动连接在所述支撑架(2)对应所述输送带总成(1)输送方向一侧;所述横轴(81)与所述托盘轴(61)平行且其两端分别铰接在两个所述从动摇杆(7)的另一端;所述梳齿连杆(83)的一端固定在所述横轴(81)上,另一端铰接在所述托盘摇杆(52)的另一端;多个所述梳齿(82)一端均固定在所述横轴(81)上,另一端可一一伸出或者缩回多个所述长槽孔(41)。
2.根据权利要求1所述的一种大葱收获机自动集葱放铺机构,其特征在于,所述支撑架(2)包括两个结构相同且平行布置的支撑框、两个相对布置的轴套a(25)、两个相对布置的轴套b(26)、连接支撑柱(27)及连接轴头一(28),所述支撑框包括前立柱(21)、所述后立柱(22)、上横柱(23)及下横柱(24),所述前立柱(21)与所述后立柱(22)均竖直布置;所述上横柱(23)的两端分别垂直固定在所述前立柱(21)顶端和所述后立柱(22)顶端;所述下横柱(24)的两端分别垂直固定在所述前立柱(21)底端和所述后立柱(22)底端;所述挡板(4)固定在两个所述后立柱(22)上;两个所述轴套a(25)贯穿且垂直固定在两个所述后立柱(22)上;所述托盘轴(61)的两端转动连接在两个所述轴套a(25)上且其一端穿过所述轴套a(25)与所述托盘轴摇杆(62)的另一端固定;两个所述轴套b(26)对应两个所述轴套a(25)的上方贯穿且垂直固定在两个所述后立柱(22)上;两个所述从动摇杆(7)的一端转动连接在两个所述轴套b(26)上;所述连接支撑柱(27)的两端分别固定两个所述上横柱(23)上;所述连接轴头一(28)固定在所述下横柱(24)上且与所述液压油缸(3)铰接。
3.根据权利要求1所述的一种大葱收获机自动集葱放铺机构,其特征在于,所述托板(51)对应挡板(4)远离所述支撑架(2)的一侧底面固定有连接轴套(53),所述托盘轴(61)穿固在所述连接轴套(53)内。
4.根据权利要求1所述的一种大葱收获机自动集葱放铺机构,其特征在于,所述输送带总成(1)包括多个连接板(11)、输送架(12)、电机(13)、大链轮(14)、小链轮(15)、链条(16)、主动辊筒(17)、从动辊筒(18)及输送带(19),多个所述连接板(11)垂直固定在两个所述上横柱(23)上;所述输送架(12)水平固定在多个所述连接板(11)之上;所述主动辊筒(17)和所述从动辊筒(18)均垂直所述输送架(12)的前后端方向布置且分别转动连接在所述输送架(12)的前端和后端;所述输送带(19)包覆在所述主动辊筒(17)和所述从动辊筒(18)的外周侧且分别与所述主动辊筒(17)和所述从动辊筒(18)传动连接;所述小链轮(15)与所述主动辊筒(17)键连接;所述小链轮(15)通过所述链条(16)与所述大链轮(14)传动连接;所述电机(13)固定在所述输送架(12)上且其输出轴与所述大链轮(14)键连接。
5.根据权利要求4所述的一种大葱收获机自动集葱放铺机构,其特征在于,多个所述连接板(11)的板面上自上而下依次设有多个连接孔(111),多个所述连接板(11)均通过所述连接孔(111)与所述输送架(12)固定连接。
6.根据权利要求1所述的一种大葱收获机自动集葱放铺机构,其特征在于,所述托盘轴总成(6)还包括液压油缸支耳(63),所述液压油缸支耳(63)的一端与所述托盘轴摇杆(62)的一端固定,另一端与所述液压油缸(3)的活塞杆固定。
7.根据权利要求1所述的一种大葱收获机自动集葱放铺机构,其特征在于,还包括摇杆轴套(54),所述托板(51)包括第一托板(511)和第二托板(512),所述第一托板(511)位于所述支撑架(2)的后侧且其板平面与所述挡板(4)的板平面呈角度布置,其底面固定有连接轴套(53);所述托盘摇杆(52)的一端呈钝角固定在所述第一托板(511)靠近所述支撑架(2)的一边沿;所述摇杆轴套(54)垂直固定在所述托盘摇杆(52)的另一端;所述第二托板(512)与所述第一托板(511)平行布置且靠近所述支撑架(2)的一边沿与所述第一托板(511)远离所述支撑架(2)的一边沿铰接。
8.根据权利要求7所述的一种大葱收获机自动集葱放铺机构,其特征在于,所述第一托板(511)远离所述支撑架(2)边沿的两侧垂直固定有限位柱(5111);所述第二托板(512)远离所述支撑架(2)边沿的两侧固定连接有连接柱(5121);两个所述限位柱(5111)与两个所述连接柱(5121)铰接。
9.根据权利要求7所述的一种大葱收获机自动集葱放铺机构,其特征在于,所述梳齿架(8)还包括连接梁(84)和连接轴头二(85),多个所述梳齿(82)均为折弯圆钢,多个所述折弯圆钢的中间为90°折弯,其远离所述横轴(81)的一端为60°折弯,且二者折弯方向相同;所述连接梁(84)与所述横轴(81)平行布置且均固定在多个所述弯折圆钢的中间弯折处;所述连接轴头二(85)垂直固定在所述梳齿连杆(83)上且与所述摇杆轴套(54)铰接。
Priority Applications (1)
| Application Number | Priority Date | Filing Date | Title |
|---|---|---|---|
| CN202111498098.4A CN114158338B (zh) | 2021-12-09 | 2021-12-09 | 一种大葱收获机自动集葱放铺机构 |
Applications Claiming Priority (1)
| Application Number | Priority Date | Filing Date | Title |
|---|---|---|---|
| CN202111498098.4A CN114158338B (zh) | 2021-12-09 | 2021-12-09 | 一种大葱收获机自动集葱放铺机构 |
Publications (2)
| Publication Number | Publication Date |
|---|---|
| CN114158338A CN114158338A (zh) | 2022-03-11 |
| CN114158338B true CN114158338B (zh) | 2023-01-13 |
Family
ID=80484863
Family Applications (1)
| Application Number | Title | Priority Date | Filing Date |
|---|---|---|---|
| CN202111498098.4A Active CN114158338B (zh) | 2021-12-09 | 2021-12-09 | 一种大葱收获机自动集葱放铺机构 |
Country Status (1)
| Country | Link |
|---|---|
| CN (1) | CN114158338B (zh) |
Families Citing this family (1)
| Publication number | Priority date | Publication date | Assignee | Title |
|---|---|---|---|---|
| CN118083525B (zh) * | 2024-04-26 | 2024-06-28 | 山西永泰塑料有限公司 | 一种拉丝机上料装置 |
Citations (10)
| Publication number | Priority date | Publication date | Assignee | Title |
|---|---|---|---|---|
| CN206078087U (zh) * | 2016-06-05 | 2017-04-12 | 赵伟 | 根茎农作物收获机 |
| CN107094413A (zh) * | 2017-03-30 | 2017-08-29 | 青岛农业大学 | 大葱联合收获机 |
| CN206624091U (zh) * | 2017-04-17 | 2017-11-10 | 青岛理工大学 | 一种大葱定量打捆去叶收集装置 |
| CN107792421A (zh) * | 2017-10-31 | 2018-03-13 | 青岛农业大学 | 大葱集放装置 |
| CN109168551A (zh) * | 2018-11-23 | 2019-01-11 | 农业部南京农业机械化研究所 | 一种洋葱、大蒜类作物切茎去根须装备 |
| CN109601102A (zh) * | 2019-02-14 | 2019-04-12 | 张毅 | 一种自走式大葱收获打捆一体机及其使用方法 |
| CN109997492A (zh) * | 2019-04-29 | 2019-07-12 | 青岛理工大学 | 一种双行自走式大葱联合收获机及收获方法 |
| CN211282666U (zh) * | 2019-12-20 | 2020-08-18 | 苏州德斯米尔智能科技有限公司 | 一种带式输送设备自动化控制装置 |
| JP2020167985A (ja) * | 2019-04-05 | 2020-10-15 | 井関農機株式会社 | 作業車両 |
| CN112298707A (zh) * | 2020-10-21 | 2021-02-02 | 勇猛机械股份有限公司 | 一种马铃薯捡拾机上的自卸料装置 |
-
2021
- 2021-12-09 CN CN202111498098.4A patent/CN114158338B/zh active Active
Patent Citations (10)
| Publication number | Priority date | Publication date | Assignee | Title |
|---|---|---|---|---|
| CN206078087U (zh) * | 2016-06-05 | 2017-04-12 | 赵伟 | 根茎农作物收获机 |
| CN107094413A (zh) * | 2017-03-30 | 2017-08-29 | 青岛农业大学 | 大葱联合收获机 |
| CN206624091U (zh) * | 2017-04-17 | 2017-11-10 | 青岛理工大学 | 一种大葱定量打捆去叶收集装置 |
| CN107792421A (zh) * | 2017-10-31 | 2018-03-13 | 青岛农业大学 | 大葱集放装置 |
| CN109168551A (zh) * | 2018-11-23 | 2019-01-11 | 农业部南京农业机械化研究所 | 一种洋葱、大蒜类作物切茎去根须装备 |
| CN109601102A (zh) * | 2019-02-14 | 2019-04-12 | 张毅 | 一种自走式大葱收获打捆一体机及其使用方法 |
| JP2020167985A (ja) * | 2019-04-05 | 2020-10-15 | 井関農機株式会社 | 作業車両 |
| CN109997492A (zh) * | 2019-04-29 | 2019-07-12 | 青岛理工大学 | 一种双行自走式大葱联合收获机及收获方法 |
| CN211282666U (zh) * | 2019-12-20 | 2020-08-18 | 苏州德斯米尔智能科技有限公司 | 一种带式输送设备自动化控制装置 |
| CN112298707A (zh) * | 2020-10-21 | 2021-02-02 | 勇猛机械股份有限公司 | 一种马铃薯捡拾机上的自卸料装置 |
Also Published As
| Publication number | Publication date |
|---|---|
| CN114158338A (zh) | 2022-03-11 |
Similar Documents
| Publication | Publication Date | Title |
|---|---|---|
| CN102144438A (zh) | 一种夹持式残膜回收机 | |
| CN114158338B (zh) | 一种大葱收获机自动集葱放铺机构 | |
| CN103828531B (zh) | 一种振动挖拔式木薯收获机 | |
| CN105875008A (zh) | 一种大蒜收获机 | |
| CN107278481A (zh) | 一种马铃薯振动去土升运装置 | |
| CN114868511A (zh) | 一种手扶式岛田料葱起土排放作业机械 | |
| CN103621242B (zh) | 根茎作物柔性分离装置 | |
| CN114467500A (zh) | 一种枸杞采摘机 | |
| CN209151579U (zh) | 一种小型花生挖掘翻晒机 | |
| CN202364568U (zh) | 拖拉机后悬挂小型花生收获机 | |
| CN116210449A (zh) | 一种用于工业大麻的采摘收集一体化装置 | |
| CN115119612A (zh) | 茎叶蔬菜收获机 | |
| CN106576624A (zh) | 一种打捆机 | |
| CN208353836U (zh) | 地膜回收清杂机构及所构成的地膜回收作业机 | |
| CN204180541U (zh) | 一种芦蒿收割机 | |
| CN103392452A (zh) | 一种花生摘果机 | |
| CN107258235A (zh) | 枸杞采摘机振摇机构及所构成的收获机 | |
| CN203467211U (zh) | 花生联合收果机 | |
| CN108496520A (zh) | 一种大蒜收获机的机架 | |
| CN215912581U (zh) | 一种装配式油菜割晒台 | |
| CN218526792U (zh) | 一种花生挖掘机 | |
| KR20200102699A (ko) | 구형농산물 선별기 | |
| CN212138394U (zh) | 一种花生挖掘反铺机用花生秧反铺装置 | |
| CN109526277A (zh) | 地膜捡拾机 | |
| CN204860049U (zh) | 一种大葱收获机 |
Legal Events
| Date | Code | Title | Description |
|---|---|---|---|
| PB01 | Publication | ||
| PB01 | Publication | ||
| SE01 | Entry into force of request for substantive examination | ||
| SE01 | Entry into force of request for substantive examination | ||
| GR01 | Patent grant | ||
| GR01 | Patent grant |