CN114146968A - Quick clean dust collecting equipment of circuit board for electrical engineering - Google Patents

Quick clean dust collecting equipment of circuit board for electrical engineering Download PDF

Info

Publication number
CN114146968A
CN114146968A CN202111487826.1A CN202111487826A CN114146968A CN 114146968 A CN114146968 A CN 114146968A CN 202111487826 A CN202111487826 A CN 202111487826A CN 114146968 A CN114146968 A CN 114146968A
Authority
CN
China
Prior art keywords
dust removal
frame
removal equipment
circuit board
wheel
Prior art date
Legal status (The legal status is an assumption and is not a legal conclusion. Google has not performed a legal analysis and makes no representation as to the accuracy of the status listed.)
Granted
Application number
CN202111487826.1A
Other languages
Chinese (zh)
Other versions
CN114146968B (en
Inventor
肖磊
Current Assignee (The listed assignees may be inaccurate. Google has not performed a legal analysis and makes no representation or warranty as to the accuracy of the list.)
Anhui Zongyang Power Supply Co ltd
Tongling Power Supply Co of State Grid Anhui Electric Power Co Ltd
Original Assignee
Individual
Priority date (The priority date is an assumption and is not a legal conclusion. Google has not performed a legal analysis and makes no representation as to the accuracy of the date listed.)
Filing date
Publication date
Application filed by Individual filed Critical Individual
Priority to CN202111487826.1A priority Critical patent/CN114146968B/en
Publication of CN114146968A publication Critical patent/CN114146968A/en
Application granted granted Critical
Publication of CN114146968B publication Critical patent/CN114146968B/en
Active legal-status Critical Current
Anticipated expiration legal-status Critical

Links

Images

Classifications

    • BPERFORMING OPERATIONS; TRANSPORTING
    • B08CLEANING
    • B08BCLEANING IN GENERAL; PREVENTION OF FOULING IN GENERAL
    • B08B1/00Cleaning by methods involving the use of tools
    • B08B1/10Cleaning by methods involving the use of tools characterised by the type of cleaning tool
    • B08B1/12Brushes
    • BPERFORMING OPERATIONS; TRANSPORTING
    • B08CLEANING
    • B08BCLEANING IN GENERAL; PREVENTION OF FOULING IN GENERAL
    • B08B1/00Cleaning by methods involving the use of tools
    • B08B1/20Cleaning of moving articles, e.g. of moving webs or of objects on a conveyor
    • BPERFORMING OPERATIONS; TRANSPORTING
    • B08CLEANING
    • B08BCLEANING IN GENERAL; PREVENTION OF FOULING IN GENERAL
    • B08B1/00Cleaning by methods involving the use of tools
    • B08B1/50Cleaning by methods involving the use of tools involving cleaning of the cleaning members
    • BPERFORMING OPERATIONS; TRANSPORTING
    • B08CLEANING
    • B08BCLEANING IN GENERAL; PREVENTION OF FOULING IN GENERAL
    • B08B13/00Accessories or details of general applicability for machines or apparatus for cleaning
    • BPERFORMING OPERATIONS; TRANSPORTING
    • B08CLEANING
    • B08BCLEANING IN GENERAL; PREVENTION OF FOULING IN GENERAL
    • B08B15/00Preventing escape of dirt or fumes from the area where they are produced; Collecting or removing dirt or fumes from that area
    • B08B15/04Preventing escape of dirt or fumes from the area where they are produced; Collecting or removing dirt or fumes from that area from a small area, e.g. a tool
    • BPERFORMING OPERATIONS; TRANSPORTING
    • B65CONVEYING; PACKING; STORING; HANDLING THIN OR FILAMENTARY MATERIAL
    • B65GTRANSPORT OR STORAGE DEVICES, e.g. CONVEYORS FOR LOADING OR TIPPING, SHOP CONVEYOR SYSTEMS OR PNEUMATIC TUBE CONVEYORS
    • B65G47/00Article or material-handling devices associated with conveyors; Methods employing such devices
    • B65G47/02Devices for feeding articles or materials to conveyors
    • B65G47/04Devices for feeding articles or materials to conveyors for feeding articles
    • B65G47/06Devices for feeding articles or materials to conveyors for feeding articles from a single group of articles arranged in orderly pattern, e.g. workpieces in magazines
    • HELECTRICITY
    • H05ELECTRIC TECHNIQUES NOT OTHERWISE PROVIDED FOR
    • H05KPRINTED CIRCUITS; CASINGS OR CONSTRUCTIONAL DETAILS OF ELECTRIC APPARATUS; MANUFACTURE OF ASSEMBLAGES OF ELECTRICAL COMPONENTS
    • H05K3/00Apparatus or processes for manufacturing printed circuits
    • H05K3/22Secondary treatment of printed circuits
    • H05K3/26Cleaning or polishing of the conductive pattern
    • YGENERAL TAGGING OF NEW TECHNOLOGICAL DEVELOPMENTS; GENERAL TAGGING OF CROSS-SECTIONAL TECHNOLOGIES SPANNING OVER SEVERAL SECTIONS OF THE IPC; TECHNICAL SUBJECTS COVERED BY FORMER USPC CROSS-REFERENCE ART COLLECTIONS [XRACs] AND DIGESTS
    • Y02TECHNOLOGIES OR APPLICATIONS FOR MITIGATION OR ADAPTATION AGAINST CLIMATE CHANGE
    • Y02WCLIMATE CHANGE MITIGATION TECHNOLOGIES RELATED TO WASTEWATER TREATMENT OR WASTE MANAGEMENT
    • Y02W30/00Technologies for solid waste management
    • Y02W30/50Reuse, recycling or recovery technologies
    • Y02W30/82Recycling of waste of electrical or electronic equipment [WEEE]

Landscapes

  • Engineering & Computer Science (AREA)
  • Manufacturing & Machinery (AREA)
  • Microelectronics & Electronic Packaging (AREA)
  • Mechanical Engineering (AREA)
  • Cleaning In General (AREA)

Abstract

本发明公开了一种电气工程用线路板快速清洁除尘设备,包括:除尘设备机架,所述除尘设备机架的上方左侧焊接有限位架,且限位架的左侧一体化设置有固定架,且固定架的下侧设置有推料机构,所述限位架和固定架的内侧卡槽连接有线路板本体;所述除尘设备机架的内部设置有传料机构,且除尘设备机架的上侧中部安装有除尘机构。所述限位架的横截面呈“L”字形结构。该电气工程用线路板快速清洁除尘设备,能够对线路板进行有序上料,能够保证线路板的不间断上料,提高工作效率,可保证线路板传输时的稳定性,且除尘效果好,能够对除尘机构进行清理,保证除尘效果,并且能够确保灰尘的收集和排除,方便清理。

Figure 202111487826

The invention discloses a rapid cleaning and dust removal equipment for circuit boards for electrical engineering, comprising: a dust removal equipment rack, a limit frame is welded on the upper left side of the dust removal equipment rack, and the left side of the limit frame is integrally provided with a fixed The lower side of the fixing frame is provided with a pushing mechanism, the limit frame and the inner slot of the fixing frame are connected with the circuit board body; the inside of the dust removal equipment frame is provided with a feeding mechanism, and the dust removal equipment machine A dust removal mechanism is installed in the middle of the upper side of the frame. The cross section of the limiting frame is in an "L" shape. The circuit board for electrical engineering can be quickly cleaned and dedusted, and the circuit board can be fed in an orderly manner, which can ensure the uninterrupted feeding of the circuit board, improve the work efficiency, ensure the stability of the circuit board during transmission, and has a good dust removal effect. The dust removal mechanism can be cleaned to ensure the dust removal effect, and the collection and removal of dust can be ensured, which is convenient for cleaning.

Figure 202111487826

Description

Quick clean dust collecting equipment of circuit board for electrical engineering
Technical Field
The invention relates to the technical field of electrical engineering, in particular to a quick cleaning and dust removing device for a circuit board for electrical engineering.
Background
The electric engineering refers to the related behaviors in electronic and electric systems, in the electric engineering, a circuit board is a basic part, dust adheres to the outer surface of the circuit board during production, in order to ensure the smooth operation of the production flow, a quick cleaning and dedusting device is required to be used for cleaning, the cleanliness of the surface of the circuit board is ensured, and the circuit board quick cleaning and dedusting equipment for the electric engineering in the market is various, but still has some defects;
if the circuit board cannot be orderly fed, the feeding of the circuit board is easy to break, the working efficiency is low, the stability of the circuit board during transmission is inconvenient to ensure, the dust removal effect is influenced, the dust removal mechanism is inconvenient to clean, and the collection and removal of dust are complicated;
therefore, we propose a rapid cleaning and dust removing device for circuit boards in electrical engineering so as to solve the problems proposed in the above.
Disclosure of Invention
The invention aims to provide a quick cleaning and dust removing device for a circuit board for electrical engineering, which solves the problems that the existing quick cleaning and dust removing device for the circuit board for electrical engineering, which is provided by the background technology, cannot orderly feed the circuit board, the feeding of the circuit board is easy to be interrupted, the working efficiency is low, the stability of the circuit board during transmission is inconvenient to ensure, the dust removing effect is influenced, a dust removing mechanism is inconvenient to clean, and the collection and removal of dust are complicated.
In order to achieve the purpose, the invention provides the following technical scheme: the utility model provides a quick clean dust collecting equipment of circuit board for electrical engineering, includes:
the device comprises a dust removing equipment rack, wherein a limiting frame is welded on the left side above the dust removing equipment rack, a fixing frame is integrally arranged on the left side of the limiting frame, a material pushing mechanism is arranged on the lower side of the fixing frame, and a circuit board body is connected with the limiting frame and a clamping groove on the inner side of the fixing frame;
the inside of dust collecting equipment frame is provided with passes the material mechanism, and the upside mid-mounting of dust collecting equipment frame has dust removal mechanism.
Preferably, the cross section of the limiting frame is of an L-shaped structure, the horizontal plane of the bottom end of the limiting frame is higher than the horizontal plane of the bottom end of the fixing frame, and the longitudinal section of the fixing frame is of an L-shaped structure.
Preferably, the pushing mechanism comprises a pushing block, a pushing plate, a fixed plate, a connecting block, a connecting rod, a connecting roller, an eccentric wheel and a first spring, the pushing block is tightly attached to the left side of the circuit board body, the pushing plate is welded to the lower side of the pushing block, the fixed plate fixed on the frame of the dust removal device is connected with clamping grooves in the front side and the rear side of the pushing plate, and the connecting block is fixed on the inner side of the pushing plate.
Preferably, the clamping groove on the outer side of the connecting block is connected with a connecting rod, the middle part of the connecting rod is rotatably connected with a connecting roller, and the bottom end of the connecting rod is rotatably connected to the frame of the dust removing equipment;
the right side of connecting the gyro wheel closely laminates there is the eccentric wheel to the eccentric wheel rotates to be connected in the dust collecting equipment frame, and wherein the outside of eccentric wheel is zigzag structure, drive mechanism is installed to the front side of eccentric wheel, the right side top of connecting rod is fixed with the first spring that the right-hand member was installed on the fixed plate, drive mechanism is installed to the front side of eccentric wheel.
Preferably, the pushing mechanism further comprises a fixed frame, a connecting base, a second spring and a connecting roller, the fixed frame is fixed on the frame of the dust removing equipment, and the inner side of the fixed frame is connected with the connecting base in a sliding manner;
the rear side of the connecting base is rotatably connected with a connecting roller, a second spring is installed on the upper side of the connecting base, and a feeding roller which is rotatably connected to the fixing frame is arranged on the lower side of the connecting roller.
Preferably, it includes flexible conveying panel, air suction sucking disc and second aspiration pump to pass the material mechanism, the internally mounted of dust collecting equipment frame has the flexible conveying panel that is latticed structure, and the inboard of flexible conveying panel is provided with drive mechanism, the air suction sucking disc is installed to drive mechanism's outside array, and the inboard of air suction sucking disc installs the second aspiration pump of fixing in the dust collecting equipment frame.
Preferably, the dust removing mechanism comprises a first driving motor, a first connecting wheel, a second connecting wheel, a connecting frame, a second driving motor and a first cleaning brush, the first connecting wheel is installed at the output end of the first driving motor, and the first driving motor is installed on the frame of the dust removing equipment.
Preferably, the right side meshing of first fifth wheel is connected with the second fifth wheel, and the outside meshing of first fifth wheel and second fifth wheel is connected with the link frame, second driving motor is all installed to the left and right sides of link frame, and first clearance brush is installed to second driving motor's output, first fifth wheel and second fifth wheel rotate to be connected in the dust collecting equipment frame.
Preferably, the dust removal mechanism further comprises an exhaust pipe, a first exhaust pump and a second cleaning brush, the first exhaust pump is installed at the rear side of the dust removal equipment rack, the exhaust pipes are symmetrically arranged at the output end of the first exhaust pump, an inner side clamping groove of each exhaust pipe is connected with the second cleaning brush fixed on the dust removal equipment rack, and the micro motor is installed at the lower end of the second cleaning brush.
Compared with the prior art, the invention has the beneficial effects that: the rapid cleaning and dedusting equipment for the circuit board for the electrical engineering can orderly feed the circuit board, can ensure the uninterrupted feeding of the circuit board, improves the working efficiency, can ensure the stability of the circuit board during transmission, has good dedusting effect, can clean the dedusting mechanism, ensures the dedusting effect, can ensure the collection and removal of dust, and is convenient to clean;
1. the dust removing device is provided with an eccentric wheel, a connecting rod and a material pushing plate, wherein the eccentric wheel rotates, a connecting roller arranged on the left side of the eccentric wheel rotates on the connecting rod, the connecting rod rotates on a frame of the dust removing device to push the material pushing plate and a material pushing block to slide, so that ordered feeding can be performed on a circuit board, uninterrupted feeding of the circuit board can be guaranteed, and the working efficiency is improved;
2. the circuit board body is laid on the flexible conveying panel in a latticed structure, the second air pump enables the air suction suckers to suck air inwards, and the air suction suckers adsorb the circuit board body, so that the circuit board body can be stably connected with the flexible conveying panel, the circuit board body is prevented from shaking, and the stability of the circuit board during transmission can be ensured;
3. the first cleaning brush is arranged at the left end and the right end of the connecting frame, the first connecting wheel drives the connecting frame to move, so that the first cleaning brush and the second cleaning brush are enabled to have good dust removal effect, a dust removal mechanism can be cleaned, and the dust removal effect is ensured;
4. be provided with exhaust tube and first aspiration pump, the first aspiration pump of dust collecting equipment frame rear side installation is outwards bled, and the exhaust tube is connected with second clearance brush draw-in groove, and the collection and the getting rid of, the convenient clearance of dust can be ensured to bilateral symmetry's second clearance brush.
Drawings
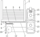
FIG. 1 is a schematic front sectional view of the present invention;
FIG. 2 is a schematic view of the pushing mechanism of the present invention;
FIG. 3 is a schematic view of the overall structure of the connection of the material pushing block and the material pushing plate according to the present invention;
FIG. 4 is a schematic view of the connection structure of the limiting frame and the fixing frame according to the present invention;
FIG. 5 is a schematic top view of the flexible transport panel and suction cup connection of the present invention;
FIG. 6 is a schematic front view of the dust removing mechanism of the present invention;
FIG. 7 is a schematic top view of the dust removing mechanism of the present invention;
FIG. 8 is a schematic view of the connection between the second cleaning brush and the micro-motor according to the present invention.
In the figure: 1. a dust removal equipment frame; 2. a limiting frame; 3. a fixed mount; 4. a circuit board body; 5. a material pushing block; 6. a material pushing plate; 7. a fixing plate; 8. connecting blocks; 9. a connecting rod; 10. connecting a roller; 11. an eccentric wheel; 12. a first spring; 13. a fixing frame; 14. connecting a base; 15. a second spring; 16. a connecting roller; 17. a feed roller; 18. a transmission mechanism; 19. a flexible transfer panel; 20. an air suction sucker; 21. a first drive motor; 22. a first connecting wheel; 23. a second fifth wheel; 24. a connecting frame; 25. a second drive motor; 26. a first cleaning brush; 27. an air exhaust pipe; 28. a first air pump; 29. a second cleaning brush; 30. a micro motor; 31. and a second air pump.
Detailed Description
The technical solutions in the embodiments of the present invention will be clearly and completely described below with reference to the drawings in the embodiments of the present invention, and it is obvious that the described embodiments are only a part of the embodiments of the present invention, and not all of the embodiments. All other embodiments, which can be derived by a person skilled in the art from the embodiments given herein without making any creative effort, shall fall within the protection scope of the present invention.
Referring to fig. 1-8, the present invention provides a technical solution: the utility model provides a quick clean dust collecting equipment of circuit board for electrical engineering, includes: the dust removing device comprises a dust removing device rack 1, a limiting frame 2, a fixing frame 3, a circuit board body 4, a material pushing block 5, a material pushing plate 6, a fixing plate 7, a connecting block 8, a connecting rod 9, a connecting roller 10, an eccentric wheel 11, a first spring 12, a fixing frame 13, a connecting base 14, a second spring 15, a connecting roller 16, a feeding roller 17, a transmission mechanism 18, a flexible conveying panel 19, an air suction cup 20, a first driving motor 21, a first connecting wheel 22, a second connecting wheel 23, a connecting frame 24, a second driving motor 25, a first cleaning hairbrush 26, an air suction pipe 27, a first air suction pump 28, a second cleaning hairbrush 29, a micro motor 30 and a second air suction pump 31;
as shown in fig. 3 and 4, the cross section of the limiting frame 2 is of an L-shaped structure, the horizontal plane of the bottom end of the limiting frame 2 is higher than the horizontal plane of the bottom end of the fixing frame 3, and the longitudinal section of the fixing frame 3 is of an L-shaped structure.
As shown in fig. 2, the pushing mechanism includes a pushing block 5, a pushing plate 6, a fixing plate 7, a connecting block 8, a connecting rod 9, a connecting roller 10, an eccentric wheel 11 and a first spring 12, the pushing block 5 is tightly attached to the left side of the circuit board body 4, the pushing plate 6 is welded to the lower side of the pushing block 5, the fixing plate 7 fixed to the dust removing device frame 1 is connected to clamping grooves on the front side and the rear side of the pushing plate 6, and the connecting block 8 is fixed to the inner side of the pushing plate 6.
As shown in fig. 2, the outside slot of the connecting block 8 is connected with a connecting rod 9, the middle part of the connecting rod 9 is rotatably connected with a connecting roller 10, and the bottom end of the connecting rod 9 is rotatably connected to the frame 1 of the dust removing equipment;
an eccentric wheel 11 is tightly attached to the right side of the connecting roller 10, the eccentric wheel 11 is rotatably connected to the dust removing equipment rack 1, the outer side of the eccentric wheel 11 is of a zigzag structure, a transmission mechanism 18 is installed on the front side of the eccentric wheel 11, a first spring 12 with the right end installed on the fixing plate 7 is fixed above the right side of the connecting rod 9, and the transmission mechanism 18 is installed on the front side of the eccentric wheel 11.
As shown in fig. 4, the pushing mechanism further includes a fixing frame 13, a connecting base 14, a second spring 15 and a connecting roller 16, the fixing frame 13 is fixed on the frame 1 of the dust removing device, and the connecting base 14 is slidably connected to the inner side of the fixing frame 13;
a connecting roller 16 is rotatably connected to the rear side of the connecting base 14, a second spring 15 is mounted on the upper side of the connecting base 14, and a feed roller 17 rotatably connected to the fixing frame 13 is disposed on the lower side of the connecting roller 16.
As shown in fig. 5, the material conveying mechanism includes a flexible conveying panel 19, air suction cups 20 and a second air suction pump 31, the flexible conveying panel 19 with a grid-shaped structure is installed inside the dust removing device rack 1, the transmission mechanisms 18 are arranged inside the flexible conveying panel 19, the air suction cups 20 are installed in an array manner outside the transmission mechanisms 18, and the second air suction pump 31 fixed on the dust removing device rack 1 is installed inside the air suction cups 20.
As shown in fig. 6 and 7, the dust removing mechanism includes a first driving motor 21, a first connecting wheel 22, a second connecting wheel 23, a connecting frame 24, a second driving motor 25 and a first cleaning brush 26, the first connecting wheel 22 is mounted at the output end of the first driving motor 21, and the first driving motor 21 is mounted on the dust removing device frame 1.
As shown in fig. 6 and 7, the second connecting wheel 23 is engaged with the right side of the first connecting wheel 22, the connecting frame 24 is engaged with the outer sides of the first connecting wheel 22 and the second connecting wheel 23, the second driving motor 25 is installed on the left and right sides of the connecting frame 24, the first cleaning brush 26 is installed on the output end of the second driving motor 25, and the first connecting wheel 22 and the second connecting wheel 23 are rotatably connected in the frame 1 of the dust removing device.
As shown in fig. 6 and 8, the dust removing mechanism further includes an air suction pipe 27, a first air suction pump 28 and a second cleaning brush 29, the first air suction pump 28 is installed at the rear side of the dust removing device frame 1, the air suction pipes 27 symmetrically arranged at the left and right sides are installed at the output end of the first air suction pump 28, an inner side clamping groove of the air suction pipe 27 is connected with the second cleaning brush 29 fixed on the dust removing device frame 1, and a micro motor 30 is installed at the lower end of the second cleaning brush 29.
As shown in attached figures 1, 2 and 3, a circuit board body 4 is placed in a limiting frame 2 and a fixing frame 3, the circuit board body 4 is connected with a clamping groove of the limiting frame 2 and the fixing frame 3, then a driving mechanism arranged on a transmission mechanism 18 is opened, the left end of the transmission mechanism 18 drives an eccentric wheel 11 to rotate on a dust removing equipment frame 1, the right end of the transmission mechanism 18 drives a feeding roller 17 to rotate on the inner side of a fixing frame 13, because one side of the eccentric wheel 11 is of a zigzag structure, and the left side of the eccentric wheel 11 is tightly attached to the right side of a connecting roller 10, when the eccentric wheel 11 rotates, the connecting roller 10 rotates on a connecting rod 9, the eccentric wheel 11 pushes the connecting rod 9 arranged on the connecting roller 10, the bottom end of the connecting rod 9 rotates anticlockwise on the dust removing equipment frame 1 to compress a first spring 12, when the connecting rod 9 rotates to the upper end is positioned at the leftmost point, the first spring 12 pulls the connecting rod 9 to reset, the connecting rod 9 is made to rotate clockwise, the upper end of the connecting rod 9 slides on the outer side of the connecting block 8 connected with the clamping groove of the connecting rod 9, the material pushing plate 6 welded on the outer side of the connecting block 8 is pushed to slide, the clamping grooves on the front side and the rear side of the material pushing plate 6 are connected with the fixing plates 7 fixed on the dust removing equipment rack 1, when the material pushing plate 6 slides, the fixing plates 7 play a limiting role on the material pushing plate 6, the material pushing block 5 fixed on the material pushing plate 6 pushes the circuit board body 4 at the bottommost part to move, and the circuit board body 4 slides towards the right side;
as shown in figure 4, because the lowest point of the limiting frame 2 is higher than the lowest point of the fixing frame 3, when the pushing block 5 pushes the circuit board body 4 to move, the circuit board body 4 at the bottommost side can slide out from the bottom of the limiting frame 2, as shown in figure 2, the feeding roller 17 rolls on the inner side of the fixing frame 13 to assist the movement of the circuit board body 4, so that the circuit board body 4 continues to slide to the right side, when the circuit board body 4 enters between the connecting roller 16 and the feeding roller 17, the connecting roller 16 is jacked up by the circuit board body 4, the connecting base 14 slides in the fixing frame 13 connected with the clamping groove thereof, the connecting base 14 compresses the second spring 15, the bottom surface of the connecting roller 16 is tightly jointed with the upper side surface of the circuit board body 4, the feeding roller 17 drives the circuit board body 4 to move, the upper side surface of the circuit board body 4 drives the connecting roller 16 tightly jointed with the connecting roller to roll, so as to convey the circuit board body 4, when the circuit board body 4 is conveyed, the elastic action of the second spring 15 pushes the connecting roller 16 to reset;
as shown in fig. 1 and 5, when the circuit board body 4 falls on the flexible transmission panel 19 in the grid structure, the second air pump 31 is turned on to suck the air suction cups 20 distributed in an array manner inwards to suck the circuit board body 4, the circuit board body 4 is fixed on the flexible transmission panel 19, and the flexible transmission panel 19 stably transmits the circuit board body 4 to the right side so that the circuit board body 4 is transmitted to the lower side of the dust removing mechanism;
as shown in fig. 1, fig. 6, fig. 7 and fig. 8, when the circuit board body 4 is conveyed to the lower side of the dust removing mechanism, the second driving motor 25 is turned on, the second driving motor 25 drives the first cleaning brush 26 installed at the output end to rotate, bristles with different lengths are arranged at the lower side of the first cleaning brush 26, the cleaning effect is better, the first cleaning brush 26 rotates to clean the surface of the circuit board body 4, the first driving motor 21 installed on the frame 1 of the dust removing equipment is turned on, the first driving motor 21 drives the first connecting wheel 22 installed at the output end to rotate, the right side of the first connecting wheel 22 is engaged and connected with the second connecting wheel 23, the first connecting wheel 22 and the second connecting wheel 23 both rotate on the frame 1 of the dust removing equipment and drive the connecting frame 24 engaged and connected at the outer side to slide, the connecting frame 24 drives the second driving motor 25 and the first cleaning brush 26 installed at the left side and the right side to move, make first clearance brush 26 remove to second clearance brush 29 on, the micro motor 30 of second clearance brush 29 bottom installation drives the second clearance brush 29 that upside bilateral symmetry set up and rotates simultaneously, first clearance brush 26 and the contact of second clearance brush 29, and rotate to opposite direction simultaneously, make the dust of adhesion scatter in the first clearance brush 26, open first aspiration pump 28, first aspiration pump 28 is outwards bled, make the dust get into in the exhaust tube 27 of being connected with second clearance brush 29 draw-in groove, and discharge dust collecting equipment frame 1 outside, conveniently clear up first clearance brush 26, guarantee the dust removal effect of first clearance brush 26.
The whole working process of the rapid cleaning and dust removing device for the circuit board for electrical engineering is the whole working process, and the content which is not described in detail in the specification belongs to the prior art which is known by a person skilled in the art.
The standard parts used in the invention can be purchased from the market, the special-shaped parts can be customized according to the description of the specification and the accompanying drawings, the specific connection mode of each part adopts conventional means such as bolts, rivets, welding and the like mature in the prior art, the machines, the parts and equipment adopt conventional models in the prior art, and the circuit connection adopts the conventional connection mode in the prior art, so that the detailed description is omitted.
Although the present invention has been described in detail with reference to the foregoing embodiments, it will be apparent to those skilled in the art that various changes in the embodiments and/or modifications of the invention can be made, and equivalents and modifications of some features of the invention can be made without departing from the spirit and scope of the invention.

Claims (9)

1.一种电气工程用线路板快速清洁除尘设备,其特征在于,包括:1. A circuit board quick cleaning and dust removal equipment for electrical engineering, is characterized in that, comprises: 除尘设备机架(1),所述除尘设备机架(1)的上方左侧焊接有限位架(2),且限位架(2)的左侧一体化设置有固定架(3),且固定架(3)的下侧设置有推料机构,所述限位架(2)和固定架(3)的内侧卡槽连接有线路板本体(4);A dust removal equipment rack (1), a limit frame (2) is welded on the upper left side of the dust removal equipment rack (1), and a fixing frame (3) is integrally provided on the left side of the limit frame (2), and The lower side of the fixing frame (3) is provided with a pushing mechanism, and the circuit board body (4) is connected to the inner card slot of the limiting frame (2) and the fixing frame (3); 所述除尘设备机架(1)的内部设置有传料机构,且除尘设备机架(1)的上侧中部安装有除尘机构。A material conveying mechanism is arranged inside the dust removal equipment rack (1), and a dust removal mechanism is installed in the middle of the upper side of the dust removal equipment rack (1). 2.根据权利要求1所述的一种电气工程用线路板快速清洁除尘设备,其特征在于:所述限位架(2)的横截面呈“L”字形结构,且限位架(2)的底端所在水平面高于固定架(3)的底端所在水平面,其中固定架(3)的纵截面呈“L”字形结构。2. A device for rapid cleaning and dust removal of circuit boards for electrical engineering according to claim 1, characterized in that: the cross section of the limit frame (2) is in an "L"-shaped structure, and the limit frame (2) The horizontal plane of the bottom end of the fixing frame (3) is higher than the horizontal plane of the bottom end of the fixing frame (3), wherein the longitudinal section of the fixing frame (3) is in an "L"-shaped structure. 3.根据权利要求1所述的一种电气工程用线路板快速清洁除尘设备,其特征在于:所述推料机构包括推料块(5)、推料板(6)、固定板(7)、连接块(8)、连接杆(9)、连接滚轮(10)、偏心轮(11)和第一弹簧(12),所述线路板本体(4)的左侧紧密贴合有推料块(5),且推料块(5)的下侧焊接有推料板(6),所述推料板(6)的前后两侧均卡槽连接有固定在除尘设备机架(1)上的固定板(7),且推料板(6)的内侧固定有连接块(8)。3. The device for rapid cleaning and dust removal of circuit boards for electrical engineering according to claim 1, wherein the pushing mechanism comprises a pushing block (5), a pushing plate (6), and a fixing plate (7) , connecting block (8), connecting rod (9), connecting roller (10), eccentric (11) and first spring (12), the left side of the circuit board body (4) is closely fitted with a pushing block (5), and a pusher plate (6) is welded on the lower side of the pusher block (5), and the front and rear sides of the pusher plate (6) are connected to and fixed on the dust removal equipment rack (1). the fixing plate (7), and the inner side of the pushing plate (6) is fixed with a connecting block (8). 4.根据权利要求3所述的一种电气工程用线路板快速清洁除尘设备,其特征在于:所述连接块(8)的外侧卡槽连接有连接杆(9),且连接杆(9)的中部转动连接有连接滚轮(10),所述连接杆(9)的底端转动连接在除尘设备机架(1)上;4. The device for rapid cleaning and dust removal of circuit boards for electrical engineering according to claim 3, characterized in that: a connecting rod (9) is connected to the outer slot of the connecting block (8), and the connecting rod (9) A connecting roller (10) is rotatably connected to the middle of the connecting rod (9), and the bottom end of the connecting rod (9) is rotatably connected to the dust removal equipment rack (1); 所述连接滚轮(10)的右侧紧密贴合有偏心轮(11),并且偏心轮(11)转动连接在除尘设备机架(1)上,其中偏心轮(11)的外侧呈折线形结构,所述偏心轮(11)的前侧安装有传动机构(18),所述连接杆(9)的右侧上方固定有右端安装在固定板(7)上的第一弹簧(12),所述偏心轮(11)的前侧安装有传动机构(18)。The right side of the connecting roller (10) is closely fitted with an eccentric wheel (11), and the eccentric wheel (11) is rotatably connected to the dust removal equipment rack (1), wherein the outer side of the eccentric wheel (11) is in a fold-line structure , a transmission mechanism (18) is installed on the front side of the eccentric wheel (11), and a first spring (12) whose right end is installed on the fixing plate (7) is fixed above the right side of the connecting rod (9). A transmission mechanism (18) is installed on the front side of the eccentric wheel (11). 5.根据权利要求1所述的一种电气工程用线路板快速清洁除尘设备,其特征在于:所述推料机构还包括固定框(13)、连接底座(14)、第二弹簧(15)和连接辊(16),所述固定框(13)固定在除尘设备机架(1)上,且固定框(13)的内侧滑动连接有连接底座(14);5 . The rapid cleaning and dust removal equipment for electrical engineering circuit boards according to claim 1 , wherein the pushing mechanism further comprises a fixing frame ( 13 ), a connecting base ( 14 ), and a second spring ( 15 ). 6 . and a connecting roller (16), the fixing frame (13) is fixed on the dust removal equipment frame (1), and a connecting base (14) is slidably connected to the inner side of the fixing frame (13); 所述连接底座(14)的后侧转动连接有连接辊(16),且连接底座(14)的上侧安装有第二弹簧(15),所述连接辊(16)的下侧设置有在固定框(13)上转动连接的送料辊(17)。A connecting roller (16) is rotatably connected to the rear side of the connecting base (14), a second spring (15) is installed on the upper side of the connecting base (14), and a second spring (15) is installed on the upper side of the connecting base (14). The feed roller (17) is rotatably connected to the fixed frame (13). 6.根据权利要求1所述的一种电气工程用线路板快速清洁除尘设备,其特征在于:所述传料机构包括柔性传送面板(19)、抽气吸盘(20)和第二抽气泵(31),所述除尘设备机架(1)的内部安装有呈网格状结构的柔性传送面板(19),且柔性传送面板(19)的内侧设置有传动机构(18),所述传动机构(18)的外侧阵列式安装有抽气吸盘(20),且抽气吸盘(20)的内侧安装有固定在除尘设备机架(1)上的第二抽气泵(31)。6 . The device for rapid cleaning and dust removal for electrical engineering circuit boards according to claim 1 , wherein the material conveying mechanism comprises a flexible conveying panel ( 19 ), an air suction cup ( 20 ) and a second air pump ( 6 . 31), a flexible transmission panel (19) having a grid-like structure is installed inside the dust removal equipment rack (1), and a transmission mechanism (18) is arranged on the inner side of the flexible transmission panel (19), and the transmission mechanism A suction suction cup (20) is installed in an array on the outside of (18), and a second suction pump (31) fixed on the dust removal equipment rack (1) is installed on the inner side of the suction suction cup (20). 7.根据权利要求1所述的一种电气工程用线路板快速清洁除尘设备,其特征在于:所述除尘机构包括第一驱动电机(21)、第一连接轮(22)、第二连接轮(23)、连接框(24)、第二驱动电机(25)和第一清理毛刷(26),所述第一驱动电机(21)的输出端安装有第一连接轮(22),且第一驱动电机(21)安装在除尘设备机架(1)上。7 . The rapid cleaning and dust removal equipment for electrical engineering circuit boards according to claim 1 , wherein the dust removal mechanism comprises a first driving motor ( 21 ), a first connecting wheel ( 22 ), and a second connecting wheel (23), a connecting frame (24), a second driving motor (25) and a first cleaning brush (26), the output end of the first driving motor (21) is provided with a first connecting wheel (22), and The first drive motor (21) is installed on the dust removal equipment rack (1). 8.根据权利要求7所述的一种电气工程用线路板快速清洁除尘设备,其特征在于:所述第一连接轮(22)的右侧啮合连接有第二连接轮(23),且第一连接轮(22)和第二连接轮(23)的外侧啮合连接有连接框(24),所述连接框(24)的左右两侧均安装有第二驱动电机(25),且第二驱动电机(25)的输出端安装有第一清理毛刷(26),所述第一连接轮(22)和第二连接轮(23)转动连接在除尘设备机架(1)内。8 . The rapid cleaning and dust removal equipment for electrical engineering circuit boards according to claim 7 , wherein a second connecting wheel ( 23 ) is meshed and connected to the right side of the first connecting wheel ( 22 ), and the first connecting wheel ( 22 ) A connection frame (24) is engaged with the outer side of a connection wheel (22) and the second connection wheel (23), and a second drive motor (25) is installed on the left and right sides of the connection frame (24). A first cleaning brush (26) is installed at the output end of the drive motor (25), and the first connecting wheel (22) and the second connecting wheel (23) are rotatably connected in the dust removal equipment rack (1). 9.根据权利要求1所述的一种电气工程用线路板快速清洁除尘设备,其特征在于:所述除尘机构还包括抽气管(27)、第一抽气泵(28)和第二清理毛刷(29),所述除尘设备机架(1)的后侧安装有第一抽气泵(28),且第一抽气泵(28)的输出端安装有左右对称设置的抽气管(27),所述抽气管(27)的内侧卡槽连接有固定在除尘设备机架(1)上的第二清理毛刷(29),且第二清理毛刷(29)的下端安装有微型马达(30)。9 . The rapid cleaning and dust removal equipment for electrical engineering circuit boards according to claim 1 , wherein the dust removal mechanism further comprises an air extraction pipe (27), a first air extraction pump (28) and a second cleaning brush. 10 . (29), a first air extraction pump (28) is installed on the rear side of the dust removal equipment rack (1), and an air extraction pipe (27) symmetrically arranged on the left and right is installed at the output end of the first air extraction pump (28). A second cleaning brush (29) fixed on the dust removal equipment rack (1) is connected to the inner card slot of the air extraction pipe (27), and a micromotor (30) is installed at the lower end of the second cleaning brush (29). .
CN202111487826.1A 2021-12-08 2021-12-08 Circuit board quick cleaning dust collecting equipment for electrical engineering Active CN114146968B (en)

Priority Applications (1)

Application Number Priority Date Filing Date Title
CN202111487826.1A CN114146968B (en) 2021-12-08 2021-12-08 Circuit board quick cleaning dust collecting equipment for electrical engineering

Applications Claiming Priority (1)

Application Number Priority Date Filing Date Title
CN202111487826.1A CN114146968B (en) 2021-12-08 2021-12-08 Circuit board quick cleaning dust collecting equipment for electrical engineering

Publications (2)

Publication Number Publication Date
CN114146968A true CN114146968A (en) 2022-03-08
CN114146968B CN114146968B (en) 2023-08-25

Family

ID=80453228

Family Applications (1)

Application Number Title Priority Date Filing Date
CN202111487826.1A Active CN114146968B (en) 2021-12-08 2021-12-08 Circuit board quick cleaning dust collecting equipment for electrical engineering

Country Status (1)

Country Link
CN (1) CN114146968B (en)

Cited By (2)

* Cited by examiner, † Cited by third party
Publication number Priority date Publication date Assignee Title
CN116216217A (en) * 2023-04-21 2023-06-06 吉安磊鑫达电子有限公司 A circuit board crawler type receiving machine and its use method
CN118060271A (en) * 2024-04-22 2024-05-24 山西恒瑞昆新材料技术有限公司 An air-blowing cleaning device for hydrochloric acid stains on galvanized surfaces

Citations (19)

* Cited by examiner, † Cited by third party
Publication number Priority date Publication date Assignee Title
JPH081490A (en) * 1994-06-27 1996-01-09 Hitachi Ltd Adhesion remover, chamfering, deburring and cleaning equipment
US20020041804A1 (en) * 2000-09-27 2002-04-11 Cooper Gary D. Apparatus for conveying printed products to a hopper
KR20050117121A (en) * 2004-06-09 2005-12-14 주식회사 대영테크 Apparatus for removing dusts from a flat panel
JP2008103659A (en) * 2006-10-17 2008-05-01 Yee Chang Precision Machinery Co Ltd Printed and flexible wiring board cleaning machine
US20120005846A1 (en) * 2009-03-23 2012-01-12 Hi-Man Lee Board cleaner
JP2017058968A (en) * 2015-09-16 2017-03-23 株式会社ジェッター Brush cleaning device
CN110404831A (en) * 2018-04-27 2019-11-05 绍兴亿都信息技术有限公司 A kind of memory clamp bar slot dust brush device for cleaning for computer maintenance
KR102036157B1 (en) * 2019-08-06 2019-11-26 임인걸 Washing machine for PCB pannel with improved Cleanliness
CN110697430A (en) * 2019-09-30 2020-01-17 权金金 Card sorting device
CN110899171A (en) * 2019-11-25 2020-03-24 张崟 Brush cleaning device
CN110911516A (en) * 2019-11-29 2020-03-24 尚越光电科技股份有限公司 Flexible CIGS solar cell sheet stacking series welding device
CN210314985U (en) * 2019-05-30 2020-04-14 福建辅布司纺织有限公司 Cleaning device capable of cleaning front and back surfaces of garment fabric
CN111633762A (en) * 2020-05-15 2020-09-08 郭静 Bamboo board cutting machine is used in bamboo let processing
CN112546755A (en) * 2020-12-11 2021-03-26 李伟员 Dust absorption dustproof system for construction
CN112570320A (en) * 2020-11-26 2021-03-30 赣州市硕祺电子科技有限公司 Circuit board cleaning and dust removing equipment for electrical engineering
CN112588643A (en) * 2020-12-25 2021-04-02 南京成来顺商贸有限公司 A dust collector for intelligent PCB for manufacturing production
CN213103402U (en) * 2020-09-14 2021-05-04 深圳市小咖智能物联科技有限公司 Automatic cleaning device of PCB board
CN113351554A (en) * 2021-06-03 2021-09-07 伊斯特电子科技(东台)有限公司 Circuit board cleaning and dust removing device
CN113600561A (en) * 2021-06-19 2021-11-05 江苏雅高酒店配套用品有限公司 Be used for clean dust collector of spinning machine surface

Patent Citations (19)

* Cited by examiner, † Cited by third party
Publication number Priority date Publication date Assignee Title
JPH081490A (en) * 1994-06-27 1996-01-09 Hitachi Ltd Adhesion remover, chamfering, deburring and cleaning equipment
US20020041804A1 (en) * 2000-09-27 2002-04-11 Cooper Gary D. Apparatus for conveying printed products to a hopper
KR20050117121A (en) * 2004-06-09 2005-12-14 주식회사 대영테크 Apparatus for removing dusts from a flat panel
JP2008103659A (en) * 2006-10-17 2008-05-01 Yee Chang Precision Machinery Co Ltd Printed and flexible wiring board cleaning machine
US20120005846A1 (en) * 2009-03-23 2012-01-12 Hi-Man Lee Board cleaner
JP2017058968A (en) * 2015-09-16 2017-03-23 株式会社ジェッター Brush cleaning device
CN110404831A (en) * 2018-04-27 2019-11-05 绍兴亿都信息技术有限公司 A kind of memory clamp bar slot dust brush device for cleaning for computer maintenance
CN210314985U (en) * 2019-05-30 2020-04-14 福建辅布司纺织有限公司 Cleaning device capable of cleaning front and back surfaces of garment fabric
KR102036157B1 (en) * 2019-08-06 2019-11-26 임인걸 Washing machine for PCB pannel with improved Cleanliness
CN110697430A (en) * 2019-09-30 2020-01-17 权金金 Card sorting device
CN110899171A (en) * 2019-11-25 2020-03-24 张崟 Brush cleaning device
CN110911516A (en) * 2019-11-29 2020-03-24 尚越光电科技股份有限公司 Flexible CIGS solar cell sheet stacking series welding device
CN111633762A (en) * 2020-05-15 2020-09-08 郭静 Bamboo board cutting machine is used in bamboo let processing
CN213103402U (en) * 2020-09-14 2021-05-04 深圳市小咖智能物联科技有限公司 Automatic cleaning device of PCB board
CN112570320A (en) * 2020-11-26 2021-03-30 赣州市硕祺电子科技有限公司 Circuit board cleaning and dust removing equipment for electrical engineering
CN112546755A (en) * 2020-12-11 2021-03-26 李伟员 Dust absorption dustproof system for construction
CN112588643A (en) * 2020-12-25 2021-04-02 南京成来顺商贸有限公司 A dust collector for intelligent PCB for manufacturing production
CN113351554A (en) * 2021-06-03 2021-09-07 伊斯特电子科技(东台)有限公司 Circuit board cleaning and dust removing device
CN113600561A (en) * 2021-06-19 2021-11-05 江苏雅高酒店配套用品有限公司 Be used for clean dust collector of spinning machine surface

Cited By (3)

* Cited by examiner, † Cited by third party
Publication number Priority date Publication date Assignee Title
CN116216217A (en) * 2023-04-21 2023-06-06 吉安磊鑫达电子有限公司 A circuit board crawler type receiving machine and its use method
CN118060271A (en) * 2024-04-22 2024-05-24 山西恒瑞昆新材料技术有限公司 An air-blowing cleaning device for hydrochloric acid stains on galvanized surfaces
CN118060271B (en) * 2024-04-22 2024-07-23 山西恒瑞昆新材料技术有限公司 Hydrochloric acid spot air-blowing cleaning device for galvanized surface

Also Published As

Publication number Publication date
CN114146968B (en) 2023-08-25

Similar Documents

Publication Publication Date Title
CN114146968A (en) Quick clean dust collecting equipment of circuit board for electrical engineering
CN112845201B (en) Multifunctional automatic dust removal device
CN115366433A (en) Press-fit device for manufacturing cellulose acetate board
CN209238489U (en) A dust removal device for PVC board processing
CN115155952B (en) Be used for lead acid battery grid plate production to scribble board device
CN116395215A (en) A fully automatic bagging and packaging equipment for down jacket packaging
CN220072527U (en) Cleaning device for processing circuit board
CN218232882U (en) Fabric surface dust removal device for fabric processing
CN118991018A (en) Dust removing device for processing laminated plywood
CN215714152U (en) Efficient anti-blocking thread end sucking machine
CN218484466U (en) Dust absorption spare and cleaning machines people
CN218691829U (en) Feeding device is used in blister pack processing convenient to remove dust
CN222750653U (en) A high-speed placement machine
CN220970188U (en) Electrostatic dust collector
CN222015361U (en) Semiconductor welding pre-cleaning equipment
CN220180377U (en) Dust removing device for printing front end
CN112137507A (en) Seam beautifying strip maintenance and floor sweeping robot
CN114260989B (en) A cuttings clearing device for panel cutting
CN219175944U (en) Gap cleaning device is repaired to building
CN222402439U (en) Dust collection device for processing release paper
CN222830006U (en) Coating machine for circuit board
CN222959437U (en) A dust removal mechanism for printing processing
CN221968947U (en) A honeycomb paperboard surface softening treatment device
CN222590077U (en) A PE plastic film punching device
CN222294561U (en) Thermal paper surface coating equipment with good dust-proof effect

Legal Events

Date Code Title Description
PB01 Publication
PB01 Publication
SE01 Entry into force of request for substantive examination
SE01 Entry into force of request for substantive examination
TA01 Transfer of patent application right
TA01 Transfer of patent application right

Effective date of registration: 20230713

Address after: Yintang East Road, Zongyang Town, Zongyang County, Tongling City, Anhui Province 246700

Applicant after: Anhui Zongyang power supply Co.,Ltd.

Applicant after: STATE GRID ANHUI ELECTRIC POWER CO., LTD. TONGLING POWER SUPPLY Co.

Address before: 261000 No. 9999, Baotong East Street, high tech Zone, Kuiwen District, Weifang City, Shandong Province

Applicant before: Xiao Lei

GR01 Patent grant
GR01 Patent grant