CN114108145B - Spindle storage device for cotton yarn production - Google Patents
Spindle storage device for cotton yarn production Download PDFInfo
- Publication number
- CN114108145B CN114108145B CN202010904443.9A CN202010904443A CN114108145B CN 114108145 B CN114108145 B CN 114108145B CN 202010904443 A CN202010904443 A CN 202010904443A CN 114108145 B CN114108145 B CN 114108145B
- Authority
- CN
- China
- Prior art keywords
- fixedly connected
- screw
- iron plate
- spindle
- bottom end
- Prior art date
- Legal status (The legal status is an assumption and is not a legal conclusion. Google has not performed a legal analysis and makes no representation as to the accuracy of the status listed.)
- Active
Links
Images
Classifications
-
- D—TEXTILES; PAPER
- D01—NATURAL OR MAN-MADE THREADS OR FIBRES; SPINNING
- D01H—SPINNING OR TWISTING
- D01H7/00—Spinning or twisting arrangements
- D01H7/02—Spinning or twisting arrangements for imparting permanent twist
- D01H7/04—Spindles
- D01H7/08—Mounting arrangements
-
- D—TEXTILES; PAPER
- D01—NATURAL OR MAN-MADE THREADS OR FIBRES; SPINNING
- D01H—SPINNING OR TWISTING
- D01H11/00—Arrangements for confining or removing dust, fly or the like
- D01H11/005—Arrangements for confining or removing dust, fly or the like with blowing and/or suction devices
-
- Y—GENERAL TAGGING OF NEW TECHNOLOGICAL DEVELOPMENTS; GENERAL TAGGING OF CROSS-SECTIONAL TECHNOLOGIES SPANNING OVER SEVERAL SECTIONS OF THE IPC; TECHNICAL SUBJECTS COVERED BY FORMER USPC CROSS-REFERENCE ART COLLECTIONS [XRACs] AND DIGESTS
- Y02—TECHNOLOGIES OR APPLICATIONS FOR MITIGATION OR ADAPTATION AGAINST CLIMATE CHANGE
- Y02W—CLIMATE CHANGE MITIGATION TECHNOLOGIES RELATED TO WASTEWATER TREATMENT OR WASTE MANAGEMENT
- Y02W90/00—Enabling technologies or technologies with a potential or indirect contribution to greenhouse gas [GHG] emissions mitigation
- Y02W90/10—Bio-packaging, e.g. packing containers made from renewable resources or bio-plastics
Landscapes
- Engineering & Computer Science (AREA)
- Mechanical Engineering (AREA)
- Textile Engineering (AREA)
- Spinning Or Twisting Of Yarns (AREA)
- Preliminary Treatment Of Fibers (AREA)
Abstract
本发明涉及纺纱保养技术领域,尤其为一种棉纱线生产用纱锭储存装置,包括装置外壳以及铁板,所述装置外壳固定连接有矩形吸槽、圆柱把手、外接电源、铁板、风泵、过滤网以及支架,所述装置外壳的左端底部活动连接有橡胶活塞,所述支架的底端固定连接有滚轮,所述铁板的前端面固定连接有内螺纹管,所述内螺纹管螺旋连接有螺杆丝杠,所述螺杆丝杠杆端表面接触连接有纱锭,所述螺杆丝杠的顶端固定连接有旋柄,所述矩形吸槽固定连接有塑料软管,所述装置外壳中层支架底端设置有中心孔,且中心孔与塑料软管的末端接触连接,所述装置外壳底端设置有排气孔,本发明通过塑料软管、风泵与过滤网完成清理棉尘的功能,值得推广使用。
The invention relates to the technical field of spinning maintenance, in particular to a spindle storage device for cotton yarn production, comprising a device casing and an iron plate, and the device casing is fixedly connected with a rectangular suction groove, a cylindrical handle, an external power supply, an iron plate, and an air pump , a filter screen and a bracket, the bottom of the left end of the housing of the device is movably connected with a rubber piston, the bottom of the bracket is fixedly connected with a roller, the front end of the iron plate is fixedly connected with an internal thread pipe, and the internal thread pipe spiral A screw is connected with a screw, the surface of the end of the screw is contacted with a spindle, the top of the screw is fixedly connected with a handle, the rectangular suction groove is fixedly connected with a plastic hose, the bottom of the middle bracket of the device shell There is a central hole at the end, and the central hole is in contact with the end of the plastic hose, and the bottom of the device shell is provided with an exhaust hole. The present invention completes the function of cleaning cotton dust through the plastic hose, air pump and filter screen. Promotional use.
Description
技术领域technical field
本发明涉及纺纱保养技术领域,具体为一种棉纱线生产用纱锭储存装置。The invention relates to the technical field of spinning maintenance, in particular to a spindle storage device for cotton yarn production.
背景技术Background technique
纱锭是纺纱机上用来把纤维捻成纱并绕成一定形状的部件,用来加工棉纱制品,但在平时机械加工过程中会产生大量的棉尘。The spindle is a part on the spinning machine used to twist the fiber into yarn and wind it into a certain shape. It is used to process cotton yarn products, but a large amount of cotton dust will be generated during the usual mechanical processing.
棉尘是在加工处理期间存在于大气中的粉尘,包括研碎的棉株各部分的碎屑以及纤维在纺织加工过程中,一部分会成为飞花或中粗杂质飘浮于车间内,上下乱窜,污染环境,沾污机器与制品,防碍运转与操作,恶化加工性能,降低产品质量,并对车间内的空调与照明妨碍甚大,严重者还会引起火灾和爆炸,因此,针对上述问题提出一种棉纱线生产用纱锭储存装置。Cotton dust is the dust that exists in the atmosphere during processing, including the debris of each part of the ground cotton plant and the fiber. During the textile processing process, some of them will become flying flowers or medium and coarse impurities floating in the workshop, scurrying up and down, It pollutes the environment, contaminates machines and products, hinders operation and operation, deteriorates processing performance, reduces product quality, and greatly hinders air conditioning and lighting in the workshop. In severe cases, it will cause fire and explosion. Therefore, a proposal is made to address the above problems. Spindle storage device for cotton yarn production.
发明内容Contents of the invention
本发明的目的在于提供一种棉纱线生产用纱锭储存装置,以解决上述背景技术中提出的问题。The object of the present invention is to provide a spindle storage device for cotton yarn production, so as to solve the problems raised in the above-mentioned background technology.
为实现上述目的,本发明提供如下技术方案:To achieve the above object, the present invention provides the following technical solutions:
一种棉纱线生产用纱锭储存装置,包括装置外壳以及铁板,所述装置外壳的顶端内侧固定连接有铁板,所述铁板的左端面、右端面、底端面以及装置外壳的顶端面均固定连接有矩形吸槽,所述装置外壳的一端外侧螺旋连接有橡胶活塞,所述装置外壳的右端固定连接有圆柱把手,所述装置外壳右端固定连接有外接电源,所述装置外壳的底端固定连接有支架,所述支架的底端固定连接有滚轮,所述铁板的前端面固定连接有内螺纹管,所述内螺纹管外侧螺旋连接有螺杆丝杠,所述螺杆丝杠前端面接触连接有纱锭,所述螺杆丝杠的前端固定连接有旋柄,所述矩形吸槽连通有塑料软管,所述装置外壳底端内侧固定连接有过滤网,所述装置外壳底端内侧固定连接有风泵,所述装置外壳中层支架底端开设有中心孔,且中心孔与塑料软管的末端接触连接,所述装置外壳底端开设有排气孔。A spindle storage device for cotton yarn production, comprising a device housing and an iron plate, an iron plate is fixedly connected to the inside of the top end of the device housing, the left end face, right end face, bottom end face of the iron plate and the top end face of the device housing are all A rectangular suction slot is fixedly connected, a rubber piston is screw-connected to the outside of one end of the device housing, a cylinder handle is fixedly connected to the right end of the device housing, an external power supply is fixedly connected to the right end of the device housing, and the bottom end of the device housing A bracket is fixedly connected, the bottom end of the bracket is fixedly connected with a roller, the front end of the iron plate is fixedly connected with an internally threaded pipe, and the outer side of the internally threaded pipe is spirally connected with a screw screw, and the front end of the screw screw is The spindle is connected in contact, the front end of the screw screw is fixedly connected with a handle, the rectangular suction groove is connected with a plastic hose, the inside of the bottom end of the device shell is fixedly connected with a filter net, and the inside of the bottom end of the device shell is fixed An air pump is connected, a central hole is provided at the bottom of the middle bracket of the device shell, and the central hole is connected with the end of the plastic hose, and an exhaust hole is provided at the bottom of the device shell.
优选的,所述装置外壳底端开设有排气孔。Preferably, an air vent is provided at the bottom of the device housing.
优选的,所述过滤网与风泵各有两个,且对称分布在装置外壳底端面中轴线的两侧。Preferably, there are two filters and two air pumps, and they are symmetrically distributed on both sides of the central axis of the bottom end surface of the device housing.
优选的,所述滚轮与支架各有六个,且呈两行三列均匀分布在装置外壳的底端面下方。Preferably, there are six rollers and six supports each, and they are evenly distributed below the bottom surface of the device housing in two rows and three columns.
优选的,所述橡胶活塞共有两个,且对称分布在装置外壳的左右两端底部位置处。Preferably, there are two rubber pistons, which are symmetrically distributed at the bottom positions of the left and right ends of the device housing.
与现有技术相比,本发明的有益效果是:Compared with prior art, the beneficial effect of the present invention is:
1、本发明中,通过设置的风泵、过滤网、矩形吸槽、塑料软管以及橡胶活塞,可以通过风泵产生负压带动矩形吸槽吸收周围空气的棉尘并输送给塑料软管,由于棉尘絮状物不能通过过滤网,棉尘会在过滤网一侧沉积,可通过打开橡胶活塞将已沉积的棉尘取出处理。1. In the present invention, through the provided air pump, filter screen, rectangular suction groove, plastic hose and rubber piston, the negative pressure generated by the air pump can drive the rectangular suction groove to absorb the cotton dust in the surrounding air and transport it to the plastic hose. Since the cotton dust flocs cannot pass through the filter screen, the cotton dust will be deposited on one side of the filter screen, and the deposited cotton dust can be taken out by opening the rubber piston for disposal.
2、本发明中,通过设置的滚轮、圆柱把手、旋柄、螺杆丝杠以及内螺纹管,可以在纱锭运输储存时使用旋柄调整螺杆丝杠与内螺纹管的螺旋间距将纱锭固定,避免掉落沾染灰尘影响产品质量,极大提高了装置的实用性和可靠性。2. In the present invention, through the provided rollers, cylindrical handles, handles, screw leads and internally threaded pipes, the spindles can be fixed by using the handles to adjust the helical pitch between the screw leads and the internally threaded pipes during transportation and storage of the spindles, avoiding Dropped and contaminated with dust affects product quality, which greatly improves the practicability and reliability of the device.
附图说明Description of drawings
图1为本发明的整体结构示意图;Fig. 1 is the overall structure schematic diagram of the present invention;
图2为本发明图1的侧面结构示意图;Fig. 2 is the side structure schematic diagram of Fig. 1 of the present invention;
图3为本发明图2的A处结构示意图;Fig. 3 is a structural schematic diagram of place A of Fig. 2 of the present invention;
图4为本发明图1的B处结构示意图;Fig. 4 is the structural schematic diagram of place B of Fig. 1 of the present invention;
图5为本发明图1的C处结构示意图;Fig. 5 is a schematic structural diagram at C of Fig. 1 of the present invention;
图6为本发明图1显示中心孔的结构示意图。Fig. 6 is a schematic diagram showing the structure of the center hole shown in Fig. 1 of the present invention.
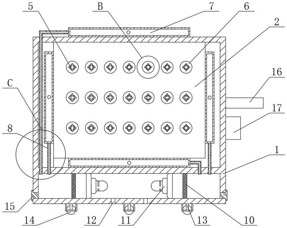
图中:1-装置外壳、2-铁板、3-内螺纹管、4-螺杆丝杠、5-旋柄、6-纱锭、7-矩形吸槽、8-塑料软管、9-中心孔、10-过滤网、11-风泵、12-排气孔、13-支架、14-滚轮、15-橡胶活塞、16-圆柱把手、17-外接电源。In the figure: 1-device shell, 2-iron plate, 3-internal threaded pipe, 4-screw screw, 5-handle, 6-spindle, 7-rectangular suction groove, 8-plastic hose, 9-center hole , 10-filter, 11-air pump, 12-exhaust hole, 13-bracket, 14-roller, 15-rubber piston, 16-cylindrical handle, 17-external power supply.
具体实施方式Detailed ways
下面将结合本发明实施例中的附图,对本发明实施例中的技术方案进行清楚、完整地描述,显然,所描述的实施例仅仅是本发明一部分实施例,而不是全部的实施例。基于本发明中的实施例,本领域普通技术人员在没有做出创造性劳动前提下所获得的所有其他实施例,都属于本发明保护的范围。The following will clearly and completely describe the technical solutions in the embodiments of the present invention with reference to the accompanying drawings in the embodiments of the present invention. Obviously, the described embodiments are only some, not all, embodiments of the present invention. Based on the embodiments of the present invention, all other embodiments obtained by persons of ordinary skill in the art without making creative efforts belong to the protection scope of the present invention.
请参阅图1-6,本发明提供一种技术方案:Referring to Fig. 1-6, the present invention provides a technical solution:
一种棉纱线生产用纱锭储存装置,包括装置外壳1以及铁板2,装置外壳1的顶端内侧固定连接有铁板2,铁板2的左端面、右端面、底端面以及装置外壳1的顶端面均固定连接有矩形吸槽7,装置外壳1的一端外侧螺旋连接有橡胶活塞15,橡胶活塞15用来取出沉积的棉尘,装置外壳1的右端固定连接有圆柱把手16,装置外壳1右端固定连接有外接电源17,装置外壳1的底端固定连接有支架13,支架13的底端固定连接有滚轮14,滚轮14以及圆柱把手16使得装置在运输过程更加稳定和省力,铁板2的前端面固定连接有内螺纹管3,内螺纹管3外侧螺旋连接有螺杆丝杠4,螺杆丝杠4前端面接触连接有纱锭6,螺杆丝杠4的前端固定连接有旋柄5,矩形吸槽7连通有塑料软管8,装置外壳1底端内侧固定连接有过滤网10,装置外壳1底端内侧固定连接有风泵11,风泵11在工作时产生负压吸收棉尘絮状物,装置外壳1中层支架底端开设有中心孔9,中心孔9与塑料软管8的末端接触连接,装置外壳1底端开设有排气孔12,排气孔12用来将风泵11工作时的空气排出。A spindle storage device for cotton yarn production, comprising a
装置外壳1底端开设有排气孔12;过滤网10与风泵11各有两个,对称分布在装置外壳1底端面中轴线的两侧;滚轮14与支架13各有六个,呈两行三列均匀分布在装置外壳1的底端面下方;橡胶活塞15共有两个,对称分布在装置外壳1的左右两端底部位置处;风泵11、过滤网10、矩形吸槽7、塑料软管8以及橡胶活塞15,可以通过风泵11产生负压带动矩形吸槽7吸收周围空气的棉尘并输送给塑料软管8,由于棉尘絮状物不能通过过滤网10,棉尘会在过滤网10一侧沉积,可通过打开橡胶活塞15将已沉积的棉尘取出处理;滚轮14、圆柱把手16、旋柄5、螺杆丝杠4以及内螺纹管3,可以在纱锭6运输储存时使用旋柄5调整螺杆丝杠4与内螺纹管3的螺旋间距将纱锭6固定,避免掉落沾染灰尘影响产品质量,极大提高了装置的实用性和可靠性。The bottom end of the
工作流程:本发明在使用之前先通过外接电源17进行供电,使用时将旋柄5旋紧,此时螺杆丝杠4与内螺纹管3的螺纹间距缩小,起到固定纱锭6的作用,在圆柱把手16与滚轮14的作用下快速将整个装置运送到待工作地点,旋松旋柄5,此时螺杆丝杠4与内螺纹管3的螺纹间距增大,纱锭6处于可旋转状态,在生产装置的带动下纱锭6旋转制造棉纺织用品会产生大量的棉尘,风泵11在外接电源17的作用下产生负压通过矩形吸槽7和塑料软管8到达过滤网10,由于棉尘絮状物无法通过过滤网10,会在过滤网10一侧沉积,可通过打开橡胶活塞15将沉积的棉尘取出完成装置的使用过程,风泵11、过滤网10、矩形吸槽7、塑料软管8以及橡胶活塞15,可以通过风泵11产生负压带动矩形吸槽7吸收周围空气的棉尘并输送给塑料软管8,由于棉尘絮状物不能通过过滤网10,棉尘会在过滤网10一侧沉积,可通过打开橡胶活塞15将已沉积的棉尘取出处理,滚轮14、圆柱把手16、旋柄5、螺杆丝杠4以及内螺纹管3,可以在纱锭6运输储存时使用旋柄5调整螺杆丝杠4与内螺纹管3的螺旋间距将纱锭6固定,避免掉落沾染灰尘影响产品质量,极大提高了装置的实用性和可靠性。Work process: the present invention is powered by an
尽管已经示出和描述了本发明的实施例,对于本领域的普通技术人员而言,可以理解在不脱离本发明的原理和精神的情况下可以对这些实施例进行多种变化、修改、替换和变型,本发明的范围由所附权利要求及其等同物限定。Although the embodiments of the present invention have been shown and described, those skilled in the art can understand that various changes, modifications and substitutions can be made to these embodiments without departing from the principle and spirit of the present invention. and modifications, the scope of the invention is defined by the appended claims and their equivalents.
Claims (4)
Priority Applications (1)
| Application Number | Priority Date | Filing Date | Title |
|---|---|---|---|
| CN202010904443.9A CN114108145B (en) | 2020-09-01 | 2020-09-01 | Spindle storage device for cotton yarn production |
Applications Claiming Priority (1)
| Application Number | Priority Date | Filing Date | Title |
|---|---|---|---|
| CN202010904443.9A CN114108145B (en) | 2020-09-01 | 2020-09-01 | Spindle storage device for cotton yarn production |
Publications (2)
| Publication Number | Publication Date |
|---|---|
| CN114108145A CN114108145A (en) | 2022-03-01 |
| CN114108145B true CN114108145B (en) | 2023-05-05 |
Family
ID=80360332
Family Applications (1)
| Application Number | Title | Priority Date | Filing Date |
|---|---|---|---|
| CN202010904443.9A Active CN114108145B (en) | 2020-09-01 | 2020-09-01 | Spindle storage device for cotton yarn production |
Country Status (1)
| Country | Link |
|---|---|
| CN (1) | CN114108145B (en) |
Family Cites Families (5)
| Publication number | Priority date | Publication date | Assignee | Title |
|---|---|---|---|---|
| JPH1052617A (en) * | 1996-08-09 | 1998-02-24 | Kurabo Ind Ltd | Indoor dust removal equipment for textile or textile factories |
| CN107245780A (en) * | 2017-08-12 | 2017-10-13 | 响水县嘉禾纺织制衣有限公司 | A kind of production of colour-spun yarns is with removing cotton dirt reclaimer |
| CN107777133A (en) * | 2017-11-07 | 2018-03-09 | 盐城融凡纺织制衣有限公司 | A kind of spindle storing unit with elevating function |
| CN208899059U (en) * | 2018-08-01 | 2019-05-24 | 吴江琦皓纺织品有限公司 | A kind of fabric fixes device with spindle |
| CN210945890U (en) * | 2019-08-09 | 2020-07-07 | 南通纬纶纺织有限公司 | A kind of cotton-removing dust recovery equipment for color spinning production |
-
2020
- 2020-09-01 CN CN202010904443.9A patent/CN114108145B/en active Active
Also Published As
| Publication number | Publication date |
|---|---|
| CN114108145A (en) | 2022-03-01 |
Similar Documents
| Publication | Publication Date | Title |
|---|---|---|
| CN115196425A (en) | A kind of yarn conveying anti-winding guide structure for textile machine | |
| CN208894823U (en) | A kind of intelligentized Furniture textile machine dust-extraction unit | |
| CN109440334A (en) | A kind of high-performance sizing machine | |
| CN210993608U (en) | Pressure swing adsorption oxygen generating equipment | |
| CN114108145B (en) | Spindle storage device for cotton yarn production | |
| CN208786014U (en) | A kind of weaving dust removal device with waste recovery function | |
| CN207630150U (en) | A kind of cutting equipment with dedusting function | |
| CN208032181U (en) | A kind of efficient dedusting environment friendly equipment | |
| CN207227625U (en) | A kind of pre- cotton carding device | |
| CN209379506U (en) | A kind of carbon fiber surface felt finished surface cleaner | |
| CN110923820B (en) | A water flow ginning machine | |
| CN115247305A (en) | Multifunctional spinning equipment with shockproof and cleaning functions | |
| CN211659493U (en) | Low-pressure pulse cloth bag dust removal equipment capable of reducing flue gas humidity | |
| CN111304805B (en) | Dust removal device for textile machine | |
| CN211536952U (en) | Weaving is with weaving quick-witted weaving dirt collection device | |
| CN116043381B (en) | An automatic spinning machine with high safety factor | |
| CN213866978U (en) | Polyester gauze textile machinery | |
| CN221681289U (en) | A texturizing machine with dust exhaust structure | |
| CN209061664U (en) | A kind of electronic component dust-extraction unit | |
| CN209010679U (en) | A kind of elasticizer dust-extraction unit | |
| CN219586354U (en) | Humidification and atomization cleaning equipment for medical gauze | |
| CN220472097U (en) | Seed processing air-dries device | |
| CN112811482A (en) | Energy-concerving and environment-protective resident drinking water purifies mechanism fast | |
| CN219559438U (en) | Sewage treatment control device for sugarcane sugar-making enterprises | |
| CN214612978U (en) | Big circular knitting machine with dust removing device |
Legal Events
| Date | Code | Title | Description |
|---|---|---|---|
| PB01 | Publication | ||
| PB01 | Publication | ||
| SE01 | Entry into force of request for substantive examination | ||
| SE01 | Entry into force of request for substantive examination | ||
| TA01 | Transfer of patent application right |
Effective date of registration: 20230413 Address after: No. 59 Daxia Road, Zhanghua Town, Shifu Industrial Park, Huarong County, Yueyang City, Hunan Province, 414200 Applicant after: Huarong County Huaqing Textile Co.,Ltd. Address before: 418000 No. 55, Fengshuping, Shengli Street, Anjiang Town, Hongjiang City, Huaihua City, Hunan Province Applicant before: HUNAN HONGJIANG ANDA Co.,Ltd. |
|
| TA01 | Transfer of patent application right | ||
| GR01 | Patent grant | ||
| GR01 | Patent grant | ||
| EE01 | Entry into force of recordation of patent licensing contract |
Application publication date: 20220301 Assignee: HUNAN KELIJIA TEXTILE Co.,Ltd. Assignor: Huarong County Huaqing Textile Co.,Ltd. Contract record no.: X2025980043349 Denomination of invention: A spindle storage device for cotton yarn production Granted publication date: 20230505 License type: Common License Record date: 20251212 |
|
| EE01 | Entry into force of recordation of patent licensing contract |
