CN114102431B - Automatic positioner of metal pot polishing - Google Patents

Automatic positioner of metal pot polishing Download PDF

Info

Publication number
CN114102431B
CN114102431B CN202111462616.7A CN202111462616A CN114102431B CN 114102431 B CN114102431 B CN 114102431B CN 202111462616 A CN202111462616 A CN 202111462616A CN 114102431 B CN114102431 B CN 114102431B
Authority
CN
China
Prior art keywords
disc
fixed
metal pot
hole
pot
Prior art date
Legal status (The legal status is an assumption and is not a legal conclusion. Google has not performed a legal analysis and makes no representation as to the accuracy of the status listed.)
Active
Application number
CN202111462616.7A
Other languages
Chinese (zh)
Other versions
CN114102431A (en
Inventor
陈佐夫
侯咸清
Current Assignee (The listed assignees may be inaccurate. Google has not performed a legal analysis and makes no representation or warranty as to the accuracy of the list.)
Shanghai Carrier Intelligent Technology Co ltd
Original Assignee
Shanghai Carrier Intelligent Technology Co ltd
Priority date (The priority date is an assumption and is not a legal conclusion. Google has not performed a legal analysis and makes no representation as to the accuracy of the date listed.)
Filing date
Publication date
Application filed by Shanghai Carrier Intelligent Technology Co ltd filed Critical Shanghai Carrier Intelligent Technology Co ltd
Priority to CN202111462616.7A priority Critical patent/CN114102431B/en
Publication of CN114102431A publication Critical patent/CN114102431A/en
Application granted granted Critical
Publication of CN114102431B publication Critical patent/CN114102431B/en
Active legal-status Critical Current
Anticipated expiration legal-status Critical

Links

Images

Classifications

    • BPERFORMING OPERATIONS; TRANSPORTING
    • B24GRINDING; POLISHING
    • B24BMACHINES, DEVICES, OR PROCESSES FOR GRINDING OR POLISHING; DRESSING OR CONDITIONING OF ABRADING SURFACES; FEEDING OF GRINDING, POLISHING, OR LAPPING AGENTS
    • B24B41/00Component parts such as frames, beds, carriages, headstocks
    • B24B41/06Work supports, e.g. adjustable steadies
    • BPERFORMING OPERATIONS; TRANSPORTING
    • B24GRINDING; POLISHING
    • B24BMACHINES, DEVICES, OR PROCESSES FOR GRINDING OR POLISHING; DRESSING OR CONDITIONING OF ABRADING SURFACES; FEEDING OF GRINDING, POLISHING, OR LAPPING AGENTS
    • B24B49/00Measuring or gauging equipment for controlling the feed movement of the grinding tool or work; Arrangements of indicating or measuring equipment, e.g. for indicating the start of the grinding operation
    • B24B49/12Measuring or gauging equipment for controlling the feed movement of the grinding tool or work; Arrangements of indicating or measuring equipment, e.g. for indicating the start of the grinding operation involving optical means
    • BPERFORMING OPERATIONS; TRANSPORTING
    • B24GRINDING; POLISHING
    • B24BMACHINES, DEVICES, OR PROCESSES FOR GRINDING OR POLISHING; DRESSING OR CONDITIONING OF ABRADING SURFACES; FEEDING OF GRINDING, POLISHING, OR LAPPING AGENTS
    • B24B5/00Machines or devices designed for grinding surfaces of revolution on work, including those which also grind adjacent plane surfaces; Accessories therefor
    • B24B5/35Accessories
    • BPERFORMING OPERATIONS; TRANSPORTING
    • B24GRINDING; POLISHING
    • B24BMACHINES, DEVICES, OR PROCESSES FOR GRINDING OR POLISHING; DRESSING OR CONDITIONING OF ABRADING SURFACES; FEEDING OF GRINDING, POLISHING, OR LAPPING AGENTS
    • B24B5/00Machines or devices designed for grinding surfaces of revolution on work, including those which also grind adjacent plane surfaces; Accessories therefor
    • B24B5/36Single-purpose machines or devices

Landscapes

  • Engineering & Computer Science (AREA)
  • Mechanical Engineering (AREA)
  • Grinding And Polishing Of Tertiary Curved Surfaces And Surfaces With Complex Shapes (AREA)
  • Constituent Portions Of Griding Lathes, Driving, Sensing And Control (AREA)

Abstract

The invention relates to an automatic metal pot polishing positioner, which is suitable for the field of machining. In order to solve the problem that the traditional metal pot is low in efficiency by manual grinding, the metal pot grinding machine comprises an upper part and a lower part, wherein the axes of the fixed parts of the upper part and the lower part are superposed; after the upper part or the lower part fixes the bottom surface of the metal pot, the upper part or the lower part moves along the axis, so that the metal pot is transferred to the lower part or the upper part, and the lower part or the upper part fixes the other bottom surface of the metal pot; the metal pot is adjusted to be concentric through the upper disc and the lower disc, the metal pot is fixed through the vacuum pump, and the motor is arranged to enable the metal pot to rotate around the axis of the metal pot. Can effectively fix the metal pot so that polish, can realize that the metal pot shifts in order to adapt to polishing on two inside and outside surfaces, can accurate adjustment metal pot position avoid off-centre, the efficiency of polishing promotes greatly, and disc decentraction about can in time discovering can carry out initial phase location to the metal pot and polish with the pertinence that adapts to polishing robot to the pot ear of metal pot.

Description

一种金属锅打磨自动化变位机An automatic positioner for grinding metal pots

技术领域technical field

本发明涉及机械加工领域,具体而言为一种金属锅打磨自动化变位机。The invention relates to the field of mechanical processing, in particular to an automatic positioner for grinding metal pots.

背景技术Background technique

金属锅,尤其是铝锅,在生产过程中需要对内外表面进行打磨。传统的打磨方法为人工手持打磨头打磨,在用人成本日益增长的当前,这一方法的经济优势不再明显,效率方面的劣势在与自动化生产线的竞争中暴露无遗。Metal pans, especially aluminum pans, require grinding of the inner and outer surfaces during the production process. The traditional grinding method is manual grinding with a hand-held grinding head. With the increasing cost of labor, the economic advantages of this method are no longer obvious, and the disadvantages in efficiency are fully exposed in the competition with automated production lines.

金属锅独特的形状决定其打磨过程难以一次性完成,至少需要分内表面和外表面两个过程进行打磨。锅整体上为圆柱形或者圆台形,轴心在锅的底面,包括内底面和外底面,故为了方便打磨,最优化的方案是在旋转打磨外表面时固定住内底面,在旋转打磨内表面时固定住外底面。期间要解决的问题是如何牢牢固定住内外底面,如何将金属锅变位从而实现由固定住一个底面转为固定住另一个底面,如何保证固定内外底面时固定装置的轴心与锅的轴心重合,以及,出于提高效率等方面的考虑,保证上下固定装置的轴心重合。The unique shape of the metal pot determines that it is difficult to complete the polishing process at one time, and at least it needs to be polished in two processes, the inner surface and the outer surface. The pot is cylindrical or frustum-shaped as a whole, and the axis is on the bottom of the pot, including the inner and outer bottoms. Therefore, in order to facilitate grinding, the optimal solution is to fix the inner bottom when rotating and grinding the outer surface, and then rotate and polish the inner surface. while holding the outer bottom surface in place. The problems to be solved during the period are how to firmly fix the inner and outer bottom surfaces, how to change the position of the metal pot so as to change from fixing one bottom surface to fixing the other bottom surface, and how to ensure the axis of the fixing device and the axis of the pot when fixing the inner and outer bottom surfaces coincidence, and, for the consideration of improving efficiency, etc., ensure that the axes of the upper and lower fixing devices coincide.

发明内容Contents of the invention

本发明的目的是实现金属锅打磨过程中内外底面的固定以及由一个底面的固定转为另一个底面的固定的变位,保证固定装置的轴心与金属锅轴心的重合。The purpose of the present invention is to realize the fixation of the inner and outer bottom surfaces and the displacement from the fixing of one bottom surface to the fixing of the other bottom surface during the grinding process of the metal pan, so as to ensure that the axis of the fixing device coincides with the axis of the metal pan.

本发明的具体技术方案如下:Concrete technical scheme of the present invention is as follows:

一种金属锅打磨自动化变位机,包括上部和下部,所述上部和所述下部的固定部分的轴心重合;所述上部或所述下部将金属锅的底面固定后,所述上部或所述下部沿着轴心移动,从而将金属锅转移至所述下部或所述上部,所述下部或所述上部再将金属锅的另一底面固定。An automatic positioner for metal pan grinding, comprising an upper part and a lower part, the axes of the fixed parts of the upper part and the lower part coincide; after the upper part or the lower part fixes the bottom surface of the metal pot, the upper part or the lower part The lower part moves along the axis, thereby transferring the metal pot to the lower part or the upper part, and the lower part or the upper part fixes the other bottom surface of the metal pot.

注:所述上部和所述下部的固定部分的轴心重合,保证金属锅从一个固定部分转移至另一个固定部分时不会偏移。Note: The axes of the fixed parts of the upper part and the lower part are coincident to ensure that the metal pan will not be shifted when it is transferred from one fixed part to another.

所述下部包括下圆盘、下真空管和升降气缸,所述下真空管的上端口穿过所述下圆盘,下端口连接真空泵,所述升降气缸的底端位于底座上,所述升降气缸的上端控制所述下圆盘和所述下真空管升降;所述上部包括上圆盘、上真空管和固定支架,所述上真空管的一端穿过所述上圆盘,另一端连接真空泵,所述固定支架包括水平固定支架和竖直固定支架,所述上圆盘的上表面与所述水平固定支架相连接,所述水平固定支架与所述竖直固定支架的上部连接,所述竖直固定支架的下端与所述底座相连接。The lower part includes a lower disc, a lower vacuum tube and a lift cylinder, the upper port of the lower vacuum tube passes through the lower disc, the lower port is connected to a vacuum pump, the bottom end of the lift cylinder is located on the base, and the lift cylinder The upper end controls the lifting of the lower disc and the lower vacuum tube; the upper part includes an upper disc, an upper vacuum tube and a fixed bracket, one end of the upper vacuum tube passes through the upper disc, and the other end is connected to a vacuum pump. The support includes a horizontal fixing bracket and a vertical fixing bracket, the upper surface of the upper disc is connected with the horizontal fixing bracket, the horizontal fixing bracket is connected with the upper part of the vertical fixing bracket, and the vertical fixing bracket The lower end is connected to the base.

注:优选方案为金属锅先通过下部进行固定打磨,然后通过升降气缸将金属锅转移到上部对另一个表面进行打磨;固定方式选择为抽真空,通过大气压将金属锅固定在上下圆盘上,压力足够保证在高速打磨的过程中金属锅不至于偏移或者脱落,同时避免机械结构刚性固定对金属锅表面造成剐蹭等形变及损坏。Note: The preferred solution is that the metal pot is fixed and polished through the lower part first, and then the metal pot is transferred to the upper part through the lifting cylinder to polish another surface; the fixing method is selected as vacuuming, and the metal pot is fixed on the upper and lower discs by atmospheric pressure. The pressure is sufficient to ensure that the metal pot will not shift or fall off during the high-speed grinding process, and at the same time avoid the deformation and damage caused by the rigid fixation of the mechanical structure to the surface of the metal pot.

所述上圆盘与所述水平固定支架一起绕着所述水平固定支架和所述竖直固定支架之间的连接轴旋转;所述竖直固定支架的中部有辅助支架,所述下真空管穿过所述辅助支架。The upper disk and the horizontal fixed bracket rotate around the connecting shaft between the horizontal fixed bracket and the vertical fixed bracket; there is an auxiliary bracket in the middle of the vertical fixed bracket, and the lower vacuum tube passes through through the auxiliary bracket.

注:所述上圆盘与所述水平固定支架一起绕着所述水平固定支架和所述竖直固定支架之间的连接轴旋转180度有利于打磨机器人从上向下打磨金属锅,这时金属锅在重力和大气压力的共同作用下固定在上圆盘上,更加牢固;所述上圆盘与所述水平固定支架一起绕着所述水平固定支架和所述竖直固定支架之间的连接轴旋转90度有利于打磨机器人打磨锅耳(锅上边沿两个抓手)以及一些边角部位;辅助支架加固下部。Note: the upper disk and the horizontal fixed bracket rotate 180 degrees around the connecting shaft between the horizontal fixed bracket and the vertical fixed bracket to help the grinding robot grind the metal pot from top to bottom. The metal pot is fixed on the upper disk under the joint action of gravity and atmospheric pressure, which is more firm; the upper disk and the horizontal fixing bracket surround the gap between the horizontal fixing bracket and the vertical fixing bracket. Rotating the connecting shaft by 90 degrees is beneficial for the grinding robot to polish the pot ears (two grippers on the upper edge of the pot) and some corners; the auxiliary bracket reinforces the lower part.

所述上圆盘和/或所述下圆盘绕着轴心旋转。The upper disk and/or the lower disk rotate around the axis.

注:目的是提高打磨效率,如此一来即使打磨机器人不动,仅凭上下圆盘带动金属锅体旋转,也可以加快打磨速度。旋转时要求金属锅不能偏心,否则容易被甩出,所以需要下圆盘的圆台形设计以及上圆盘的缩放单元调整同心。Note: The purpose is to improve the grinding efficiency. In this way, even if the grinding robot does not move, only the upper and lower discs drive the metal pot body to rotate, and the grinding speed can be accelerated. When rotating, it is required that the metal pot should not be eccentric, otherwise it will be easily thrown out, so the frustum-shaped design of the lower disc and the scaling unit of the upper disc should be adjusted to be concentric.

所述上圆盘和/或所述下圆盘的与金属锅底相接触的表面的边沿有橡胶圈。There is a rubber ring on the edge of the surface of the upper disc and/or the lower disc that is in contact with the bottom of the metal pan.

注:橡胶圈增强密封性,进而使得真空泵能够在圆盘盘面和锅底之间达到更高的真空度,使得金属锅更加牢固地吸附在圆盘上。Note: The rubber ring enhances the sealing, which in turn allows the vacuum pump to achieve a higher vacuum between the disc surface and the bottom of the pot, making the metal pot more firmly adsorbed on the disc.

所述下圆盘呈上小下大的圆台形。The lower disc is in the shape of a truncated cone with a small top and a big bottom.

注:优选方案为金属锅倒放在传送带上,然后在一水平力的作用下移动到下圆盘上,在重力的作用下倒扣的金属锅下落直至金属锅的内底面接触到下圆盘的盘面,下圆盘呈上小下大的圆台形,则有助于精准定位,不会使得金属锅偏离轴心,若金属锅为上大下小形,且圆台的侧面与金属锅的侧表面相贴合,则更加有助于精准定位。Note: The preferred solution is to put the metal pot upside down on the conveyor belt, and then move it to the lower disc under the action of a horizontal force, and the inverted metal pot falls under the action of gravity until the inner bottom surface of the metal pot touches the lower disc The lower disc is in the shape of a circular platform with a small top and a large bottom, which is helpful for accurate positioning and will not make the metal pot deviate from the axis. It is more helpful for precise positioning.

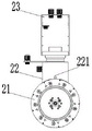
所述辅助支架的上表面有激光发射器,所述水平固定支架的下表面有激光检测器,所述激光检测器安装在一通道顶部,在所述水平固定支架及其下端的上圆盘保持水平且激光没有被遮挡时,所述激光发射器发射的激光能够通过所述通道从而被所述激光检测器检测到;所述通道的侧面联通有气道,气体从所述气道进入所述通道内,将通道内的异物排出。There is a laser emitter on the upper surface of the auxiliary bracket, and a laser detector on the lower surface of the horizontal fixed bracket. The laser detector is installed on the top of a channel, and the upper disc on the horizontal fixed bracket and its lower When the laser is horizontal and the laser is not blocked, the laser emitted by the laser emitter can pass through the channel and be detected by the laser detector; the side of the channel is communicated with an air channel, and the gas enters the In the channel, the foreign matter in the channel is discharged.

注:激光发射器和激光检测器相互配合,作用一:确保上下圆盘的轴心重合,要求通道直径小,则轴心与竖直线稍微有所偏差就会导致激光检测器检测不到激光,随即可以进行用水平仪进行进一步校准具体直径大小视对精度的要求情况而定;作用二:协助对金属锅的初始相位进行调整,因为金属锅的上边沿有两个突出的锅耳,导致这一部分圆周的铝锅外表面不能像其他部分一样通过金属锅自身旋转进行完整一周的打磨,而需要另行设计机器人打磨程序进行单独的打磨,这就要求对金属锅锅耳的初始位置进行确定,激光穿过锅耳所在的圆周,金属锅缓慢绕轴旋转,当激光检测器感受到激光从无到有或者从有到无的变化时,即可确认金属锅位置。长期使用,通道可能被灰尘等异物堵塞,气道可以定期向其中喷气以清理通道,避免影响激光检测器感受激光。Note: The laser emitter and the laser detector cooperate with each other, and the first function is to ensure that the axes of the upper and lower discs coincide, and the diameter of the channel is required to be small. A slight deviation between the axis and the vertical line will cause the laser detector to fail to detect the laser. , and then you can use a level for further calibration. The specific diameter depends on the requirements for accuracy; Function 2: Assist in adjusting the initial phase of the metal pot, because there are two protruding pot ears on the upper edge of the metal pot. The outer surface of a part of the circumference of the aluminum pot cannot be polished for a complete circle by the rotation of the metal pot itself like other parts, but it is necessary to design a robot grinding program for separate grinding, which requires the determination of the initial position of the metal pot ear. Laser Passing through the circle where the ears of the pot are located, the metal pot slowly rotates around the axis. When the laser detector senses the change of the laser light from nothing to presence or from presence to absence, the position of the metal pan can be confirmed. Long-term use, the channel may be blocked by foreign matter such as dust, the air channel can be regularly sprayed into it to clean the channel, so as to avoid affecting the laser detector to feel the laser.

所述上圆盘包括固定盘、缩放盘和吸附盘,所述缩放盘在所述固定盘与所述吸附盘之间,所述固定盘、所述缩放盘和所述吸附盘同心,所述固定盘的边沿和所述吸附盘的边沿固定连接;所述固定盘上固定有缩放气缸,所述缩放气缸的固定端固定在所述固定盘上,所述缩放气缸的活动端固定在所述缩放盘上;所述吸附盘上有径向通孔,所述缩放盘上有斜向通孔,所述径向通孔的位置与所述斜向通孔的位置相对应;有轴向连接轴穿过所述径向通孔和所述斜向通孔,所述轴向连接轴沿着径向在所述径向通孔中移动,同时也在所述斜向通孔中移动;所述轴向连接轴穿出所述缩放盘的一端有凸起;所述固定盘上有固定轴,所述固定轴与所述轴向连接轴之间通过连接件活动连接;一个所述轴向连接轴、一个所述固定轴、一个所述连接件、一个所述径向通孔和一个所述斜向通孔构成一套缩放单元。The upper disk includes a fixed disk, a zoom disk and a suction disk, the zoom disk is between the fixed disk and the suction disk, the fixed disk, the zoom disk and the suction disk are concentric, the The edge of the fixed plate is fixedly connected with the edge of the suction plate; the fixed plate is fixed with a zoom cylinder, the fixed end of the zoom cylinder is fixed on the fixed plate, and the movable end of the zoom cylinder is fixed on the On the zoom disk; there is a radial through hole on the suction disk, and there is an oblique through hole on the zoom disk, and the position of the radial through hole corresponds to the position of the oblique through hole; there is an axial connection A shaft passes through the radial through hole and the oblique through hole, and the axial connection shaft moves in the radial through hole along the radial direction, and also moves in the oblique through hole; the shaft There is a protrusion at one end of the connecting shaft passing through the zoom disk; there is a fixed shaft on the fixed disk, and the fixed shaft and the axial connecting shaft are movably connected by a connecting piece; one of the axial connecting shafts , one of the fixed shafts, one of the connecting pieces, one of the radial through holes and one of the oblique through holes constitute a set of scaling units.

注:由于上圆盘在固定金属锅时,金属锅是倒挂在上圆盘上的,大气压力和锅的重力相反,所以需要辅助加固,缩放单元向内收缩可以起到这一作用。此外,缩放单元还可以纠正偏心,几个凸起同时同距离向内收缩,将原本偏心的锅体纠正到以轴心为圆心。Note: When the upper disc is fixing the metal pot, the metal pot is hung upside down on the upper disc, and the atmospheric pressure is opposite to the gravity of the pot, so auxiliary reinforcement is needed, and the scaling unit can shrink inwards to play this role. In addition, the zoom unit can also correct the eccentricity, and several protrusions shrink inward at the same distance at the same time, correcting the original eccentric pot body to the axis as the center.

至少有三套缩放单元。There are at least three sets of scaling units.

注:至少三个点同时收缩才能够夹紧锅体。Note: At least three points shrink at the same time to be able to clamp the pot body.

有益效果:可以有效固定金属锅以便于打磨,可以实现金属锅变位以适应内外两个表面的打磨,可以精准调整金属锅位置避免偏心,打磨效率大大提升,可以及时发现上下圆盘不同心,可以针对金属锅的锅耳对金属锅进行初始相位定位以适应打磨机器人的针对性打磨。Beneficial effects: the metal pot can be effectively fixed for grinding, the displacement of the metal pot can be realized to adapt to the grinding of the inner and outer surfaces, the position of the metal pot can be precisely adjusted to avoid eccentricity, the grinding efficiency is greatly improved, and the upper and lower discs can be found out in time. The initial phase positioning of the metal pot can be carried out for the ear of the metal pot to adapt to the targeted grinding of the grinding robot.

附图说明Description of drawings

图1是一种金属锅打磨自动化变位机立体图。Fig. 1 is a perspective view of an automatic positioner for grinding metal pans.

图2是一种金属锅打磨自动化变位机左视图。Fig. 2 is a left view of an automatic positioner for grinding metal pans.

图3是一种金属锅打磨自动化变位机的上部的立体图。Fig. 3 is a perspective view of the upper part of an automatic positioner for grinding metal pans.

图4是一种金属锅打磨自动化变位机的上部的仰视图。Fig. 4 is a bottom view of the upper part of a metal pan grinding automatic positioner.

图5是上圆盘的吸附盘方向示意图。Fig. 5 is a schematic diagram of the direction of the adsorption disc of the upper disc.

图6是上圆盘将固定盘去除后的仰视图。Fig. 6 is a bottom view of the upper disk with the fixed disk removed.

图7是上圆盘将固定盘去除后的立体图。Fig. 7 is a perspective view of the upper disk with the fixed disk removed.

图8是上圆盘将固定盘、缩放盘去除后的仰视图。Fig. 8 is a bottom view of the upper disk with the fixed disk and zoom disk removed.

图9是上圆盘将固定盘、缩放盘去除后的立体图。Fig. 9 is a perspective view of the upper disk with the fixed disk and zoom disk removed.

图10是下部去除升降气缸后剩余部分的立体图。Fig. 10 is a perspective view of the remaining part after the lifting cylinder is removed from the lower part.

图11是下部去除升降气缸后剩余部分的仰视图。Fig. 11 is a bottom view of the remaining part after removing the lifting cylinder in the lower part.

图12是下部去除升降气缸后剩余部分的右视图。Fig. 12 is a right side view of the remaining part after removing the lifting cylinder in the lower part.

上圆盘21、径向通孔211、凸起212、橡胶圈213、斜向通孔214、缩放气缸215、固定轴216、连接件217、水平固定支架22、激光检测器221、竖直固定支架23、辅助支架231、激光发射器2311、下圆盘31、升降气缸32、下电机33、升降气缸连接部34、下真空管35。Upper disc 21, radial through hole 211, protrusion 212, rubber ring 213, oblique through hole 214, scaling cylinder 215, fixed shaft 216, connector 217, horizontal fixing bracket 22, laser detector 221, vertical fixing Support 23, auxiliary support 231, laser emitter 2311, lower disc 31, lifting cylinder 32, lower motor 33, lifting cylinder connecting portion 34, lower vacuum tube 35.

具体实施方式Detailed ways

实施例一:Embodiment one:

如图1、2,一种金属锅打磨自动化变位机,包括上部(如图3、4)和下部(如图10、11、12),所述上部和所述下部的固定部分的轴心重合;所述上部或所述下部将金属锅的底面固定后,所述上部或所述下部沿着轴心移动,从而将金属锅转移至所述下部或所述上部,所述下部或所述上部再将金属锅的另一底面固定。As shown in Figures 1 and 2, an automatic positioner for grinding metal pans includes an upper part (as shown in Figures 3 and 4) and a lower part (as shown in Figures 10, 11 and 12), and the axes of the fixed parts of the upper part and the lower part Coincident; after the upper part or the lower part fixes the bottom surface of the metal pot, the upper part or the lower part moves along the axis, thereby transferring the metal pot to the lower part or the upper part, and the lower part or the The other bottom surface of the metal pot is fixed by the upper part.

本实施例针对金属锅圆形内凹形状,选择以其轴心所通过的内外底面为固定点,固定时更为稳定牢固,便于金属锅或打磨机器人旋转打磨。In this embodiment, for the circular concave shape of the metal pot, the inner and outer bottom surfaces through which the axis passes are selected as the fixing point, which is more stable and firm when fixed, and is convenient for the metal pot or the grinding robot to rotate and polish.

实施例二:Embodiment two:

在实施例一的基础上,所述下部包括下圆盘31、下真空管35和升降气缸32,所述下真空管35的上端口穿过所述下圆盘31,下端口连接真空泵,所述升降气缸32的底端位于底座上,所述升降气缸32的上端控制所述下圆盘31和所述下真空管35升降;所述上部(如图3、4)包括上圆盘21(如图5、6、7、8)、上真空管和固定支架,所述上真空管的一端穿过所述上圆盘21,另一端连接真空泵,所述固定支架包括水平固定支架22和竖直固定支架23,所述上圆盘21的上表面与所述水平固定支架22相连接,所述水平固定支架22与所述竖直固定支架23的上部连接,所述竖直固定支架23的下端与所述底座相连接。On the basis of Embodiment 1, the lower part includes a lower disc 31, a lower vacuum tube 35, and a lift cylinder 32. The upper port of the lower vacuum tube 35 passes through the lower disc 31, and the lower port is connected to a vacuum pump. The bottom end of the cylinder 32 is located on the base, and the upper end of the lifting cylinder 32 controls the lifting of the lower disc 31 and the lower vacuum tube 35; , 6, 7, 8), an upper vacuum tube and a fixed bracket, one end of the upper vacuum tube passes through the upper disc 21, and the other end is connected to a vacuum pump, and the fixed bracket includes a horizontal fixed bracket 22 and a vertical fixed bracket 23, The upper surface of the upper disc 21 is connected with the horizontal fixed bracket 22, the horizontal fixed bracket 22 is connected with the top of the vertical fixed bracket 23, and the lower end of the vertical fixed bracket 23 is connected with the base connected.

当然,还可以在上部安装另一个升降气缸,控制上圆盘21上下移动。Certainly, another lift cylinder can also be installed on the top to control the upper disk 21 to move up and down.

实施例三:Embodiment three:

在实施例二的基础上,所述上圆盘21与所述水平固定支架22在第二上电机的作用下一起绕着所述水平固定支架22和所述竖直固定支架23之间的连接轴旋转;所述竖直固定支架23的中部有辅助支架231,所述下真空管35穿过所述辅助支架35。On the basis of the second embodiment, the upper disk 21 and the horizontal fixed bracket 22 are together around the connection between the horizontal fixed bracket 22 and the vertical fixed bracket 23 under the action of the second upper motor. The axis rotates; the middle part of the vertical fixed bracket 23 has an auxiliary bracket 231, and the lower vacuum tube 35 passes through the auxiliary bracket 35.

本实施例进一步增强设备的稳固性,同时提供更多打磨角度选择。This embodiment further enhances the stability of the equipment and provides more options for grinding angles.

实施例四:Embodiment four:

在实施例二的基础上,所述上圆盘21和/或所述下圆盘31绕着轴心(上下圆盘共同的轴心)旋转。如图10、11、12,以下电机33为例,下电机33的旋转轴与下圆盘31的轴线平行,下电机33的动力通过传动装置传递给轴套,所述轴套穿过所述辅助支架231,其中有下真空管35,轴套上端与下圆盘31固定,轴套旋转带动下圆盘31旋转,下电机33外壳上有升降气缸连接部34,用于与升降气缸32上部的活动端连接。On the basis of the second embodiment, the upper disk 21 and/or the lower disk 31 rotate around the axis (the common axis of the upper and lower disks). As shown in Figures 10, 11 and 12, the lower motor 33 is an example, the rotation axis of the lower motor 33 is parallel to the axis of the lower disc 31, and the power of the lower motor 33 is transmitted to the shaft sleeve through the transmission device, and the shaft sleeve passes through the Auxiliary bracket 231, wherein there is lower vacuum tube 35, the upper end of the shaft sleeve is fixed with the lower disc 31, the rotation of the shaft sleeve drives the lower disc 31 to rotate, and the lower motor 33 casing has a lift cylinder connection 34 for connecting with the lift cylinder 32 tops. Active end connection.

本实施例是为了提高打磨效率,让被打磨的金属锅自己旋转,进一步,可以配合打磨装置相向旋转,加快相对摩擦速度。The purpose of this embodiment is to improve the grinding efficiency, so that the polished metal pot can rotate by itself, and further, it can cooperate with the grinding device to rotate in opposite directions to speed up the relative friction speed.

实施例五:Embodiment five:

在实施例二的基础上,所述上圆盘21和/或所述下圆盘31的与金属锅底相接触的表面的边沿有橡胶圈。On the basis of the second embodiment, there is a rubber ring on the edge of the surface of the upper disc 21 and/or the lower disc 31 that is in contact with the metal pan bottom.

本实施例是为了增强密封性。This embodiment is to enhance the sealing.

实施例六:Embodiment six:

在实施例二的基础上,所述下圆盘31呈上小下大的圆台形,如图12所示。On the basis of the second embodiment, the lower disc 31 is in the shape of a truncated cone with a small top and a large bottom, as shown in FIG. 12 .

有利于金属锅的轴心与下圆盘31的轴心重合。It is beneficial for the axis of the metal pan to coincide with the axis of the lower disc 31 .

实施例七:Embodiment seven:

在实施例二的基础上,所述辅助支架231的上表面有激光发射器2311,所述水平固定支架22的下表面有激光检测器221,所述激光检测器221安装在一通道顶部,在所述水平固定支架22及其下端的上圆盘21保持水平且激光没有被遮挡时,所述激光发射器2311发射的激光能够通过所述通道从而被所述激光检测器221检测到;所述通道的侧面联通有气道,气体从所述气道进入所述通道内,将通道内的异物排出。On the basis of Embodiment 2, the upper surface of the auxiliary bracket 231 has a laser emitter 2311, and the lower surface of the horizontal fixed bracket 22 has a laser detector 221, and the laser detector 221 is installed on the top of a channel. When the horizontal fixing bracket 22 and the upper disk 21 at its lower end are kept horizontal and the laser light is not blocked, the laser light emitted by the laser emitter 2311 can pass through the passage and be detected by the laser detector 221; The side of the channel is communicated with an air channel, and gas enters the channel from the air channel to discharge foreign matter in the channel.

实施例八:Embodiment eight:

在实施例二的基础上,所述上圆盘21包括固定盘、缩放盘和吸附盘,所述缩放盘在所述固定盘与所述吸附盘之间,所述固定盘、所述缩放盘和所述吸附盘同心,所述固定盘的边沿和所述吸附盘的边沿固定连接;所述固定盘上固定有缩放气缸215,所述缩放气缸215的固定端固定在所述固定盘上,所述缩放气缸的活动端固定在所述缩放盘上;所述吸附盘上有径向通孔211,所述缩放盘上有斜向通孔214,所述径向通孔211的位置与所述斜向通孔214的位置相对应;有轴向连接轴穿过所述径向通孔211和所述斜向通孔214,所述轴向连接轴沿着径向在所述径向通孔211中移动,同时也在所述斜向通孔214中移动;所述轴向连接轴穿出所述缩放盘的一端有凸起212;所述固定盘上有固定轴216,所述固定轴216与所述轴向连接轴之间通过连接件217活动连接;一个所述轴向连接轴、一个所述固定轴216、一个所述连接件217、一个所述径向通孔211和一个所述斜向通孔214构成一套缩放单元。On the basis of the second embodiment, the upper disk 21 includes a fixed disk, a zoom disk and a suction disk, the zoom disk is between the fixed disk and the suction disk, the fixed disk, the zoom disk Concentric with the suction disk, the edge of the fixed disk is fixedly connected to the edge of the suction disk; a zoom cylinder 215 is fixed on the fixed disk, and the fixed end of the zoom cylinder 215 is fixed on the fixed disk, The movable end of the zoom cylinder is fixed on the zoom disk; there is a radial through hole 211 on the suction disk, and an oblique through hole 214 is arranged on the zoom disk, and the position of the radial through hole 211 is consistent with the The position of the oblique through hole 214 is corresponding; an axial connecting shaft passes through the radial through hole 211 and the oblique through hole 214, and the axial connecting shaft passes through the radial through hole 214 along the radial direction. The hole 211 moves, and also moves in the oblique through hole 214; the end of the axial connection shaft passing through the zoom disk has a protrusion 212; the fixed disk has a fixed shaft 216, and the fixed shaft 216 The axial connecting shaft is connected flexibly by a connecting piece 217; one said axial connecting shaft, one said fixed shaft 216, one said connecting piece 217, one said radial through hole 211 and one said The oblique through holes 214 form a set of scaling units.

实际操作中,上下圆盘的轴心可能会有一定偏差,在下圆盘31将金属锅移动给上圆盘21时,金属锅的轴心与上圆盘21的轴心就会不在一条直线上,金属锅在旋转、打磨过程中就容易被甩飞。缩上圆盘的独特设计,可以自动矫正,保证金属锅的轴心与上圆盘21的轴心就会在一条直线上。In actual operation, the axes of the upper and lower discs may have a certain deviation. When the lower disc 31 moves the metal pot to the upper disc 21, the axis of the metal pot and the axis of the upper disc 21 will not be in a straight line , the metal pan is easily thrown away during the rotation and grinding process. The unique design of shrinking the upper disc can be automatically corrected to ensure that the axis of the metal pot and the axis of the upper disc 21 will be on a straight line.

实施例九:Embodiment nine:

在实施例八的基础上,至少有三套缩放单元。On the basis of the eighth embodiment, there are at least three sets of scaling units.

三套缩放单元可以保证顺利调整金属锅和上圆盘21同心。Three sets of scaling units can ensure smooth adjustment of the concentricity of the metal pot and the upper disc 21 .

以上公开的仅仅是本发明的较佳实施例,但并非用以限制其本身,任何本领域的技术人员在不违背本发明精神内涵的情况下,所作的变化和改动,均应落在本发明的保护范围内。The above disclosures are only preferred embodiments of the present invention, but are not intended to limit itself. Any changes and modifications made by those skilled in the art without violating the spirit of the present invention should fall within the scope of the present invention. within the scope of protection.

Claims (7)

1. An automatic positioner for polishing a metal pot comprises an upper part and a lower part, and is characterized in that the axes of the fixed parts of the upper part and the lower part are superposed; after the upper part or the lower part fixes the bottom surface of the metal pot, the upper part or the lower part moves along the axis, so that the metal pot is transferred to the lower part or the upper part, and the lower part or the upper part fixes the other bottom surface of the metal pot; the lower part comprises a lower disc, a lower vacuum tube and a lifting cylinder, the upper port of the lower vacuum tube penetrates through the lower disc, the lower port of the lower vacuum tube is connected with a vacuum pump, the bottom end of the lifting cylinder is positioned on the base, and the upper end of the lifting cylinder controls the lower disc and the lower vacuum tube to lift; the upper part comprises an upper disc, an upper vacuum tube and a fixed support, one end of the upper vacuum tube penetrates through the upper disc, the other end of the upper vacuum tube is connected with a vacuum pump, the fixed support comprises a horizontal fixed support and a vertical fixed support, the upper surface of the upper disc is connected with the horizontal fixed support, the horizontal fixed support is connected with the upper part of the vertical fixed support, and the lower end of the vertical fixed support is connected with the base; the upper disc comprises a fixed disc, a zooming disc and an adsorption disc, the zooming disc is arranged between the fixed disc and the adsorption disc, the fixed disc, the zooming disc and the adsorption disc are concentric, and the edge of the fixed disc is fixedly connected with the edge of the adsorption disc; a zooming cylinder is fixed on the fixed disc, the fixed end of the zooming cylinder is fixed on the fixed disc, and the movable end of the zooming cylinder is fixed on the zooming disc; the adsorption disc is provided with a radial through hole, the scaling disc is provided with an oblique through hole, and the position of the radial through hole corresponds to the position of the oblique through hole; an axial connecting shaft penetrates through the radial through hole and the oblique through hole, and moves in the radial through hole along the radial direction and also moves in the oblique through hole; one end of the axial connecting shaft, which penetrates out of the zooming disc, is provided with a bulge; the fixed disc is provided with a fixed shaft, and the fixed shaft is movably connected with the axial connecting shaft through a connecting piece; the axial connecting shaft, the fixed shaft, the connecting piece, the radial through hole and the inclined through hole form a set of zooming unit.
2. The automatic metal pot grinding positioner according to claim 1, wherein the upper disc rotates together with the horizontal fixed bracket about a connecting shaft between the horizontal fixed bracket and the vertical fixed bracket; an auxiliary support is arranged in the middle of the vertical fixing support, and the lower vacuum tube penetrates through the auxiliary support.
3. The automated metal pan grinding positioner of claim 1, wherein the upper disk and/or the lower disk rotate about an axis.
4. The automatic metal pot grinding positioner according to claim 1, wherein the edge of the surface of the upper disc and/or the lower disc, which is in contact with the bottom of the metal pot, is provided with a rubber ring.
5. The automatic metal pot grinding positioner according to claim 1, wherein the lower disc is in the shape of a truncated cone with a small upper part and a large lower part.
6. The automatic metal pot grinding positioner according to claim 2, wherein the upper surface of the auxiliary support is provided with a laser emitter, the lower surface of the horizontal fixing support is provided with a laser detector, the laser detector is mounted at the top of a channel, and when the horizontal fixing support and the upper disc at the lower end of the horizontal fixing support are kept horizontal and laser is not blocked, laser emitted by the laser emitter can pass through the channel so as to be detected by the laser detector; the side surface of the channel is communicated with an air channel, and air enters the channel from the air channel to discharge foreign matters in the channel.
7. The automatic positioner for grinding metal pots according to claim 1, wherein there are at least three sets of scaling units.
CN202111462616.7A 2021-12-02 2021-12-02 Automatic positioner of metal pot polishing Active CN114102431B (en)

Priority Applications (1)

Application Number Priority Date Filing Date Title
CN202111462616.7A CN114102431B (en) 2021-12-02 2021-12-02 Automatic positioner of metal pot polishing

Applications Claiming Priority (1)

Application Number Priority Date Filing Date Title
CN202111462616.7A CN114102431B (en) 2021-12-02 2021-12-02 Automatic positioner of metal pot polishing

Publications (2)

Publication Number Publication Date
CN114102431A CN114102431A (en) 2022-03-01
CN114102431B true CN114102431B (en) 2023-02-03

Family

ID=80366241

Family Applications (1)

Application Number Title Priority Date Filing Date
CN202111462616.7A Active CN114102431B (en) 2021-12-02 2021-12-02 Automatic positioner of metal pot polishing

Country Status (1)

Country Link
CN (1) CN114102431B (en)

Citations (7)

* Cited by examiner, † Cited by third party
Publication number Priority date Publication date Assignee Title
US4665658A (en) * 1984-05-21 1987-05-19 Commissariat A L'energie Atomique Double face abrading machine and device for transmitting current and fluid between a rotary structure and a non-rotary structure
DE4125654A1 (en) * 1991-08-02 1993-02-04 Siepmann & Co Gmbh & Co E POT GRINDING MACHINE, ESPECIALLY FOR GRINDING SCISSOR PARTS
CN205008992U (en) * 2015-09-24 2016-02-03 杭州富阳益华科技有限公司 Automatic pot machine that grinds of rocking arm formula
CN206702786U (en) * 2017-03-27 2017-12-05 家和宝(江陵)厨具有限公司 A kind of pot sanding apparatus
CN209256556U (en) * 2018-12-17 2019-08-16 深圳市杜鑫五金制品有限公司 Rub mechanism
CN212044000U (en) * 2020-04-02 2020-12-01 嘉兴市赛腾新材料科技有限公司 Elastomer grinding device
CN113021115A (en) * 2021-05-26 2021-06-25 四川上特科技有限公司 Device for polishing wafer

Family Cites Families (13)

* Cited by examiner, † Cited by third party
Publication number Priority date Publication date Assignee Title
DE4207149A1 (en) * 1992-03-06 1993-09-09 Michael Voit Gmbh Maschinenfab Reworking ceramic non-circular items - involves rotatable holder and profile roller with counter-profile to outer contour of item to be processed
FR2846266B1 (en) * 2002-10-28 2005-02-04 Tonnellerie Radoux DEVICE AND METHOD FOR SANDING A WOODEN FUTURE
CN104029016B (en) * 2014-06-11 2016-06-15 南京建克机械有限公司 One is walked scheming end face and is joined the interchangeable unit head of countershaft and boring tool device
CN203863467U (en) * 2014-06-18 2014-10-08 义乌市中科院兰州化物所功能材料中心 Iron pan polishing combined machine tool
CN105751034B (en) * 2016-04-27 2018-03-13 重庆师范大学 Automatic grinding device for casting iron pan outer mold surface
CN106346331A (en) * 2016-08-31 2017-01-25 四川福德机器人股份有限公司 Novel jig for wok polishing
CN206316387U (en) * 2016-12-05 2017-07-11 广东中聪机器人科技有限公司 Walk core type precise NC lathe
CN207788542U (en) * 2018-01-31 2018-08-31 佛山市军攻机械科技有限公司 A kind of linear type casting iron pan Full-automatic polishing machine
CN209036127U (en) * 2018-06-21 2019-06-28 广东中聪智能装备有限公司 A real-time temperature control system for precision CNC machine tools
CN209970398U (en) * 2019-05-29 2020-01-21 四川福德机器人股份有限公司 Double-sided traceless synchronous pot grinding device
CN110421465B (en) * 2019-08-23 2021-03-26 南京信息职业技术学院 Full-automatic iron pan polishing machine
CN212385200U (en) * 2020-04-24 2021-01-22 深圳科易设计服务有限公司 Automatic polishing and grinding machine for iron pot-shaped objects
CN214770987U (en) * 2021-06-02 2021-11-19 浙江诺维雅厨具有限公司 A kind of aluminum stew pot production and production device

Patent Citations (7)

* Cited by examiner, † Cited by third party
Publication number Priority date Publication date Assignee Title
US4665658A (en) * 1984-05-21 1987-05-19 Commissariat A L'energie Atomique Double face abrading machine and device for transmitting current and fluid between a rotary structure and a non-rotary structure
DE4125654A1 (en) * 1991-08-02 1993-02-04 Siepmann & Co Gmbh & Co E POT GRINDING MACHINE, ESPECIALLY FOR GRINDING SCISSOR PARTS
CN205008992U (en) * 2015-09-24 2016-02-03 杭州富阳益华科技有限公司 Automatic pot machine that grinds of rocking arm formula
CN206702786U (en) * 2017-03-27 2017-12-05 家和宝(江陵)厨具有限公司 A kind of pot sanding apparatus
CN209256556U (en) * 2018-12-17 2019-08-16 深圳市杜鑫五金制品有限公司 Rub mechanism
CN212044000U (en) * 2020-04-02 2020-12-01 嘉兴市赛腾新材料科技有限公司 Elastomer grinding device
CN113021115A (en) * 2021-05-26 2021-06-25 四川上特科技有限公司 Device for polishing wafer

Also Published As

Publication number Publication date
CN114102431A (en) 2022-03-01

Similar Documents

Publication Publication Date Title
US8181948B2 (en) Tilt machining device and method
TWI373804B (en) Apparatus and method for wet treatment of disc-like articles
CN110509143B (en) Optical part plane grinding device
JP6758587B2 (en) Board support device
TWI818617B (en) Ingot jig assembly and ingot edge-polishing machine tool
KR20100092873A (en) Processing method and grinding apparatus for lens
JPH0783856B2 (en) Substrate support device
CN115472553A (en) High-stability clamping device for etching or cleaning semiconductor wafer
CN106346331A (en) Novel jig for wok polishing
CN114102431B (en) Automatic positioner of metal pot polishing
JP6884292B1 (en) Abrasive material automatic exchange device and abrasive material automatic exchange system equipped with it
CN215281263U (en) Glass corner polishing mechanism
CN220856536U (en) Automatic positioning device for wafer processing
CN110722448A (en) A polishing mechanism for automatically changing abrasive discs by means of lifting
CN116061028A (en) Carrier plate positioning device of multi-column high-precision polishing machine
TWI723240B (en) Substrate support device
CN209502167U (en) Rotary fixing structure
CN112850162A (en) Vacuum chuck with positioning groove design and feeding and discharging tray
CN221379328U (en) Wafer edge-seeking centering device
CN114454092A (en) Rotary jacking adsorption platform for grinding wafer
JPH04343658A (en) Wafer polishing device with dresser and dressing method for abrasive fabric surface
CN215069887U (en) Edge searching mechanism suitable for wafer of photoetching machine
CN113523933B (en) An integrated device for wafer grinding and polishing
CN210913615U (en) Polyethylene bottle sealing gasket device for oral liquid
JP2017220549A (en) Chuck table

Legal Events

Date Code Title Description
PB01 Publication
PB01 Publication
SE01 Entry into force of request for substantive examination
SE01 Entry into force of request for substantive examination
GR01 Patent grant
GR01 Patent grant
PE01 Entry into force of the registration of the contract for pledge of patent right
PE01 Entry into force of the registration of the contract for pledge of patent right

Denomination of invention: An automatic positioning machine for metal pot grinding

Effective date of registration: 20230519

Granted publication date: 20230203

Pledgee: Zhejiang Tailong Commercial Bank Co.,Ltd. Shanghai Branch

Pledgor: Shanghai carrier Intelligent Technology Co.,Ltd.

Registration number: Y2023310000200

PC01 Cancellation of the registration of the contract for pledge of patent right
PC01 Cancellation of the registration of the contract for pledge of patent right

Granted publication date: 20230203

Pledgee: Zhejiang Tailong Commercial Bank Co.,Ltd. Shanghai Branch

Pledgor: Shanghai carrier Intelligent Technology Co.,Ltd.

Registration number: Y2023310000200