CN114061456A - Size detection device - Google Patents

Size detection device Download PDF

Info

Publication number
CN114061456A
CN114061456A CN202111364249.7A CN202111364249A CN114061456A CN 114061456 A CN114061456 A CN 114061456A CN 202111364249 A CN202111364249 A CN 202111364249A CN 114061456 A CN114061456 A CN 114061456A
Authority
CN
China
Prior art keywords
laser head
assembly
head assembly
screw rod
cross bar
Prior art date
Legal status (The legal status is an assumption and is not a legal conclusion. Google has not performed a legal analysis and makes no representation as to the accuracy of the status listed.)
Granted
Application number
CN202111364249.7A
Other languages
Chinese (zh)
Other versions
CN114061456B (en
Inventor
曾巧军
Current Assignee (The listed assignees may be inaccurate. Google has not performed a legal analysis and makes no representation or warranty as to the accuracy of the list.)
Interface Optoelectronics Shenzhen Co Ltd
Interface Technology Chengdu Co Ltd
General Interface Solution Ltd
Original Assignee
Interface Optoelectronics Shenzhen Co Ltd
Interface Technology Chengdu Co Ltd
Yecheng Optoelectronics Wuxi Co Ltd
General Interface Solution Ltd
Priority date (The priority date is an assumption and is not a legal conclusion. Google has not performed a legal analysis and makes no representation as to the accuracy of the date listed.)
Filing date
Publication date
Application filed by Interface Optoelectronics Shenzhen Co Ltd, Interface Technology Chengdu Co Ltd, Yecheng Optoelectronics Wuxi Co Ltd, General Interface Solution Ltd filed Critical Interface Optoelectronics Shenzhen Co Ltd
Priority to CN202111364249.7A priority Critical patent/CN114061456B/en
Publication of CN114061456A publication Critical patent/CN114061456A/en
Application granted granted Critical
Publication of CN114061456B publication Critical patent/CN114061456B/en
Active legal-status Critical Current
Anticipated expiration legal-status Critical

Links

Images

Classifications

    • GPHYSICS
    • G01MEASURING; TESTING
    • G01BMEASURING LENGTH, THICKNESS OR SIMILAR LINEAR DIMENSIONS; MEASURING ANGLES; MEASURING AREAS; MEASURING IRREGULARITIES OF SURFACES OR CONTOURS
    • G01B11/00Measuring arrangements characterised by the use of optical techniques

Landscapes

  • Physics & Mathematics (AREA)
  • General Physics & Mathematics (AREA)
  • Length Measuring Devices By Optical Means (AREA)

Abstract

本发明涉及一种尺寸检测装置。该尺寸检测装置包括:底座组件,具有一用于容置待检测工件的放置位及凸设于所述放置位的定位柱,所述定位柱用于与所述待检测工件上的定位孔定位配合;调节组件,设置于所述底座组件上;及激光头组件,设置于所述调节组件上,所述激光头组件用于向所述放置位发射至少两个激光束;其中,所述调节组件被构造为能够调节所述激光头组件相对所述底座组件的位置。

Figure 202111364249

The present invention relates to a size detection device. The size detection device includes: a base assembly with a placement position for accommodating a workpiece to be inspected and a positioning column protruding from the placement position, the positioning column is used for positioning with a positioning hole on the workpiece to be inspected matching; an adjustment assembly, disposed on the base assembly; and a laser head assembly, disposed on the adjustment assembly, the laser head assembly is used to emit at least two laser beams to the placement position; wherein, the adjustment The assembly is configured to adjust the position of the laser head assembly relative to the base assembly.

Figure 202111364249

Description

Size detection device
Technical Field
The invention relates to the technical field of FPC detection, in particular to a size detection device.
Background
Due to the manufacturing process and other reasons, the size of the FPC (Flexible Printed Circuit) wire has errors, and therefore, the key size of the FPC wire needs to be detected to distinguish an unqualified product.
In the conventional technology, a blue film is used for proofing an FPC wire, and then a 3D measuring instrument is used for measuring key dimensions one by one, such as the diameter of a positioning hole, the horizontal distance between the positioning hole and a certain pin, the vertical distance between the positioning hole and each pin, the length dimension of the pin and the width dimension of the pin. The detection method is complicated in process, time-consuming and labor-consuming, about 1 minute is needed for detecting one FPC wire, 50 hours are needed for 3000 FPC wires, and the production efficiency is seriously influenced.
Disclosure of Invention
On the basis, it is necessary to provide a size detection device for improving the defects in the prior art by adopting a blue film to sample an FPC (flexible printed circuit) wire and then utilizing a 3D (three-dimensional) measurement instrument to measure the critical dimension one by one, so that the detection process is complicated, time and labor are wasted, and the production efficiency is seriously affected.
A size detection device comprising:
the base assembly is provided with a placing position for containing a workpiece to be detected and a positioning column convexly arranged on the placing position, and the positioning column is used for being matched with a positioning hole in the workpiece to be detected in a positioning mode;
the adjusting assembly is arranged on the base assembly;
the laser head assembly is arranged on the adjusting assembly and is used for emitting at least two laser beams to the placing position;
wherein the adjustment assembly is configured to adjust a position of the laser head assembly relative to the base assembly.
In one embodiment, the placement site is formed with a positioning mark for positioning a laser beam emitted by the laser head assembly.
In one embodiment, the adjustment assembly comprises a moving support and a movable carrier;
the movable support is movably connected to the base assembly along a first direction, the movable bearing is arranged on the movable support, is movable along a second direction relative to the movable support and can rotate around a first rotation axis, and the laser head assembly is mounted on the movable bearing;
wherein the second direction is perpendicular to the first direction and the first axis of rotation is parallel to the second direction.
In one embodiment, the adjusting assembly further comprises a screw rod, a screw rod carrier and a driving member, the screw rod is rotatably connected to the base assembly around its own axis, the axial direction of the screw rod is parallel to the first direction, the screw rod carrier is in threaded connection with the screw rod, and the movable supporting member is fixedly connected to the screw rod carrier; the driving piece is in driving connection with the screw rod.
In one embodiment, the movable bearing part is provided with a through hole, and the movable supporting part is rod-shaped and penetrates through the through hole;
the adjustment assembly further includes a locking member configured to lock or unlock the movable carrier and the moving support.
In one embodiment, the movable bearing part has a threaded hole communicated with the through hole, the locking part is in threaded connection with the threaded hole, and one end of the locking part can penetrate into the through hole and is abutted against the movable supporting part.
In one embodiment, the laser head assembly comprises a first cross bar, a second cross bar, a first laser head and a second laser head;
the first cross rod with the activity holds carrier fixed connection, the second cross rod set up in on the first cross rod, first laser head set up in on the first cross rod, and follow first cross rod is portable, the second laser head sets up on the second cross rod, and follows the second cross rod is portable.
In one embodiment, the second cross bar is controllably rotatable relative to the first cross bar.
In one embodiment, the base assembly comprises a bottom plate and a bearing plate, the bearing plate is detachably connected to the bottom plate, and the placing position is located on the bearing plate.
In one embodiment, the size detection device comprises the adjusting assemblies, and each adjusting assembly is provided with the laser head assembly.
According to the size detection device, during actual use, the laser head assembly is adjusted to the preset position through the adjusting assembly, so that laser beams emitted by the laser head assembly irradiate the set position of the golden finger area of the standard FPC wire. The FPC wire rod to be detected is placed in the placing position, and the FPC wire rod is located through the locating column. The laser head assembly emits laser beams so that the laser beams are irradiated on the golden finger areas of the FPC wires. When the position of the laser beam irradiated on the golden finger area of the FPC wire is not coincident with the set position, judging that the FPC wire is unqualified; and when the position of the laser beam irradiated on the golden finger area of the FPC wire is coincident with the set position, judging that the FPC wire is qualified.
Drawings
FIG. 1 is a front view of an FPC wire;
FIG. 2 is a schematic structural diagram of a size detection apparatus according to an embodiment of the present invention;
FIG. 3 is a front view of the carrier plate of the size detection apparatus shown in FIG. 2;
FIG. 4 is a schematic view of the dimension detecting apparatus shown in FIG. 2 before the laser head assembly is adjusted to a predetermined position;
fig. 5 is a schematic view illustrating the size detecting apparatus shown in fig. 2 after the laser head assembly is adjusted to a preset position and a laser beam is irradiated on the carrier plate.
Reference numerals:
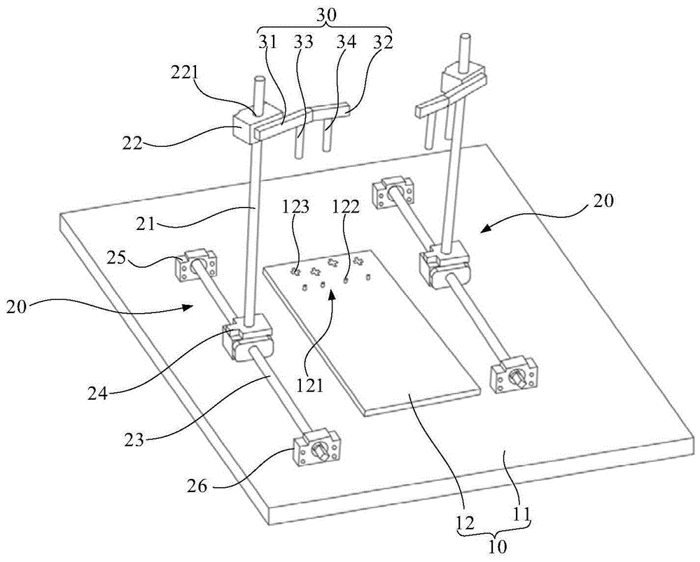
an FPC wire 100; a positioning hole 101; a gold finger region 102; a base assembly 10; a base plate 11; a carrier plate 12; a placement bit 121; positioning post 122; a positioning identifier 123; an adjustment assembly 20; a moving support 21; a movable carrier 22; through hole 221; a screw rod 23; a screw rod carrier 24; a laser head assembly 30; the first cross bar 31; a second cross bar 32; the first laser head 33; a second laser head 34; a laser beam a.
Detailed Description
In order to make the aforementioned objects, features and advantages of the present invention comprehensible, embodiments accompanied with figures are described in detail below. In the following description, numerous specific details are set forth in order to provide a thorough understanding of the present invention. This invention may, however, be embodied in many different forms and should not be construed as limited to the embodiments set forth herein.
In the description of the present invention, it is to be understood that the terms "central," "longitudinal," "lateral," "length," "width," "thickness," "upper," "lower," "front," "rear," "left," "right," "vertical," "horizontal," "top," "bottom," "inner," "outer," "clockwise," "counterclockwise," "axial," "radial," "circumferential," and the like are used in the orientations and positional relationships indicated in the drawings for convenience in describing the invention and to simplify the description, and are not intended to indicate or imply that the referenced device or element must have a particular orientation, be constructed and operated in a particular orientation, and are not to be considered limiting of the invention.
Furthermore, the terms "first", "second" and "first" are used for descriptive purposes only and are not to be construed as indicating or implying relative importance or implicitly indicating the number of technical features indicated. Thus, a feature defined as "first" or "second" may explicitly or implicitly include at least one such feature. In the description of the present invention, "a plurality" means at least two, e.g., two, three, etc., unless specifically limited otherwise.
In the present invention, unless otherwise expressly stated or limited, the terms "mounted," "connected," "secured," and the like are to be construed broadly and can, for example, be fixedly connected, detachably connected, or integrally formed; can be mechanically or electrically connected; they may be directly connected or indirectly connected through intervening media, or they may be connected internally or in any other suitable relationship, unless expressly stated otherwise. The specific meanings of the above terms in the present invention can be understood by those skilled in the art according to specific situations.
In the present invention, unless otherwise expressly stated or limited, the first feature "on" or "under" the second feature may be directly contacting the first and second features or indirectly contacting the first and second features through an intermediate. Also, a first feature "on," "over," and "above" a second feature may be directly or diagonally above the second feature, or may simply indicate that the first feature is at a higher level than the second feature. A first feature being "under," "below," and "beneath" a second feature may be directly under or obliquely under the first feature, or may simply mean that the first feature is at a lesser elevation than the second feature.
It will be understood that when an element is referred to as being "secured to" or "disposed on" another element, it can be directly on the other element or intervening elements may also be present. When an element is referred to as being "connected" to another element, it can be directly connected to the other element or intervening elements may also be present. The terms "vertical," "horizontal," "upper," "lower," "left," "right," and the like as used herein are for illustrative purposes only and do not denote a unique embodiment.
An embodiment of the present invention provides a size detection apparatus, which is used for detecting a critical size of a workpiece to be detected to determine whether the critical size is qualified. It should be noted that the workpiece to be detected may be an FPC wire 100 (see fig. 1), and may also be other workpieces that need to be subjected to size detection, which is not limited herein, and the FPC wire is taken as an example for description herein.
Referring to fig. 1 and 2, the size measuring apparatus includes a base assembly 10, an adjusting assembly 20, and a laser head assembly 30. The base assembly 10 has a placing position 121 and a positioning post 122 protruding from the placing position 121, the placing position 121 is used for accommodating the FPC cable 100, and the positioning post 122 is used for positioning and matching with the positioning hole 101 on the FPC cable 100. That is to say, when the FPC wire 100 needs to be detected, the FPC wire 100 is placed on the placing position 121, and the positioning post 122 on the placing position 121 is inserted into the positioning hole 101 on the FPC wire 100, so as to position the FPC wire 100. It should be noted that, the number of the positioning posts 122 may be two or more, and the positioning posts are correspondingly arranged according to the number of the positioning holes 101 on the FPC wire 100.
The adjustment assembly 20 is disposed on the base assembly 10. The laser head assembly 30 is disposed on the adjustment assembly 20, and the adjustment assembly 20 is configured to adjust the position of the laser head assembly 30 relative to the base assembly 10. The laser head assembly 30 is configured to emit at least two laser beams a (see fig. 4 or 5) to the placing position 121, so that the at least two laser beams a are irradiated onto the FPC line 100 on the placing position 121, and thus, whether the FPC line 100 is qualified or not is determined according to a deviation of positions where the laser beams are irradiated onto the FPC line 100.
In actual use, the size detection device adjusts the laser head assembly 30 to a preset position through the adjusting assembly 20, so that a laser beam emitted by the laser head assembly 30 is irradiated on a set position of the golden finger area 102 of the standard FPC wire. The FPC wire 100 to be detected is placed in the placing position 121, and the FPC wire 100 is located through the locating column 122. The laser head assembly 30 emits a laser beam a so that the laser beam a is irradiated on the gold finger area 102 of the FPC wire 100. When the position of the laser beam a irradiated on the golden finger area 102 of the FPC wire 100 is not coincident with the set position, judging that the FPC wire 100 is unqualified; when the position of the laser beam a irradiated on the golden finger area 102 of the FPC line 100 coincides with the set position, the FPC line 100 is determined to be qualified.
The preset positions refer to: when the laser head assembly 30 is adjusted to the preset position, the position where the laser beam a emitted by the laser head assembly 30 can irradiate the golden finger area 102 of the standard FPC line 100 is the set position. Each laser beam selects a set position in the gold finger area 102 of the standard FPC wire 100, for example, at an off-center 1/3 of a certain pin within the gold finger area 102 of the standard FPC wire 100. When the laser head assembly 30 emits two laser beams a, two pins within the golden finger area 102 of the standard FPC wire 100 are selected, which are two set positions at 1/3 off-center each. It is understood that the standard FPC wire 100 refers to a good product having a size in accordance with a design size.
When the laser head assembly 30 is adjusted to a preset position, the FPC wire 100 to be detected is placed on the placing position 121, and if each laser beam a emitted by the laser head assembly 30 irradiates the corresponding set position of the golden finger area 102 of the FPC wire 100, the FPC wire 100 is judged to be qualified; if the position of the golden finger area 102 of the FPC wire 100 irradiated by one or more laser beams emitted by the laser head assembly 30 is not at the corresponding set position, the FPC wire 100 is determined to be unqualified.
Of course, when the position of the laser beam a irradiated on the golden finger area 102 of the FPC line 100 is at the set position, the FPC line 100 is judged to be acceptable, and it cannot be understood that the two are completely overlapped, and it should be understood that a certain error range is allowed, that is, the FPC line 100 can be judged to be acceptable within the allowable range.
Referring to fig. 3 to 5, in the embodiment of the present invention, the positioning position 121 is formed with a positioning mark 123 for positioning the laser beam a emitted from the laser head assembly 30. In this way, before the detection, the position of the laser head assembly 30 is adjusted by the adjusting assembly 20, so that the laser beam a emitted by the laser head assembly 30 is irradiated onto the positioning mark 123, and at this time, the position of the laser head assembly 30 is adjusted in place, that is, the laser head assembly 30 reaches the preset position. The setting of this location sign 123 makes laser head assembly 30's position control convenient and fast and accurate more, adjusts degree of difficulty greatly reduced.
Alternatively, the positioning marks 123 are cross marks, and the number of the cross marks is the same as that of the laser beams a emitted from the laser head assembly 30, and the cross marks correspond to one another. That is, when the position of the laser head assembly 30 is adjusted to the preset position, the laser beams a emitted from the laser head assembly 30 are irradiated on the cross marks in a one-to-one correspondence. It should be noted that the cross-shaped mark may be formed by an engraving process, or may be formed by other processes, which is not limited herein.
Referring to fig. 2, in an embodiment, the base assembly 10 includes a bottom plate 11 and a supporting plate 12 detachably connected to the bottom plate 11, and the placing position 121 is located on the supporting plate 12. Therefore, different bearing plates 12 can be replaced according to different models of FPC wires 100, which is beneficial to improving the compatibility of the size detection device.
Further, a magnetic member (not shown) is disposed on the carrier 12 for absorbing the reinforcing plate on the back side of the FPC wire 100 located at the placing position 121, so as to prevent the FPC wire 100 from tilting. Alternatively, the magnetically attracting member may employ a magnet.
In an embodiment of the invention, the adjustment assembly 20 comprises a mobile support 21 and a mobile carrier 22. The moving support 21 is movably coupled to the base assembly 10 in a first direction. The movable carrier 22 is provided on the moving support 21, and is movable in the second direction and rotatable about the first rotation axis with respect to the moving support 21. The laser head assembly 30 is mounted on the movable carrier 22 for movement therewith to follow the movable carrier 22 for adjustment of position. The second direction is perpendicular to the first direction, and the first rotation axis is parallel to the second direction. Specifically, in the embodiment shown in fig. 2, the first direction is a front-rear direction, and the second direction is an up-down direction.
In this way, before the detection is carried out, the position of the laser head assembly 30 is adjusted by the movement of the mobile support 21 in the first direction, and by the movement of the mobile carriage 22 in the second direction and by the rotation about the first rotation axis, until the laser beams a emitted by the laser head assembly 30 are all irradiated on the corresponding cross-shaped marking.
In one embodiment, the adjusting assembly 20 further includes a lead screw 23, a lead screw carrier 24, and a driving member (not shown). The screw 23 is rotatably connected to the base assembly 10 about its axis, and the axial direction of the screw 23 is parallel to the first direction. The lead screw stage 24 is screwed to the lead screw 23, so that when the lead screw 23 rotates, the lead screw stage 24 can be driven to move along the axial direction (i.e., the first direction) of the lead screw 23. The movable support 21 is fixedly attached to the lead screw stage 24 so that the movable support 21 and the laser head assembly 30 can move in the first direction along with the lead screw stage 24. The driving piece is in driving connection with the screw rod 23 so as to drive the screw rod 23 to rotate around the axis of the screw rod 23. Therefore, when the position of the laser head assembly 30 needs to be adjusted in the first direction, the driving piece drives the screw rod 23 to rotate around the axis of the driving piece, so that the screw rod carrier 24 is driven to move in the first direction, and then the laser head assembly 30 moves along the first direction along with the screw rod carrier 24, namely the adjustment of the position of the laser head assembly 30 in the first direction is realized.
Alternatively, the drive member may be an electric motor. Of course, in other embodiments, the driving member may also be a manual rocking disc, and the manual rocking disc is rocked manually, so as to drive the screw 23 to rotate around its axis.
In the embodiment, the movable carrier 22 has a through hole 221, and the movable support 21 is rod-shaped and passes through the through hole 221. The adjustment assembly 20 further includes a locking member (not shown) configured to lock or unlock the movable carrier 22 and the moving support 21. In this manner, when it is necessary to adjust the position of the laser head assembly 30, the locking member is operated such that the locking member releases the movable carrier 22 and the moving support 21, so that the movable carrier 22 can be rotated about the moving support 21 in a rod shape and slid along the moving support 21 in a rod shape. After the position of the laser head assembly 30 is adjusted in place, the locking members are operated such that the locking members lock the movable carrier 22 and the movable support 21 to fix the laser head assembly 30 in the adjusted position.
In one embodiment, the movable carrier 22 has a threaded hole (not shown) communicating with the through hole 221, the locking member is screwed into the threaded hole, and the locking member can penetrate into the through hole 221 and abut against the movable support 21. In this way, when it is necessary to adjust the position of the laser head assembly 30, the locking member is unscrewed so that it gradually exits the through hole 221 in the axial direction of the threaded hole until it is separated from the moving support 21 so that the movable carrier 22 can rotate about the moving support 21 and slide along the moving support 21. When the position of the laser head assembly 30 is adjusted to the proper position, the locking member is tightened, so that the locking member gradually extends into the through hole 221 along the axial direction of the threaded hole until the locking member abuts against the movable support 21, and the movable bearing 22 is fixed relative to the movable support 21. Alternatively, the retaining member may be a screw.
In other embodiments, the adjustment assembly 20 can also adjust the position of the laser head assembly 30 in a third direction that is perpendicular to both the first and second directions. Specifically, the adjusting assembly 20 further includes a first mounting seat 25, a first slide rail (not shown), a second mounting seat 26, and a manual sliding table (not shown). First slide rail and manual slip table all install on bottom plate 11, and all extend along third direction lengthwise. The first mounting seat 25 is mounted on the first slide rail to move in the third direction under the guiding action of the first slide rail. Second mount pad 26 is installed on manual slip table, and the lengthwise both ends of lead screw 23 rotatably connect respectively on first mount pad 25 and second mount pad 26 to can drive second mount pad 26 through operating manual slip table and remove along the third direction, thereby realize adjusting the position of laser head subassembly 30 in the third direction, make the position adjustment to laser head subassembly 30 more nimble, swift, further reduced the degree of difficulty of position control.
It can be understood that, in the present embodiment, first, the movement of the laser head assembly 30 in the third direction, the first direction, the second direction and the rotation around the second direction can be respectively realized by operating the manual sliding table, controlling the rotation of the lead screw 23 and the movement and the rotation of the movable carrier 22, and the position of the laser head assembly 30 is preliminarily adjusted so that the laser beam a emitted by the laser head assembly 30 gradually approaches the corresponding cross mark. Then, the position of the laser head assembly 30 can be finely adjusted by controlling the screw rod 23 to rotate and operating the manual sliding table, so that the laser beam a emitted by the laser head assembly 30 is irradiated on the corresponding cross-shaped mark. Specifically to the embodiment shown in fig. 2, the third direction is a left-right direction.
It should be noted that the first slide rail and the manual slide table are not essential, and when the first slide rail and the manual slide table are not provided, the first mounting seat 25 and the second mounting seat 26 may be directly and fixedly connected to the bottom plate 11.
In an embodiment of the invention, the laser head assembly 30 includes a first cross bar 31, a second cross bar 32, a first laser head 33, and a second laser head 34. The first cross bar 31 is fixedly connected with the movable bearing member 22, and the second cross bar 32 is disposed on the first cross bar 31. The first laser head 33 is disposed on the first cross bar 31 and is movable along the first cross bar 31. The second laser head 34 is disposed on the second cross bar 32 and is movable along the second cross bar 32. The first laser head 33 and the second laser head 34 are each used to emit a laser beam a. Therefore, the position of the first laser head 33 relative to the first cross rod 31 can be adjusted by moving the first laser head 33 along the first cross rod 31, the position of the second laser head 34 relative to the second cross rod 32 can be adjusted by moving the second laser head 34 along the second cross rod 32, and then the positions of the first laser head 33 and the second laser head 34 are finely adjusted, so that the position adjusting precision is further improved, the difficulty of position adjustment is reduced, and the two laser beams a emitted by the first laser head 33 and the second laser head 34 can be quickly adjusted to irradiate on the corresponding two cross marks respectively.
Further, the first cross bar 31 and the second cross bar 32 are both perpendicular to the above-mentioned rotation axis, i.e. the first cross bar 31 and the second cross bar 32 are perpendicular to the second direction.
It should be noted that, in one embodiment, the first laser head 33 and the first cross bar 31 are fastened by screw locking. When it is necessary to adjust the position of the first laser head 33 with respect to the first cross bar 31, the screw is unscrewed so that the first laser head 33 can slide along the first cross bar 31. After the position of the first laser head 33 along the first cross bar 31 is adjusted to a position, the screw is tightened so that the first laser head 33 is fixed relative to the first cross bar 31. Of course, the locking of the first laser head 33 with respect to the first cross bar 31 can also be implemented in other ways, as long as the position of the first laser head 33 along the first cross bar 31 can be adjusted, and is not limited herein.
In one embodiment, the second laser head 34 is secured to the second cross bar 32 by a screw lock. When it is desired to adjust the position of the second laser head 34 along the second cross bar 32, the screw is loosened so that the second laser head 34 can slide along the second cross bar 32. After the second laser head 34 is adjusted in position along the second cross bar 32, the screws are tightened so that the second laser head 34 is fixed relative to the second cross bar 32. Of course, the locking of the second laser head 34 with respect to the second cross bar 32 can be performed in other manners as long as the position of the second laser head 34 along the second cross bar 32 can be adjusted, and is not limited herein.
In particular embodiments, the second cross bar 32 is controllably rotatable relative to the first cross bar 31. Thus, when the relative position of the first laser head 33 and the second laser head 34 needs to be adjusted, the second cross rod 32 can be controlled to rotate relative to the first cross rod 31. It should be noted that the first cross bar 31 and the second cross bar 32 can be connected by a damping shaft, so that the second cross bar 32 can rotate relative to the first cross bar 31 and can stay at the rotated position. Of course, other rotation connection manners between the first cross bar 31 and the second cross bar 32 can be adopted, as long as the second cross bar 32 can rotate relative to the first cross bar 31, and the rotated position can be fixed at the position, which is not limited herein.
Since the FPC line 100 has two golden finger areas 102, in order to simultaneously detect the two golden finger areas 102, in one embodiment, the size detection apparatus includes two adjustment assemblies 20, and each adjustment assembly 20 is provided with a laser head assembly 30. In this way, the two laser head assemblies 30 are used to detect the two golden finger areas 102 of the FPC line 100, and each laser head assembly 30 can adjust the position through the corresponding adjusting assembly 20.
In the embodiment shown in fig. 2 to 5, the placement site 121 has four cross-shaped marks and four positioning posts 122. The two cross marks on the left correspond to one gold finger area 102 of the FPC line 100, and the two cross marks on the right correspond to the other gold finger area 102 of the FPC line 100. The size detection device comprises two adjusting components 20, the two adjusting components 20 are respectively positioned at the left side and the right side of the bearing plate 12, and each adjusting component 20 is provided with a laser head component 30.
The operation of the size detection device is described below with reference to the accompanying drawings:
first, the positions of the first laser head 33 and the second laser head 34 of the laser head assembly 30 can be adjusted by at least one adjusting means of adjusting the position of the movable support 21 in the first direction, the position of the movable carrier 22 in the second direction, the rotation of the movable carrier 22 relative to the movable support 21 about the rotation axis, the rotation of the second cross bar 32 relative to the first cross bar 31, the position of the first laser head 33 along the first cross bar 31, and the position of the second laser head 34 along the second cross bar 32, so that the laser beams a emitted by the first laser head 33 and the second laser head 34 are irradiated onto the corresponding two cross-shaped marks. That is, the four laser beams a emitted from the two first laser heads 33 and the two second laser heads 34 of the two laser head assemblies 30 are irradiated on the four cross marks, respectively, by the above-mentioned adjusting means.
Then, the FPC wire 100 to be detected is placed on the placing position 121, so that the four positioning columns 122 respectively penetrate through the four positioning holes 101 on the FPC wire 100 to position the FPC wire 100. Meanwhile, the magnetic part adsorbs and fixes the reinforcing plate on the back of the FPC wire 100, so that the FPC wire 100 is prevented from tilting.
Then, four laser beams a emitted by the two first laser heads 33 and the two second laser heads 34 are irradiated on the two golden finger areas 102 of the FPC wire 100, and if the position irradiated by the laser beams a deviates from the set position, the FPC wire 100 is unqualified; when the position irradiated by the laser beam a coincides with the set position, the FPC line 100 is qualified.
Finally, the FPC wire 100 at the placement position 121 is removed, and the FPC wire 100 is placed in a qualified product area or an unqualified product area according to the detection result.
The technical features of the embodiments described above may be arbitrarily combined, and for the sake of brevity, all possible combinations of the technical features in the embodiments described above are not described, but should be considered as being within the scope of the present specification as long as there is no contradiction between the combinations of the technical features.
The above-mentioned embodiments only express several embodiments of the present invention, and the description thereof is more specific and detailed, but not construed as limiting the scope of the invention. It should be noted that, for a person skilled in the art, several variations and modifications can be made without departing from the inventive concept, which falls within the scope of the present invention. Therefore, the protection scope of the present patent shall be subject to the appended claims.

Claims (10)

1. A size detection device, comprising:
the base assembly (10) is provided with a placing position (121) for containing a workpiece to be detected and a positioning column (122) convexly arranged on the placing position (121), and the positioning column (122) is used for being in positioning fit with a positioning hole (101) in the workpiece to be detected;
an adjustment assembly (20) disposed on the base assembly (10);
a laser head assembly (30) arranged on the conditioning assembly (20), the laser head assembly (30) being configured to emit at least two laser beams (a) towards the placement site (121);
wherein the adjustment assembly (20) is configured to enable adjustment of the position of the laser head assembly (30) relative to the base assembly (10).
2. The size detection device according to claim 1, characterized in that the placement site (121) is shaped with a positioning mark (123) for positioning a laser beam (a) emitted by the laser head assembly (30).
3. The sizing device according to claim 1, characterised in that the adjustment assembly (20) comprises a mobile support (21) and a mobile carriage (22);
the moving support (21) is movably connected to the base assembly (10) along a first direction, the movable bearing (22) is arranged on the moving support (21) and is movable along a second direction relative to the moving support (21) and rotatable around a first rotation axis, and the laser head assembly (30) is mounted on the movable bearing (22);
wherein the second direction is perpendicular to the first direction and the first axis of rotation is parallel to the second direction.
4. The dimension detecting device according to claim 3, wherein the adjusting assembly (20) further comprises a screw rod (23), a screw rod carrier (24) and a driving member, the screw rod (23) is rotatably connected to the base assembly (10) around its own axis, the axial direction of the screw rod (23) is parallel to the first direction, the screw rod carrier (24) is in threaded connection with the screw rod (23), and the movable support member (21) is fixedly connected to the screw rod carrier (24); the driving piece is in driving connection with the screw rod (23).
5. The sizing device according to claim 3, wherein the movable carrier (22) has a through hole (221), and the movable support (21) is rod-shaped and passes through the through hole (221);
the adjustment assembly (20) further comprises a locking member configured to be able to lock or unlock the movable carrier (22) and the moving support (21).
6. The device according to claim 5, characterized in that said mobile carriage (22) has a threaded hole communicating with said through hole (221), said locking member being screwed into said threaded hole and having one end able to penetrate into said through hole (221) and to abut against said mobile support (21).
7. The dimensional detection device according to claim 3, characterized in that said laser head assembly (30) comprises a first cross bar (31), a second cross bar (32), a first laser head (33) and a second laser head (34);
first horizontal pole (31) with activity carrier (22) fixed connection, second horizontal pole (32) set up in on first horizontal pole (31), first laser head (33) set up in on first horizontal pole (31), and follow first horizontal pole (31) are portable, second laser head (34) set up on second horizontal pole (32), and follow second horizontal pole (32) are portable.
8. A size detection device according to claim 7, wherein the second cross bar (32) is controllably rotatable relative to the first cross bar (31).
9. The size detecting device according to claim 1, wherein the base assembly (10) comprises a bottom plate (11) and a carrying plate (12), the carrying plate (12) is detachably connected to the bottom plate (11), and the placing position (121) is located on the carrying plate (12).
10. The sizing device according to any of claims 1 to 9, characterized in that it comprises said adjustment assemblies (20), each of said adjustment assemblies (20) being provided with said laser head assembly (30).
CN202111364249.7A 2021-11-17 2021-11-17 A size detection device Active CN114061456B (en)

Priority Applications (1)

Application Number Priority Date Filing Date Title
CN202111364249.7A CN114061456B (en) 2021-11-17 2021-11-17 A size detection device

Applications Claiming Priority (1)

Application Number Priority Date Filing Date Title
CN202111364249.7A CN114061456B (en) 2021-11-17 2021-11-17 A size detection device

Publications (2)

Publication Number Publication Date
CN114061456A true CN114061456A (en) 2022-02-18
CN114061456B CN114061456B (en) 2023-08-25

Family

ID=80277561

Family Applications (1)

Application Number Title Priority Date Filing Date
CN202111364249.7A Active CN114061456B (en) 2021-11-17 2021-11-17 A size detection device

Country Status (1)

Country Link
CN (1) CN114061456B (en)

Citations (15)

* Cited by examiner, † Cited by third party
Publication number Priority date Publication date Assignee Title
CA2063383A1 (en) * 1989-07-07 1991-01-08 John M. J. Madey Laser-based wheel alignment system
AUPS022002A0 (en) * 2002-02-01 2002-02-21 Tenix Lads Corporation Pty Ltd An apparatus and method for the measurement of water depth using a controlled receiver
CN201251429Y (en) * 2008-07-17 2009-06-03 合肥工业大学 Plate type part size and quality automatic detector
CN103217122A (en) * 2012-11-19 2013-07-24 北京东方鼎鑫科技有限公司 Method and device for measuring size of automobile aluminum hub finished product on line
CN204594420U (en) * 2015-04-16 2015-08-26 杭州斯比特机电有限公司 The self-operated measuring unit of metal plate frame size
CN206450183U (en) * 2017-02-21 2017-08-29 上海铁烨自动化科技有限公司 The size and surface quality detection device of rod rolling mill roll
CN207147417U (en) * 2017-09-21 2018-03-27 吉林大学 A kind of uneven error detecting apparatus of photoelectric encoder code-disc
CN109163883A (en) * 2018-09-27 2019-01-08 河南筑诚电子科技有限公司 A kind of camera laser detection mechanism
WO2019076248A1 (en) * 2017-10-20 2019-04-25 深圳市道通科技股份有限公司 Car body center line calibration device and method
JP2019121400A (en) * 2018-01-04 2019-07-22 エーティーアンドエス (チャイナ) カンパニー リミテッド Evaluation of edge sharpness of alignment mark
CN110470225A (en) * 2019-09-23 2019-11-19 业成科技(成都)有限公司 Abutted equipment and applying method
CN110702040A (en) * 2019-09-02 2020-01-17 晶澳(邢台)太阳能有限公司 Multi-angle parallel calibration device
CN211504013U (en) * 2020-03-27 2020-09-15 甘肃路桥建设集团有限公司 I-shaped steel cross-sectional dimension on-site detector
CN212205984U (en) * 2020-06-28 2020-12-22 西安米索软件有限公司 Intelligent positioning device convenient for detecting thickness of measured workpiece
CN214702139U (en) * 2021-05-31 2021-11-12 佛山市蓝箭电子股份有限公司 Device for measuring four-side adhesive-climbing height of semiconductor packaging same chip

Patent Citations (15)

* Cited by examiner, † Cited by third party
Publication number Priority date Publication date Assignee Title
CA2063383A1 (en) * 1989-07-07 1991-01-08 John M. J. Madey Laser-based wheel alignment system
AUPS022002A0 (en) * 2002-02-01 2002-02-21 Tenix Lads Corporation Pty Ltd An apparatus and method for the measurement of water depth using a controlled receiver
CN201251429Y (en) * 2008-07-17 2009-06-03 合肥工业大学 Plate type part size and quality automatic detector
CN103217122A (en) * 2012-11-19 2013-07-24 北京东方鼎鑫科技有限公司 Method and device for measuring size of automobile aluminum hub finished product on line
CN204594420U (en) * 2015-04-16 2015-08-26 杭州斯比特机电有限公司 The self-operated measuring unit of metal plate frame size
CN206450183U (en) * 2017-02-21 2017-08-29 上海铁烨自动化科技有限公司 The size and surface quality detection device of rod rolling mill roll
CN207147417U (en) * 2017-09-21 2018-03-27 吉林大学 A kind of uneven error detecting apparatus of photoelectric encoder code-disc
WO2019076248A1 (en) * 2017-10-20 2019-04-25 深圳市道通科技股份有限公司 Car body center line calibration device and method
JP2019121400A (en) * 2018-01-04 2019-07-22 エーティーアンドエス (チャイナ) カンパニー リミテッド Evaluation of edge sharpness of alignment mark
CN109163883A (en) * 2018-09-27 2019-01-08 河南筑诚电子科技有限公司 A kind of camera laser detection mechanism
CN110702040A (en) * 2019-09-02 2020-01-17 晶澳(邢台)太阳能有限公司 Multi-angle parallel calibration device
CN110470225A (en) * 2019-09-23 2019-11-19 业成科技(成都)有限公司 Abutted equipment and applying method
CN211504013U (en) * 2020-03-27 2020-09-15 甘肃路桥建设集团有限公司 I-shaped steel cross-sectional dimension on-site detector
CN212205984U (en) * 2020-06-28 2020-12-22 西安米索软件有限公司 Intelligent positioning device convenient for detecting thickness of measured workpiece
CN214702139U (en) * 2021-05-31 2021-11-12 佛山市蓝箭电子股份有限公司 Device for measuring four-side adhesive-climbing height of semiconductor packaging same chip

Also Published As

Publication number Publication date
CN114061456B (en) 2023-08-25

Similar Documents

Publication Publication Date Title
JPH07181034A (en) Device and method for monitoring shape of body
JPH06207802A (en) Coordinate measurement device
EP1337886B1 (en) Method of and apparatus for adjusting optical component, and optical unit
CN104199082B (en) X-ray and laser coaxial system
KR20150127697A (en) Crossmember unit for a test apparatus for printed circuit boards, and test apparatus having said crossmember unit
JP6984969B2 (en) Height measuring jig
CN114061456A (en) Size detection device
CN107449372B (en) Device and method for comprehensive parameter detection of ball screw nut based on laser triangulation
JP2006194739A (en) Device and method for measuring vibration of measured object
JP4670906B2 (en) Position adjustment device, inspection method, and inspection device
CN115597504A (en) Laser coaxiality calibration device and method for machine vision measurement
CN212228846U (en) Ultrasonic probe wheel test bed
JP3934477B2 (en) Base positioning device
JP2003254918A (en) Orientation measuring device of single crystal, detection method of angle error of guide member in the device and orientation measuring method of single crystal
JP5287266B2 (en) measuring device
CN113264668B (en) Scribing head and scribing device
CN117760298A (en) Detection device and detection method for spindle box parallelism
CN113310440B (en) Curved surface roughness measuring equipment based on white light confocal sensor
CN114322804B (en) Light spot circumcircle testing tool and testing method
KR20190022659A (en) Glass substrate distortion measuring method and glass substrate distortion measuring apparatus
CN118857208B (en) Testing equipment
CN112762801B (en) A special-shaped punch cutting edge angle inspection tool
JP3507431B2 (en) Non-planar mirror adjustment method and apparatus
CN219083968U (en) Subway train brake shoe diameter measurement device
CN221075893U (en) Universal three-coordinate angle adjusting device

Legal Events

Date Code Title Description
PB01 Publication
PB01 Publication
SE01 Entry into force of request for substantive examination
SE01 Entry into force of request for substantive examination
GR01 Patent grant
GR01 Patent grant
TR01 Transfer of patent right

Effective date of registration: 20240112

Address after: 518109, Building E4, 101, Foxconn Industrial Park, No. 2 East Ring 2nd Road, Fukang Community, Longhua Street, Longhua District, Shenzhen City, Guangdong Province (formerly Building 1, 1st Floor, G2 District), H3, H1, and H7 factories in K2 District, North Shenchao Optoelectronic Technology Park, Minqing Road, Guangdong Province

Patentee after: INTERFACE OPTOELECTRONICS (SHENZHEN) Co.,Ltd.

Patentee after: Interface Technology (Chengdu) Co., Ltd.

Patentee after: GENERAL INTERFACE SOLUTION Ltd.

Address before: No.689 Hezuo Road, West District, high tech Zone, Chengdu City, Sichuan Province

Patentee before: Interface Technology (Chengdu) Co., Ltd.

Patentee before: INTERFACE OPTOELECTRONICS (SHENZHEN) Co.,Ltd.

Patentee before: Yicheng Photoelectric (Wuxi) Co.,Ltd.

Patentee before: GENERAL INTERFACE SOLUTION Ltd.

TR01 Transfer of patent right