CN114060458A - Damping device for electromechanical device - Google Patents

Damping device for electromechanical device Download PDF

Info

Publication number
CN114060458A
CN114060458A CN202111254925.5A CN202111254925A CN114060458A CN 114060458 A CN114060458 A CN 114060458A CN 202111254925 A CN202111254925 A CN 202111254925A CN 114060458 A CN114060458 A CN 114060458A
Authority
CN
China
Prior art keywords
support
piece
rod
shock absorbing
elastic
Prior art date
Legal status (The legal status is an assumption and is not a legal conclusion. Google has not performed a legal analysis and makes no representation as to the accuracy of the status listed.)
Pending
Application number
CN202111254925.5A
Other languages
Chinese (zh)
Inventor
王颖娴
崔富义
贾中楠
陶宝春
Current Assignee (The listed assignees may be inaccurate. Google has not performed a legal analysis and makes no representation or warranty as to the accuracy of the list.)
Hangzhou Vocational and Technical College
Original Assignee
Hangzhou Vocational and Technical College
Priority date (The priority date is an assumption and is not a legal conclusion. Google has not performed a legal analysis and makes no representation as to the accuracy of the date listed.)
Filing date
Publication date
Application filed by Hangzhou Vocational and Technical College filed Critical Hangzhou Vocational and Technical College
Priority to CN202111254925.5A priority Critical patent/CN114060458A/en
Publication of CN114060458A publication Critical patent/CN114060458A/en
Pending legal-status Critical Current

Links

Images

Classifications

    • FMECHANICAL ENGINEERING; LIGHTING; HEATING; WEAPONS; BLASTING
    • F16ENGINEERING ELEMENTS AND UNITS; GENERAL MEASURES FOR PRODUCING AND MAINTAINING EFFECTIVE FUNCTIONING OF MACHINES OR INSTALLATIONS; THERMAL INSULATION IN GENERAL
    • F16FSPRINGS; SHOCK-ABSORBERS; MEANS FOR DAMPING VIBRATION
    • F16F15/00Suppression of vibrations in systems; Means or arrangements for avoiding or reducing out-of-balance forces, e.g. due to motion
    • F16F15/02Suppression of vibrations of non-rotating, e.g. reciprocating systems; Suppression of vibrations of rotating systems by use of members not moving with the rotating systems
    • F16F15/04Suppression of vibrations of non-rotating, e.g. reciprocating systems; Suppression of vibrations of rotating systems by use of members not moving with the rotating systems using elastic means
    • F16F15/08Suppression of vibrations of non-rotating, e.g. reciprocating systems; Suppression of vibrations of rotating systems by use of members not moving with the rotating systems using elastic means with rubber springs ; with springs made of rubber and metal
    • F16F15/085Use of both rubber and metal springs

Landscapes

  • Engineering & Computer Science (AREA)
  • General Engineering & Computer Science (AREA)
  • Chemical & Material Sciences (AREA)
  • Combustion & Propulsion (AREA)
  • Physics & Mathematics (AREA)
  • Acoustics & Sound (AREA)
  • Aviation & Aerospace Engineering (AREA)
  • Mechanical Engineering (AREA)
  • Vibration Prevention Devices (AREA)

Abstract

本发明公开了一种机电设备用的减震装置,属于减震装置技术领域,包括设置在地面的机架和若干固定件,所述机架上设有若干减震组件,任意一个所述减震组件包括下支撑件和上支撑件,所述下支撑件设置在所述机架上,所述上支撑件与所述下支撑件间设有第一支撑杆,所述第一支撑杆上套设有第一弹性件,所述第一弹性件与下支撑件间设有支撑组件,所述支撑组件远离所述第一弹性件的一端通过第二弹性件与所述固定件连接,其能够有效的降低机电设备产生的震动。

Figure 202111254925

The invention discloses a shock absorbing device for electromechanical equipment, belonging to the technical field of shock absorbing devices, comprising a frame arranged on the ground and a plurality of fixing parts. The shock assembly includes a lower support piece and an upper support piece, the lower support piece is arranged on the frame, a first support rod is arranged between the upper support piece and the lower support piece, and the first support rod is on the A first elastic member is sleeved, a support assembly is arranged between the first elastic member and the lower support member, and the end of the support assembly away from the first elastic member is connected with the fixing member through a second elastic member, which is It can effectively reduce the vibration generated by electromechanical equipment.

Figure 202111254925

Description

Damping device for electromechanical device
Technical Field
The invention relates to the technical field of damping devices, in particular to a damping device for electromechanical equipment.
Background
The development of the world at present cannot leave the innovation of electromechanical equipment, the equipment is generally a general term of material data such as machines, devices, facilities and the like required by people in production and life, the electromechanical equipment is equipment applying mechanical and electronic technologies, and the mechanical equipment is the most important component of the electromechanical equipment, so that the electromechanical equipment can not work normally and even can generate secondary disasters according to the problems of the electromechanical equipment in the use process, particularly the over-standard vibration in the operation process, and therefore a damping device for the electromechanical equipment is required.
The existing electromechanical device damping device reduces vibration through the spring and the sponge body, the damping effect is poor, and the vibration can be transmitted to the ground where the electromechanical device is placed so as to cause the vibration of the whole electromechanical device.
Disclosure of Invention
The invention aims to provide a damping device for electromechanical equipment, which can effectively reduce vibration generated by the electromechanical equipment.
In order to solve the technical problems, the technical scheme of the invention is as follows:
the damping device for the electromechanical equipment comprises a rack and a plurality of fixing pieces, wherein the rack is arranged on the ground, a plurality of damping assemblies are arranged on the rack, any one of the damping assemblies comprises a lower supporting piece and an upper supporting piece, the lower supporting piece is arranged on the rack, a first supporting rod is arranged between the upper supporting piece and the lower supporting piece, a first elastic piece is sleeved on the first supporting rod, a supporting assembly is arranged between the first elastic piece and the lower supporting piece, and one end, far away from the first elastic piece, of the supporting assembly is connected with the fixing pieces through a second elastic piece.
Preferably, the first support rod is fixedly connected with the lower support member, and the upper support member is provided with a first sleeve matched with the first support rod.
Preferably, a rubber supporting block is arranged between the lower supporting piece and the first elastic piece.
Preferably, the supporting component comprises a supporting plate and a connecting rod, one end of the connecting rod is connected with the supporting plate, the other end of the connecting rod is connected with the fixing piece through the second elastic piece, a through hole matched with the first supporting rod is formed in the supporting plate, and the supporting plate is arranged between the rubber supporting block and the first elastic piece.
Preferably, a second support rod is arranged at the bottom of the support plate, one end of the second support rod is in contact with the support plate, and the other end of the second support rod is in contact with the rubber support block.
Preferably, a second sleeve matched with the second support rod is arranged on the lower side wall of the support plate, and a positioning groove matched with the second support rod is arranged on the upper side wall of the rubber support block.
Preferably, the first elastic member and the second elastic member are both springs.
Preferably, the number of the fixing members is equal to the number of the shock absorbing assemblies.
Adopt above-mentioned technical scheme, owing to be equipped with damper, make can reduce the vibrations that electromechanical device operation in-process produced, guarantee electromechanical device safety, stable operation, owing to be equipped with the mounting, make can be connected with supporting component through the second elastic component, through setting up supporting component and mounting, make the vibrations that electromechanical device produced can better reduce, the vibrations that are not eliminated by first elastic component simultaneously can transmit the second elastic component through supporting component, through first elastic component and second elastic component, the vibrations that reduce electromechanical device production that can be better, the mounting can set up in the place far away from the frame simultaneously, the vibrations that do not eliminate transmit to ground, can not exert an influence to electromechanical device.
Drawings
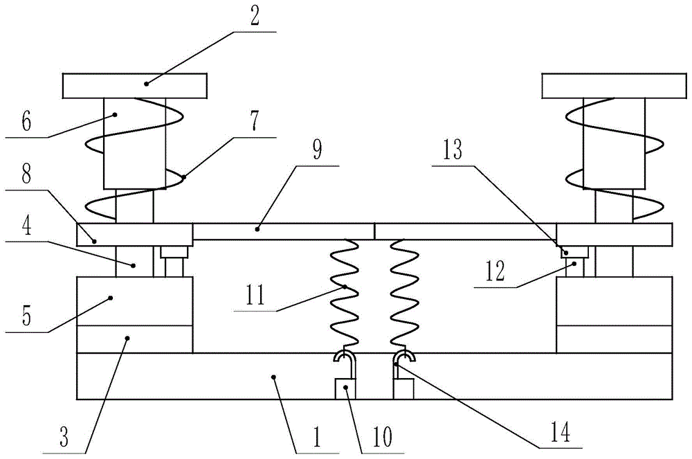
Fig. 1 is a schematic structural view of a vibration damping device for an electromechanical device according to the present invention.
Detailed Description
The following further describes embodiments of the present invention with reference to the drawings. It should be noted that the description of the embodiments is provided to help understanding of the present invention, but the present invention is not limited thereto. In addition, the technical features involved in the embodiments of the present invention described below may be combined with each other as long as they do not conflict with each other.
As shown in fig. 1, a schematic structural diagram of a damping device for an electromechanical device includes a frame 1 and a plurality of fixing members 10, the frame 1 is used for mounting a damping assembly, the frame 1 is provided with a plurality of damping assemblies, the number of the damping assemblies can be selected as required, any one of the damping assemblies includes a lower support member 3 and an upper support member 2, the lower support member 3 is arranged on the frame 1, a first support rod 4 is arranged between the upper support member 2 and the lower support member 3, a first elastic member 7 is sleeved on the first support rod 4, a support assembly is arranged between the first elastic member 7 and the lower support member 3, one end of the support assembly far away from the first elastic member 7 is connected with the fixing members 10 through a second elastic member 11, both the lower support member 3 and the upper support member 2 can be a plate structure for supporting, the lower support member 3 is used for supporting the first elastic member 7, and the upper support member 2 is used for supporting the electromechanical device, when the device is used, the vibration generated by the electromechanical device is relieved through the first elastic part 7 and then is transmitted to the second elastic part 11 through the supporting component, and the vibration generated by the electromechanical device can be better reduced through the first elastic part 7 and the second elastic part 11, so that the normal operation of the electromechanical device is effectively ensured;
the first supporting rod 4 is fixedly connected with the lower supporting piece 3, the first supporting rod 4 can better support the first elastic piece 7, the rigidity required by supporting electromechanical equipment is ensured, the first sleeve 6 matched with the first supporting rod 4 is arranged on the upper supporting piece 2, the upper supporting piece 2 can work at a normal position, and the stability of the damping device is ensured, a hole matched with the first supporting rod 4 is formed in the first sleeve 6, so that the upper supporting piece 2 can move along the axial direction of the first supporting rod 4, the central shaft of the first supporting rod 4 is vertical to the ground, and the lower supporting piece 3 can be a plate structure which is parallel to the ground and used for supporting;
a rubber supporting block 5 is arranged between the lower supporting piece 3 and the first elastic piece 7, and the rubber supporting block 5 can better absorb shock while supporting the first elastic piece 7, so that the normal work of the electromechanical equipment is ensured;
the supporting component comprises a supporting plate 8 and a connecting rod 9, one end of the connecting rod 9 is connected with the supporting plate 8, the other end of the connecting rod 9 is connected with a fixing piece 10 through a second elastic piece 11, a through hole matched with the first supporting rod 4 is formed in the supporting plate 8, the supporting plate 8 is arranged between the rubber supporting block 5 and the first elastic piece 7, vibration generated by electromechanical equipment is transmitted to the first elastic piece 7 through the upper supporting plate 8, vibration is reduced through the first elastic piece 7, part of vibration after the vibration is transmitted to the rubber supporting block 5 through the first elastic piece 7, vibration is reduced through the rubber supporting block 5, the other part of vibration is transmitted to the second elastic piece 11 through the supporting rod, and vibration is reduced through the second elastic piece 11;
a second support rod 12 is arranged at the bottom of the support plate 8, one end of the second support rod 12 is in contact with the support plate 8, the other end of the second support rod 12 is in contact with the rubber support block 5, the second support rod 12 is used for supporting the support plate 8 and plays a role of a fulcrum, the second support rod 12 can be replaced, and when the elasticity of the first elastic part 7 is insufficient, the longer second support rod 12 can be replaced so as to better use the first elastic part 7;
a second sleeve 13 matched with the second support rod 12 is arranged on the lower side wall of the support plate 8, and a positioning groove matched with the second support rod 12 is formed in the upper side wall of the rubber support block 5, so that the second support rod 12 can be better installed, and the second support rod 12 can better work;
the first elastic piece 7 and the second elastic piece 11 are both springs, so that the vibration generated by electromechanical equipment can be reduced;
the number of the fixed parts 10 is equal to that of the damping assemblies, the damping assemblies are connected with the fixed parts 10 through the second elastic parts 11, so that vibration generated by electromechanical equipment is transmitted to the second elastic parts 11 and the fixed parts 10, the fixed parts 10 are installed on the ground, and the fixed parts 10 are provided with installation hooks 14 used for connecting the second elastic parts 11;
owing to be equipped with damper, make can reduce the vibrations that electromechanical device operation in-process produced, guarantee electromechanical device safety, stable operation, owing to be equipped with mounting 10, make and be connected with the supporting component through second elastic component 11, through setting up supporting component and mounting 10, make the vibrations that electromechanical device produced can better reduce, the vibrations that are not eliminated by first elastic component 7 simultaneously can transmit second elastic component 11 through the supporting component, through first elastic component 7 and second elastic component 11, the vibrations that electromechanical device produced that can be better reduced, mounting 10 can set up in the place far away leaving frame 1 simultaneously, the vibrations that do not eliminate transmit to ground, can not produce the influence to electromechanical device.
The embodiments of the present invention have been described in detail with reference to the accompanying drawings, but the present invention is not limited to the described embodiments. It will be apparent to those skilled in the art that various changes, modifications, substitutions and alterations can be made in these embodiments without departing from the principles and spirit of the invention, and the scope of protection is still within the scope of the invention.

Claims (8)

1.一种机电设备用的减震装置,其特征在于:包括设置在地面的机架和若干固定件,所述机架上设有若干减震组件,任意一个所述减震组件包括下支撑件和上支撑件,所述下支撑件设置在所述机架上,所述上支撑件与所述下支撑件间设有第一支撑杆,所述第一支撑杆上套设有第一弹性件,所述第一弹性件与下支撑件间设有支撑组件,所述支撑组件远离所述第一弹性件的一端通过第二弹性件与所述固定件连接。1. A shock absorbing device for electromechanical equipment, characterized in that it comprises a frame arranged on the ground and a plurality of fixing parts, the frame is provided with a plurality of shock absorbing assemblies, and any one of the shock absorbing assemblies comprises a lower support and an upper support piece, the lower support piece is arranged on the frame, a first support rod is arranged between the upper support piece and the lower support piece, and a first support rod is sleeved on the first support rod An elastic piece, a support component is arranged between the first elastic piece and the lower support piece, and one end of the support component away from the first elastic piece is connected to the fixing piece through a second elastic piece. 2.根据权利要求1所述的一种机电设备用的减震装置,其特征在于:所述第一支撑杆与所述下支撑件固定连接,所述上支撑件上设有与所述第一支撑杆配合的第一套筒。2 . The shock absorbing device for electromechanical equipment according to claim 1 , wherein the first support rod is fixedly connected to the lower support member, and the upper support member is provided with a connection with the first support rod. 3 . A support rod is fitted with a first sleeve. 3.根据权利要求1所述的一种机电设备用的减震装置,其特征在于:所述下支撑件与所述第一弹性件间设有橡胶支撑块。3 . The shock absorbing device for electromechanical equipment according to claim 1 , wherein a rubber support block is arranged between the lower support member and the first elastic member. 4 . 4.根据权利要求3所述的一种机电设备用的减震装置,其特征在于:所述支撑组件包括支撑板和连接杆,所述连接杆的一端与所述支撑板连接,所述连接杆的另一端与所述固定件通过所述第二弹性件连接,所述支撑板上设有与所述第一支撑杆配合的通孔,所述支撑板设置在所述橡胶支撑块与所述第一弹性件之间。4 . The shock absorbing device for electromechanical equipment according to claim 3 , wherein the support assembly comprises a support plate and a connecting rod, one end of the connecting rod is connected with the support plate, and the connecting rod is connected with the support plate. 5 . The other end of the rod is connected with the fixing member through the second elastic member, the support plate is provided with a through hole which is matched with the first support rod, and the support plate is arranged between the rubber support block and the between the first elastic members. 5.根据权利要求4所述的一种机电设备用的减震装置,其特征在于:所述支撑板的底部设有第二支撑杆,所述第二支撑杆的一端与所述支撑板接触,所述第二支撑杆的另一端与所述橡胶支撑块接触。5 . The shock absorbing device for electromechanical equipment according to claim 4 , wherein the bottom of the support plate is provided with a second support rod, and one end of the second support rod is in contact with the support plate. 6 . , the other end of the second support rod is in contact with the rubber support block. 6.根据权利要求5所述的一种机电设备用的减震装置,其特征在于:所述支撑板的下侧壁上设有与所述第二支撑杆配合的第二套筒,所述橡胶支撑块的上侧壁设有与所述第二支撑杆配合的定位凹槽。6 . The shock absorbing device for electromechanical equipment according to claim 5 , wherein the lower side wall of the support plate is provided with a second sleeve that cooperates with the second support rod, and the The upper side wall of the rubber support block is provided with a positioning groove matched with the second support rod. 7.根据权利要求1所述的一种机电设备用的减震装置,其特征在于:所述第一弹性件、第二弹性件均为弹簧。7 . The shock absorbing device for electromechanical equipment according to claim 1 , wherein the first elastic member and the second elastic member are both springs. 8 . 8.根据权利要求1所述的一种机电设备用的减震装置,其特征在于:所述固定件的数量与所述减震组件的数量相等。8 . The shock absorbing device for electromechanical equipment according to claim 1 , wherein the number of the fixing parts is equal to the number of the shock absorbing components. 9 .
CN202111254925.5A 2021-10-27 2021-10-27 Damping device for electromechanical device Pending CN114060458A (en)

Priority Applications (1)

Application Number Priority Date Filing Date Title
CN202111254925.5A CN114060458A (en) 2021-10-27 2021-10-27 Damping device for electromechanical device

Applications Claiming Priority (1)

Application Number Priority Date Filing Date Title
CN202111254925.5A CN114060458A (en) 2021-10-27 2021-10-27 Damping device for electromechanical device

Publications (1)

Publication Number Publication Date
CN114060458A true CN114060458A (en) 2022-02-18

Family

ID=80235596

Family Applications (1)

Application Number Title Priority Date Filing Date
CN202111254925.5A Pending CN114060458A (en) 2021-10-27 2021-10-27 Damping device for electromechanical device

Country Status (1)

Country Link
CN (1) CN114060458A (en)

Citations (6)

* Cited by examiner, † Cited by third party
Publication number Priority date Publication date Assignee Title
CN207034526U (en) * 2017-08-17 2018-02-23 刘兵 damping device for electromechanical equipment
CN109099108A (en) * 2018-09-27 2018-12-28 国网河北省电力有限公司沧州供电分公司 A kind of damping device reducing dry-type transformer noise
CN208331570U (en) * 2018-04-03 2019-01-04 杭州职业技术学院 A kind of mechanical shock absorption pedestal for electromechanical integration
WO2019052240A1 (en) * 2017-09-15 2019-03-21 郑州云海信息技术有限公司 Multi-layer expansion card buffer bracket
CN208907527U (en) * 2018-04-19 2019-05-28 大连海顺重工环保设备有限公司 A kind of electromechanical equipment damping device
CN212899530U (en) * 2020-06-23 2021-04-06 无锡欧玛机械制造有限公司 Electromechanical device damping device

Patent Citations (6)

* Cited by examiner, † Cited by third party
Publication number Priority date Publication date Assignee Title
CN207034526U (en) * 2017-08-17 2018-02-23 刘兵 damping device for electromechanical equipment
WO2019052240A1 (en) * 2017-09-15 2019-03-21 郑州云海信息技术有限公司 Multi-layer expansion card buffer bracket
CN208331570U (en) * 2018-04-03 2019-01-04 杭州职业技术学院 A kind of mechanical shock absorption pedestal for electromechanical integration
CN208907527U (en) * 2018-04-19 2019-05-28 大连海顺重工环保设备有限公司 A kind of electromechanical equipment damping device
CN109099108A (en) * 2018-09-27 2018-12-28 国网河北省电力有限公司沧州供电分公司 A kind of damping device reducing dry-type transformer noise
CN212899530U (en) * 2020-06-23 2021-04-06 无锡欧玛机械制造有限公司 Electromechanical device damping device

Similar Documents

Publication Publication Date Title
CN107404179A (en) A kind of electric machine support with damping device
CN108592242A (en) Damping structure of compressor and air conditioner
CN207297738U (en) A kind of high-performance inertial navigation vibration absorber
CN208565975U (en) A kind of mechanical equipment damping device of novel improved structure
CN202998698U (en) Damping cabinet
CN114060458A (en) Damping device for electromechanical device
CN215764020U (en) Damping base
CN206256371U (en) Bridge girder anti-seismic bearing
CN111120553A (en) Shock absorber for simultaneously absorbing shock in multiple directions and shock absorption system
JP6370573B2 (en) Seismic isolation device
CN203599057U (en) Vibrating screen dual-spring vibration reduction device
CN218509667U (en) Buffer member, air compressor support, air compressor assembly and vehicle
CN216279177U (en) Shock absorption base of centrifugal machine
US2441510A (en) Vibration dampening mount
CN212055630U (en) A multi-directional shock absorber and a shock absorption system based thereon
CN209654523U (en) A vibration isolation device for control cabinet electrical equipment
CN211402709U (en) Mounting structure suitable for laser radar
CN211361334U (en) Numerical control machine tool buffering base
CN216111882U (en) Special vibration damper for deep hole drilling and boring machine
CN211550933U (en) Anti-seismic electromechanical equipment mounting base
CN217214492U (en) Buffer device for hydraulic disc spring operating mechanism
CN214994688U (en) Novel precast concrete wallboard and main body frame structure be connected device
CN206608688U (en) A kind of plant equipment shock-absorbing foot pad
CN219673167U (en) Vibration damper
CN216666355U (en) Vibration damping base device of small electromechanical device

Legal Events

Date Code Title Description
PB01 Publication
PB01 Publication
SE01 Entry into force of request for substantive examination
SE01 Entry into force of request for substantive examination
RJ01 Rejection of invention patent application after publication

Application publication date: 20220218

RJ01 Rejection of invention patent application after publication