CN114038777A - 一种半导体晶片测厚设备 - Google Patents
一种半导体晶片测厚设备 Download PDFInfo
- Publication number
- CN114038777A CN114038777A CN202210025646.XA CN202210025646A CN114038777A CN 114038777 A CN114038777 A CN 114038777A CN 202210025646 A CN202210025646 A CN 202210025646A CN 114038777 A CN114038777 A CN 114038777A
- Authority
- CN
- China
- Prior art keywords
- fixedly connected
- plate
- detection
- wall
- thickness measuring
- Prior art date
- Legal status (The legal status is an assumption and is not a legal conclusion. Google has not performed a legal analysis and makes no representation as to the accuracy of the status listed.)
- Granted
Links
- 239000004065 semiconductor Substances 0.000 title claims abstract description 55
- 235000012431 wafers Nutrition 0.000 claims abstract description 110
- 230000007246 mechanism Effects 0.000 claims abstract description 82
- 238000001514 detection method Methods 0.000 claims abstract description 80
- 238000001125 extrusion Methods 0.000 claims description 9
- 230000001681 protective effect Effects 0.000 claims description 5
- 235000017166 Bambusa arundinacea Nutrition 0.000 claims 2
- 235000017491 Bambusa tulda Nutrition 0.000 claims 2
- 241001330002 Bambuseae Species 0.000 claims 2
- 235000015334 Phyllostachys viridis Nutrition 0.000 claims 2
- 239000011425 bamboo Substances 0.000 claims 2
- 238000005259 measurement Methods 0.000 abstract description 15
- 239000000428 dust Substances 0.000 abstract description 3
- 238000000034 method Methods 0.000 description 6
- 238000010586 diagram Methods 0.000 description 2
- 238000004519 manufacturing process Methods 0.000 description 2
- 239000000463 material Substances 0.000 description 2
- 239000007779 soft material Substances 0.000 description 2
- 238000001179 sorption measurement Methods 0.000 description 2
- 238000007792 addition Methods 0.000 description 1
- 230000009286 beneficial effect Effects 0.000 description 1
- 239000000306 component Substances 0.000 description 1
- 230000006835 compression Effects 0.000 description 1
- 238000007906 compression Methods 0.000 description 1
- 239000008358 core component Substances 0.000 description 1
- 238000002347 injection Methods 0.000 description 1
- 239000007924 injection Substances 0.000 description 1
- 230000005389 magnetism Effects 0.000 description 1
- 238000012986 modification Methods 0.000 description 1
- 230000004048 modification Effects 0.000 description 1
- 239000002994 raw material Substances 0.000 description 1
- 238000002310 reflectometry Methods 0.000 description 1
- 239000000243 solution Substances 0.000 description 1
- 239000000126 substance Substances 0.000 description 1
- 238000006467 substitution reaction Methods 0.000 description 1
Images
Classifications
-
- H—ELECTRICITY
- H01—ELECTRIC ELEMENTS
- H01L—SEMICONDUCTOR DEVICES NOT COVERED BY CLASS H10
- H01L21/00—Processes or apparatus adapted for the manufacture or treatment of semiconductor or solid state devices or of parts thereof
- H01L21/67—Apparatus specially adapted for handling semiconductor or electric solid state devices during manufacture or treatment thereof; Apparatus specially adapted for handling wafers during manufacture or treatment of semiconductor or electric solid state devices or components ; Apparatus not specifically provided for elsewhere
- H01L21/683—Apparatus specially adapted for handling semiconductor or electric solid state devices during manufacture or treatment thereof; Apparatus specially adapted for handling wafers during manufacture or treatment of semiconductor or electric solid state devices or components ; Apparatus not specifically provided for elsewhere for supporting or gripping
- H01L21/6838—Apparatus specially adapted for handling semiconductor or electric solid state devices during manufacture or treatment thereof; Apparatus specially adapted for handling wafers during manufacture or treatment of semiconductor or electric solid state devices or components ; Apparatus not specifically provided for elsewhere for supporting or gripping with gripping and holding devices using a vacuum; Bernoulli devices
-
- H—ELECTRICITY
- H01—ELECTRIC ELEMENTS
- H01L—SEMICONDUCTOR DEVICES NOT COVERED BY CLASS H10
- H01L21/00—Processes or apparatus adapted for the manufacture or treatment of semiconductor or solid state devices or of parts thereof
- H01L21/67—Apparatus specially adapted for handling semiconductor or electric solid state devices during manufacture or treatment thereof; Apparatus specially adapted for handling wafers during manufacture or treatment of semiconductor or electric solid state devices or components ; Apparatus not specifically provided for elsewhere
- H01L21/68—Apparatus specially adapted for handling semiconductor or electric solid state devices during manufacture or treatment thereof; Apparatus specially adapted for handling wafers during manufacture or treatment of semiconductor or electric solid state devices or components ; Apparatus not specifically provided for elsewhere for positioning, orientation or alignment
-
- H—ELECTRICITY
- H01—ELECTRIC ELEMENTS
- H01L—SEMICONDUCTOR DEVICES NOT COVERED BY CLASS H10
- H01L21/00—Processes or apparatus adapted for the manufacture or treatment of semiconductor or solid state devices or of parts thereof
- H01L21/67—Apparatus specially adapted for handling semiconductor or electric solid state devices during manufacture or treatment thereof; Apparatus specially adapted for handling wafers during manufacture or treatment of semiconductor or electric solid state devices or components ; Apparatus not specifically provided for elsewhere
- H01L21/683—Apparatus specially adapted for handling semiconductor or electric solid state devices during manufacture or treatment thereof; Apparatus specially adapted for handling wafers during manufacture or treatment of semiconductor or electric solid state devices or components ; Apparatus not specifically provided for elsewhere for supporting or gripping
- H01L21/687—Apparatus specially adapted for handling semiconductor or electric solid state devices during manufacture or treatment thereof; Apparatus specially adapted for handling wafers during manufacture or treatment of semiconductor or electric solid state devices or components ; Apparatus not specifically provided for elsewhere for supporting or gripping using mechanical means, e.g. chucks, clamps or pinches
- H01L21/68714—Apparatus specially adapted for handling semiconductor or electric solid state devices during manufacture or treatment thereof; Apparatus specially adapted for handling wafers during manufacture or treatment of semiconductor or electric solid state devices or components ; Apparatus not specifically provided for elsewhere for supporting or gripping using mechanical means, e.g. chucks, clamps or pinches the wafers being placed on a susceptor, stage or support
- H01L21/68742—Apparatus specially adapted for handling semiconductor or electric solid state devices during manufacture or treatment thereof; Apparatus specially adapted for handling wafers during manufacture or treatment of semiconductor or electric solid state devices or components ; Apparatus not specifically provided for elsewhere for supporting or gripping using mechanical means, e.g. chucks, clamps or pinches the wafers being placed on a susceptor, stage or support characterised by a lifting arrangement, e.g. lift pins
-
- H—ELECTRICITY
- H01—ELECTRIC ELEMENTS
- H01L—SEMICONDUCTOR DEVICES NOT COVERED BY CLASS H10
- H01L21/00—Processes or apparatus adapted for the manufacture or treatment of semiconductor or solid state devices or of parts thereof
- H01L21/67—Apparatus specially adapted for handling semiconductor or electric solid state devices during manufacture or treatment thereof; Apparatus specially adapted for handling wafers during manufacture or treatment of semiconductor or electric solid state devices or components ; Apparatus not specifically provided for elsewhere
- H01L21/683—Apparatus specially adapted for handling semiconductor or electric solid state devices during manufacture or treatment thereof; Apparatus specially adapted for handling wafers during manufacture or treatment of semiconductor or electric solid state devices or components ; Apparatus not specifically provided for elsewhere for supporting or gripping
- H01L21/687—Apparatus specially adapted for handling semiconductor or electric solid state devices during manufacture or treatment thereof; Apparatus specially adapted for handling wafers during manufacture or treatment of semiconductor or electric solid state devices or components ; Apparatus not specifically provided for elsewhere for supporting or gripping using mechanical means, e.g. chucks, clamps or pinches
- H01L21/68714—Apparatus specially adapted for handling semiconductor or electric solid state devices during manufacture or treatment thereof; Apparatus specially adapted for handling wafers during manufacture or treatment of semiconductor or electric solid state devices or components ; Apparatus not specifically provided for elsewhere for supporting or gripping using mechanical means, e.g. chucks, clamps or pinches the wafers being placed on a susceptor, stage or support
- H01L21/68764—Apparatus specially adapted for handling semiconductor or electric solid state devices during manufacture or treatment thereof; Apparatus specially adapted for handling wafers during manufacture or treatment of semiconductor or electric solid state devices or components ; Apparatus not specifically provided for elsewhere for supporting or gripping using mechanical means, e.g. chucks, clamps or pinches the wafers being placed on a susceptor, stage or support characterised by a movable susceptor, stage or support, others than those only rotating on their own vertical axis, e.g. susceptors on a rotating caroussel
-
- H—ELECTRICITY
- H01—ELECTRIC ELEMENTS
- H01L—SEMICONDUCTOR DEVICES NOT COVERED BY CLASS H10
- H01L21/00—Processes or apparatus adapted for the manufacture or treatment of semiconductor or solid state devices or of parts thereof
- H01L21/67—Apparatus specially adapted for handling semiconductor or electric solid state devices during manufacture or treatment thereof; Apparatus specially adapted for handling wafers during manufacture or treatment of semiconductor or electric solid state devices or components ; Apparatus not specifically provided for elsewhere
- H01L21/683—Apparatus specially adapted for handling semiconductor or electric solid state devices during manufacture or treatment thereof; Apparatus specially adapted for handling wafers during manufacture or treatment of semiconductor or electric solid state devices or components ; Apparatus not specifically provided for elsewhere for supporting or gripping
- H01L21/687—Apparatus specially adapted for handling semiconductor or electric solid state devices during manufacture or treatment thereof; Apparatus specially adapted for handling wafers during manufacture or treatment of semiconductor or electric solid state devices or components ; Apparatus not specifically provided for elsewhere for supporting or gripping using mechanical means, e.g. chucks, clamps or pinches
- H01L21/68714—Apparatus specially adapted for handling semiconductor or electric solid state devices during manufacture or treatment thereof; Apparatus specially adapted for handling wafers during manufacture or treatment of semiconductor or electric solid state devices or components ; Apparatus not specifically provided for elsewhere for supporting or gripping using mechanical means, e.g. chucks, clamps or pinches the wafers being placed on a susceptor, stage or support
- H01L21/68792—Apparatus specially adapted for handling semiconductor or electric solid state devices during manufacture or treatment thereof; Apparatus specially adapted for handling wafers during manufacture or treatment of semiconductor or electric solid state devices or components ; Apparatus not specifically provided for elsewhere for supporting or gripping using mechanical means, e.g. chucks, clamps or pinches the wafers being placed on a susceptor, stage or support characterised by the construction of the shaft
-
- H—ELECTRICITY
- H01—ELECTRIC ELEMENTS
- H01L—SEMICONDUCTOR DEVICES NOT COVERED BY CLASS H10
- H01L22/00—Testing or measuring during manufacture or treatment; Reliability measurements, i.e. testing of parts without further processing to modify the parts as such; Structural arrangements therefor
- H01L22/10—Measuring as part of the manufacturing process
- H01L22/12—Measuring as part of the manufacturing process for structural parameters, e.g. thickness, line width, refractive index, temperature, warp, bond strength, defects, optical inspection, electrical measurement of structural dimensions, metallurgic measurement of diffusions
Landscapes
- Engineering & Computer Science (AREA)
- Manufacturing & Machinery (AREA)
- Computer Hardware Design (AREA)
- Microelectronics & Electronic Packaging (AREA)
- Power Engineering (AREA)
- Physics & Mathematics (AREA)
- Condensed Matter Physics & Semiconductors (AREA)
- General Physics & Mathematics (AREA)
- Testing Or Measuring Of Semiconductors Or The Like (AREA)
- Length Measuring Devices With Unspecified Measuring Means (AREA)
- A Measuring Device Byusing Mechanical Method (AREA)
Abstract
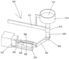
本发明涉及检测设备技术领域,具体涉及一种半导体晶片测厚设备,包括循环检测机构,所述循环检测机构包括检测箱,所述检测箱上固定设置有两个用于吸取晶片的吸持机构。本发明中,通过于半导体晶片测厚设备中的盒体两端均设置有吸持机构,使得两个夹持板能闭合,从而能通过两个夹持板夹持住半导体晶片或者晶圆进行夹持,从而能对半导体晶片或者晶圆对定位,确保晶片能在两个夹持板的中心位置处,这样能便于对晶片的中心点进行测厚,并且通过朝下吸持晶片能防止灰尘落到晶片或者晶圆的表面,从而能提高设备测厚的准确率,通过于半导体晶片测厚设备中设置有循环检测机构,形成一套循环的流程,这样能提高设备对多个晶片或者晶圆的检测效率。
Description
技术领域
本发明涉及检测设备技术领域,具体涉及一种半导体晶片测厚设备。
背景技术
半导体晶片是一类由半导体物质构成的半导体发光组件,半导体晶片为LED的主要原材料,是LED的发光核心部件,半导体晶片生产制造过程中需要对半导体晶片的亮度、电压、波长、长度、厚度、宽度等参数进行检测;半导体晶片检测过程中需要采用厚度检测装置对半导体晶片中心点进行厚度检测,半导体厚度检测装置根据检测方式不同可以分为:接触式厚度检测装置与非接触式厚度检测装置,其中,非接触式厚度检测装置主要通过对半导体晶片进行反射率测量和荧光测量的方式对半导体晶片进行厚度检测,具有使用便捷,对半导体晶片造成的损伤小的优点。
现有的半导体晶片测厚设备在测量半导体晶片厚度时需要对半导体晶片进行人工位置调整,使得半导体晶片的中心点能对准进行检测,然而人工调整不能进行快速定位,从而降低了半导体晶片厚度检测设备的便捷性,且现有的半导体晶片测厚设备不能自动对多个晶片进行连续测厚,从而其晶片测厚设备的检测效率较低,并且目前的半导体晶片测厚设备在检测完成后难以对合格产品或者不合格产品进行自动分类收集。
发明内容
为了克服上述的技术问题,本发明的目的在于提供一种半导体晶片测厚设备,通过于半导体晶片测厚设备中的盒体两端均设置有吸持机构,通过于吸持机构中设置有电动伸缩杆,通过电动伸缩杆能带动着活塞板于气管中进行滑动,从而能通过连通管将圆筒和伸缩筒中的空气抽取,从而能通过圆板底部的吸片球将半导体晶片或者晶圆吸住,同时能堵住吸片球的吸入口,通过继续移动活塞板,能使伸缩筒于圆筒中进行滑动,使得两个滑动座能于圆形滑杆上进行滑动,从而能通过两个滑动座带动着转动杆一进行转动,从而能带动着转动座于两个夹持板上进行转动,这样能通过转动座带动着两个夹持板围绕着转动轴二进行转动,使得两个夹持板能闭合,从而能通过两个夹持板夹持住半导体晶片或者晶圆进行夹持,从而能对半导体晶片或者晶圆对定位,确保晶片能在两个夹持板的中心位置处,这样能便于对晶片的中心点进行测厚,并且通过朝下吸持晶片能防止灰尘落到晶片或者晶圆的表面,从而能提高设备测厚的准确率;通过于半导体晶片测厚设备中设置有循环检测机构,通过循环检测机构中设置有驱动电机一,通过驱动电机一能带动着齿轮进行转动,从而能通过齿轮带动着巡回齿板进行移动,同时能使限位轮于两个夹板中进行滑动,从而能限制住巡回齿板和盒体的位置,使得齿轮能带动着巡回齿板和盒体两端的吸持机构先进行平移移动,然后会转动180度后再进行平移运动,从而能形成一种循环操作,在此过程中能使盒体中两端的吸持机构对半导体晶片或者晶圆进行吸取、夹持和检测,最终进行分类收集,形成一套循环的流程,这样能提高设备对多个晶片或者晶圆的检测效率;通过于检测箱的一侧固定设置有顶出机构,利用顶出机构中的驱动电机二能带动着螺纹杆进行转动,从而能驱动着螺纹块以及其两侧的滑动板于匚型板中进行滑动,从而能带动着滑动板一端的转动杆二进行转动,使得转动杆二的一端能带动着滑柱于限位环中进行滑动,从而能通过滑柱能带动着顶出板于限位筒中滑动,从而在每一次循环操作中都能通过顶出板将顶部的晶圆顶出,从而便于吸持机构进行吸持晶圆或晶片,通过分类机构中的气缸能带动着转动板进行转动,从而能将两个收集盘进行位置调换,这样能通过两个收集盘能对厚度检测合格的晶片以及厚度检测不合格的晶片进行分类收集,从而能提高测厚设备的功能性以及便捷性。
本发明的目的可以通过以下技术方案实现:
一种半导体晶片测厚设备,包括循环检测机构,所述循环检测机构包括检测箱,所述检测箱上固定设置有两个用于吸取晶片的吸持机构,所述检测箱的一侧壁上固定设置有用于顶出晶片的顶出机构,所述检测箱的另一侧壁上固定设置有分类机构;
所述循环检测机构包括检测箱,所述检测箱的顶壁固定连接有驱动电机一,所述驱动电机一的输出端上固定连接有转动轴一,所述转动轴一的外壁上固定连接有齿轮,所述齿轮的一侧啮合连接有巡回齿板,所述巡回齿板的底部固定连接有盒体,所述盒体的内部两端均与吸持机构相固定连接,通过于检测箱中设置有激光测厚机构能对晶片进行自动测厚,且测厚准确率高。
进一步在于,所述吸持机构包括与盒体内壁相固定连接的电动伸缩杆,所述电动伸缩杆的一端固定连接有活塞板,所述活塞板的外壁上滑动套接有气管,所述气管上套接有与盒体相固定连接的套接环,所述气管的一端固定连接有与其内部相连通的连通管,所述连通管的另一端固定连接有圆筒,所述圆筒中滑动套接有伸缩筒,所述伸缩筒的底部固定连接有与其内部相连通的圆板;
所述伸缩筒的外壁上固定套接有固定环,所述固定环的中心位置处固定连接有圆型滑杆,所述圆型滑杆上关于其竖直中心面对称滑动连接有两个滑动座,两个所述滑动座中均转动连接有转动杆一,两个所述转动杆一的另一端均转动连接有转动座,两个所述转动座底部均转动连接有夹持板,两个所述夹持板的一端转动连接有转动轴二,所述转动轴二的顶部固定连接有与盒体相固定连接的连接臂,两个所述夹持板的内侧壁上均固定设置有防护垫,通过吸持机构能先对晶片进行吸附操作,使得晶片能吸附在圆板上,然后能通过吸持机构中的伸缩筒于圆筒中进行滑动,从而能带动着两个转动杆一进行转动,从而能带动着两个夹持板对晶片进行夹持定位,使得晶片的中心点能对准进行测厚。
进一步在于,所述顶出机构包括与检测箱侧壁相固定连接的驱动电机二,所述驱动电机二的输出端上固定连接有螺纹杆,所述螺纹杆的一端转动连接有与检测箱相固定连接的L型板,所述螺纹杆上旋合连接有螺纹块,所述螺纹块的两侧壁上均固定连接有滑动板,两个所述滑动板的一端转动连接有转动杆二的一端,所述转动杆二的另一端转动连接有连接座,所述连接座的顶部固定连接有滑柱,所述滑柱的顶部固定连接有顶出板,所述顶出板的外壁上滑动套接有限位筒,所述限位筒的外壁上固定连接有与检测箱相固定连接的连接架,所述连接架的一端固定连接有与滑柱滑动套接的限位环,通过顶出机构中的驱动电机二能带动着螺纹杆进行转动,从而能驱动着螺纹块和滑动板于两个匚型板中进行滑动,从而能带动着转动杆二进行转动,使得转动杆二能带动着滑柱以及顶出板进行上升,从而能将顶出板顶部的晶片进行顶出,从而便于吸持机构进行吸持操作。
进一步在于,所述分类机构包括与检测箱相固定连接的固定板,所述固定板顶部的一端转动连接有转动板,所述转动板顶部的两端均固定连接有收集盘,所述固定板的底部固定连接有固定臂,所述固定臂的底部转动连接有转动块,所述转动块的侧壁上固定连接有气缸的一端,所述气缸的另一端固定连接有与转动板底部一端转动连接的驱动杆,通过分类机构中的两个收集盘能对检测合格的晶片或者检测不合格的晶片进行自动的分类收集,从而省去了人工进行分类收集的流程,从而提高了设备的功能性,节省了人力资源。
进一步在于,所述检测箱上固定设置有防护壳,所述巡回齿板外壁上的两端均固定连接有夹板,两个所述夹板之间滑动连接有限位轮,所述限位轮中转动连接有与转动轴一转动连接的定位板,所述定位板的一端与检测箱固定连接,通过限位轮能于两个夹板之间进行滑动,从而能通过限位轮能对巡回齿板进行限位,从而能使巡回齿板和盒体进行高度限位。
进一步在于,所述圆板的底部环形等距离固定连接有多个与其内部相连通的吸片球,通过于圆板的底部设置有吸片球,从而能通过吸片球对晶片进行吸持,且吸片球为软性材料,从而能防止晶片出现划痕等。
进一步在于,所述圆筒的内壁上固定连接有固定块一,所述固定块一的底部固定连接有挤压弹簧,所述挤压弹簧的底端固定连接有与伸缩筒内壁相固定的固定块二,通过挤压弹簧能挤压着伸缩筒于圆筒进行滑动,从而能使伸缩筒复原到原来的位置,使得伸缩筒能带动着两个转动杆一进行转动,从而能带动着两个转动座于两个夹持板上进行转动,这样能使两个夹持板重新扩张,从而便于进行下次对晶片进行夹持定位。
进一步在于,两个所述滑动板的外壁上滑动卡接有与L型板相固定连接的匚型板,通过于L型板的上固定连接有匚型板,从而能通过两个匚型板对滑动板进行限位滑动。
进一步在于,两个所述收集盘的底板顶部均环形等距离固定连接有多个海绵球,通过于收集盘的底板顶部设置有海绵球,从而能防止晶片或者晶圆落到收集盘中时受到磕破损坏。
进一步在于,两个所述夹持板一端的相对侧壁上均固定设置有磁铁,两个所述磁铁磁性相吸,通过于两个夹持板的相对侧壁上均设置有磁铁,从而能便于两个夹持板之间进行闭合,这样能便于对半导体晶片进行快速定位中心点。
本发明的有益效果:
1、通过于半导体晶片测厚设备中的盒体两端均设置有吸持机构,通过于吸持机构中设置有电动伸缩杆,通过电动伸缩杆能带动着活塞板于气管中进行滑动,从而能通过连通管将圆筒和伸缩筒中的空气抽取,从而能通过圆板底部的吸片球将半导体晶片或者晶圆吸住,同时能堵住吸片球的吸入口,通过继续移动活塞板,能使伸缩筒于圆筒中进行滑动,使得两个滑动座能于圆形滑杆上进行滑动,从而能通过两个滑动座带动着转动杆一进行转动,从而能带动着转动座于两个夹持板上进行转动,这样能通过转动座带动着两个夹持板围绕着转动轴二进行转动,使得两个夹持板能闭合,从而能通过两个夹持板夹持住半导体晶片或者晶圆进行夹持,从而能对半导体晶片或者晶圆对定位,确保晶片能在两个夹持板的中心位置处,这样能便于对晶片的中心点进行测厚,并且通过朝下吸持晶片能防止灰尘落到晶片或者晶圆的表面,从而能提高设备测厚的准确率;
2、通过于半导体晶片测厚设备中设置有循环检测机构,通过循环检测机构中设置有驱动电机一,通过驱动电机一能带动着齿轮进行转动,从而能通过齿轮带动着巡回齿板进行移动,同时能使限位轮于两个夹板中进行滑动,从而能限制住巡回齿板和盒体的位置,使得齿轮能带动着巡回齿板和盒体两端的吸持机构先进行平移移动,然后会转动180度后再进行平移运动,从而能形成一种循环操作,在此过程中能使盒体中两端的吸持机构对半导体晶片或者晶圆进行吸取、夹持和检测,最终进行分类收集,形成一套循环的流程,这样能提高设备对多个晶片或者晶圆的检测效率;
3、通过于检测箱的一侧固定设置有顶出机构,利用顶出机构中的驱动电机二能带动着螺纹杆进行转动,从而能驱动着螺纹块以及其两侧的滑动板于匚型板中进行滑动,从而能带动着滑动板一端的转动杆二进行转动,使得转动杆二的一端能带动着滑柱于限位环中进行滑动,从而能通过滑柱能带动着顶出板于限位筒中滑动,从而在每一次循环操作中都能通过顶出板将顶部的晶圆顶出,从而便于吸持机构进行吸持晶圆或晶片,通过分类机构中的气缸能带动着转动板进行转动,从而能将两个收集盘进行位置调换,这样能通过两个收集盘能对厚度检测合格的晶片以及厚度检测不合格的晶片进行分类收集,从而能提高测厚设备的功能性以及便捷性。
附图说明
下面结合附图对本发明作进一步的说明。
图1是本发明整体结构示意图;
图2是本发明中整体俯视结构示意图;
图3是本发明中循环检测机构结构示意图;
图4是本发明中循环滑动机构结构示意图;
图5是本发明中吸持机构结构示意图;
图6是本发明中夹持板结构示意图;
图7是本发明中圆筒内部结构示意图;
图8是本发明中顶出机构结构示意图;
图9是本发明中分类机构结构示意图。
图中:100、循环检测机构;101、检测箱;102、防护壳;103、驱动电机一;104、转动轴一;105、齿轮;106、巡回齿板;107、盒体;108、夹板;109、限位轮;110、定位板;200、吸持机构;201、电动伸缩杆;202、活塞板;203、气管;204、套接环;205、连通管;206、圆筒;207、伸缩筒;208、圆板;209、吸片球;210、固定环;211、圆型滑杆;212、滑动座;213、转动杆一;214、转动座;215、夹持板;216、转动轴二;217、连接臂;218、防护垫;219、固定块一;220、挤压弹簧;221、固定块二;300、顶出机构;301、驱动电机二;302、螺纹杆;303、L型板;304、螺纹块;305、滑动板;306、匚型板;307、转动杆二;308、连接座;309、滑柱;310、限位环;311、连接架;312、顶出板;313、限位筒;400、分类机构;401、固定板;402、转动板;403、收集盘;404、海绵球;405、固定臂;406、转动块;407、气缸;408、驱动杆。
具体实施方式
下面将结合本发明实施例,对本发明实施例中的技术方案进行清楚、完整地描述,显然,所描述的实施例仅仅是本发明一部分实施例,而不是全部的实施例。基于本发明中的实施例,本领域普通技术人员在没有作出创造性劳动前提下所获得的所有其它实施例,都属于本发明保护的范围。
请参阅图1-9所示,一种半导体晶片测厚设备,包括循环检测机构100,循环检测机构100包括检测箱101,检测箱101上固定设置有两个用于吸取晶片的吸持机构200,检测箱101的一侧壁上固定设置有用于顶出晶片的顶出机构300,检测箱101的另一侧壁上固定设置有分类机构400;
循环检测机构100包括检测箱101,检测箱101的顶壁固定连接有驱动电机一103,驱动电机一103的输出端上固定连接有转动轴一104,转动轴一104的外壁上固定连接有齿轮105,齿轮105的一侧啮合连接有巡回齿板106,巡回齿板106的底部固定连接有盒体107,盒体107的内部两端均与吸持机构200相固定连接,通过于检测箱101中设置有激光测厚机构能对晶片进行自动测厚,且测厚准确率高。
吸持机构200包括与盒体107内壁相固定连接的电动伸缩杆201,电动伸缩杆201的一端固定连接有活塞板202,活塞板202的外壁上滑动套接有气管203,气管203上套接有与盒体107相固定连接的套接环204,气管203的一端固定连接有与其内部相连通的连通管205,连通管205的另一端固定连接有圆筒206,圆筒206中滑动套接有伸缩筒207,伸缩筒207的底部固定连接有与其内部相连通的圆板208;
伸缩筒207的外壁上固定套接有固定环210,固定环210的中心位置处固定连接有圆型滑杆211,圆型滑杆211上关于其竖直中心面对称滑动连接有两个滑动座212,两个滑动座212中均转动连接有转动杆一213,两个转动杆一213的另一端均转动连接有转动座214,两个转动座214底部均转动连接有夹持板215,两个夹持板215的一端转动连接有转动轴二216,转动轴二216的顶部固定连接有与盒体107相固定连接的连接臂217,两个夹持板215的内侧壁上均固定设置有防护垫218,通过吸持机构200能先对晶片进行吸附操作,使得晶片能吸附在圆板208上,然后能通过吸持机构200中的伸缩筒207于圆筒206中进行滑动,从而能带动着两个转动杆一213进行转动,从而能带动着两个夹持板215对晶片进行夹持定位,使得晶片的中心点能对准进行测厚。
顶出机构300包括与检测箱101侧壁相固定连接的驱动电机二301,驱动电机二301的输出端上固定连接有螺纹杆302,螺纹杆302的一端转动连接有与检测箱101相固定连接的L型板303,螺纹杆302上旋合连接有螺纹块304,螺纹块304的两侧壁上均固定连接有滑动板305,两个滑动板305的一端转动连接有转动杆二307的一端,转动杆二307的另一端转动连接有连接座308,连接座308的顶部固定连接有滑柱309,滑柱309的顶部固定连接有顶出板312,顶出板312的外壁上滑动套接有限位筒313,限位筒313的外壁上固定连接有与检测箱101相固定连接的连接架311,连接架311的一端固定连接有与滑柱309滑动套接的限位环310,通过顶出机构300中的驱动电机二301能带动着螺纹杆302进行转动,从而能驱动着螺纹块304和滑动板305于两个匚型板306中进行滑动,从而能带动着转动杆二307进行转动,使得转动杆二307能带动着滑柱309以及顶出板312进行上升,从而能将顶出板312顶部的晶片进行顶出,从而便于吸持机构200进行吸持操作。
分类机构400包括与检测箱101相固定连接的固定板401,固定板401顶部的一端转动连接有转动板402,转动板402顶部的两端均固定连接有收集盘403,固定板401的底部固定连接有固定臂405,固定臂405的底部转动连接有转动块406,转动块406的侧壁上固定连接有气缸407的一端,气缸407的另一端固定连接有与转动板402底部一端转动连接的驱动杆408,通过分类机构400中的两个收集盘403能对检测合格的晶片或者检测不合格的晶片进行自动的分类收集,从而省去了人工进行分类收集的流程,从而提高了设备的功能性,节省了人力资源。
检测箱101上固定设置有防护壳102,巡回齿板106外壁上的两端均固定连接有夹板108,两个夹板108之间滑动连接有限位轮109,限位轮109中转动连接有与转动轴一104转动连接的定位板110,定位板110的一端与检测箱101固定连接,通过限位轮109能于两个夹板108之间进行滑动,从而能通过限位轮109能对巡回齿板106进行限位,从而能使巡回齿板106和盒体107进行高度限位。
圆板208的底部环形等距离固定连接有多个与其内部相连通的吸片球209,通过于圆板208的底部设置有吸片球209,从而能通过吸片球209对晶片进行吸持,且吸片球209为软性材料,从而能防止晶片出现划痕等。圆筒206的内壁上固定连接有固定块一219,固定块一219的底部固定连接有挤压弹簧220,挤压弹簧220的底端固定连接有与伸缩筒207内壁相固定的固定块二221,通过挤压弹簧220能挤压着伸缩筒207于圆筒206进行滑动,从而能使伸缩筒207复原到原来的位置,使得伸缩筒207能带动着两个转动杆一213进行转动,从而能带动着两个转动座214于两个夹持板215上进行转动,这样能使两个夹持板215重新扩张,从而便于进行下次对晶片进行夹持定位;两个滑动板305的外壁上滑动卡接有与L型板303相固定连接的匚型板306,通过于L型板303的上固定连接有匚型板306,从而能通过两个匚型板306对滑动板305进行限位滑动。
两个收集盘403的底板顶部均环形等距离固定连接有多个海绵球404,通过于收集盘403的底板顶部设置有海绵球404,从而能防止晶片或者晶圆落到收集盘403中时受到磕破损坏,两个夹持板215一端的相对侧壁上均固定设置有磁铁,两个磁铁磁性相吸,通过于两个夹持板215的相对侧壁上均设置有磁铁,从而能便于两个夹持板215之间进行闭合,这样能便于对半导体晶片进行快速定位中心点。
工作原理:使用时,通过打开循环检测机构100中的驱动电机一103的输出端能带动着转动轴一104进行转动,从而能带动着齿轮105进行转动,从而能通过齿轮105带动着巡回齿板106先进行平移移动,然后能带动着巡回齿板106和其底部的盒体107以及盒体107中的吸持机构200进行转动180度后再进行平移运动,从而能对晶片或者晶圆先后进行吸持、测厚和分类收集的操作,并且能形成一套循环操作流程,从而能提高设备对多个晶片的测厚效率,在此过程中,能打开驱动电机二301,通过驱动电机二301的输出端能带动着螺纹杆302进行转动,从而能带动着螺纹块304和滑动板305于两个匚型板306之间进行滑动,从而能通过两个滑动板305带动着转动杆二307进行转动,这样能带动着滑柱309于限位环310中进行滑动,从而能通过滑柱309带动着顶出板312于限位筒313中进行滑动,从而能通过顶出板312将其顶部的晶片或者晶圆顶出一定的高度,从而便于吸持机构200对晶片进行吸持操作;
通过吸持机构200中的电动伸缩杆201能带动着活塞板202于气管203中进行滑动,从而能通过连通管205将圆筒206和伸缩筒207中空气进行抽取,从而能通过圆板208上的吸片球209将晶片或者晶圆进行吸取,通过继续驱动活塞板202移动,从而能带动着伸缩筒207于圆筒206中进行滑动,从而能带动着两个滑动座212于圆型滑杆211上进行滑动,从而能带动着两个转动杆一213进行转动,使得转动杆一213带动着转动座214于夹持板215上进行转动,从而能驱动着两个夹持板215能围绕着转动轴二216进行转动,从而能使两个夹持板215进行闭合,这样能通过两个夹持板215对晶圆或者晶片进行夹持,从而能确保晶圆能在两个夹持板215的中心位置处,从而能便于对晶片的中心点进行测厚;
在测厚完成后,能驱动着吸持机构200进行平移移动,然后能通过电动伸缩杆201带动着活塞板202于气管203中进行推动,从而能使吸片球209喷气,从而能使晶片和圆板208分离,在此过程中,通过挤压弹簧220能带动着伸缩筒207恢复到原来的位置,从而能通过两个转动杆一213带动着两个夹持板215重新扩张,从而能便于进行下次对晶片进行定位夹持,然后能通过分类机构400中的气缸407能带动着转动板402进行转动,从而能调整两个收集盘403的位置,从而能对测厚合格的晶片或者测厚不合格的晶片进行分类收集。
在本说明书的描述中,参考术语“一个实施例”、“示例”、“具体示例”等的描述意指结合该实施例或示例描述的具体特征、结构、材料或者特点包含于本发明的至少一个实施例或示例中。在本说明书中,对上述术语的示意性表述不一定指的是相同的实施例或示例。而且,描述的具体特征、结构、材料或者特点可以在任何的一个或多个实施例或示例中以合适的方式结合。
以上内容仅仅是对本发明所作的举例和说明,所属本技术领域的技术人员对所描述的具体实施例做各种各样的修改或补充或采用类似的方式替代,只要不偏离发明或者超越本权利要求书所定义的范围,均应属于本发明的保护范围。
Claims (9)
1.一种半导体晶片测厚设备,其特征在于,包括循环检测机构(100),所 述循环检测机构(100) 包括检测箱( 101),所述检测箱( 101) 上固定设置有 两个用于吸取晶片的吸持机构(200),所述检测箱(101) 的一侧壁上固定设置 有用于顶出晶片的顶出机构(300),所述检测箱(101) 的另一侧壁上固定设置 有分类机构(400);
所述循环检测机构( 100) 包括检测箱(101),所述检测箱(101) 的顶壁 固定连接有驱动电机一(103),所述驱动电机一(103) 的输出端上固定连接有 转动轴一(104),所述转动轴一(104) 的外壁上固定连接有齿轮(105),所述 齿轮(105) 的一侧啮合连接有巡回齿板(106),所述巡回齿板(106) 的底部 固定连接有盒体(107),所述盒体( 107) 的内部两端均与吸持机构(200) 相 固定连接;
所述吸持机构(200)包括与盒体(107)内壁相固定连接的电动伸缩杆(201), 所述电动伸缩杆(201) 的一端固定连接有活塞板(202),所述活塞板(202) 的外壁上滑动套接有气管(203),所述气管(203) 上套接有与盒体(107) 相 固定连接的套接环(204),所述气管(203) 的一端固定连接有与其内部相连通 的连通管(205),所述连通管(205) 的另一端固定连接有圆筒(206),所述圆 筒(206) 中滑动套接有伸缩筒(207),所述伸缩筒(207) 的底部固定连接有 与其内部相连通的圆板(208),所述伸缩筒(207) 的外壁上固定套接有固定环 (210),所述固定环(210) 的中心位置处固定连接有圆型滑杆(211),所述圆 型滑杆(211) 上关于其竖直中心面对称滑动连接有两个滑动座(212),两个所 述滑动座(212) 中均转动连接有转动杆一(213),两个所述转动杆一(213) 的另一端均转动连接有转动座(214),两个所述转动座(214) 底部均转动连接有夹持板(215),两个所述夹持板(215) 的一端转动连接有转动轴二(216), 所述转动轴二(216)的顶部固定连接有与盒体(107)相固定连接的连接臂(217),两个所述夹持板(215) 的内侧壁上均固定设置有防护垫(218)。
2.根据权利要求 1 所述的一种半导体晶片测厚设备,其特征在于,所述顶 出机构(300) 包括与检测箱(101) 侧壁相固定连接的驱动电机二(301),所 述驱动电机二(301)的输出端上固定连接有螺纹杆(302),所述螺纹杆(302) 的一端转动连接有与检测箱(101)相固定连接的 L 型板(303),所述螺纹杆(302) 上旋合连接有螺纹块(304),所述螺纹块(304) 的两侧壁上均固定连接有滑动 板(305),两个所述滑动板(305) 的一端转动连接有转动杆二(307) 的一端, 所述转动杆二(307) 的另一端转动连接有连接座(308),所述连接座(308)的顶部固定连接有滑柱(309),所述滑柱(309) 的顶部固定连接有顶出板(312),所述顶出板(312) 的外壁上滑动套接有限位筒(313),所述限位筒(313) 的 外壁上固定连接有与检测箱(101)相固定连接的连接架(311),所述连接架(311) 的一端固定连接有与滑柱(309) 滑动套接的限位环(310)。
3.根据权利要求 1 所述的一种半导体晶片测厚设备,其特征在于,所述分 类机构(400) 包括与检测箱(101) 相固定连接的固定板(401),所述固定板 (401) 顶部的一端转动连接有转动板(402),所述转动板(402) 顶部的两端 均固定连接有收集盘(403),所述固定板(401) 的底部固定连接有固定臂(405), 所述固定臂(405) 的底部转动连接有转动块(406),所述转动块(406) 的侧 壁上固定连接有气缸(407) 的一端,所述气缸(407) 的另一端固定连接有与转动板(402) 底部一端转动连接的驱动杆(408)。
4.根据权利要求 1 所述的一种半导体晶片测厚设备,其特征在于,所述检测箱(101)上固定设置有防护壳(102),所述巡回齿板( 106) 外壁上的两端 均固定连接有夹板(108),两个所述夹板(108) 之间滑动连接有限位轮(109), 所述限位轮(109) 中转动连接有与转动轴一(104) 转动连接的定位板(110), 所述定位板(110) 的一端与检测箱(101)固定连接。
5.根据权利要求 2 所述的一种半导体晶片测厚设备,其特征在于,所述圆 板(208)的底部环形等距离固定连接有多个与其内部相连通的吸片球(209)。
6.根据权利要求 2 所述的一种半导体晶片测厚设备,其特征在于,所述圆 筒(206)的内壁上固定连接有固定块一(219),所述固定块一(219) 的底部 固定连接有挤压弹簧(220),所述挤压弹簧(220) 的底端固定连接有与伸缩筒 (207) 内壁相固定的固定块二(221)。
7.根据权利要求 3 所述的一种半导体晶片测厚设备,其特征在于,两个所述滑动板(305)的外壁上滑动卡接有与 L 型板(303)相固定连接的匚型板(306)。
8.根据权利要求 4 所述的一种半导体晶片测厚设备,其特征在于,两个所 述收集盘(403) 的底板顶部均环形等距离固定连接有多个海绵球(404)。
9.根据权利要求 2 所述的一种半导体晶片测厚设备,其特征在于,两个所 述夹持板(215) 一端的相对侧壁上均固定设置有磁铁,两个所述磁铁磁性相吸。
Priority Applications (1)
| Application Number | Priority Date | Filing Date | Title |
|---|---|---|---|
| CN202210025646.XA CN114038777B (zh) | 2022-01-11 | 2022-01-11 | 一种半导体晶片测厚设备 |
Applications Claiming Priority (1)
| Application Number | Priority Date | Filing Date | Title |
|---|---|---|---|
| CN202210025646.XA CN114038777B (zh) | 2022-01-11 | 2022-01-11 | 一种半导体晶片测厚设备 |
Publications (2)
| Publication Number | Publication Date |
|---|---|
| CN114038777A true CN114038777A (zh) | 2022-02-11 |
| CN114038777B CN114038777B (zh) | 2022-04-08 |
Family
ID=80141549
Family Applications (1)
| Application Number | Title | Priority Date | Filing Date |
|---|---|---|---|
| CN202210025646.XA Active CN114038777B (zh) | 2022-01-11 | 2022-01-11 | 一种半导体晶片测厚设备 |
Country Status (1)
| Country | Link |
|---|---|
| CN (1) | CN114038777B (zh) |
Cited By (6)
| Publication number | Priority date | Publication date | Assignee | Title |
|---|---|---|---|---|
| CN114459410A (zh) * | 2022-02-14 | 2022-05-10 | 深圳市卓晶微智能机器人科技有限公司 | 一种半导体晶片厚度检测装置及其检测方法 |
| CN115831793A (zh) * | 2022-12-02 | 2023-03-21 | 江苏希太芯科技有限公司 | 半导体制造过程中质量计量装置 |
| CN116986308A (zh) * | 2023-09-27 | 2023-11-03 | 江苏希太芯科技有限公司 | 一种高精度自动化半导体晶圆测厚仪 |
| CN117116832A (zh) * | 2023-08-30 | 2023-11-24 | 江苏森标科技有限公司 | 一种半导体生产用非接触式厚度检测装置 |
| CN117533788A (zh) * | 2023-11-10 | 2024-02-09 | 珠海诚锋电子科技有限公司 | 一种自动上下料的圆晶检测设备及其使用方法 |
| CN117781988A (zh) * | 2024-02-27 | 2024-03-29 | 中国科学院长春光学精密机械与物理研究所 | 一种检测半导体晶片厚度的检测装置 |
Citations (5)
| Publication number | Priority date | Publication date | Assignee | Title |
|---|---|---|---|---|
| JP2001313279A (ja) * | 2000-05-01 | 2001-11-09 | Hamamatsu Photonics Kk | 厚み計測装置、及びそれを用いたウエットエッチング装置、ウエットエッチング方法 |
| CN211100234U (zh) * | 2019-08-14 | 2020-07-28 | 浙江仕能机电科技有限公司 | 一种精密影像采集及分选设备 |
| CN111482374A (zh) * | 2020-04-03 | 2020-08-04 | 无锡森顿智能科技有限公司 | 硅片检测分选机及其分选方法 |
| CN112539706A (zh) * | 2020-12-09 | 2021-03-23 | 世科工业设计沧州有限公司 | 一种晶圆薄片切割质量检测设备 |
| CN112556590A (zh) * | 2020-12-04 | 2021-03-26 | 北京中电科电子装备有限公司 | 一种晶圆测量装置、厚度测量方法及厚度测量装置 |
-
2022
- 2022-01-11 CN CN202210025646.XA patent/CN114038777B/zh active Active
Patent Citations (5)
| Publication number | Priority date | Publication date | Assignee | Title |
|---|---|---|---|---|
| JP2001313279A (ja) * | 2000-05-01 | 2001-11-09 | Hamamatsu Photonics Kk | 厚み計測装置、及びそれを用いたウエットエッチング装置、ウエットエッチング方法 |
| CN211100234U (zh) * | 2019-08-14 | 2020-07-28 | 浙江仕能机电科技有限公司 | 一种精密影像采集及分选设备 |
| CN111482374A (zh) * | 2020-04-03 | 2020-08-04 | 无锡森顿智能科技有限公司 | 硅片检测分选机及其分选方法 |
| CN112556590A (zh) * | 2020-12-04 | 2021-03-26 | 北京中电科电子装备有限公司 | 一种晶圆测量装置、厚度测量方法及厚度测量装置 |
| CN112539706A (zh) * | 2020-12-09 | 2021-03-23 | 世科工业设计沧州有限公司 | 一种晶圆薄片切割质量检测设备 |
Cited By (12)
| Publication number | Priority date | Publication date | Assignee | Title |
|---|---|---|---|---|
| CN114459410A (zh) * | 2022-02-14 | 2022-05-10 | 深圳市卓晶微智能机器人科技有限公司 | 一种半导体晶片厚度检测装置及其检测方法 |
| CN114459410B (zh) * | 2022-02-14 | 2023-11-14 | 深圳市卓晶微智能机器人科技有限公司 | 一种半导体晶片厚度检测装置及其检测方法 |
| CN115831793A (zh) * | 2022-12-02 | 2023-03-21 | 江苏希太芯科技有限公司 | 半导体制造过程中质量计量装置 |
| CN115831793B (zh) * | 2022-12-02 | 2023-09-01 | 江苏希太芯科技有限公司 | 半导体制造过程中质量计量装置 |
| CN117116832A (zh) * | 2023-08-30 | 2023-11-24 | 江苏森标科技有限公司 | 一种半导体生产用非接触式厚度检测装置 |
| CN117116832B (zh) * | 2023-08-30 | 2024-11-15 | 江苏森标科技有限公司 | 一种半导体生产用非接触式厚度检测装置 |
| CN116986308A (zh) * | 2023-09-27 | 2023-11-03 | 江苏希太芯科技有限公司 | 一种高精度自动化半导体晶圆测厚仪 |
| CN116986308B (zh) * | 2023-09-27 | 2023-12-08 | 江苏希太芯科技有限公司 | 一种高精度自动化半导体晶圆测厚仪 |
| CN117533788A (zh) * | 2023-11-10 | 2024-02-09 | 珠海诚锋电子科技有限公司 | 一种自动上下料的圆晶检测设备及其使用方法 |
| CN117533788B (zh) * | 2023-11-10 | 2024-04-19 | 珠海诚锋电子科技有限公司 | 一种自动上下料的圆晶检测设备及其使用方法 |
| CN117781988A (zh) * | 2024-02-27 | 2024-03-29 | 中国科学院长春光学精密机械与物理研究所 | 一种检测半导体晶片厚度的检测装置 |
| CN117781988B (zh) * | 2024-02-27 | 2024-05-14 | 中国科学院长春光学精密机械与物理研究所 | 一种检测半导体晶片厚度的检测装置 |
Also Published As
| Publication number | Publication date |
|---|---|
| CN114038777B (zh) | 2022-04-08 |
Similar Documents
| Publication | Publication Date | Title |
|---|---|---|
| CN114038777B (zh) | 一种半导体晶片测厚设备 | |
| CN108672318B (zh) | 一种基于机器视觉的外观检测装置 | |
| CN206146642U (zh) | 一种轴承检测装置 | |
| CN114392930A (zh) | 一种轴承套圈滚道自动检测与分选装置及其使用方法 | |
| CN111146491A (zh) | 一种位置调整装置及动力电池外观自动化检测设备 | |
| CN111982507A (zh) | 一种汽车发动机齿轮通孔检测装置 | |
| CN106179983B (zh) | 一种手机主按键装饰圈自动检测机 | |
| CN114290018A (zh) | 一种接线端子用自动化生产设备 | |
| CN210220919U (zh) | 一种多工位测量工件内径尺寸的测量机构 | |
| CN209513597U (zh) | 一种动式双排芯片检测移送设备 | |
| CN111137640A (zh) | 一种屏幕色彩检查机 | |
| CN115799947A (zh) | 一种换向器加工生产装置 | |
| CN210876330U (zh) | 一种自动分选设备 | |
| CN110649886A (zh) | 太阳能电池芯片检测设备 | |
| CN106881279A (zh) | 一种可以检测篮球圆度和表面缺陷的篮球堆叠方法 | |
| CN208847160U (zh) | 一种圆度检测器用检测机构 | |
| CN207248777U (zh) | 管状装置检测设备及采血管检测装置 | |
| CN217667721U (zh) | 一种转盘全自动合套压保一体机 | |
| CN204228108U (zh) | 一种滴胶键测量机 | |
| CN116331836A (zh) | 一种自动定位物料抓取装置 | |
| CN219785669U (zh) | 一种用于oled屏缺陷的自动光学检测装置 | |
| CN204361073U (zh) | 半导体晶片的托起装置 | |
| CN223417778U (zh) | 一种匹克球称重检验装置 | |
| CN208567675U (zh) | 一种双工位通规螺纹检测装置 | |
| CN223192803U (zh) | 一种视觉检测机 |
Legal Events
| Date | Code | Title | Description |
|---|---|---|---|
| PB01 | Publication | ||
| PB01 | Publication | ||
| SE01 | Entry into force of request for substantive examination | ||
| SE01 | Entry into force of request for substantive examination | ||
| GR01 | Patent grant | ||
| GR01 | Patent grant |