CN114024225A - Power equipment fixing assembly convenient to overhaul - Google Patents

Power equipment fixing assembly convenient to overhaul Download PDF

Info

Publication number
CN114024225A
CN114024225A CN202111323931.1A CN202111323931A CN114024225A CN 114024225 A CN114024225 A CN 114024225A CN 202111323931 A CN202111323931 A CN 202111323931A CN 114024225 A CN114024225 A CN 114024225A
Authority
CN
China
Prior art keywords
supporting plate
plate
transmission gear
fixing
climbing
Prior art date
Legal status (The legal status is an assumption and is not a legal conclusion. Google has not performed a legal analysis and makes no representation as to the accuracy of the status listed.)
Granted
Application number
CN202111323931.1A
Other languages
Chinese (zh)
Other versions
CN114024225B (en
Inventor
赵应禄
杨德浩
李�瑞
张丽
张燕
田静
郑志成
程悦
年丽娜
Current Assignee (The listed assignees may be inaccurate. Google has not performed a legal analysis and makes no representation or warranty as to the accuracy of the list.)
Xinye Power Supply Co of State Grid Henan Electric Power Co Ltd
Original Assignee
Xinye Power Supply Co of State Grid Henan Electric Power Co Ltd
Priority date (The priority date is an assumption and is not a legal conclusion. Google has not performed a legal analysis and makes no representation as to the accuracy of the date listed.)
Filing date
Publication date
Application filed by Xinye Power Supply Co of State Grid Henan Electric Power Co Ltd filed Critical Xinye Power Supply Co of State Grid Henan Electric Power Co Ltd
Priority to CN202111323931.1A priority Critical patent/CN114024225B/en
Publication of CN114024225A publication Critical patent/CN114024225A/en
Application granted granted Critical
Publication of CN114024225B publication Critical patent/CN114024225B/en
Active legal-status Critical Current
Anticipated expiration legal-status Critical

Links

Images

Classifications

    • HELECTRICITY
    • H02GENERATION; CONVERSION OR DISTRIBUTION OF ELECTRIC POWER
    • H02BBOARDS, SUBSTATIONS OR SWITCHING ARRANGEMENTS FOR THE SUPPLY OR DISTRIBUTION OF ELECTRIC POWER
    • H02B1/00Frameworks, boards, panels, desks, casings; Details of substations or switching arrangements
    • H02B1/26Casings; Parts thereof or accessories therefor
    • H02B1/50Pedestal- or pad-mounted casings; Parts thereof or accessories therefor
    • H02B1/505Pedestal- or pad-mounted casings; Parts thereof or accessories therefor retractable installations
    • EFIXED CONSTRUCTIONS
    • E06DOORS, WINDOWS, SHUTTERS, OR ROLLER BLINDS IN GENERAL; LADDERS
    • E06CLADDERS
    • E06C7/00Component parts, supporting parts, or accessories
    • E06C7/08Special construction of longitudinal members, or rungs or other treads
    • E06C7/082Connections between rungs or treads and longitudinal members
    • EFIXED CONSTRUCTIONS
    • E06DOORS, WINDOWS, SHUTTERS, OR ROLLER BLINDS IN GENERAL; LADDERS
    • E06CLADDERS
    • E06C7/00Component parts, supporting parts, or accessories
    • E06C7/10Reinforcements for ladders
    • EFIXED CONSTRUCTIONS
    • E06DOORS, WINDOWS, SHUTTERS, OR ROLLER BLINDS IN GENERAL; LADDERS
    • E06CLADDERS
    • E06C9/00Ladders characterised by being permanently attached to fixed structures, e.g. fire escapes
    • E06C9/06Ladders characterised by being permanently attached to fixed structures, e.g. fire escapes movably mounted
    • E06C9/14Ladders characterised by being permanently attached to fixed structures, e.g. fire escapes movably mounted with non-rigid longitudinal members, e.g. rope or chain ladders, ladders of the lazy-tongs type
    • HELECTRICITY
    • H02GENERATION; CONVERSION OR DISTRIBUTION OF ELECTRIC POWER
    • H02BBOARDS, SUBSTATIONS OR SWITCHING ARRANGEMENTS FOR THE SUPPLY OR DISTRIBUTION OF ELECTRIC POWER
    • H02B1/00Frameworks, boards, panels, desks, casings; Details of substations or switching arrangements
    • H02B1/26Casings; Parts thereof or accessories therefor
    • HELECTRICITY
    • H02GENERATION; CONVERSION OR DISTRIBUTION OF ELECTRIC POWER
    • H02BBOARDS, SUBSTATIONS OR SWITCHING ARRANGEMENTS FOR THE SUPPLY OR DISTRIBUTION OF ELECTRIC POWER
    • H02B3/00Apparatus specially adapted for the manufacture, assembly, or maintenance of boards or switchgear

Landscapes

  • Engineering & Computer Science (AREA)
  • Power Engineering (AREA)
  • Mechanical Engineering (AREA)
  • Manufacturing & Machinery (AREA)
  • Emergency Lowering Means (AREA)

Abstract

本发明公开了一种便于检修的电力设备固定组件,包括固定柱和底座,所述固定柱上安装有电力设备,所述固定柱的下方固定连接有底座,所述固定柱上还安装有用于攀登的攀登机构,所述攀登机构包括驱动模块、攀登模块和保护模块;所述攀登模块包括攀登组件和限位组件,在所述固定柱上安装一个攀登组件,能够为检修人员检修时提供一个支撑点,使其避免因为没有支撑点而导致的无法快速活动的现象的发生,如此,能够提高检修人员在高空中检修电力设备的灵活程度和便捷性。

Figure 202111323931

The invention discloses an electric equipment fixing component which is convenient for maintenance, comprising a fixing column and a base, the electric equipment is installed on the fixing column, the base is fixedly connected to the lower part of the fixing column, and the fixing column is also installed with a A climbing mechanism for climbing, the climbing mechanism includes a driving module, a climbing module and a protection module; the climbing module includes a climbing component and a limit component, and a climbing component is installed on the fixed column, which can provide a maintenance personnel with a climbing component when overhauling The supporting point can avoid the phenomenon of inability to move quickly because there is no supporting point. In this way, it can improve the flexibility and convenience of maintenance personnel to repair power equipment at high altitude.

Figure 202111323931

Description

Power equipment fixing assembly convenient to overhaul
Technical Field
The invention relates to the field of power monitoring, in particular to a power equipment fixing assembly convenient to overhaul.
Background
The power equipment is a power production and consumption system which consists of links of power generation, power transmission, power transformation, power distribution, power utilization and the like. The primary energy in the nature is converted into electric power by a power generation device, and then the electric power is supplied to each user through power transmission, power transformation and power distribution. The power equipment mainly comprises power generation equipment and power supply equipment, wherein the power generation equipment mainly comprises a power station boiler, a steam turbine, a gas turbine, a water turbine, a generator, a transformer and the like, and the power supply equipment mainly comprises power transmission lines, mutual inductors, contactors and the like with various voltage grades.
At present, many power equipment, for example the transformer is installed in the eminence more, and the maintainer does not have a fixed maintenance platform in eminence usually and is used for supporting the maintainer to overhaul work, consequently can not provide sufficient safety guarantee when the maintainer overhauls to, do not have the strong point and just mean that the maintainer can not accomplish the action that oneself wanted to do fast, consequently also can influence the efficiency of overhauing.
Disclosure of Invention
The present invention is directed to a power equipment fixing assembly for easy maintenance, so as to solve the problems of the background art mentioned above.
In order to achieve the purpose, the invention provides the following technical scheme:
a power equipment fixing assembly convenient to overhaul comprises a fixing column and a base, wherein power equipment is mounted on the fixing column, the base is fixedly connected below the fixing column, a climbing mechanism for climbing is further mounted on the fixing column, and the climbing mechanism comprises a driving module, a climbing module and a protection module; the climbing module comprises a climbing assembly and a limiting assembly, the climbing assembly comprises a first supporting plate, a second supporting plate and a third supporting plate, the first supporting plate, the second supporting plate and the third supporting plate are sequentially connected to the fixed column in a rotating mode from top to bottom along the axis of the fixed column, one end of the second supporting plate is further connected with one end of a first connecting plate in a rotating mode, the other end of the first connecting plate is arranged on the first supporting plate in a sliding mode, one end of the third supporting plate is further connected with one end of a second connecting plate in a rotating mode, and the other end of the second connecting plate is further connected to the second supporting plate in a sliding mode; when the first supporting plate, the second supporting plate and the third supporting plate are unfolded simultaneously, the first supporting plate, the second supporting plate and the third supporting plate are connected to the fixing column through the limiting assembly and keep in a static state.
As a further scheme of the invention: the limiting assembly comprises a plurality of limiting units, each limiting unit comprises a limiting plate, a magnetic suction block, a magnetic repulsion block and a magnetic suction head, and the first supporting plate is connected with the fixing column through the limiting unit; the limiting plate comprises a connecting end and a magnetic suction end, the connecting end is rotatably connected to the first supporting plate, a magnetic suction head is fixedly connected to the magnetic suction end, a magnetic suction block is fixedly connected to the side wall of the fixed column, and the magnetic suction head is magnetically matched with the magnetic suction block; the second supporting plate is provided with a magnetic repulsion block, and the magnetism of the magnetic repulsion block and the magnetism of the magnetic suction head repel each other; the second supporting plate and the third supporting plate are connected with the fixing column through a limiting unit.
As a still further scheme of the invention: the magnetic block is provided with a clamping groove.
As a still further scheme of the invention: the driving module comprises a rack, a driving wheel and a driven wheel, the rack is arranged inside the base in a sliding mode, the driving wheel meshed with the rack is further arranged above the rack, the driven wheel meshed with the driving wheel is further arranged above the driving wheel, the driven wheel is rotatably arranged on the side face of the fixed column, and the driven wheel is fixedly connected with the third supporting plate.
As a still further scheme of the invention: the protection module comprises a supporting plate and a gear assembly, the gear assembly comprises a first transmission gear, a second transmission gear, a third transmission gear and a fourth transmission gear, the first transmission gear, the second transmission gear, the third transmission gear and the fourth transmission gear are all rotatably connected to the fixed column, the fourth transmission gear is fixedly connected with the first supporting plate, the third transmission gear in meshing transmission with the fourth transmission gear is arranged above the fourth transmission gear, the second transmission gear in meshing transmission with the third transmission gear is arranged above the third transmission gear, the first transmission gear in meshing transmission with the second transmission gear is arranged above the second transmission gear, and the supporting plate is fixedly connected to the first transmission gear.
As a still further scheme of the invention: the handrail is U-shaped.
As a still further scheme of the invention: a cavity is formed in the fixed column, an unfolding mechanism is arranged in the cavity and comprises an unfolding plate, a connecting plate and a fixed plate, the fixed plate is fixed on the inner wall of the cavity, the fixed plate is rotatably connected with the unfolding plate through the connecting plate, and a plurality of fastening sleeves are further arranged on the connecting plate; and a buckle used for limiting the opening and closing of the expansion plate is further rotatably arranged on the fixed column.
As a still further scheme of the invention: the base is fixedly connected with a support, a protection net mechanism is arranged on the support through a power cylinder and comprises a fixed ring, connecting rods and unfolding blocks, the fixed ring is sleeved on the outer side of the fixed column, a plurality of connecting rods are further arranged on the side surface of the fixed ring, each connecting rod is elastically connected with the corresponding unfolding block through a spring, and each two adjacent unfolding blocks are further connected with a connecting net; the unfolding block is also provided with a notch, the connecting rod is also fixedly connected with a clamp nail, and the clamp nail is matched with the notch in a clamping manner; the fixed end of the power cylinder is connected to the support, and the movable end of the power cylinder is fixedly connected to the fixed ring.
Compared with the prior art, the invention has the beneficial effects that: when the positioning device is used, the driving module drives the third support plate to rotate, the third support plate drives the second support plate to rotate through the second connecting plate, and particularly, when the third support plate rotates, one end of the second connecting plate is rotatably connected with the third support plate, and the other end of the second connecting plate is slidably connected with the second support plate, so that the second connecting plate can slide in the second support plate and simultaneously drive the second support plate to rotate, and the second support plate is positioned by the limiting mechanism after reaching a designated position; the unfolding mode between the first supporting plate and the second supporting plate is the same as that between the third supporting plate and the second supporting plate; the climbing assembly is mounted on the fixing column, a supporting point can be provided for overhauling by an overhauling person, the phenomenon that the electric power equipment cannot move fast due to the fact that the supporting point does not exist is avoided, and therefore the flexibility and convenience of the overhauling person for overhauling the electric power equipment in high altitude can be improved.
Drawings
Fig. 1 is a schematic structural view of an electrical equipment fixing assembly convenient for maintenance.
Fig. 2 is a schematic structural view of a deployment mechanism in an electrical equipment securing assembly for ease of maintenance.
Fig. 3 is a schematic structural diagram of a protection net mechanism in an electrical equipment fixing assembly convenient for maintenance.
Fig. 4 is a schematic structural diagram of a top view of a protective screen mechanism in an electrical equipment fixing assembly for easy maintenance.
Fig. 5 is a schematic structural diagram of a protection network mechanism with a hidden connection network in an electrical equipment fixing assembly convenient for maintenance.
Fig. 6 is a schematic structural view of a handrail in the power equipment fixing assembly convenient for maintenance.
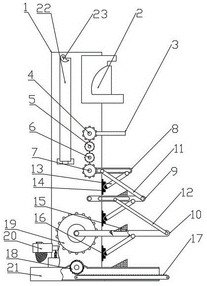
In the figure: 1-fixed column, 2-electric power equipment, 3-supporting plate, 4-first transmission gear, 5-second transmission gear, 6-third transmission gear, 7-fourth transmission gear, 8-first supporting plate, 9-second supporting plate, 10-third supporting plate, 11-first connecting plate, 12-second connecting plate, 13-limiting plate, 14-magnetic attraction block, 15-magnetic repulsion block, 16-magnetic suction head, 17-rack, 18-driving wheel, 19-driven wheel, 20-protecting net mechanism, 21-base, 22-expanding plate, 23-buckle, 24-connecting piece, 25-fastening sleeve, 26-fixing plate, 27-fixing ring, 28-power cylinder, 29-connecting net, 30-expanding block, 31-support, 32-connecting rod, 33-staple, 34-spring.
Detailed Description
The technical solution of the present patent will be described in further detail with reference to the following embodiments.
A power equipment fixing assembly convenient to overhaul comprises a fixing column 1 and a base 21, wherein a power equipment 2 is installed on the fixing column 1, the base 21 is fixedly connected below the fixing column 1, a climbing mechanism for climbing is further installed on the fixing column 1, and the climbing mechanism comprises a driving module, a climbing module and a protection module; the climbing module comprises a climbing assembly and a limiting assembly, the climbing assembly comprises a first supporting plate 8, a second supporting plate 9 and a third supporting plate 10, the first supporting plate 8, the second supporting plate 9 and the third supporting plate 10 are sequentially connected to the fixed column 1 in a rotating mode from top to bottom along the axis of the fixed column 1, one end of the second supporting plate 9 is further connected with one end of a first connecting plate 11 in a rotating mode, the other end of the first connecting plate 11 is arranged on the first supporting plate 8 in a sliding mode, one end of the third supporting plate 10 is further connected with one end of a second connecting plate 12 in a rotating mode, and the other end of the second connecting plate 12 is further connected to the second supporting plate 9 in a sliding mode; when the first support plate 8, the second support plate 9 and the third support plate 10 are unfolded simultaneously, the three are connected to the fixing column 1 through the limiting assembly and keep in a static state.
Referring to fig. 1, as an embodiment, when the positioning device is used, the driving module drives the third supporting plate 10 to rotate, and the third supporting plate 10 drives the second supporting plate 9 to rotate through the second connecting plate 12, specifically, when the third supporting plate 10 rotates, because one end of the second connecting plate 12 is rotatably connected to the third supporting plate 10 and the other end is slidably connected to the second supporting plate 9, the second connecting plate 12 slides in the second supporting plate 9 and simultaneously drives the second supporting plate 9 to rotate, and then the positioning device is positioned by the positioning mechanism after reaching a designated position; and the unfolding mode between the first support plate 8 and the second support plate 9 is the same as that between the third support plate 10 and the second support plate 9; the climbing assembly is mounted on the fixing column 1, a supporting point can be provided for overhauling by an overhauling person, the phenomenon that the electric power equipment cannot move fast due to the fact that the supporting point does not exist is avoided, and therefore the flexibility and convenience of the overhauling person for overhauling the electric power equipment in high altitude can be improved.
Referring to fig. 1, as a preferred embodiment, the limiting assembly includes a plurality of limiting units, each limiting unit includes a limiting plate 13, a magnetic attraction block 14, a magnetic repulsion block 15 and a magnetic attraction head 16, and the first supporting plate 8 is connected to the fixing column 1 through the limiting unit; the limiting plate 13 comprises a connecting end and a magnetic suction end, the connecting end is rotatably connected to the first supporting plate 8, a magnetic suction head 16 is fixedly connected to the magnetic suction end, a magnetic suction block 14 is fixedly connected to the side wall of the fixed column 1, and the magnetic suction head 16 is magnetically matched with the magnetic suction block 14; the second supporting plate 9 is provided with a magnetic repulsion block 15, and the magnetism of the magnetic repulsion block 15 and the magnetism of the magnetic suction head 16 repel each other; the second supporting plate 9 and the third supporting plate 10 are also connected with the fixing column 1 through a limiting unit.
When the third support plate 10 is driven by the driving module to perform unfolding motion, the limiting plate 13 can keep a vertical state due to the gravity of the limiting plate 13 in the first time, when the magnetic suction head 16 mounted on the magnetic suction end of the limiting plate 13 moves to the position near the magnetic repulsion block 15, the limiting plate 13 can perform motion far away from the magnetic repulsion block 15 due to the action of magnetic repulsion force, and when the limiting plate 13 performs motion far away, the limiting plate 13 can continuously approach the magnetic attraction block 14 and is further attracted by the magnetic attraction block 14, at this time, the first support plate 8, the second support plate 9 and the third support plate 10 are all in a horizontal state, and the inclined limiting plate 13 can provide supporting force when an overhaul person climbs, so that the reliability of high-altitude operation of the overhaul person is ensured;
in this embodiment, a clamping groove is formed in the magnetic attraction block 14, and the clamping groove can play a role in clamping when the magnetic attraction head 16 enters the magnetic attraction block 14, so that the safety of the design is further improved.
Referring to fig. 1, as another preferred embodiment, the driving module includes a rack 17, a driving wheel 18 and a driven wheel 19, the rack 17 is slidably disposed inside a base 21, the driving wheel 18 engaged with the rack 17 is further disposed above the rack 17, the driven wheel 19 engaged with the driving wheel 18 is further disposed above the driving wheel 18, the driven wheel 19 is rotatably mounted on a side surface of the fixed column 1, and the driven wheel 19 is fixedly connected to the third supporting plate 10.
When the climbing component is used, the rack 17 is only required to be moved left and right, so that the rack 17 drives the driving wheel 18 to rotate, the driven wheel 19 is further driven to rotate through meshing action, the driven wheel 19 drives the third supporting plate 10 fixedly connected with the driven wheel to rotate, and then the whole climbing component is driven to unfold; because the rack 17 is located on the base 21 and is low in position, the rack has convenient and reliable operation, the torque of the rack during rotation can be increased through meshing transmission, and further, when the weight of the third support plate 10 is large, the driving module can complete driving work.
Referring to fig. 1 and 6, as another preferred embodiment, a protection module is further provided, the protection module includes a handrail 3 and a gear assembly, the gear assembly includes a first transmission gear 4, a second transmission gear 5, a third transmission gear 6 and a fourth transmission gear 7, the four transmission gears are rotatably connected to the fixed column 1, the fourth transmission gear 7 is fixedly connected to the first supporting plate 8, the third transmission gear 6 in meshing transmission with the fourth transmission gear 7 is arranged above the fourth transmission gear 7, the second transmission gear 5 in meshing transmission with the third transmission gear 6 is arranged above the third transmission gear 6, the first transmission gear 4 in meshing transmission with the second transmission gear 5 is arranged above the second transmission gear 5, and the handrail 3 is fixedly connected to the first transmission gear 4.
During the use, through drive module drives whole climbing module and is the expansion motion, and then drives through first backup pad 8 fourth drive gear 7 rotates, and rethread cubic meshing transmission makes handrail 3 do with first backup pad 8 rotates opposite direction's motion, promptly the lifting motion of handrail 3, the setting of handrail 3 can provide certain fender supporting role for the maintainer under the state of expanding, can be located under the closed state the outside of first backup pad 8, and then guarantees first backup pad 8 can not be unauthorized because gravity expandes under the drive effect of not drive module, has improved the practicality of this design.
Referring to fig. 6, as another preferred embodiment, the balustrade 3 is U-shaped.
The U-shape can provide bilateral symmetry's fender right or left and right sides and support the measure when the maintainer stands on first backup pad 8 more, has further improved the protective capacities of this design.
Referring to fig. 1 and 2, as another preferred embodiment, in order to solve the problem of inconvenience of carrying tools during high-altitude operation, a deployment mechanism for accommodating tools is further provided, a cavity is formed in the fixed column 1, the deployment mechanism is arranged in the cavity, the deployment mechanism comprises a deployment plate 22, a connecting plate 24 and a fixed plate 26, the fixed plate 26 is fixed on the inner wall of the cavity, the fixed plate 26 is rotatably connected with the deployment plate 22 through the connecting plate 24, and a plurality of fastening sleeves 25 are further arranged on the connecting plate 24; a buckle 23 for limiting the opening and closing of the expansion plate 22 is further rotatably arranged on the fixed column 1.
Before use, tools to be used are placed in the fastening sleeve 25, the fastening sleeve 25 is fixed on the connecting piece 24, the expansion plate 22 and the fixing plate 26 are closed, the expansion plate 22 is fixed by rotating the buckle 23, the whole mechanism keeps the flatness unified with the fixing column 1 when not used, when in use, the buckle 23 is rotated, the expansion plate 22 is opened, and the tools are taken out; the setting of deployment mechanism has further improved the convenience of this design, has also reduced the time wasted because the instrument of taking from top to bottom on this basis.
Referring to fig. 1 and 3-5, as another preferred embodiment, a protection net mechanism 20 for preventing objects from falling from high altitude is further provided, a support 31 is fixedly connected to the base 21, the support 31 is provided with the protection net mechanism 20 through a power cylinder 28, the protection net mechanism 20 includes a fixed ring 27, a connecting rod 32 and an unfolding block 30, the fixed ring 27 is sleeved outside the fixed column 1, a plurality of connecting rods 32 are further provided on the side surface of the fixed ring 27, each connecting rod 32 is elastically connected to the unfolding block 30 through a spring 34, and each two adjacent unfolding blocks 30 are further connected to a connecting net 29; the unfolding block 30 is further provided with a notch, the connecting rod 32 is further fixedly connected with a clamp 33, and the clamp 33 is matched with the notch in a clamping manner; the fixed end of the power cylinder 28 is connected to the support 31, and the movable end is fixedly connected to the fixed ring 27.
When the climbing mechanism is used, the clamping nail 33 is firstly shifted to separate the clamping nail 33 from the unfolding block 30, at this time, the unfolding block 30 is stretched under the elastic action of the spring 34 to drive the connecting net 29 to unfold, and a protective net with bearing capacity is formed below the climbing mechanism, when the vertical position of the protective net mechanism 20 needs to be changed, the power cylinder 28 is started, and the power cylinder 28 can be an air cylinder, a hydraulic cylinder or other cylinder bodies with telescopic capacity; after the maintenance is finished, the unfolding block 30 and the clamping nail 33 are clamped again, and the space volume occupied by the whole protection net mechanism 20 is reduced; the arrangement of the protection net mechanism 20 can improve the safety of the whole device during operation, and greatly reduces the potential safety hazard of falling objects caused by high-altitude operation.
It should be noted that, the electric components, such as the power cylinder 28, etc., in the present embodiment are all connected to the external controller, which is the prior art, and the present embodiment does not improve the electric components, so that the specific model, the circuit structure, etc. of the external controller need not be disclosed, and the integrity of the present embodiment is not affected.
Although the preferred embodiments of the present patent have been described in detail, the present patent is not limited to the above embodiments, and various changes can be made without departing from the spirit of the present patent within the knowledge of those skilled in the art.

Claims (7)

1. The power equipment fixing assembly convenient to overhaul comprises a fixing column (1) and a base (21), wherein power equipment (2) is installed on the fixing column (1), the base (21) is fixedly connected to the lower portion of the fixing column (1), and the power equipment fixing assembly is characterized in that a climbing mechanism for climbing is further installed on the fixing column (1), and the climbing mechanism comprises a driving module, a climbing module and a protection module; the climbing module comprises a climbing assembly and a limiting assembly, the climbing assembly comprises a first supporting plate (8), a second supporting plate (9) and a third supporting plate (10), the first supporting plate, the second supporting plate and the third supporting plate are sequentially connected to the fixing column (1) in a rotating mode from top to bottom along the axis of the fixing column (1), one end of the second supporting plate (9) is further connected with one end of a first connecting plate (11) in a rotating mode, the other end of the first connecting plate (11) is arranged on the first supporting plate (8) in a sliding mode, one end of the third supporting plate (10) is further connected with one end of a second connecting plate (12) in a rotating mode, and the other end of the second connecting plate (12) is further connected to the second supporting plate (9) in a sliding mode; when the first supporting plate (8), the second supporting plate (9) and the third supporting plate (10) are unfolded simultaneously, the first supporting plate, the second supporting plate and the third supporting plate are connected to the fixing column (1) through the limiting assembly and keep a static state.
2. The power equipment fixing assembly convenient to overhaul according to claim 1, wherein the limiting assembly comprises a plurality of limiting units, each limiting unit comprises a limiting plate (13), a magnetic attraction block (14), a magnetic repulsion block (15) and a magnetic attraction head (16), and the first supporting plate (8) is connected with the fixing column (1) through the limiting unit; the limiting plate (13) comprises a connecting end and a magnetic suction end, the connecting end is rotatably connected to the first supporting plate (8), a magnetic suction head (16) is fixedly connected to the magnetic suction end, a magnetic suction block (14) is fixedly connected to the side wall of the fixed column (1), and the magnetic suction head (16) is magnetically matched with the magnetic suction block (14); the second supporting plate (9) is provided with a magnetic repulsion block (15), and the magnetism of the magnetic repulsion block (15) and the magnetism of the magnetic suction head (16) repel each other; the second supporting plate (9) and the third supporting plate (10) are also connected with the fixing column (1) through a limiting unit.
3. The power equipment fixing assembly convenient to overhaul as claimed in claim 1, wherein the driving module comprises a rack (17), a driving wheel (18) and a driven wheel (19), the rack (17) is slidably arranged in a base (21), the driving wheel (18) in meshing transmission with the rack (17) is further arranged above the rack (17), the driven wheel (19) in meshing transmission with the driving wheel (18) is further arranged above the driving wheel (18), the driven wheel (19) is rotatably mounted on the side surface of the fixed column (1), and the driven wheel (19) is fixedly connected with the third supporting plate (10).
4. The electrical equipment fixing assembly convenient to overhaul according to claim 1, wherein the protection module comprises a handrail (3) and a gear assembly, the gear assembly comprises a first transmission gear (4), a second transmission gear (5), a third transmission gear (6) and a fourth transmission gear (7), the four transmission gears are rotatably connected to the fixing column (1), the fourth transmission gear (7) is fixedly connected with the first supporting plate (8), the third transmission gear (6) in meshing transmission with the fourth transmission gear (7) is arranged above the fourth transmission gear (7), the second transmission gear (5) in meshing transmission with the third transmission gear (6) is arranged above the third transmission gear (6), the first transmission gear (4) in meshing transmission with the second transmission gear (5) is arranged above the second transmission gear (5), the first transmission gear (4) is fixedly connected with a handrail (3).
5. An easy-to-service electrical equipment fixing assembly according to claim 4, characterized in that the balustrade (3) is U-shaped.
6. The power equipment fixing assembly convenient to overhaul according to claim 4, wherein a cavity is formed in the fixing column (1), an unfolding mechanism is arranged in the cavity, the unfolding mechanism comprises an unfolding plate (22), a connecting plate (24) and a fixing plate (26), the fixing plate (26) is fixed on the inner wall of the cavity, the fixing plate (26) is rotatably connected with the unfolding plate (22) through the connecting plate (24), and a plurality of fastening sleeves (25) are further arranged on the connecting plate (24); the fixed column (1) is also rotatably provided with a buckle (23) for limiting the opening and closing of the expansion plate (22).
7. The power equipment fixing assembly convenient to overhaul according to claim 1, wherein a support (31) is fixedly connected to the base (21), a protection net mechanism (20) is arranged on the support (31) through a power cylinder (28), the protection net mechanism (20) comprises a fixing ring (27), a connecting rod (32) and unfolding blocks (30), the fixing ring (27) is sleeved on the outer side of the fixing column (1), a plurality of connecting rods (32) are further arranged on the side surface of the fixing ring (27), each connecting rod (32) is elastically connected with the corresponding unfolding block (30) through a spring (34), and each two adjacent unfolding blocks (30) are further connected with one connecting net (29); a notch is formed in the unfolding block (30), a clamping nail (33) is fixedly connected to the connecting rod (32), and the clamping nail (33) is matched with the notch in a clamping manner; the fixed end of the power cylinder (28) is connected to the support (31), and the movable end is fixedly connected to the fixed ring (27).
CN202111323931.1A 2022-01-04 2022-01-04 A fixed component for electrical equipment that is convenient for maintenance Active CN114024225B (en)

Priority Applications (1)

Application Number Priority Date Filing Date Title
CN202111323931.1A CN114024225B (en) 2022-01-04 2022-01-04 A fixed component for electrical equipment that is convenient for maintenance

Applications Claiming Priority (1)

Application Number Priority Date Filing Date Title
CN202111323931.1A CN114024225B (en) 2022-01-04 2022-01-04 A fixed component for electrical equipment that is convenient for maintenance

Publications (2)

Publication Number Publication Date
CN114024225A true CN114024225A (en) 2022-02-08
CN114024225B CN114024225B (en) 2023-09-19

Family

ID=80063062

Family Applications (1)

Application Number Title Priority Date Filing Date
CN202111323931.1A Active CN114024225B (en) 2022-01-04 2022-01-04 A fixed component for electrical equipment that is convenient for maintenance

Country Status (1)

Country Link
CN (1) CN114024225B (en)

Citations (8)

* Cited by examiner, † Cited by third party
Publication number Priority date Publication date Assignee Title
CN105064671A (en) * 2015-08-31 2015-11-18 国网山东莒南县供电公司 Climbing device for electric power overhaul
CN108565719A (en) * 2018-06-06 2018-09-21 安徽西高电气设备有限公司 A kind of JXF distribution boxs and its supporting mechanism
CN208880658U (en) * 2018-08-23 2019-05-21 陈进军 A kind of Electric Power Line Overhaul auxiliary device
CN110844851A (en) * 2019-11-20 2020-02-28 南理工泰兴智能制造研究院有限公司 Power equipment overhauls and maintains device for artificial intelligence ization
CN112271635A (en) * 2020-11-03 2021-01-26 应金国 Climbing frame safety device for electric power overhaul
CN112282630A (en) * 2020-11-05 2021-01-29 杨碧莲 Automatic slide for outdoor power equipment maintenance
JP2021065674A (en) * 2019-10-25 2021-04-30 童浩 Trekking pole for outdoor exercise
CN113013765A (en) * 2021-02-24 2021-06-22 南京沙图信息科技有限公司 Intelligent power equipment management and state maintenance method based on BIM

Patent Citations (8)

* Cited by examiner, † Cited by third party
Publication number Priority date Publication date Assignee Title
CN105064671A (en) * 2015-08-31 2015-11-18 国网山东莒南县供电公司 Climbing device for electric power overhaul
CN108565719A (en) * 2018-06-06 2018-09-21 安徽西高电气设备有限公司 A kind of JXF distribution boxs and its supporting mechanism
CN208880658U (en) * 2018-08-23 2019-05-21 陈进军 A kind of Electric Power Line Overhaul auxiliary device
JP2021065674A (en) * 2019-10-25 2021-04-30 童浩 Trekking pole for outdoor exercise
CN110844851A (en) * 2019-11-20 2020-02-28 南理工泰兴智能制造研究院有限公司 Power equipment overhauls and maintains device for artificial intelligence ization
CN112271635A (en) * 2020-11-03 2021-01-26 应金国 Climbing frame safety device for electric power overhaul
CN112282630A (en) * 2020-11-05 2021-01-29 杨碧莲 Automatic slide for outdoor power equipment maintenance
CN113013765A (en) * 2021-02-24 2021-06-22 南京沙图信息科技有限公司 Intelligent power equipment management and state maintenance method based on BIM

Also Published As

Publication number Publication date
CN114024225B (en) 2023-09-19

Similar Documents

Publication Publication Date Title
CN114024225A (en) Power equipment fixing assembly convenient to overhaul
CN108716587B (en) Diversified clean energy intelligent power generation device
CN107157111B (en) A self-balancing desk based on the movement of the center of gravity
CN208794107U (en) A kind of portable power maintenance repairing lighting apparatus
CN108940634A (en) Field factories spray equipment in a kind of substation that spray efficiency is high
CN201828452U (en) Power battery extrusion testing machine
CN214096137U (en) Portable environment monitoring equipment
CN207472994U (en) A kind of portable electric power detection device
CN105471381B (en) A kind of Portable photovoltaic electric supply installation
CN208236554U (en) A kind of tidal-energy electric generator set of damping
CN214394146U (en) A portable multifunctional power maintenance toolbox
CN114620330B (en) A real-time data recording device for geographic surveying and mapping
CN205969005U (en) Multi -functional finishing machinery hand device
CN207363588U (en) A kind of automatic telescopic ladder for power engineering maintenance
CN202474626U (en) Tool box for overhauling power transformation
CN214243638U (en) A new energy vehicle engine disassembly teaching bench
CN218403566U (en) Lifting device for building electrical construction
CN218997983U (en) Solar module convenient to receive and display
CN212847966U (en) A voltage transformer that is easy to install and disassemble
CN207419996U (en) A kind of architectural electricity equipment construction device
CN215701584U (en) Case is placed with maintenance tool who is convenient for categorised placing to aerogenerator
CN210562307U (en) Level gauge for leveling pipe gallery top plate template
CN219654610U (en) Folding locking device for platform ladder armrest
CN221583510U (en) A foldable outdoor workbench for social work
CN206602288U (en) A kind of looped network case

Legal Events

Date Code Title Description
PB01 Publication
PB01 Publication
SE01 Entry into force of request for substantive examination
SE01 Entry into force of request for substantive examination
GR01 Patent grant
GR01 Patent grant