CN114016354A - 一种路面修补用沥青冷补料及其制备方法 - Google Patents
一种路面修补用沥青冷补料及其制备方法 Download PDFInfo
- Publication number
- CN114016354A CN114016354A CN202111563592.4A CN202111563592A CN114016354A CN 114016354 A CN114016354 A CN 114016354A CN 202111563592 A CN202111563592 A CN 202111563592A CN 114016354 A CN114016354 A CN 114016354A
- Authority
- CN
- China
- Prior art keywords
- asphalt
- cold
- stone
- pipe
- communicated
- Prior art date
- Legal status (The legal status is an assumption and is not a legal conclusion. Google has not performed a legal analysis and makes no representation as to the accuracy of the status listed.)
- Pending
Links
- 239000010426 asphalt Substances 0.000 title claims abstract description 59
- 239000000463 material Substances 0.000 title claims abstract description 53
- 238000002360 preparation method Methods 0.000 title claims abstract description 23
- 230000008439 repair process Effects 0.000 title claims abstract description 10
- 239000004575 stone Substances 0.000 claims abstract description 64
- 238000004140 cleaning Methods 0.000 claims abstract description 37
- 238000003756 stirring Methods 0.000 claims abstract description 35
- 238000002156 mixing Methods 0.000 claims abstract description 32
- 238000001035 drying Methods 0.000 claims abstract description 27
- 239000000243 solution Substances 0.000 claims abstract description 24
- 239000002283 diesel fuel Substances 0.000 claims abstract description 19
- 239000011259 mixed solution Substances 0.000 claims abstract description 17
- 239000003795 chemical substances by application Substances 0.000 claims abstract description 12
- 239000011159 matrix material Substances 0.000 claims abstract description 12
- 239000013589 supplement Substances 0.000 claims abstract description 11
- 238000005086 pumping Methods 0.000 claims abstract description 7
- 230000000295 complement effect Effects 0.000 claims abstract description 4
- 239000000203 mixture Substances 0.000 claims abstract description 4
- 239000002994 raw material Substances 0.000 claims abstract description 4
- 239000007921 spray Substances 0.000 claims description 30
- 239000010865 sewage Substances 0.000 claims description 26
- XLYOFNOQVPJJNP-UHFFFAOYSA-N water Substances O XLYOFNOQVPJJNP-UHFFFAOYSA-N 0.000 claims description 24
- 238000007599 discharging Methods 0.000 claims description 22
- 238000005192 partition Methods 0.000 claims description 9
- 238000003860 storage Methods 0.000 claims description 9
- 239000003657 drainage water Substances 0.000 claims description 6
- 238000010926 purge Methods 0.000 claims description 6
- 238000004519 manufacturing process Methods 0.000 claims description 4
- 230000001360 synchronised effect Effects 0.000 claims description 4
- 230000006978 adaptation Effects 0.000 claims description 2
- 230000000903 blocking effect Effects 0.000 claims description 2
- 238000001914 filtration Methods 0.000 claims description 2
- 238000000034 method Methods 0.000 claims description 2
- 239000011148 porous material Substances 0.000 claims description 2
- 238000012423 maintenance Methods 0.000 abstract description 3
- 239000002585 base Substances 0.000 abstract 1
- 230000009471 action Effects 0.000 description 3
- 238000005507 spraying Methods 0.000 description 3
- 239000013590 bulk material Substances 0.000 description 2
- 238000010276 construction Methods 0.000 description 2
- 238000005516 engineering process Methods 0.000 description 2
- 230000004075 alteration Effects 0.000 description 1
- 230000009286 beneficial effect Effects 0.000 description 1
- 238000007664 blowing Methods 0.000 description 1
- 201000010099 disease Diseases 0.000 description 1
- 208000037265 diseases, disorders, signs and symptoms Diseases 0.000 description 1
- 238000010438 heat treatment Methods 0.000 description 1
- 238000012986 modification Methods 0.000 description 1
- 230000004048 modification Effects 0.000 description 1
- 230000008569 process Effects 0.000 description 1
- 238000005201 scrubbing Methods 0.000 description 1
- 238000006467 substitution reaction Methods 0.000 description 1
Images
Classifications
-
- E—FIXED CONSTRUCTIONS
- E01—CONSTRUCTION OF ROADS, RAILWAYS, OR BRIDGES
- E01C—CONSTRUCTION OF, OR SURFACES FOR, ROADS, SPORTS GROUNDS, OR THE LIKE; MACHINES OR AUXILIARY TOOLS FOR CONSTRUCTION OR REPAIR
- E01C19/00—Machines, tools or auxiliary devices for preparing or distributing paving materials, for working the placed materials, or for forming, consolidating, or finishing the paving
- E01C19/02—Machines, tools or auxiliary devices for preparing or distributing paving materials, for working the placed materials, or for forming, consolidating, or finishing the paving for preparing the materials
- E01C19/10—Apparatus or plants for premixing or precoating aggregate or fillers with non-hydraulic binders, e.g. with bitumen, with resins, i.e. producing mixtures or coating aggregates otherwise than by penetrating or surface dressing; Apparatus for premixing non-hydraulic mixtures prior to placing or for reconditioning salvaged non-hydraulic compositions
- E01C19/1013—Plant characterised by the mode of operation or the construction of the mixing apparatus; Mixing apparatus
- E01C19/104—Mixing by means of movable members in a non-rotating mixing enclosure, e.g. stirrers
-
- C—CHEMISTRY; METALLURGY
- C04—CEMENTS; CONCRETE; ARTIFICIAL STONE; CERAMICS; REFRACTORIES
- C04B—LIME, MAGNESIA; SLAG; CEMENTS; COMPOSITIONS THEREOF, e.g. MORTARS, CONCRETE OR LIKE BUILDING MATERIALS; ARTIFICIAL STONE; CERAMICS; REFRACTORIES; TREATMENT OF NATURAL STONE
- C04B14/00—Use of inorganic materials as fillers, e.g. pigments, for mortars, concrete or artificial stone; Treatment of inorganic materials specially adapted to enhance their filling properties in mortars, concrete or artificial stone
- C04B14/02—Granular materials, e.g. microballoons
-
- C—CHEMISTRY; METALLURGY
- C04—CEMENTS; CONCRETE; ARTIFICIAL STONE; CERAMICS; REFRACTORIES
- C04B—LIME, MAGNESIA; SLAG; CEMENTS; COMPOSITIONS THEREOF, e.g. MORTARS, CONCRETE OR LIKE BUILDING MATERIALS; ARTIFICIAL STONE; CERAMICS; REFRACTORIES; TREATMENT OF NATURAL STONE
- C04B26/00—Compositions of mortars, concrete or artificial stone, containing only organic binders, e.g. polymer or resin concrete
- C04B26/02—Macromolecular compounds
- C04B26/26—Bituminous materials, e.g. tar, pitch
-
- E—FIXED CONSTRUCTIONS
- E01—CONSTRUCTION OF ROADS, RAILWAYS, OR BRIDGES
- E01C—CONSTRUCTION OF, OR SURFACES FOR, ROADS, SPORTS GROUNDS, OR THE LIKE; MACHINES OR AUXILIARY TOOLS FOR CONSTRUCTION OR REPAIR
- E01C19/00—Machines, tools or auxiliary devices for preparing or distributing paving materials, for working the placed materials, or for forming, consolidating, or finishing the paving
- E01C19/02—Machines, tools or auxiliary devices for preparing or distributing paving materials, for working the placed materials, or for forming, consolidating, or finishing the paving for preparing the materials
- E01C19/08—Apparatus for transporting and heating or melting asphalt, bitumen, tar, or the like
-
- E—FIXED CONSTRUCTIONS
- E01—CONSTRUCTION OF ROADS, RAILWAYS, OR BRIDGES
- E01C—CONSTRUCTION OF, OR SURFACES FOR, ROADS, SPORTS GROUNDS, OR THE LIKE; MACHINES OR AUXILIARY TOOLS FOR CONSTRUCTION OR REPAIR
- E01C19/00—Machines, tools or auxiliary devices for preparing or distributing paving materials, for working the placed materials, or for forming, consolidating, or finishing the paving
- E01C19/02—Machines, tools or auxiliary devices for preparing or distributing paving materials, for working the placed materials, or for forming, consolidating, or finishing the paving for preparing the materials
- E01C19/10—Apparatus or plants for premixing or precoating aggregate or fillers with non-hydraulic binders, e.g. with bitumen, with resins, i.e. producing mixtures or coating aggregates otherwise than by penetrating or surface dressing; Apparatus for premixing non-hydraulic mixtures prior to placing or for reconditioning salvaged non-hydraulic compositions
- E01C19/1059—Controlling the operations; Devices solely for supplying or proportioning the ingredients
-
- E—FIXED CONSTRUCTIONS
- E01—CONSTRUCTION OF ROADS, RAILWAYS, OR BRIDGES
- E01C—CONSTRUCTION OF, OR SURFACES FOR, ROADS, SPORTS GROUNDS, OR THE LIKE; MACHINES OR AUXILIARY TOOLS FOR CONSTRUCTION OR REPAIR
- E01C19/00—Machines, tools or auxiliary devices for preparing or distributing paving materials, for working the placed materials, or for forming, consolidating, or finishing the paving
- E01C19/02—Machines, tools or auxiliary devices for preparing or distributing paving materials, for working the placed materials, or for forming, consolidating, or finishing the paving for preparing the materials
- E01C19/10—Apparatus or plants for premixing or precoating aggregate or fillers with non-hydraulic binders, e.g. with bitumen, with resins, i.e. producing mixtures or coating aggregates otherwise than by penetrating or surface dressing; Apparatus for premixing non-hydraulic mixtures prior to placing or for reconditioning salvaged non-hydraulic compositions
- E01C19/1059—Controlling the operations; Devices solely for supplying or proportioning the ingredients
- E01C19/1068—Supplying or proportioning the ingredients
-
- E—FIXED CONSTRUCTIONS
- E01—CONSTRUCTION OF ROADS, RAILWAYS, OR BRIDGES
- E01C—CONSTRUCTION OF, OR SURFACES FOR, ROADS, SPORTS GROUNDS, OR THE LIKE; MACHINES OR AUXILIARY TOOLS FOR CONSTRUCTION OR REPAIR
- E01C23/00—Auxiliary devices or arrangements for constructing, repairing, reconditioning, or taking-up road or like surfaces
- E01C23/06—Devices or arrangements for working the finished surface; Devices for repairing or reconditioning the surface of damaged paving; Recycling in place or on the road
- E01C23/09—Devices or arrangements for working the finished surface; Devices for repairing or reconditioning the surface of damaged paving; Recycling in place or on the road for forming cuts, grooves, or recesses, e.g. for making joints or channels for markings, for cutting-out sections to be removed; for cleaning, treating, or filling cuts, grooves, recesses, or fissures; for trimming paving edges
- E01C23/0966—Devices or arrangements for working the finished surface; Devices for repairing or reconditioning the surface of damaged paving; Recycling in place or on the road for forming cuts, grooves, or recesses, e.g. for making joints or channels for markings, for cutting-out sections to be removed; for cleaning, treating, or filling cuts, grooves, recesses, or fissures; for trimming paving edges for filling or priming, with or without working the surface of the filling or applying particulate material thereto, e.g. for filling the joints of stone-sett paving
- E01C23/0973—Devices or arrangements for working the finished surface; Devices for repairing or reconditioning the surface of damaged paving; Recycling in place or on the road for forming cuts, grooves, or recesses, e.g. for making joints or channels for markings, for cutting-out sections to be removed; for cleaning, treating, or filling cuts, grooves, recesses, or fissures; for trimming paving edges for filling or priming, with or without working the surface of the filling or applying particulate material thereto, e.g. for filling the joints of stone-sett paving with liquid or semi-liquid materials, e.g. crack sealants
-
- C—CHEMISTRY; METALLURGY
- C04—CEMENTS; CONCRETE; ARTIFICIAL STONE; CERAMICS; REFRACTORIES
- C04B—LIME, MAGNESIA; SLAG; CEMENTS; COMPOSITIONS THEREOF, e.g. MORTARS, CONCRETE OR LIKE BUILDING MATERIALS; ARTIFICIAL STONE; CERAMICS; REFRACTORIES; TREATMENT OF NATURAL STONE
- C04B2111/00—Mortars, concrete or artificial stone or mixtures to prepare them, characterised by specific function, property or use
- C04B2111/00474—Uses not provided for elsewhere in C04B2111/00
- C04B2111/0075—Uses not provided for elsewhere in C04B2111/00 for road construction
-
- C—CHEMISTRY; METALLURGY
- C04—CEMENTS; CONCRETE; ARTIFICIAL STONE; CERAMICS; REFRACTORIES
- C04B—LIME, MAGNESIA; SLAG; CEMENTS; COMPOSITIONS THEREOF, e.g. MORTARS, CONCRETE OR LIKE BUILDING MATERIALS; ARTIFICIAL STONE; CERAMICS; REFRACTORIES; TREATMENT OF NATURAL STONE
- C04B2111/00—Mortars, concrete or artificial stone or mixtures to prepare them, characterised by specific function, property or use
- C04B2111/72—Repairing or restoring existing buildings or building materials
Landscapes
- Engineering & Computer Science (AREA)
- Structural Engineering (AREA)
- Civil Engineering (AREA)
- Chemical & Material Sciences (AREA)
- Architecture (AREA)
- Ceramic Engineering (AREA)
- Materials Engineering (AREA)
- Organic Chemistry (AREA)
- Mining & Mineral Resources (AREA)
- Road Paving Machines (AREA)
Abstract
本发明涉及道路养护技术领域,具体公开了一种路面修补用沥青冷补料及其制备方法,所述沥青冷补料的组成成分包括:沥青混合液与石料;其中,所述沥青混合液的组成成分包括冷补剂、柴油、基质沥青。该沥青冷补料的制备方法,包括以下具体的步骤,S1:抽取定量的柴油至溶液配比装置,再向柴油中加入定量的冷补剂,将冷补剂与柴油充分搅拌均匀后,再加入基质沥青进行搅拌,直至三种原料充分混合;S2:将从步骤S中配制的沥青混合液抽送至拌和装置内备用;S3:将待拌和的石料放入石料处理装置内进行清洗、除尘、烘干工作;S4:将经过步骤S3处理后的石料加入至拌和装置的沥青混合液中,将沥青混合液与石料搅拌均匀即可。
Description
技术领域
本发明涉及道路养护技术领域,具体为一种路面修补用沥青冷补料及其制备方法。
背景技术
道路在达到服役年限之前,往往会出现坑槽、破损等病害,为了使道路保持应有的通行性,大多采用冷补料对这些部位进行维修;但是,由于现有的冷补料在实际制备的过程中,其制备工艺繁琐,制备过程麻烦,导致只能由专门生产厂家生产,购买成本高,且不一定符合自身养护需要;因此,急需一种制备工艺简单、施工方便、存放长久、修补质量好的沥青冷补料。
发明内容
本发明的目的在于提供一种路面修补用沥青冷补料及其制备方法,以解决上述背景技术中提出的问题。
为实现上述目的,本发明提供如下技术方案:一种路面修补用沥青冷补料,所述沥青冷补料的组成成分包括:沥青混合液与石料;其中,所述沥青混合液的组成成分包括冷补剂、柴油、基质沥青,组成所述沥青冷补料的原料的重量份数为:冷补剂0.8-1.2份、柴油13-24份、基质沥青75-86份。
本方案还提供了上述一种路面修补用沥青冷补料的制备方法,包括以下具体的步骤:
S1:抽取定量的柴油至溶液配比装置,再向柴油中加入定量的冷补剂,将冷补剂与柴油充分搅拌均匀后,再加入基质沥青进行搅拌,直至三种原料充分混合;
S2:将从步骤S1中配制的沥青混合液抽送至拌和装置内备用;
S3:将待拌和的石料放入石料处理装置内进行清洗、除尘、烘干工作;
S4:将经过步骤S3处理后的石料加入至拌和装置的沥青混合液中,将沥青混合液与石料搅拌均匀即可。
作为一种优选方案,所述生产装置包括溶液配比装置、石料处理装置和拌和装置,溶液配比装置和石料处理装置均通过输料组件连通拌和装置,拌和装置的内部安装有螺旋拌和组件。
作为一种优选方案,所述溶液配比装置的顶端开设有加料口,加料口通过加料管连通供料泵,供料泵远离加料管的一端连通三通管道,三通管道通过供料支管连通分别用于储放柴油、冷补剂和基质沥青的储料罐;所述溶液配比装置的顶端安装有第一搅拌电机,第一搅拌电机的输出端连接有搅拌轴,搅拌轴上安装有搅拌叶片,溶液配比装置的底部通过输料泵和输料管道连通拌和装置。
作为一种优选方案,所述石料处理装置的内部从上至下设置有喷淋室、清洗室和烘干室,喷淋室顶端设置有进料斗,进料斗的下方设置有呈锥形结构的散料网罩,散料网罩通过连接杆固定在喷淋室内,散料网罩的底端与喷淋室间隙设置,散料网罩的下方设置有石料网斗,石料网斗上方的喷淋室的内壁上设置有第一喷淋头,第一喷淋头通过第一喷淋管连通主供水管,主供水管连通供水水泵,供水水泵连通供水箱。
作为一种优选方案,所述石料网斗的下方设置有阻水隔板,阻水隔板与石料网斗之间形成的空腔设置为第一污水腔,第一污水腔通过第一污水管连通主排水管,主排水管连通排水水泵;所述石料网斗的底部连通第一出料管,第一出料管穿过阻水隔板连通清洗室。
作为一种优选方案,所述清洗室的内部上下间隔设置有上部旋转刷、下部旋转刷,上部旋转刷连接有第二搅拌电机,上部旋转刷上安装有主动轮,主动轮正下方的下部旋转刷上安装有从动轮,主动轮与从动轮之间连接有同步带。
作为一种优选方案,所述清洗室的内部安装有清洗篮,清洗篮上设置有多个排水滤孔,清洗篮的底端连接有排料滤斗,下部旋转刷设置在排料滤斗内,下部旋转刷的外侧壁与排料滤斗结构适配,下部旋转刷呈“V”字形结构。
作为一种优选方案,所述清洗篮、排料滤斗与清洗室的内壁间隙设置,清洗篮、排料滤斗与清洗室之间形成的空腔设置为第二污水腔,第二污水腔的底部通过第二污水管连通主排水管;所述清洗室的顶端安装有第二喷淋头,第二喷淋头通过第二喷淋管连通主供水管。
作为一种优选方案,所述排料滤斗的底端设置有第二出料管,第二出料管连通烘干室,烘干室的内部安装有烘干风机,烘干室的顶端连通排湿风机,烘干室的底端连通石料螺旋输送机,石料螺旋输送机连通拌和装置。
与现有技术相比,本发明的有益效果是:
本发明提供的一种路面修补用沥青冷补料及其制备方法,该冷补料是适用于多种天气和环境下补修多种不同类型的道路面层坑槽,而且具有生产工艺简单,施工方便、存放长久、修补质量好等特点。
附图说明
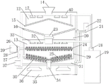
图1为本发明的整体结构示意图;
图2为本发明的石料处理装置的具体结构示意图。
图中:1、溶液配比装置;2、石料处理装置;3、拌和装置;4、螺旋拌和组件;5、输料泵;6、加料管;7、供料泵;8、供料支管;9、储料罐;10、第一搅拌电机;11、搅拌叶片;12、喷淋室;13、清洗室;14、进料斗;15、散料网罩;16、石料网斗;17、第一喷淋头;18、供水水泵;19、供水箱;20、第一污水腔;21、主排水管;22、排水水泵;23、第一出料管;24、上部旋转刷;25、下部旋转刷;26、主动轮;27、从动轮;28、同步带;29、清洗篮;30、排料滤斗;31、第二污水腔;32、第二喷淋头;33、第二喷淋管;34、第二出料管;35、烘干室;36、烘干风机;37、排湿风机;38、石料螺旋输送机;39、第二搅拌电机;40、第一喷淋管。
具体实施方式
下面将结合本发明实施例中的附图,对本发明实施例中的技术方案进行清楚、完整地描述,显然,所描述的实施例仅仅是本发明一部分实施例,而不是全部的实施例。基于本发明中的实施例,本领域普通技术人员在没有做出创造性劳动前提下所获得的所有其他实施例,都属于本发明保护的范围。
在本发明的描述中,需要说明的是,术语“竖直”、“上”、“下”、“水平”等指示的方位或位置关系为基于附图所示的方位或位置关系,仅是为了便于描述本发明和简化描述,而不是指示或暗示所指的装置或元件必须具有特定的方位、以特定的方位构造和操作,因此不能理解为对本发明的限制。
在本发明的描述中,还需要说明的是,除非另有明确的规定和限定,术语“设置”、“安装”、“相连”、“连接”应做广义理解,例如,可以是固定连接,也可以是可拆卸连接,或一体地连接;可以是机械连接,也可以是电连接;可以是直接相连,也可以通过中间媒介间接相连,可以是两个元件内部的连通。对于本领域的普通技术人员而言,可以根据具体情况理解上述术语在本发明中的具体含义。
请参阅图1-2,本发明提供一种技术方案:一种路面修补用沥青冷补料及其制备方法,沥青冷补料的组成成分包括:沥青混合液与石料;其中,沥青混合液的组成成分包括冷补剂、柴油、基质沥青,组成沥青冷补料的原料的重量份数为:冷补剂0.8-1.2份、柴油13-24份、基质沥青75-86份。
本方案还提供了上述一种路面修补用沥青冷补料的制备方法,包括以下具体的步骤:
S1:通过供料泵7先从装有柴油的储料罐9内抽取定量的柴油至溶液配比装置1,然后通过供料泵7从装有冷补剂的储料罐9内抽取定量的冷补剂,并加入溶液配置装置1内,启动第一搅拌电机10,使得搅拌轴带动搅拌叶片11转动,进而将冷补剂与柴油充分搅拌均匀,再通过供料泵7从装有基质沥青的储料罐9内抽取定量的基质沥青加入至溶液配比装置1,通过搅拌叶片11将三种原料充分混合后得到沥青混合液备用;
S2:将从步骤S1中配制的沥青混合液通过输料泵5将其抽送至拌和装置3内;
S3:启动供水水泵18,使得供水水泵18将供水箱19内的水抽送至第一喷淋管40、第二喷淋管33;同时,将待拌和的石料从进料斗14加入至石料处理装置2内,石料进入喷淋室12后,先通过散料网罩15对石料进行分散,分散后的石料通过散料网罩15与喷淋室12之间的间隙进入石料网斗16,再次过程中,通过第一喷淋头17对喷淋室12内的石料进行喷淋工作,喷淋室产生的污水进入第一污水腔20;启动排水水泵22,通过第一排水管和主排水管21将污水排出即可;
喷淋后的石料通过第一出料管23进入清洗室13,通过第二喷淋头32对石料进行二次喷淋;同时,启动第二搅拌电机39,通过主动轮26、从动轮27和同步带28之间的配合,使得上部旋转刷24带动下部旋转刷24转动,进而对石料进行刷洗工作,刷洗过程中产生的污水进入第二污水腔31;启动排水水泵22,通过第二排水管和主排水管21将污水排出即可;
清洗后的石料通过第二出料管34将其导入至烘干室35内,启动烘干风机36、排湿风机37,通过烘干风机36对石料表面进行喷吹、加热和烘干工作,通过排湿风机37将湿热空气排出;
S4:通过石料螺旋输送机38将经过步骤S3处理后的石料加入至拌和装置3的沥青混合液中,将沥青混合液与石料搅拌均匀即可。
作为优选实施例:生产装置包括溶液配比装置1、石料处理装置2和拌和装置3,溶液配比装置1和石料处理装置2均通过输料组件连通拌和装置3,拌和装置3的内部安装有螺旋拌和组件4。
作为优选实施例:溶液配比装置1的顶端开设有加料口,加料口通过加料管6连通供料泵7,供料泵7远离加料管6的一端连通三通管道,三通管道通过供料支管8连通分别用于储放柴油、冷补剂和基质沥青的储料罐9;溶液配比装置1的顶端安装有第一搅拌电机10,第一搅拌电机10的输出端连接有搅拌轴,搅拌轴上安装有搅拌叶片11,溶液配比装置1的底部通过输料泵5和输料管道连通拌和装置3。
作为优选实施例:石料处理装置2的内部从上至下设置有喷淋室12、清洗室13和烘干室35,喷淋室12顶端设置有进料斗14,进料斗14的下方设置有呈锥形结构的散料网罩15,散料网罩15通过连接杆固定在喷淋室12内,散料网罩15的底端与喷淋室12间隙设置,散料网罩15的下方设置有石料网斗16,石料网斗16上方的喷淋室12的内壁上设置有第一喷淋头17,第一喷淋头17通过第一喷淋管40连通主供水管,主供水管连通供水水泵18,供水水泵18连通供水箱19。
作为优选实施例:石料网斗16的下方设置有阻水隔板,阻水隔板与石料网斗16之间形成的空腔设置为第一污水腔20,第一污水腔20通过第一污水管连通主排水管21,主排水管21连通排水水泵22;石料网斗16的底部连通第一出料管23,第一出料管23穿过阻水隔板连通清洗室13。
作为优选实施例:清洗室13的内部上下间隔设置有上部旋转刷24、下部旋转刷25,上部旋转刷24连接有第二搅拌电机39,上部旋转刷24上安装有主动轮26,主动轮26正下方的下部旋转刷25上安装有从动轮27,主动轮26与从动轮27之间连接有同步带28。
作为优选实施例:清洗室13的内部安装有清洗篮29,清洗篮29上设置有多个排水滤孔,清洗篮29的底端连接有排料滤斗30,下部旋转刷25设置在排料滤斗30内,下部旋转刷25的外侧壁与排料滤斗30结构适配,下部旋转刷25呈“V”字形结构。
作为优选实施例:清洗篮29、排料滤斗30与清洗室13的内壁间隙设置,清洗篮29、排料滤斗30与清洗室13之间形成的空腔设置为第二污水腔31,第二污水腔31的底部通过第二污水管连通主排水管21;清洗室13的顶端安装有第二喷淋头32,第二喷淋头32通过第二喷淋管33连通主供水管。
作为优选实施例:排料滤斗30的底端设置有第二出料管34,第二出料管34连通烘干室35,烘干室35的内部安装有烘干风机36,烘干室35的顶端连通排湿风机37,烘干室35的底端连通石料螺旋输送机38,石料螺旋输送机38连通拌和装置3。
值得注意的是:整个装置通过控制器对其实现控制,由于控制器为常用设备,属于现有成熟技术,在此不再赘述其电性连接关系以及具体的电路结构。
尽管已经示出和描述了本发明的实施例,对于本领域的普通技术人员而言,可以理解在不脱离本发明的原理和精神的情况下可以对这些实施例进行多种变化、修改、替换和变型,本发明的范围由所附权利要求及其等同物限定。
Claims (10)
1.一种路面修补用沥青冷补料,其特征在于:所述沥青冷补料的组成成分包括:沥青混合液与石料;其中,所述沥青混合液的组成成分包括冷补剂、柴油、基质沥青,组成所述沥青冷补料的原料的重量份数为:冷补剂0.8-1.2份、柴油13-24份、基质沥青75-86份。
2.根据权利要求1所述的一种路面修补用沥青冷补料的制备方法,其特征在于:包括以下具体的步骤:
S1:抽取定量的柴油至溶液配比装置(1),再向柴油中加入定量的冷补剂,将冷补剂与柴油充分搅拌均匀后,再加入基质沥青进行搅拌,直至三种原料充分混合;
S2:将从步骤S1中配制的沥青混合液抽送至拌和装置(3)内备用;
S3:将待拌和的石料放入石料处理装置(2)内进行清洗、除尘、烘干工作;
S4:将经过步骤S3处理后的石料加入至拌和装置(3)的沥青混合液中,将沥青混合液与石料搅拌均匀即可。
3.根据权利要求2所述的一种路面修补用沥青冷补料的制备方法,其特征在于:所述生产装置包括溶液配比装置(1)、石料处理装置(2)和拌和装置(3),溶液配比装置(1)和石料处理装置(2)均通过输料组件连通拌和装置(3),拌和装置(3)的内部安装有螺旋拌和组件(4)。
4.根据权利要求2所述的一种路面修补用沥青冷补料的制备方法,其特征在于:所述溶液配比装置(1)的顶端开设有加料口,加料口通过加料管(6)连通供料泵(7),供料泵(7)远离加料管(6)的一端连通三通管道,三通管道通过供料支管(8)连通分别用于储放柴油、冷补剂和基质沥青的储料罐(9);所述溶液配比装置(1)的顶端安装有第一搅拌电机(10),第一搅拌电机(10)的输出端连接有搅拌轴,搅拌轴上安装有搅拌叶片(11),溶液配比装置(1)的底部通过输料泵(5)和输料管道连通拌和装置(3)。
5.根据权利要求2所述的一种路面修补用沥青冷补料的制备方法,其特征在于:所述石料处理装置(2)的内部从上至下设置有喷淋室(12)、清洗室(13)和烘干室(35),喷淋室(12)顶端设置有进料斗(14),进料斗(14)的下方设置有呈锥形结构的散料网罩(15),散料网罩(15)通过连接杆固定在喷淋室(12)内,散料网罩(15)的底端与喷淋室(12)间隙设置,散料网罩(15)的下方设置有石料网斗(16),石料网斗(16)上方的喷淋室(12)的内壁上设置有第一喷淋头(17),第一喷淋头(17)通过第一喷淋管(40)连通主供水管,主供水管连通供水水泵(18),供水水泵(18)连通供水箱(19)。
6.根据权利要求5所述的一种路面修补用沥青冷补料的制备方法,其特征在于:所述石料网斗(16)的下方设置有阻水隔板,阻水隔板与石料网斗(16)之间形成的空腔设置为第一污水腔(20),第一污水腔(20)通过第一污水管连通主排水管(21),主排水管(21)连通排水水泵(22);所述石料网斗(16)的底部连通第一出料管(23),第一出料管(23)穿过阻水隔板连通清洗室(13)。
7.根据权利要求5所述的一种路面修补用沥青冷补料的制备方法,其特征在于:所述清洗室(13)的内部上下间隔设置有上部旋转刷(24)、下部旋转刷(25),上部旋转刷(24)连接有第二搅拌电机(39),上部旋转刷(24)上安装有主动轮(26),主动轮(26)正下方的下部旋转刷(25)上安装有从动轮(27),主动轮(26)与从动轮(27)之间连接有同步带(28)。
8.根据权利要求5所述的一种路面修补用沥青冷补料的制备方法,其特征在于:所述清洗室(13)的内部安装有清洗篮(29),清洗篮(29)上设置有多个排水滤孔,清洗篮(29)的底端连接有排料滤斗(30),下部旋转刷(25)设置在排料滤斗(30)内,下部旋转刷(25)的外侧壁与排料滤斗(30)结构适配,下部旋转刷(25)呈“V”字形结构。
9.根据权利要求8所述的一种路面修补用沥青冷补料的制备方法,其特征在于:所述清洗篮(29)、排料滤斗(30)与清洗室(13)的内壁间隙设置,清洗篮(29)、排料滤斗(30)与清洗室(13)之间形成的空腔设置为第二污水腔(31),第二污水腔(31)的底部通过第二污水管连通主排水管(21);所述清洗室(13)的顶端安装有第二喷淋头(32),第二喷淋头(32)通过第二喷淋管(33)连通主供水管。
10.根据权利要求8所述的一种路面修补用沥青冷补料的制备方法,其特征在于:所述排料滤斗(30)的底端设置有第二出料管(34),第二出料管(34)连通烘干室(35),烘干室(35)的内部安装有烘干风机(36),烘干室(35)的顶端连通排湿风机(37),烘干室(35)的底端连通石料螺旋输送机(38),石料螺旋输送机(38)连通拌和装置(3)。
Priority Applications (1)
| Application Number | Priority Date | Filing Date | Title |
|---|---|---|---|
| CN202111563592.4A CN114016354A (zh) | 2021-12-20 | 2021-12-20 | 一种路面修补用沥青冷补料及其制备方法 |
Applications Claiming Priority (1)
| Application Number | Priority Date | Filing Date | Title |
|---|---|---|---|
| CN202111563592.4A CN114016354A (zh) | 2021-12-20 | 2021-12-20 | 一种路面修补用沥青冷补料及其制备方法 |
Publications (1)
| Publication Number | Publication Date |
|---|---|
| CN114016354A true CN114016354A (zh) | 2022-02-08 |
Family
ID=80069417
Family Applications (1)
| Application Number | Title | Priority Date | Filing Date |
|---|---|---|---|
| CN202111563592.4A Pending CN114016354A (zh) | 2021-12-20 | 2021-12-20 | 一种路面修补用沥青冷补料及其制备方法 |
Country Status (1)
| Country | Link |
|---|---|
| CN (1) | CN114016354A (zh) |
Cited By (1)
| Publication number | Priority date | Publication date | Assignee | Title |
|---|---|---|---|---|
| CN115162103A (zh) * | 2022-07-14 | 2022-10-11 | 山东交科路美达新材料科技有限公司 | 一种天然沥青改性沥青及其制备方法与应用 |
Citations (5)
| Publication number | Priority date | Publication date | Assignee | Title |
|---|---|---|---|---|
| US5988935A (en) * | 1998-08-31 | 1999-11-23 | H.D. Industries, Inc. | Asphalt repair apparatus with dry, radiant heat source |
| CN103073233A (zh) * | 2013-01-31 | 2013-05-01 | 河南农业大学 | 一种抗结冰路面坑槽修补材料及其制备方法 |
| CN210463851U (zh) * | 2019-05-13 | 2020-05-05 | 李秀方 | 一种底部吹风的茶叶用烘干机 |
| CN212932133U (zh) * | 2020-09-02 | 2021-04-09 | 江柳青 | 公路工程试验检测集料原材料水洗筛分试验装置 |
| CN214530045U (zh) * | 2021-02-27 | 2021-10-29 | 王亮 | 一种沥青路面现场集料回收装置 |
-
2021
- 2021-12-20 CN CN202111563592.4A patent/CN114016354A/zh active Pending
Patent Citations (5)
| Publication number | Priority date | Publication date | Assignee | Title |
|---|---|---|---|---|
| US5988935A (en) * | 1998-08-31 | 1999-11-23 | H.D. Industries, Inc. | Asphalt repair apparatus with dry, radiant heat source |
| CN103073233A (zh) * | 2013-01-31 | 2013-05-01 | 河南农业大学 | 一种抗结冰路面坑槽修补材料及其制备方法 |
| CN210463851U (zh) * | 2019-05-13 | 2020-05-05 | 李秀方 | 一种底部吹风的茶叶用烘干机 |
| CN212932133U (zh) * | 2020-09-02 | 2021-04-09 | 江柳青 | 公路工程试验检测集料原材料水洗筛分试验装置 |
| CN214530045U (zh) * | 2021-02-27 | 2021-10-29 | 王亮 | 一种沥青路面现场集料回收装置 |
Cited By (2)
| Publication number | Priority date | Publication date | Assignee | Title |
|---|---|---|---|---|
| CN115162103A (zh) * | 2022-07-14 | 2022-10-11 | 山东交科路美达新材料科技有限公司 | 一种天然沥青改性沥青及其制备方法与应用 |
| CN115162103B (zh) * | 2022-07-14 | 2023-08-11 | 山东交科路美达新材料科技有限公司 | 一种天然沥青改性沥青及其制备方法与应用 |
Similar Documents
| Publication | Publication Date | Title |
|---|---|---|
| CN212943266U (zh) | 一种有机肥加工用高效破碎装置 | |
| CN114016354A (zh) | 一种路面修补用沥青冷补料及其制备方法 | |
| CN107443574A (zh) | 一种自动控制的新型混凝土搅拌机建筑设备 | |
| CN210304919U (zh) | 混凝土搅拌机内部清洗系统 | |
| CN116689370A (zh) | 一种清洗石英砂的方法 | |
| CN208148196U (zh) | 一种自动清洗的混凝土搅拌机 | |
| CN207615277U (zh) | 一种节水型大米粮食清洗装置 | |
| CN208512403U (zh) | 一种农业用复合肥料的搅拌桶 | |
| CN215976770U (zh) | 一种道路与桥梁裂缝修复装置 | |
| CN215877025U (zh) | 一种重交沥青用节能型均匀搅拌装置 | |
| CN216106258U (zh) | 一种工业废水处理用软化装置 | |
| CN112426916A (zh) | 一种可循环清洗搅拌设备 | |
| CN210885675U (zh) | 一种混凝土搅拌站污水废渣回收装置 | |
| CN220176621U (zh) | 一种防止铸件脉纹缺陷的加料装置 | |
| CN218901183U (zh) | 一种水泥生产用窑尾尾气处理装置 | |
| CN112892361A (zh) | 一种效果好的搅拌设备 | |
| CN208020495U (zh) | 一种土木工程用混凝土搅拌装置 | |
| CN219722491U (zh) | 一种防水材料生产装置 | |
| CN113967501A (zh) | 一种混凝土加工用的新型颚式破碎机 | |
| CN213563458U (zh) | 一种混凝搅拌站用混凝土搅拌装置 | |
| CN223115530U (zh) | 一种卧式双轴搅拌机 | |
| CN217648645U (zh) | 一种绿色建筑砂浆搅拌装置 | |
| CN211662346U (zh) | 一种生产混凝土多孔砖用的搅拌装置 | |
| CN220780074U (zh) | 一种用于土壤修复系统的混料设备 | |
| CN220638401U (zh) | 一种便于清洗的混凝土搅拌装置 |
Legal Events
| Date | Code | Title | Description |
|---|---|---|---|
| PB01 | Publication | ||
| PB01 | Publication | ||
| SE01 | Entry into force of request for substantive examination | ||
| SE01 | Entry into force of request for substantive examination | ||
| RJ01 | Rejection of invention patent application after publication |
Application publication date: 20220208 |
|
| RJ01 | Rejection of invention patent application after publication |