CN114000680A - 一种墙面铣刨机 - Google Patents

一种墙面铣刨机 Download PDF

Info

Publication number
CN114000680A
CN114000680A CN202111560606.7A CN202111560606A CN114000680A CN 114000680 A CN114000680 A CN 114000680A CN 202111560606 A CN202111560606 A CN 202111560606A CN 114000680 A CN114000680 A CN 114000680A
Authority
CN
China
Prior art keywords
cutter head
sprocket
milling machine
worm
drive
Prior art date
Legal status (The legal status is an assumption and is not a legal conclusion. Google has not performed a legal analysis and makes no representation as to the accuracy of the status listed.)
Granted
Application number
CN202111560606.7A
Other languages
English (en)
Other versions
CN114000680B (zh
Inventor
胡双胜
Current Assignee (The listed assignees may be inaccurate. Google has not performed a legal analysis and makes no representation or warranty as to the accuracy of the list.)
Individual
Original Assignee
Individual
Priority date (The priority date is an assumption and is not a legal conclusion. Google has not performed a legal analysis and makes no representation as to the accuracy of the date listed.)
Filing date
Publication date
Application filed by Individual filed Critical Individual
Priority to CN202111560606.7A priority Critical patent/CN114000680B/zh
Publication of CN114000680A publication Critical patent/CN114000680A/zh
Application granted granted Critical
Publication of CN114000680B publication Critical patent/CN114000680B/zh
Active legal-status Critical Current
Anticipated expiration legal-status Critical

Links

Images

Classifications

    • EFIXED CONSTRUCTIONS
    • E04BUILDING
    • E04FFINISHING WORK ON BUILDINGS, e.g. STAIRS, FLOORS
    • E04F21/00Implements for finishing work on buildings
    • EFIXED CONSTRUCTIONS
    • E04BUILDING
    • E04GSCAFFOLDING; FORMS; SHUTTERING; BUILDING IMPLEMENTS OR AIDS, OR THEIR USE; HANDLING BUILDING MATERIALS ON THE SITE; REPAIRING, BREAKING-UP OR OTHER WORK ON EXISTING BUILDINGS
    • E04G23/00Working measures on existing buildings
    • YGENERAL TAGGING OF NEW TECHNOLOGICAL DEVELOPMENTS; GENERAL TAGGING OF CROSS-SECTIONAL TECHNOLOGIES SPANNING OVER SEVERAL SECTIONS OF THE IPC; TECHNICAL SUBJECTS COVERED BY FORMER USPC CROSS-REFERENCE ART COLLECTIONS [XRACs] AND DIGESTS
    • Y02TECHNOLOGIES OR APPLICATIONS FOR MITIGATION OR ADAPTATION AGAINST CLIMATE CHANGE
    • Y02PCLIMATE CHANGE MITIGATION TECHNOLOGIES IN THE PRODUCTION OR PROCESSING OF GOODS
    • Y02P70/00Climate change mitigation technologies in the production process for final industrial or consumer products
    • Y02P70/10Greenhouse gas [GHG] capture, material saving, heat recovery or other energy efficient measures, e.g. motor control, characterised by manufacturing processes, e.g. for rolling metal or metal working

Landscapes

  • Engineering & Computer Science (AREA)
  • Architecture (AREA)
  • Civil Engineering (AREA)
  • Structural Engineering (AREA)
  • Chemical & Material Sciences (AREA)
  • Chemical Kinetics & Catalysis (AREA)
  • Electrochemistry (AREA)
  • Mechanical Engineering (AREA)
  • Milling, Drilling, And Turning Of Wood (AREA)
  • Milling Processes (AREA)

Abstract

本发明公开了一种墙面铣刨机,包括:底座,间隔固定到底座上的两根立柱,能够沿立柱纵向滑动的传动支架,驱动机构,刀头,用于对驱动机构和刀头控制的控制箱;底座的下方安装三个以上滚动轮,至少两个滚动轮带有刹车机构;驱动机构包括:电机,安装到两根立柱之间的上支撑传动轴和下支撑传动轴,安装到传动支架上端的支架传动轴,安装到电机输出轴上的驱动轮,安装到下支撑传动轴上的从动轮和第一链轮,安装到上支撑传动轴上的第二链轮和第三链轮,安装到底座上的第四链轮,安装到支架传动轴上的第五链轮,安装到传动支架上的换向链轮,活动链轮。该墙面铣刨机能够保持较小体积,但可进行更高墙面的铣削。

Description

一种墙面铣刨机
技术领域
本发明涉及建筑装修施工设备领域,尤其是一种用于铣掉墙面的墙面铣刨机。
背景技术
在房屋进行装修施工时,为了能够获得较大的室内空间及进行墙面的装饰,通常会将原有墙面一定厚度的墙皮铲掉,并将墙面修平,以便对墙面进行装饰。随着大量老旧小区改造工程的进行,去除房屋墙面原有墙皮工作会越来越多。现有去除墙面墙皮的工作一般由工人手持工具铲掉墙皮,但是,存在铲除难度大,墙面清理不干净,劳动强度大,工作噪音较大,工作效率低,劳动成本高,人工很难将墙面铲平,墙面平整度较差,同一墙面和不同墙面的施工一致性也较差。
为了解决上述问题,用于铣削墙面的墙面铣刨机应运而生,相对于传统手动铲掉墙皮的方式,墙面铣刨机具有方便快捷、效率高等优点。但是,在现有墙面铣刨机中,用于驱动刀头沿墙面上进行运动铣削的驱动机构复杂,驱动机构中包括较多的运动传动部件,导致驱动机构能耗大,驱动机构也容易出现故障,并且,为了保证在驱动机构的带动下刀头沿相应的方向进行运动,与驱动机构配合的结构较多,造成现有墙面铣刨机整体较笨重,不方便周转和使用。
发明内容
针对现有技术存在的问题,本发明的目的在于提供一种墙面铣刨机,该墙面刨墙机的驱动机构简单,整机重量较轻,方便周转和使用。
为实现上述目的,本发明的技术方案如下:
一种墙面铣刨机,包括:底座,间隔固定到所述底座上的两根立柱,能够沿所述立柱纵向滑动的传动支架,驱动机构,刀头,用于对所述驱动机构和所述刀头控制的控制箱;
所述底座的下方安装三个以上滚动轮,至少两个所述滚动轮带有刹车机构;
所述驱动机构包括:电机,安装到两根所述立柱之间的上支撑传动轴和下支撑传动轴,安装到所述传动支架上端的支架传动轴,安装到所述电机输出轴上的驱动轮,安装到所述下支撑传动轴上的从动轮和第一链轮,安装到所述上支撑传动轴上的第二链轮和第三链轮,安装到所述底座上的第四链轮,安装到所述支架传动轴上的第五链轮,安装到所述传动支架上的换向链轮,活动链轮;其中,所述第一链轮和所述第二链轮通过第二链条内侧啮合连接,所述第三链轮、所述活动链轮、所述第四链轮、所述第五链轮依次通过第三链条内侧啮合连接,所述换向链轮啮合在所述第三链轮和所述第五链轮之间的第三链条外侧;所述驱动轮用于带动所述从动轮旋转;
所述刀头包括与所述第三链条连接的背板,在所述背板与所述传动支架的接触面处,所述传动支架上设置纵向滑道,所述背板上设置与所述纵向滑道配合的纵向滑块;所述传动支架的顶端安装用于对所述刀头限位的挡块。
进一步,所述墙面铣刨机还包括:分别安装在所述立柱上端和下端的上限位装置和下限位装置,安装在所述传动支架上的限位块;所述上限位装置和所述下限位装置分别能够与所述限位块和所述刀头的背板下端接触。
进一步,所述背板上设置两个以上带有安装孔的安装耳,所述第三链条之间连接有弹簧,所述弹簧上端的所述链条与最上端的安装耳固定连接,所述弹簧下端的所述第三链条穿过下端的安装耳。
进一步,所述刀头还包括:安装到所述背板前方的框架,安装到所述框架前方的前板;所述前板前侧安装铣削组件;在所述框架与所述前板的接触面处,所述框架上开设横向滑道,所述前板后侧设置与所述横向滑道配合的横向滑块。
进一步,所述框架上安装横向的丝杆,所述丝杆一端安装丝杆驱动电机;所述前板后侧设置滑动块,所述滑动块上开设套装到所述丝杆上丝杆孔。
进一步,所述背板与所述框架之间通过缓冲机构连接。
进一步,所述铣削组件包括:驱动电机,调速装置,刀盘座,安装到所述刀盘座周向边缘的安装座,刀片座,刀片;所述驱动电机用于驱动所述调速装置的两个调速轴同步反向旋转;两个所述刀盘座的中部分别固定安装到两个所述调速轴上;所述刀片座靠近所述刀盘座的周向边缘安装到所述安装座上,所述刀片从所述刀盘座的周向外侧沿径向可拆卸地固定到所述刀片座上。
进一步,所述铣削组件还包括:刀盘壳,套装到所述刀盘壳翻沿上的柔性套;所述调速轴插入所述刀盘壳,所述刀片顶端伸出所述刀盘壳翻沿且位于所述柔性套之内,或所述刀片顶端与所述柔性套边沿平齐。
进一步,所述墙面铣刨机还包括标尺机构,所述标尺机构包括:竖直安装的驱动蜗杆,蜗轮杆,齿轮,沿所述刀头轴向方向置于所述底座上的齿条;所述驱动蜗杆包括蜗杆和与所述蜗杆连接的驱动杆,所述蜗轮杆包括蜗轮和与所述蜗轮连接的传动杆,所述齿轮安装到所述传动杆上并与所述齿条配合;所述蜗杆与蜗轮配合,用于带动所述蜗轮杆和所述齿轮转动,所述齿条能够相对所述底座前后滑动。
本发明的墙面铣刨机,通过驱动轮驱动从动轮传动,依次通过第一链轮带动第二链条传动和第三链轮带通第三链条传动,从而带动连接到第三链条上的刀头上下运动,刀头上行至与挡块接触时,在刀头上行力的作用下,活动链轮被第三链条向上拉动,拖动传动支架相对立柱向上滑动,从而使刀头能够有更高的铣削高度;刀头下行,在传动支架重力的作用下,传动支架向下滑动到初始位置,同时,在活动链轮重力的作用下,活动链轮向下运动,第三链条收紧,刀头可以相对传动支架和立柱继续下行。本发明刀头的驱动机构的结构简单,传动元件数量少,容易实现,减轻了驱动机构和整机的重量,减少驱动机构的能耗,便于墙面铣刨机的周转和使用,本发明的墙面铣刨机能够保持较小体积,但可进行更高墙面的铣削。
附图说明
图1为本发明示例提供的墙面铣刨机的局部剖面主视示意图;
图2为本发明示例提供的墙面铣刨机的后视示意图;
图3为本发明示例提供的墙面铣刨机的左视示意图;
图4为本发明示例提供的墙面铣刨机局部剖面示意图;
图5为图1中背板4-1的右视示意图;
图6为图1中框架4-2、前板4-4和驱动电机7-11的右视示意图;
图7为图1中框架4-2的左视示意图;
图8为图1中前板4-4和驱动电机4-11的右视示意图;
图9为图8的左视示意图;
图10为图1中铣削组件7的主视示意图;
图11为图10的局部剖面结构示意图;
图12为图10中刀盘座7-1的主视示意图;
图13为图10中安装座7-2的主视示意图;
图14为图13的剖面结构示意图;
图15为图10中刀片座7-3的主视示意图;
图16为图15的剖面结构示意图;
图17为图10中刀片7-4的主视示意图;
图18为图17的剖面结构示意图;
图19为本发明示例提供的另一种刀片7-4主视示意图;
图20为图11中定位销7-9的主视示意图;
图21为图1中底座1的仰视示意图。
图中:
1—底座;1-1—万向轮;1-2—刹车轮;1-3—安装腔;
2—立柱;2-1—上支撑传动轴;2-2—下支撑传动轴;
3-1—电机;3-2—驱动轮;3-3—第一链条;3-4—第一轴套;3-5—从动轮;3-6—第一链轮;3-7—第二链条;3-8—第二链轮;3-9—第二轴套;3-10—弹簧;3-11—第三链轮;3-12—第三链条;3-13—活动链轮;3-14—第四链轮;3-15—第五链轮;3-16—第三轴套;3-17—换向链轮;3-18—防磨轴套;
4—刀头;4-1—背板;4-1-1—纵向滑块;4-1-2—安装耳;4-2—框架;4-2-1—窗口;4-2-2—丝杆;4-2-3—丝杆驱动电机;4-2-4—横向滑道;4-3—缓冲机构;4-4—前板;4-4-1—滑动块;4-4-2—横向滑块;
5—传动支架;5-1—支架传动轴;5-2—挡块;5-3—纵向滑道;5-4—滑块;5-5—限位块;
6-1—上限位开关;6-2—下限位开关;6-3—限位块;
7—铣削组件;7-1—刀盘座;7-1-1—刀盘臂;7-1-2—连接孔;7-1-3—第一定位孔;7-1-4—螺纹孔;7-2—安装座;7-2-1—下沉槽;7-2-2—第一固定孔;7-2-3—第二固定孔;7-2-4—第二定位孔;7-3—刀片座;7-3-1—第三固定孔;7-3-2—刀片安装槽;7-3-3—第四固定孔;7-4—刀片;7-4-1—刀片固定孔;7-4-2—锯齿状刀锋;7-5—调速轴;7-6—刀盘壳;7-6-1—排尘口;7-7—柔性套;7-8—垫块;7-9—定位销;7-10—固定螺钉;7-11—驱动电机;
8-1—驱动蜗杆;8-2—蜗轮杆;8-3—齿轮;8-4—齿条;
9—连接板;
10—把手;
11—控制箱;11-1—操控杆。
具体实施方式
为了使本领域的技术人员更好地理解本发明的方案,下面结合本发明示例中的附图对本发明的技术方案进行清楚、完整地描述,显然,所描述的示例仅仅是本发明的一部分示例,而不是全部的示例。基于本发明中的示例,本领域的普通技术人员在没有做出创造性劳动的前提下,所获得的所有其他实施方式都应当属于本发明保护的范围。
在本实施方式的描述中,术语“上”、“下”、“左”、“右”等指示的方位或位置关系均为基于附图所示的方位或位置关系,仅仅是为了便于描述本发明和简化描述,而不是指示或暗示所指的装置或元件必须具有特定的方位、以特定的方位构造和操作,因此不能理解为对本发明的限制。此外,术语“第一”、“第二”等仅用于区别类似的对象,而不能理解为特定的顺序或先后次序,应该理解这样的使用在适当情况下可以互换。
本示例关于墙面铣削机的描述过程中,“前”是指接近墙面的方向,“后”是指远离墙面的方向。
本示例提供了本发明一种墙面铣刨机,参见图1-4,该墙面铣刨机包括:底座1,间隔固定到底座1上方的两根立柱2,能够沿立柱2纵向滑动的传动支架5,驱动机构,刀头4,用于对驱动机构和刀头4控制的控制箱11;其中,立柱2通过L形的连接板9和螺钉固定到底座1上表面;立柱2的一侧安装刀头4,另一侧安装控制箱11,以便与控制驱动机构驱动刀头4对墙面进行铣削。
底座1的下方安装三个以上滚动轮,至少两个滚动轮带有刹车机构;参见图1-4、图21,本示例中底座1下方安装的滚动轮为万向轮,底座1前端对称安装两个万向轮1-1,底座1下方的后端对称安装两个刹车轮1-2,刹车轮1-2为带有刹车装置的万向轮,通过与地面接触万向轮1-1和刹车轮1-2来运输墙面铣刨机,通过刹车轮1-2的刹车装置将墙面铣刨机停在某一位置处。
为了保证立柱2提供稳定支撑,在两根立柱2之间设置若干支撑横梁。为了保证传动支架5提供稳定支撑,传动支架5也设置若干支撑横梁。
驱动机构包括:电机3-1,安装到两根立柱2之间的上支撑传动轴2-1和下支撑传动轴2-2,安装到传动支架5上端的支架传动轴5-1,安装到电机3-1输出轴上的驱动轮3-2,安装到下支撑传动轴2-2上的从动轮3-5和第一链轮3-6,安装到上支撑传动轴2-1上的第二链轮3-8和第三链轮3-11,安装到底座1上的第四链轮3-14,安装到支架传动轴5-1上的第五链轮3-15,安装到传动支架5上的换向链轮3-17,活动链轮3-13;其中,第一链轮3-3和第二链轮3-8通过第二链条3-7内侧啮合连接,第三链轮3-11、活动链轮3-13、第四链轮3-14、第五链轮3-15依次通过第三链条3-12内侧啮合连接,换向链轮3-17啮合在第三链轮3-11和第五链轮3-15之间的第三链条3-12外侧;驱动轮3-2用于带动从动轮3-5旋转。
本示例的刀头包括与第三链条3-12连接的背板4-1,在背板4-1与传动支架5的接触面处,传动支架5上设置纵向滑道5-3,背板4-1上设置与纵向滑道5-3配合的纵向滑块4-1-1。具体地,纵向滑道5-3可以是安装到传动支架5表面的滑道,也可以是开设到传动支架5上的滑道。纵向滑道5-3可以是沿立柱2的纵向支撑梁设置的T形凸起,相应地,纵向滑块4-1-1设置与该T形凸起配合的T形凹槽;纵向滑道5-3也可以是沿立柱2的纵向支撑梁设置的T形凹槽,相应地,纵向滑块4-1-1设置与该T形凹槽配合的T形凸起。
本领域技术人员也可以根据使用需要设置其他纵向滑道和纵向滑块的结构,例如,在纵向滑道或纵向滑块上安装滑动轮,通过滑动轮在纵向滑道中的滑动,完成背板4-1相对传动支架5的纵向滑动;传动支架5的顶端安装用于对刀头4限位的挡块5-2。
本示例的驱动轮3-2和从动轮3-5均为链轮,通过第一链条3-3内侧啮合连接,即驱动轮3-2通过链传动带动从动轮3-5转动;在本发明的另一实施方式中,驱动轮3-2和从动轮3-5也可以均是齿轮,驱动轮3-2通过齿轮传动带动从动轮3-5转动。
本示例的下支撑传动轴2-2和上支撑传动轴2-1分别套装第一轴套3-4和第二轴套3-9,从动轮3-5和第一链轮3-6安装到第一轴套3-4上,第二链轮3-8和第三链轮3-11套装到第二轴套3-9上,从动轮3-5通过第一轴套3-4带动第一链轮3-6绕下支撑传动轴2-2转动,第一链轮3-6带动第二链轮3-8、第二轴套3-9和第三链轮3-11绕上支撑传动轴2-1转动,第三链轮3-11通过带动活动链轮3-13、第四链轮3-14、第五链轮3-15、第三轴套3-16和换向链轮3-17转动,使第三链条3-12带动刀头4上、下行。
在本发明的另一实施方式中,可以不安装第一轴套3-4、第二轴套3-9和第三轴套3-16,通过从动轮3-5、第二链轮3-8和第三链轮3-11分别直接带动下支撑传动轴2-2、上支撑传动轴2-1和支架传动轴5-1转动,在下支撑传动轴2-2、上支撑传动轴2-1与立柱2的连接端,以及支架传动轴5-1与传动支架5的连接端分别安装支撑轴承等供旋转的部件,但是,这种结构与本示例的安装轴套结构相比,安装结构复杂,不方便旋转。
本示例中,从动轮3-5和第一链轮3-6安装到下支撑传动轴2-2上,此时,为了便于驱动轮3-2的驱动,电机3-1可安装到底座1上,便于电机3-1的安装和固定。
本示例传动支架5与立柱2之间的纵向滑动结构是通过滑道和滑块配合的结构实现的,参见图1、图2、图4,在立柱2的前表面设置滑道,在传动支架5的后表面上安装滑块5-4;在本发明的其他实施方式中,也可以在传动支架5的后表面上设置滑道,在立柱2的前表面上安装滑块。其中,滑块也可以用滑轮替代,通过滑轮在滑道中滑动,达到传动支架5相对立柱2纵向滑动的目的。
本示例的墙面铣刨机,通过驱动轮3-2驱动从动轮3-5传动,依次通过第一链轮3-6带动第二链条3-8传动和第三链轮3-11带通第三链条3-12传动,从而带动连接到第三链条3-12上的刀头4上下运动,刀头4上行至与挡块5-2接触时,在刀头4上行力的作用下,活动链轮3-13被第三链条3-12向上拉动,拖动传动支架5相对立柱2向上滑动,从而使刀头4能够有更高的铣削高度;刀头4下行,在传动支架5重力的作用下,传动支架5向下滑动到初始位置,传动支架5可以支撑到立柱2上,也可以支撑到底座1上,同时,在活动链轮3-13重力的作用下,活动链轮3-13向下运动,第三链条3-12收紧,刀头4可以相对传动支架5和立柱2继续下行。
使用本示例的墙面铣刨机时,可以通过移动底座1,使刀头4接触墙面,根据现场铣削需要,确定墙面的铣削厚度后,通过控制箱11控制刀头4开始铣削,将底座1向墙面移动需要铣削的厚度后,可以通过控制箱11的操控杆11-1控制刀头4上下移动,完成该条墙面的铣削后,可以移动底座1到相邻的其他位置的墙面,重复上述过程,即可完成整面墙面的铣削。
本示例刀头的驱动机构的结构简单,传动元件数量少,容易实现,减轻了驱动机构和整机的重量,减少驱动机构的能耗,便于墙面铣刨机的周转和使用,该墙面铣刨机能够保持较小体积的机体,但可进行更高墙面的铣削。
本示例的墙面铣刨机还包括:分别安装在立柱2上端和下端的上限位装置和下限位装置,安装在传动支架5上的限位块5-5;上限位装置和下限位装置分别能够与限位块5-5和刀头4的下端接触。具体地,如图1、图3所示,上限位装置包括:安装在左侧立柱2上端的上限位块6-3和右侧立柱2上端的上限位开关6-1;下限位装置包括安装在立柱下端的下限位开关6-2。上限位开关6-1和下限位开关6-2用于向控制箱11反馈,通过操控杆11-1控制刀头4进行上下运动时,当传动支架5相对立柱2上行至传动支架5上的限位块5-5接触到上限位开关6-1,或者,刀头4背板4-1的下端面接触到下限位开关6-2时,通过相应限位开关的反馈,控制箱11控制刀头4停止向上或向下运动;上限位块6-3的设置防止上限位开关6-1发生故障时,刀头4不能及时停下,通过上限位块6-3对刀头4的背板4-1机械限位。
优选地,限位块5-5可拆卸地安装到传动支架5的不同高度处,以便对不同高度的墙面进行铣削。
在本发明的其他实施方式中,上限位装置和下限位装置也可以仅是限位挡块,通过机械限位的方式限制刀头4的上行和下行。此时,需要操作人员通过观察刀头4所处的位置,通过控制箱11及时控制刀头4上行、下行或停止。
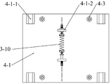
在本示例中,背板4-1上设置两个以上带有安装孔的安装耳4-1-2,第三链条3-12之间连接有弹簧3-10,弹簧3-10上端的链条与最上端的安装耳4-1-2固定连接,弹簧3-10下端的链条穿过下端的安装耳4-1-2。参见图5,背板4-1设置两个安装耳4-1-2,弹簧3-10的上端通过与第三链条3-12连接的连接件和螺母与上端的安装耳4-1-2固定连接,弹簧3-10下端与第三链条3-12通过连接件连接后,伸入到下端安装耳4-1-2的安装孔中,下端的安装耳4-1-2能够使第三链条3-12稳定传动,避免第三链条3-12在传动过程中发生较大的抖动。在安装时第三链条3-12时,弹簧3-10处于拉伸状态,在第三链条3-12传动的过程中,弹簧3-10下端的第三链条3-12能够使弹簧3-10拉伸和收缩,从而保证第二链条3-7一直处在张紧的工作状态,保证刀头4的上下运动。
参见图4,为了避免第三链条3-12与传动支架4的支撑横梁发生摩擦,在对应的传动支架4支撑横梁上套装防磨轴套3-18,在第三链条3-12的传动过程中,其带动防磨轴套3-18转动,防止第三链条3-12与传动支架4支撑横梁直接发生摩擦。
本示例的刀头还包括:安装到背板4-1前方的框架4-2,安装到框架4-2前方的前板4-4;前板4-4前侧安装铣削组件7;参见图7-9,在框架4-2与前板4-4的接触面处,框架4-2上开设横向滑道4-2-4,前板4-4后侧设置与横向滑道4-2-4配合的横向滑块4-4-2。具体地,横向滑道4-2-4可以是沿框架4-2横向设置的T形凸起,相应地,横向滑块4-4-2设置与该T形凸起配合的T形凹槽。横向滑道4-2-4也可以是沿框架4-2横向设置的T形凹槽,相应地,横向滑块4-4-2设置与该T形凹槽配合的T形凸起。
本领域技术人员也可以根据使用需要设置其他横向滑道和横向滑块的结构,例如,在横向滑道或横向滑块上安装滑动轮,通过滑动轮在横向滑道中的滑动,完成前板4-4相对框架4-2的横向滑动。
框架4-2上安装横向的丝杆4-2-2,丝杆4-2-2一端安装丝杆驱动电机4-2-3;前板4-4后侧设置滑动块4-4-1,滑动块4-4-1上开设配合套装到丝杆4-2-2上丝杆孔。参见图6-7,当丝杆驱动电机4-2-3驱动丝杆4-2-2顺时针和逆时针旋转时,滑动块4-4-1沿丝杆4-2-2左右滑动,从而带动前板4-4和铣削组件7左右滑动,因此,可通过控制箱11控制丝杆驱动电机4-2-3的转动方向和转动速度,从而达到控制铣削组件7左右调整的目的。
需要说明的是,为了保护铣削组件7,刀头左右方向位置的调整通常在进行铣削加工之前进行,若在铣削加工时,进行铣削组件7左右位置的调整会损坏铣削组件7。
参见图1,背板4-4与框架4-2之间通过缓冲机构4-3连接。具体地,背板4-4和框架4-2四角处均设置安装孔,在背板4-4和框架4-2之间的安装柱上安装弹簧,通过螺钉、螺栓、螺柱和螺母等结构件完成背板4-4、安装柱和框架4-2固定连接。缓冲机构4-3的设置起到缓冲作用,有利于保护切削刀头。
参见图10-19,本示例的铣削组件7包括:驱动电机7-11,调速装置,刀盘座7-1,安装到刀盘座7-1周向边缘的安装座7-2,刀片座7-3,刀片7-4;驱动电机7-11用于驱动调速装置的两个调速轴7-5同步反向旋转;两个刀盘座7-1的中部分别固定安装到两个调速轴7-5上;刀片座7-3靠近刀盘座7-1的周向边缘安装到安装座7-2上,刀片7-4从刀盘座7-1的周向外侧沿径向可拆卸地固定到刀片座7-3上。
本示例的墙面铣刨机用铣削组件7通过两个刀盘座7-1同步反向旋转,在切削墙面时能够将产生的切削偏向力彼此抵消,增强墙面铣刨机的切削稳定性;安装座7-2的设计便于刀片座7-3和刀片7-4的安装,刀片座7-3的设计便于沿径向安装和拆卸刀片7-4,同时使刀片7-4小型化,节约成本。
需要说明的是,本示例的铣削组件采用一个驱动电机7-11输出轴驱动两个调速轴转动;调速装置一般为减速装置,相应地调速轴7-5为两个同步反向旋转的减速轴,减速装置可以通过现有的齿轮减速器实现,通过在现有的齿轮减速器中增加惰轮,即可实现两个调速轴的同步反向旋转;在一些需要增大调速轴7-5转速的特殊情况下,调速装置也可以为增速装置;本领域技术人员可以根据实际需要减速或增速的程度,进行调速装置的设计。
参见图6,框架4-2上设置窗口4-2-1,以便于容置驱动电机7-11和丝杆驱动电机4-2-3。
在使用本示例的铣削组件7时,刀片7-4刀锋形成的面为铣削面,通过将铣削面平行接触墙面的方式进行墙面的铣削。
在本示例中,刀盘座7-1包括:均匀连接在刀盘座7-1中部的若干刀盘臂7-1-1,设置在刀盘座7-1中部的连接孔7-1-2;调速轴7-5插装固定到连接孔7-1-2中,安装座7-2安装到刀盘臂7-1-1的端部。
在本示例中,用于套装刀盘座7-1的调速轴7-5轴段为多边形棱柱,刀盘座7-1的连接孔7-1-2为与该多边形棱柱配合的多边形棱柱孔。参见图10、图12,用于套装刀盘座7-1的调速轴7-5轴段为六边形棱柱,相应地,连接孔7-1-2为与其配合的六边形棱柱孔。在实施时,可将调速轴7-5制成三段轴,后端的轴段截面积大于多边形棱柱的截面积,以便对刀盘座7-1形成支撑,参见图10-11,前端的轴段截面积小于多边形棱柱的截面积,前端的轴段伸出连接孔7-1-2后,采用垫片和螺母对刀盘座7-1进行轴向固定。为了便于垫片的安装还可以在刀盘座7-1上开设垫片安装槽。
在本示例中,两个调速轴5之间的间距小于刀盘臂7-1-1半径长度的二倍。参见图10,图中右侧的刀盘座7-1的刀盘臂7-1-1伸入左侧刀盘座7-1两刀盘臂7-1-1之间的间隔中,保证两个刀盘座7-1之间的墙面进行无缝隙地铣削,使两个刀盘座7-1形成一个完整的墙面切削范围,并且,两个刀盘座7-1同步旋转,两个刀盘座7-1的刀盘臂7-1-1不会发生碰撞。
本示例的铣削组件还包括:刀盘壳7-6,套装到刀盘壳7-6翻沿上的柔性套7-7;调速轴7-5插入刀盘壳,刀片7-4顶端伸出刀盘壳7-6翻沿且位于柔性套7-7之内,或刀片7-4顶端与柔性套7-7边沿平齐。刀盘壳7-6能够存放通过刀片7-4铣削下来的墙灰,柔性套7-7能够防止铣削时墙灰从刀盘壳7-6的边缘泄漏。
在一实施方式中,铣削组件还包括安装在刀盘座7-1和安装座7-2之间的垫块7-8。安装垫块7-8为了保证刀片7-4顶端伸出刀盘壳7-6翻沿,保证刀片7-4对墙面的切削。
在另一实施方式中,铣削组件还包括安装在刀盘座7-1和安装座7-2之间的定位销7-9,定位销7-9一端插装固定到刀片座7-3中,定位销7-9另一端插装固定到刀盘座7-1中,定位销7-9中部支撑在安装座7-2和刀盘座7-1之间。
参见图11、图20,在本示例中,铣削组件既包括垫块7-8,也包括定位销7-9,定位销7-9两端为直径较小的轴段,图中,定位销7-9左侧轴段插入安装座7-2的第二定位孔7-2-4并与第二定位孔7-2-4紧配合,定位销7-9右侧轴段插入刀盘7-1的第一定位孔7-1-3并与第一定位孔7-1-3紧配合,定位销7-9中段和垫块7-8同时夹持在安装座7-2和刀盘座7-1之间。固定螺钉7-10依次穿过第二固定孔7-2-3、垫块7-8上的固定孔,将固定螺钉7-10固定到螺纹孔7-1-4中,完成安装座7-2的固定,定位销7-9和固定螺钉7-10同时将安装座7-2与刀盘座7-1固定,更可靠将安装座7-2固定到刀盘座7-1上。
参见图10、图13-16,安装座7-2上设置下沉槽7-2-1,刀片座7-3安装到下沉槽7-2-1中,螺钉等固定件通过第三固定孔7-3-1和第一固定孔7-2-2,将刀片座7-3固定到安装座7-2上。刀片座7-3的侧面设置刀片安装槽7-3-2,将刀片7-4安装到刀片座7-3的刀片安装槽7-3-2中,螺钉等固定件通过刀片固定孔7-4-1和第四固定孔7-3-3,将刀片7-4从刀盘座7-1的周向外侧沿径向可拆卸地固定到刀片座7-3的刀片安装槽7-3-2中。
在本示例中,刀盘壳7-6一侧的翻沿开设排尘口7-6-1,参见图10-11,排尘口7-6-1设置在刀盘壳7-6底端,排尘口7-6-1通过管道与吸尘设备连接,以便将刀盘壳7-6内积累的墙尘及时排出。
参见图17-18,本示例的刀片7-4顶端带有尖角,参见图18,本示例提供的另一刀片7-4的刀锋7-4-2为锯齿状。由于一些墙面的水泥和墙粉不够均匀,导致刀片7-4的切削力不均匀,将刀锋7-4-2制成锯齿状,便于对这些墙面的细致切削并利于将墙面修平。
本示例的墙面铣刨机还包括标尺机构,标尺机构包括:竖直安装的驱动蜗杆8-1,蜗轮杆8-2,齿轮8-3,沿刀头4轴向方向置于底座上的齿条8-4;驱动蜗杆8-1包括蜗杆和与蜗杆连接的驱动杆,蜗轮杆8-2包括蜗轮和与蜗轮连接的传动杆,齿轮8-3安装到传动杆上并与齿条8-4配合;蜗杆与蜗轮配合,用于带动蜗轮杆8-2和齿轮8-3转动,齿条8-4能够相对底座1前后滑动。
参见图21,为了便于立柱2和驱动机构在底座1上的安装,底座1上设置安装缺口,驱动蜗杆8-1的蜗杆通过该缺口与安装在底座1下表面上涡轮杆8-2的蜗轮配合,蜗轮杆8-2的传动杆上安装两个齿轮8-3,两根齿条8-4穿过底座1上设置的安装腔1-3,安装到底座1的下表面,底座1下表面安装的两组齿轮8-3和齿条8-4结构相同。通过旋转驱动蜗杆8-1,调节两根齿条8-4同步伸向墙面一段距离,使刀片7-4的顶端与齿条8-4前端的水平距离恰好为要铣削墙面的厚度,这样启动铣削组件7上的驱动电机7-11后,将整个墙面铣削机向墙面推动至齿条8-4前端与墙面接触后,铣削组件7就铣削掉刀头区域的相应厚度的墙面,再通过驱动机构驱动刀头4上下移动,即可完成整条墙面的铣削。设置两根齿条8-4的目的是保证铣削时,铣削组件7与墙面平行,并保证铣削厚度。
在本发明的其他实施方式中,蜗杆8-1的蜗杆、蜗轮杆8-2、齿轮8-3和齿条4也可以安装在底座1的上方,其中,齿条8-4沿底座1上表面滑动。
参见图1-4,本示例的墙面铣刨机还包括倾斜安装在立柱2上的把手10,以便于推动墙面铣刨机,把手10的端部与底座1后端的边沿平齐,当放平该墙面铣刨机时,由把手10和底座1后端边沿对整机提供支撑,便于本示例墙面铣刨机的周转和运输。
最后,可以理解的是,以上实施方式仅仅是为了说明本发明的原理而采用的示例性实施方式,然而本发明并不局限于此。对于本领域普通技术人员而言,在不脱离本发明的原理和实质的情况下,可以做出各种变型和改进,这些变型和改进也视为本发明的保护范围。

Claims (9)

1.一种墙面铣刨机,其特征在于,包括:底座,间隔固定到所述底座上的两根立柱,能够沿所述立柱纵向滑动的传动支架,驱动机构,刀头,用于对所述驱动机构和所述刀头控制的控制箱;
所述底座的下方安装三个以上滚动轮,至少两个所述滚动轮带有刹车机构;
所述驱动机构包括:电机,安装到两根所述立柱之间的上支撑传动轴和下支撑传动轴,安装到所述传动支架上端的支架传动轴,安装到所述电机输出轴上的驱动轮,安装到所述下支撑传动轴上的从动轮和第一链轮,安装到所述上支撑传动轴上的第二链轮和第三链轮,安装到所述底座上的第四链轮,安装到所述支架传动轴上的第五链轮,安装到所述传动支架上的换向链轮,活动链轮;其中,所述第一链轮和所述第二链轮通过第二链条内侧啮合连接,所述第三链轮、所述活动链轮、所述第四链轮、所述第五链轮依次通过第三链条内侧啮合连接,所述换向链轮啮合在所述第三链轮和所述第五链轮之间的第三链条外侧;所述驱动轮用于带动所述从动轮旋转;
所述刀头包括与所述第三链条连接的背板,在所述背板与所述传动支架的接触面处,所述传动支架上设置纵向滑道,所述背板上设置与所述纵向滑道配合的纵向滑块;所述传动支架的顶端安装用于对所述刀头限位的挡块。
2.根据权利要求1所述的墙面铣刨机,其特征在于,还包括:分别安装在所述立柱上端和下端的上限位装置和下限位装置,安装在所述传动支架上的限位块;所述上限位装置和所述下限位装置分别能够与所述限位块和所述刀头的背板下端接触。
3.根据权利要求1所述的墙面铣刨机,其特征在于,所述背板上设置两个以上带有安装孔的安装耳,所述第三链条之间连接有弹簧,所述弹簧上端的所述链条与最上端的安装耳固定连接,所述弹簧下端的所述第三链条穿过下端的安装耳。
4.根据权利要求1所述的墙面铣刨机,其特征在于,所述刀头还包括:安装到所述背板前方的框架,安装到所述框架前方的前板;所述前板前侧安装铣削组件;在所述框架与所述前板的接触面处,所述框架上开设横向滑道,所述前板后侧设置与所述横向滑道配合的横向滑块。
5.根据权利要求4所述的墙面铣刨机,其特征在于,所述框架上安装横向的丝杆,所述丝杆一端安装丝杆驱动电机;所述前板后侧设置滑动块,所述滑动块上开设套装到所述丝杆上丝杆孔。
6.根据权利要求4所述的墙面铣刨机,其特征在于,所述背板与所述框架之间通过缓冲机构连接。
7.根据权利要求4所述的墙面铣刨机,其特征在于,所述铣削组件包括:驱动电机,调速装置,刀盘座,安装到所述刀盘座周向边缘的安装座,刀片座,刀片;所述驱动电机用于驱动所述调速装置的两个调速轴同步反向旋转;两个所述刀盘座的中部分别固定安装到两个所述调速轴上;所述刀片座靠近所述刀盘座的周向边缘安装到所述安装座上,所述刀片从所述刀盘座的周向外侧沿径向可拆卸地固定到所述刀片座上。
8.根据权利要求7所述的墙面铣刨机,其特征在于,所述铣削组件还包括:刀盘壳,套装到所述刀盘壳翻沿上的柔性套;所述调速轴插入所述刀盘壳,所述刀片顶端伸出所述刀盘壳翻沿且位于所述柔性套之内,或所述刀片顶端与所述柔性套边沿平齐。
9.根据权利要求1所述的墙面铣刨机,其特征在于,还包括标尺机构,所述标尺机构包括:竖直安装的驱动蜗杆,蜗轮杆,齿轮,沿所述刀头轴向方向置于所述底座上的齿条;所述驱动蜗杆包括蜗杆和与所述蜗杆连接的驱动杆,所述蜗轮杆包括蜗轮和与所述蜗轮连接的传动杆,所述齿轮安装到所述传动杆上并与所述齿条配合;所述蜗杆与蜗轮配合,用于带动所述蜗轮杆和所述齿轮转动,所述齿条能够相对所述底座前后滑动。
CN202111560606.7A 2021-12-20 2021-12-20 一种墙面铣刨机 Active CN114000680B (zh)

Priority Applications (1)

Application Number Priority Date Filing Date Title
CN202111560606.7A CN114000680B (zh) 2021-12-20 2021-12-20 一种墙面铣刨机

Applications Claiming Priority (1)

Application Number Priority Date Filing Date Title
CN202111560606.7A CN114000680B (zh) 2021-12-20 2021-12-20 一种墙面铣刨机

Publications (2)

Publication Number Publication Date
CN114000680A true CN114000680A (zh) 2022-02-01
CN114000680B CN114000680B (zh) 2023-07-04

Family

ID=79932155

Family Applications (1)

Application Number Title Priority Date Filing Date
CN202111560606.7A Active CN114000680B (zh) 2021-12-20 2021-12-20 一种墙面铣刨机

Country Status (1)

Country Link
CN (1) CN114000680B (zh)

Cited By (1)

* Cited by examiner, † Cited by third party
Publication number Priority date Publication date Assignee Title
CN114000681A (zh) * 2021-12-20 2022-02-01 胡双胜 一种能够用于屋顶的墙面铣刨机

Citations (6)

* Cited by examiner, † Cited by third party
Publication number Priority date Publication date Assignee Title
DE19837288A1 (de) * 1998-08-18 2000-02-24 Rsb Betontrenntechnik Gmbh Fräsvorrichtung zum Bearbeiten von Betonflächen und Fräsverfahren hierzu
CN103452299A (zh) * 2013-09-25 2013-12-18 上海晶湛机电有限公司 自动墙面铣刨机
CN111482859A (zh) * 2020-04-24 2020-08-04 阿郎装饰股份有限公司 一种建筑工程用墙面打磨装置
CN111946081A (zh) * 2020-09-17 2020-11-17 胡双胜 一种刨墙机
CN112761372A (zh) * 2020-12-30 2021-05-07 郑建 一种墙皮铲除机
CN214117591U (zh) * 2020-10-19 2021-09-03 张雷 一种室内装修用墙皮铲除设备

Patent Citations (6)

* Cited by examiner, † Cited by third party
Publication number Priority date Publication date Assignee Title
DE19837288A1 (de) * 1998-08-18 2000-02-24 Rsb Betontrenntechnik Gmbh Fräsvorrichtung zum Bearbeiten von Betonflächen und Fräsverfahren hierzu
CN103452299A (zh) * 2013-09-25 2013-12-18 上海晶湛机电有限公司 自动墙面铣刨机
CN111482859A (zh) * 2020-04-24 2020-08-04 阿郎装饰股份有限公司 一种建筑工程用墙面打磨装置
CN111946081A (zh) * 2020-09-17 2020-11-17 胡双胜 一种刨墙机
CN214117591U (zh) * 2020-10-19 2021-09-03 张雷 一种室内装修用墙皮铲除设备
CN112761372A (zh) * 2020-12-30 2021-05-07 郑建 一种墙皮铲除机

Cited By (1)

* Cited by examiner, † Cited by third party
Publication number Priority date Publication date Assignee Title
CN114000681A (zh) * 2021-12-20 2022-02-01 胡双胜 一种能够用于屋顶的墙面铣刨机

Also Published As

Publication number Publication date
CN114000680B (zh) 2023-07-04

Similar Documents

Publication Publication Date Title
CN108406881A (zh) 一种通讯电缆加工用切割机器人
CN112482750A (zh) 一种梁铝模安装用支撑件
CN114000680A (zh) 一种墙面铣刨机
CN111941243A (zh) 一种建筑钢管除锈装置
CN116984765B (zh) 一种教学用避免切割后管道倾倒的切割装置
CN113664591B (zh) 用于五金配件加工的配件盘轮式换刀装置
CN114000681B (zh) 一种能够用于屋顶的墙面铣刨机
CN222118790U (zh) 一种建筑安装用的管道提升装置
CN221337100U (zh) 一种旋转式激光焊接机
CN216552883U (zh) 一种墙面铣刨机
CN220428872U (zh) 一种水电管线自动开槽机
CN217769984U (zh) 一种光伏支架伸缩杆用驱动装置
CN118060835A (zh) 一种机电设备维护用辅助装置
CN210731693U (zh) 一种铝合金厢货总成的加工装置
CN220707908U (zh) 一种单门水冷式无氧化精密烤箱
CN219241305U (zh) 一种可调节的混凝土建筑模板
CN112524432A (zh) 一种用于显示屏散热和角度调节的辅助装置
CN215282745U (zh) 一种建筑工程用开槽装置
CN221676103U (zh) 电动车尾灯支架超声波焊接机构
CN222519630U (zh) 一种冰箱铝管配件加工用的弯管机
CN214789822U (zh) 一种用于机电设备安装底座
CN212526099U (zh) 一种车床用对中装置
CN112845716A (zh) 一种弯管装置
CN221088287U (zh) 一种铣床进刀定位调节机构
CN222520124U (zh) 一种锯条生产加工用铣齿装置

Legal Events

Date Code Title Description
PB01 Publication
PB01 Publication
SE01 Entry into force of request for substantive examination
SE01 Entry into force of request for substantive examination
GR01 Patent grant
GR01 Patent grant