CN113976819A - 一种消失模铸造砂冷却装置 - Google Patents
一种消失模铸造砂冷却装置 Download PDFInfo
- Publication number
- CN113976819A CN113976819A CN202111107465.3A CN202111107465A CN113976819A CN 113976819 A CN113976819 A CN 113976819A CN 202111107465 A CN202111107465 A CN 202111107465A CN 113976819 A CN113976819 A CN 113976819A
- Authority
- CN
- China
- Prior art keywords
- tank body
- casting sand
- gear
- box body
- cooling device
- Prior art date
- Legal status (The legal status is an assumption and is not a legal conclusion. Google has not performed a legal analysis and makes no representation as to the accuracy of the status listed.)
- Granted
Links
- 239000004576 sand Substances 0.000 title claims abstract description 53
- 238000001816 cooling Methods 0.000 title claims abstract description 51
- 238000010114 lost-foam casting Methods 0.000 title claims abstract description 14
- 238000005266 casting Methods 0.000 claims abstract description 33
- XLYOFNOQVPJJNP-UHFFFAOYSA-N water Substances O XLYOFNOQVPJJNP-UHFFFAOYSA-N 0.000 claims abstract description 30
- 238000005096 rolling process Methods 0.000 claims abstract description 9
- 238000003756 stirring Methods 0.000 claims description 24
- 238000010113 evaporative-pattern casting Methods 0.000 claims 6
- 238000007789 sealing Methods 0.000 abstract description 3
- 238000003860 storage Methods 0.000 abstract description 2
- 238000003825 pressing Methods 0.000 description 11
- 230000000694 effects Effects 0.000 description 5
- 239000000203 mixture Substances 0.000 description 3
- 230000035699 permeability Effects 0.000 description 2
- 230000001174 ascending effect Effects 0.000 description 1
- 230000009286 beneficial effect Effects 0.000 description 1
- 210000002421 cell wall Anatomy 0.000 description 1
- 238000010586 diagram Methods 0.000 description 1
- 230000005484 gravity Effects 0.000 description 1
- 238000009434 installation Methods 0.000 description 1
- 229910001338 liquidmetal Inorganic materials 0.000 description 1
- 238000004519 manufacturing process Methods 0.000 description 1
- 239000000463 material Substances 0.000 description 1
- 238000000034 method Methods 0.000 description 1
- 239000002245 particle Substances 0.000 description 1
Images
Classifications
-
- B—PERFORMING OPERATIONS; TRANSPORTING
- B22—CASTING; POWDER METALLURGY
- B22C—FOUNDRY MOULDING
- B22C5/00—Machines or devices specially designed for dressing or handling the mould material so far as specially adapted for that purpose
- B22C5/08—Machines or devices specially designed for dressing or handling the mould material so far as specially adapted for that purpose by sprinkling, cooling, or drying
-
- B—PERFORMING OPERATIONS; TRANSPORTING
- B22—CASTING; POWDER METALLURGY
- B22C—FOUNDRY MOULDING
- B22C5/00—Machines or devices specially designed for dressing or handling the mould material so far as specially adapted for that purpose
- B22C5/04—Machines or devices specially designed for dressing or handling the mould material so far as specially adapted for that purpose by grinding, blending, mixing, kneading, or stirring
- B22C5/0409—Blending, mixing, kneading or stirring; Methods therefor
- B22C5/045—Devices having a horizontal stirrer shaft in a fixed receptacle
Landscapes
- Engineering & Computer Science (AREA)
- Mechanical Engineering (AREA)
- Molds, Cores, And Manufacturing Methods Thereof (AREA)
Abstract
本发明公开了一种消失模铸造砂冷却装置,包括:箱体,所述箱体内部垂直固定有挡板,所述挡板上表面开设有进水口和出水口;罐体,所述罐体两端水平固定安装有与其内部相连通的套筒,所述箱体和挡板上表面开设有安置槽,两个所述套筒转动安装在安置槽内,所述罐体上通过折页铰接有舱门,所述舱门与罐体之间密封安装;冷却管,所述冷却管为多根,多根所述冷却管均垂直固定安装在箱体内侧壁;推板,所述推板为多个,多个所述推板均匀垂直固定安装在罐体外表面;驱动部件,所述驱动部件用于驱使套筒转动。本发明通过罐体的滚动,对铸造砂进行翻转,同时使水在箱体内循环,加快了冷却速度。
Description
技术领域
本发明涉及冷却技术领域,尤其涉及一种消失模铸造砂冷却装置。
背景技术
铸造砂是模具制造的重要材质,其颗粒的形状和组成对自身的流动性、紧实性、透气性、强度和抗液态金属的渗透性等性能有着重要影响,也是铸造砂质量的重要指标,而在模具铸造过程中,通常需要对铸造砂进行冷却处理。
现有的冷却装置在对铸造砂进行冷却时,通常会将铸造装在一个容器内,然后将容器浸泡在水里,这样的冷却方式不能使内部的铸造砂被完全冷却,从而导致冷却不均匀,冷却效果较差。
发明内容
本发明的目的是为了解决现有技术中,冷却装置在对铸造砂进行冷却时,通常会将铸造装在一个容器内,然后将容器浸泡在水里,这样的冷却方式不能使内部的铸造砂被完全冷却,从而导致冷却不均匀,冷却效果较差的缺点,而提出的一种消失模铸造砂冷却装置。
为了实现上述目的,本发明采用了如下技术方案:
一种消失模铸造砂冷却装置,包括:
箱体,所述箱体内部垂直固定有挡板,所述挡板上表面开设有进水口和出水口;
罐体,所述罐体两端水平固定安装有与其内部相连通的套筒,所述箱体和挡板上表面开设有安置槽,两个所述套筒转动安装在安置槽内,所述罐体上通过折页铰接有舱门,所述舱门与罐体之间密封安装;
冷却管,所述冷却管为多根,多根所述冷却管均垂直固定安装在箱体内侧壁;
推板,所述推板为多个,多个所述推板均匀垂直固定安装在罐体外表面;
驱动部件,所述驱动部件用于驱使套筒转动。
优选的,所述驱动部件包括电动机、第一齿轮和第二齿轮,所述电动机固定安装在箱体侧面,且输出轴垂直向上,所述第一齿轮固定套接在电动机输出轴上,所述第二齿轮固定套接在套筒上,且与第一齿轮啮合连接。
优选的,所述箱体底部垂直固定有两根排水管,两根所述排水管均与箱体内部相连通,且位于挡板两侧,所述箱体底部通过折页铰接有箱门,所述箱门与箱体之间密封安装,所述箱门尺寸大于舱门。
优选的,所述罐体内部设有搅拌部件,所述搅拌部件用于对铸造砂进行搅拌。
优选的,所述搅拌部件包括两根转轴、多个搅拌桨和第三齿轮,两根所述转轴分别转动套设在两个套筒内,多个所述搅拌桨分别垂直固定安装在两根转轴外圆弧面,所述第三齿轮固定套接在转轴的端部,且与第一齿轮啮合连接,两根所述转轴相互靠近的一端通过回转部件连接。
优选的,所述回转部件包括多根连杆、套环、挡圈、两根齿条、销轴和第四齿轮,多根所述连杆相互远离的一端均与罐体内壁固定连接,所述套环与多根连杆相互靠近的一端固定连接,所述挡圈转动套设在套环内,所述销轴两端均与挡圈内圆弧面固定连接,所述第四齿轮转动安装在销轴上,两根所述齿条相互远离的一端分别与两根转轴相互靠近的端面固定连接,且均与第四齿轮啮合连接,两根所述齿条均通过滑槽互动安装在挡圈内壁,所述转轴远离电动机的一端设有往复组件,所述往复组件包括推动部件和复位部件,所述推动部件用于驱使转轴移动,所述复位部件用于驱使转轴归位。
优选的,所述推动部件包括支架、安置盘、多个凸块、压杆和滑杆,所述支架水平固定安装在箱体侧面,所述安置盘固定安装在支架靠近箱体的一面,多个所述凸块均匀固定安装在安置盘远离支架的一面,所述压杆水平固定在转轴的端面,且远离转轴圆心,所述滑杆水平固定安装在压杆侧面,且与压杆垂直。
优选的,所述复位部件包括转盘、压盘和多根弹簧杆,所述转盘固定套设在转轴上,所述压盘滑动套设在转轴上,多根所述弹簧杆的分别与转盘和压盘相互靠近的一面固定连接。
优选的,所述滑杆上转动套设有滚筒,所述滚筒与凸块滚动接触。
优选的,所述转轴的端面开设有呈环形的限位槽,所述压盘靠近转轴的端面滚动嵌设有多个小球,多个所述小球均与限位槽滚动接触。
与现有技术相比,本发明的有益效果是:
1、通过驱动部件带动罐体转动,使得内部的铸造砂在罐体底部翻滚,可使得内部的铸造砂被暴露出来,从而使得铸造砂被充分冷却,改善了冷却效果;
2、在罐体转动时,罐体带动推板转动,推板使得水流在形体内部循环流动,并通过冷却管对水进行降温,进一步加快了冷却速度;
3、通过搅拌部件对铸造砂进行搅拌,内部的铸造砂可被翻出,使冷却更均匀,转轴的转动过程中,在回转部件和往复组件的干涉下,搅拌桨可转动的同时,左右移动,使得铸造砂混合的更加均匀,进一步改善冷却效果,提升了冷却效率。
附图说明
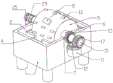
图1为本发明提出的一种消失模铸造砂冷却装置的立体结构示意图;
图2为本发明提出的一种消失模铸造砂冷却装置的仰视立体结构示意图;
图3为本发明提出的一种消失模铸造砂冷却装置的立体截面结构示意图;
图4为本发明提出的一种消失模铸造砂冷却装置的立体截面俯视结构示意图;
图5为图3中A的局部放大结构示意图;
图6为图4中B的局部放大结构示意图。
图中:1箱体、2挡板、3进水口、4出水口、5罐体、6套筒、7安置槽、8舱门、9冷却管、10推板、11电动机、12第一齿轮、13第二齿轮、14排水管、15转轴、16搅拌桨、17第三齿轮、18连杆、19套环、20挡圈、21齿条、22销轴、23第四齿轮、24支架、25安置盘、26凸块、27压杆、28滑杆、29转盘、30压盘、31弹簧杆、32滚筒、33小球、34箱门。
具体实施方式
下面将结合本发明实施例中的附图,对本发明实施例中的技术方案进行清楚、完整地描述,显然,所描述的实施例仅仅是本发明一部分实施例,而不是全部的实施例。
参照图1-6,一种消失模铸造砂冷却装置,包括:
箱体1,箱体1内部垂直固定有挡板2,挡板2上表面开设有进水口3和出水口4;
罐体5,罐体5两端水平固定安装有与其内部相连通的套筒6,箱体1和挡板2上表面开设有安置槽7,两个套筒6转动安装在安置槽7内,罐体5上通过折页铰接有舱门8,舱门8与罐体5之间密封安装;
冷却管9,冷却管9为多根,多根冷却管9均垂直固定安装在箱体1内侧壁;
推板10,推板10为多个,多个推板10均匀垂直固定安装在罐体5外表面;
驱动部件,驱动部件用于驱使套筒6转动。
应用上述技术方案的实施例中,在对铸造砂进行冷却时,操作人员首先将舱门8打开,将需要冷却的铸造砂加入罐体5内,然后关闭舱门8,向箱体1内加入水,并使冷却管9处于工作状态,启动驱动部件,驱动部件驱使套筒6转动,套筒6转动带动罐体5转动,罐体5内部的铸造砂由于自身重力的作用,始终在罐体5底部翻滚,使得内部的铸造砂被翻到外面,罐体5与水接触,铸造砂与罐体5接触,从而可使得铸造砂与水进行热交换,达到冷却效果,推板10在罐体5的带动下,在水中翻转,对水进行推动作用,使得箱体1内部的水进行循环,箱体1内部的水从出水口4被推出,随着流动,与冷却管9接触,将铸造砂的热量传出去,当水被冷却管9降温后,通过进水口3流入,再次与罐体5接触,对铸造砂进行冷却,通过此种方式,可使得铸造砂的冷却效果更好。
本实施例中优选的技术方案,驱动部件包括电动机11、第一齿轮12和第二齿轮13,电动机11固定安装在箱体1侧面,且输出轴垂直向上,第一齿轮12固定套接在电动机11输出轴上,第二齿轮13固定套接在套筒6上,且与第一齿轮12啮合连接,此设计中,电动机11输出轴转动,带动第一齿轮12转动,第一齿轮12转动,带动第二齿轮13转动,第二齿轮13转动,带动套筒6转动,从而使得套筒6带动罐体5转动,结构简单,实用可靠。
本实施例中优选的技术方案,箱体1底部垂直固定有两根排水管14,两根排水管14均与箱体1内部相连通,且位于挡板2两侧,箱体1底部通过折页铰接有箱门34,箱门34与箱体1之间密封安装,箱门34尺寸大于舱门8,此设计是为了冷却工作结束后,方便将水排出,并将铸造砂从罐体5内取出,打开排水管14将水排出,然后打开箱门34和舱门8,即可将铸造砂取出,操作简单。
本实施例中优选的技术方案,罐体5内部设有搅拌部件,搅拌部件用于对铸造砂进行搅拌,此设计是为了対铸造砂进行混合,加快冷却速度。
本实施例中优选的技术方案,搅拌部件包括两根转轴15、多个搅拌桨16和第三齿轮17,两根转轴15分别转动套设在两个套筒6内,多个搅拌桨16分别垂直固定安装在两根转轴15外圆弧面,第三齿轮17固定套接在转轴15的端部,且与第一齿轮12啮合连接,两根转轴15相互靠近的一端通过回转部件连接,此设计中,电动机11输出轴转动,带动第一齿轮12,第一齿轮12转动,同时带动第二齿轮13和第三齿轮17转动,由于第二齿轮13和第三齿轮17同时与第一齿轮12啮合接触,故而转向相反,从而使得转轴15与罐体5的转向相反,在回转部件的连接下,两根转轴15带动多个搅拌桨16对铸造进行搅拌混合。
本实施例中优选的技术方案,回转部件包括多根连杆18、套环19、挡圈20、两根齿条21、销轴22和第四齿轮23,多根连杆18相互远离的一端均与罐体5内壁固定连接,套环19与多根连杆18相互靠近的一端固定连接,挡圈20转动套设在套环19内,销轴22两端均与挡圈20内圆弧面固定连接,第四齿轮23转动安装在销轴22上,两根齿条21相互远离的一端分别与两根转轴15相互靠近的端面固定连接,且均与第四齿轮23啮合连接,两根齿条21均通过滑槽互动安装在挡圈20内壁,转轴15远离电动机11的一端设有往复组件,往复组件包括推动部件和复位部件,推动部件用于驱使转轴15移动,复位部件用于驱使转轴15归位,此设计中,转轴15转动,带动齿条21转动,齿条21转动带动挡圈20转动,在往复组件的干涉下,转轴15边转动,边移动,转轴15移动带动齿条21移动,两根齿条21与第四齿轮23同时啮合,故而移动方向相反,从而使得两根转轴15相互靠近和远离,进而使得多个搅拌桨16在转动的同时,在水平方向上相近或相远,对铸造砂进行水平方向上的搅拌,使其混合更加均匀,进一步提升冷却速度。
本实施例中优选的技术方案,推动部件包括支架24、安置盘25、多个凸块26、压杆27和滑杆28,支架24水平固定安装在箱体1侧面,安置盘25固定安装在支架24靠近箱体1的一面,多个凸块26均匀固定安装在安置盘25远离支架24的一面,压杆27水平固定在转轴15的端面,且远离转轴15圆心,滑杆28水平固定安装在压杆27侧面,且与压杆27垂直,此设计中,转轴15转动,带动压杆27转动,压杆27转动,带动滑杆28转动,滑杆28与多个凸块26配合,对转轴15进行推动,从而实现转轴15的移动。
本实施例中优选的技术方案,复位部件包括转盘29、压盘30和多根弹簧杆31,转盘29固定套设在转轴15上,压盘30滑动套设在转轴15上,多根弹簧杆31的分别与转盘29和压盘30相互靠近的一面固定连接,转轴15移动带动转盘29移动,转盘29移动对弹簧杆31进行压缩,当滑杆28与凸块26脱离时,弹簧杆31恢复原长,驱使压盘30复位,从而使得转轴15在推动部件和复位部件的配合下,往复移动。
本实施例中优选的技术方案,滑杆28上转动套设有滚筒32,滚筒32与凸块26滚动接触,此设计是为了将滑杆28与凸块26之间的滑动摩擦转化为滚筒32与凸块26之间的滚动摩擦,减少磨损。
本实施例中优选的技术方案,转轴15的端面开设有呈环形的限位槽,压盘30靠近转轴15的端面滚动嵌设有多个小球33,多个小球33均与限位槽滚动接触,此设计是为了将压盘30与套筒6之间的滑动摩擦转化为小球33与限位槽槽壁之间的滚动摩擦,减小摩擦力,使装置的运行更加平稳。
以上所述,仅为本发明较佳的具体实施方式,但本发明的保护范围并不局限于此,任何熟悉本技术领域的技术人员在本发明揭露的技术范围内,根据本发明的技术方案及其发明构思加以等同替换或改变,都应涵盖在本发明的保护范围之内。
Claims (10)
1.一种消失模铸造砂冷却装置,其特征在于,包括:
箱体(1),所述箱体(1)内部垂直固定有挡板(2),所述挡板(2)上表面开设有进水口(3)和出水口(4);
罐体(5),所述罐体(5)两端水平固定安装有与其内部相连通的套筒(6),所述箱体(1)和挡板(2)上表面开设有安置槽(7),两个所述套筒(6)转动安装在安置槽(7)内,所述罐体(5)上通过折页铰接有舱门(8),所述舱门(8)与罐体(5)之间密封安装;
冷却管(9),所述冷却管(9)为多根,多根所述冷却管(9)均垂直固定安装在箱体(1)内侧壁;
推板(10),所述推板(10)为多个,多个所述推板(10)均匀垂直固定安装在罐体(5)外表面;
驱动部件,所述驱动部件用于驱使套筒(6)转动。
2.根据权利要求1所述的一种消失模铸造砂冷却装置,其特征在于,所述驱动部件包括电动机(11)、第一齿轮(12)和第二齿轮(13),所述电动机(11)固定安装在箱体(1)侧面,且输出轴垂直向上,所述第一齿轮(12)固定套接在电动机(11)输出轴上,所述第二齿轮(13)固定套接在套筒(6)上,且与第一齿轮(12)啮合连接。
3.根据权利要求1所述的一种消失模铸造砂冷却装置,其特征在于,所述箱体(1)底部垂直固定有两根排水管(14),两根所述排水管(14)均与箱体(1)内部相连通,且位于挡板(2)两侧,所述箱体(1)底部通过折页铰接有箱门(34),所述箱门(34)与箱体(1)之间密封安装,所述箱门(34)尺寸大于舱门(8)。
4.根据权利要求2所述的一种消失模铸造砂冷却装置,其特征在于,所述罐体(5)内部设有搅拌部件,所述搅拌部件用于对铸造砂进行搅拌。
5.根据权利要求4所述的一种消失模铸造砂冷却装置,其特征在于,所述搅拌部件包括两根转轴(15)、多个搅拌桨(16)和第三齿轮(17),两根所述转轴(15)分别转动套设在两个套筒(6)内,多个所述搅拌桨(16)分别垂直固定安装在两根转轴(15)外圆弧面,所述第三齿轮(17)固定套接在转轴(15)的端部,且与第一齿轮(12)啮合连接,两根所述转轴(15)相互靠近的一端通过回转部件连接。
6.根据权利要求5所述的一种消失模铸造砂冷却装置,其特征在于,所述回转部件包括多根连杆(18)、套环(19)、挡圈(20)、两根齿条(21)、销轴(22)和第四齿轮(23),多根所述连杆(18)相互远离的一端均与罐体(5)内壁固定连接,所述套环(19)与多根连杆(18)相互靠近的一端固定连接,所述挡圈(20)转动套设在套环(19)内,所述销轴(22)两端均与挡圈(20)内圆弧面固定连接,所述第四齿轮(23)转动安装在销轴(22)上,两根所述齿条(21)相互远离的一端分别与两根转轴(15)相互靠近的端面固定连接,且均与第四齿轮(23)啮合连接,两根所述齿条(21)均通过滑槽互动安装在挡圈(20)内壁,所述转轴(15)远离电动机(11)的一端设有往复组件,所述往复组件包括推动部件和复位部件,所述推动部件用于驱使转轴(15)移动,所述复位部件用于驱使转轴(15)归位。
7.根据权利要求6所述的一种消失模铸造砂冷却装置,其特征在于,所述推动部件包括支架(24)、安置盘(25)、多个凸块(26)、压杆(27)和滑杆(28),所述支架(24)水平固定安装在箱体(1)侧面,所述安置盘(25)固定安装在支架(24)靠近箱体(1)的一面,多个所述凸块(26)均匀固定安装在安置盘(25)远离支架(24)的一面,所述压杆(27)水平固定在转轴(15)的端面,且远离转轴(15)圆心,所述滑杆(28)水平固定安装在压杆(27)侧面,且与压杆(27)垂直。
8.根据权利要求6所述的一种消失模铸造砂冷却装置,其特征在于,所述复位部件包括转盘(29)、压盘(30)和多根弹簧杆(31),所述转盘(29)固定套设在转轴(15)上,所述压盘(30)滑动套设在转轴(15)上,多根所述弹簧杆(31)的分别与转盘(29)和压盘(30)相互靠近的一面固定连接。
9.根据权利要求7所述的一种消失模铸造砂冷却装置,其特征在于,所述滑杆(28)上转动套设有滚筒(32),所述滚筒(32)与凸块(26)滚动接触。
10.根据权利要求8所述的一种消失模铸造砂冷却装置,其特征在于,所述转轴(15)的端面开设有呈环形的限位槽,所述压盘(30)靠近转轴(15)的端面滚动嵌设有多个小球(33),多个所述小球(33)均与限位槽滚动接触。
Priority Applications (1)
| Application Number | Priority Date | Filing Date | Title |
|---|---|---|---|
| CN202111107465.3A CN113976819B (zh) | 2021-09-22 | 2021-09-22 | 一种消失模铸造砂冷却装置 |
Applications Claiming Priority (1)
| Application Number | Priority Date | Filing Date | Title |
|---|---|---|---|
| CN202111107465.3A CN113976819B (zh) | 2021-09-22 | 2021-09-22 | 一种消失模铸造砂冷却装置 |
Publications (2)
| Publication Number | Publication Date |
|---|---|
| CN113976819A true CN113976819A (zh) | 2022-01-28 |
| CN113976819B CN113976819B (zh) | 2024-01-02 |
Family
ID=79736239
Family Applications (1)
| Application Number | Title | Priority Date | Filing Date |
|---|---|---|---|
| CN202111107465.3A Active CN113976819B (zh) | 2021-09-22 | 2021-09-22 | 一种消失模铸造砂冷却装置 |
Country Status (1)
| Country | Link |
|---|---|
| CN (1) | CN113976819B (zh) |
Citations (6)
| Publication number | Priority date | Publication date | Assignee | Title |
|---|---|---|---|---|
| US4252001A (en) * | 1977-01-21 | 1981-02-24 | Musschoot A | Method and apparatus for cooling foundry sand |
| CN208408456U (zh) * | 2018-04-21 | 2019-01-22 | 天台中台机械股份有限公司 | 一种冷却机 |
| CN210817292U (zh) * | 2019-09-29 | 2020-06-23 | 常州市程伟铸造有限公司 | 一种消失模铸造砂冷却装置 |
| CN212239097U (zh) * | 2020-03-09 | 2020-12-29 | 浙江浦江精宇铸造有限公司 | 一种消失模铸造型砂冷却装置 |
| CN213104324U (zh) * | 2020-09-09 | 2021-05-04 | 江西莫可精密铸造有限公司 | 一种消失模铸造晾砂设备 |
| CN112893771A (zh) * | 2019-11-19 | 2021-06-04 | 江门市新会区双水益联白砂厂 | 一种铸造砂型用硅砂的回转式冷却装置 |
-
2021
- 2021-09-22 CN CN202111107465.3A patent/CN113976819B/zh active Active
Patent Citations (6)
| Publication number | Priority date | Publication date | Assignee | Title |
|---|---|---|---|---|
| US4252001A (en) * | 1977-01-21 | 1981-02-24 | Musschoot A | Method and apparatus for cooling foundry sand |
| CN208408456U (zh) * | 2018-04-21 | 2019-01-22 | 天台中台机械股份有限公司 | 一种冷却机 |
| CN210817292U (zh) * | 2019-09-29 | 2020-06-23 | 常州市程伟铸造有限公司 | 一种消失模铸造砂冷却装置 |
| CN112893771A (zh) * | 2019-11-19 | 2021-06-04 | 江门市新会区双水益联白砂厂 | 一种铸造砂型用硅砂的回转式冷却装置 |
| CN212239097U (zh) * | 2020-03-09 | 2020-12-29 | 浙江浦江精宇铸造有限公司 | 一种消失模铸造型砂冷却装置 |
| CN213104324U (zh) * | 2020-09-09 | 2021-05-04 | 江西莫可精密铸造有限公司 | 一种消失模铸造晾砂设备 |
Also Published As
| Publication number | Publication date |
|---|---|
| CN113976819B (zh) | 2024-01-02 |
Similar Documents
| Publication | Publication Date | Title |
|---|---|---|
| CN113414703B (zh) | 一种不锈钢管件打磨抛光设备 | |
| CN110172677A (zh) | 用于真空镀膜的公自转式镀膜设备 | |
| CN118686683B (zh) | 一种可回收余热的柴油发电机组 | |
| CN118274600B (zh) | 一种益生菌粉体连续干燥装置 | |
| CN113329599B (zh) | 一种通讯基站智能温控设备 | |
| CN206473853U (zh) | 一种用于植物色素的提取装置 | |
| CN113976819A (zh) | 一种消失模铸造砂冷却装置 | |
| CN112675750B (zh) | 一种环保型沥青混凝土拌合装置 | |
| CN211636538U (zh) | 一种具有搅拌功能的原油降凝剂生产用聚合釜 | |
| CN218459286U (zh) | 一种表面处理线的自动搅拌装置 | |
| CN119369273A (zh) | 一种金属铸件表面抛光装置 | |
| CN216308388U (zh) | 一种真空干燥箱 | |
| CN117900967A (zh) | 一种循环冷却的磁吸固定式铸件磨削装置 | |
| CN116174714A (zh) | 一种全自动金属粉末冷压干燥一体化装置 | |
| CN109892418A (zh) | 一种茶叶成型设备 | |
| CN210024753U (zh) | 一种耐磨球的砂处理装置 | |
| CN117004812A (zh) | 一种轴承套圈加工用冷却池 | |
| CN219849128U (zh) | 一种预制品快速搅拌降温机构 | |
| CN217016295U (zh) | 一种牛肉加工用不锈钢封闭式搅拌拌料装置 | |
| CN207953523U (zh) | 一种高尔夫球杆生产用磨光装置 | |
| CN214063683U (zh) | 一种混合机传动机构 | |
| CN222733277U (zh) | 一种生物质颗粒除湿装置 | |
| CN221924639U (zh) | 一种抛光氧化铝生产用焙烧机 | |
| CN223468203U (zh) | 一种活性炭冷却回转炉 | |
| CN220879267U (zh) | 一种用于水泵壳体的喷漆装置 |
Legal Events
| Date | Code | Title | Description |
|---|---|---|---|
| PB01 | Publication | ||
| PB01 | Publication | ||
| SE01 | Entry into force of request for substantive examination | ||
| SE01 | Entry into force of request for substantive examination | ||
| GR01 | Patent grant | ||
| GR01 | Patent grant |