CN113953674A - Surface line scribing device for machining mechanical parts and using method thereof - Google Patents

Surface line scribing device for machining mechanical parts and using method thereof Download PDF

Info

Publication number
CN113953674A
CN113953674A CN202111206567.0A CN202111206567A CN113953674A CN 113953674 A CN113953674 A CN 113953674A CN 202111206567 A CN202111206567 A CN 202111206567A CN 113953674 A CN113953674 A CN 113953674A
Authority
CN
China
Prior art keywords
screw
transverse
frame
longitudinal
mechanical parts
Prior art date
Legal status (The legal status is an assumption and is not a legal conclusion. Google has not performed a legal analysis and makes no representation as to the accuracy of the status listed.)
Withdrawn
Application number
CN202111206567.0A
Other languages
Chinese (zh)
Inventor
袁方敏
张俊超
穆亚茹
郭光立
Current Assignee (The listed assignees may be inaccurate. Google has not performed a legal analysis and makes no representation or warranty as to the accuracy of the list.)
Zhengzhou University of Industrial Technology
Original Assignee
Zhengzhou University of Industrial Technology
Priority date (The priority date is an assumption and is not a legal conclusion. Google has not performed a legal analysis and makes no representation as to the accuracy of the date listed.)
Filing date
Publication date
Application filed by Zhengzhou University of Industrial Technology filed Critical Zhengzhou University of Industrial Technology
Priority to CN202111206567.0A priority Critical patent/CN113953674A/en
Publication of CN113953674A publication Critical patent/CN113953674A/en
Withdrawn legal-status Critical Current

Links

Images

Classifications

    • BPERFORMING OPERATIONS; TRANSPORTING
    • B23MACHINE TOOLS; METAL-WORKING NOT OTHERWISE PROVIDED FOR
    • B23KSOLDERING OR UNSOLDERING; WELDING; CLADDING OR PLATING BY SOLDERING OR WELDING; CUTTING BY APPLYING HEAT LOCALLY, e.g. FLAME CUTTING; WORKING BY LASER BEAM
    • B23K26/00Working by laser beam, e.g. welding, cutting or boring
    • B23K26/36Removing material
    • B23K26/362Laser etching
    • BPERFORMING OPERATIONS; TRANSPORTING
    • B23MACHINE TOOLS; METAL-WORKING NOT OTHERWISE PROVIDED FOR
    • B23KSOLDERING OR UNSOLDERING; WELDING; CLADDING OR PLATING BY SOLDERING OR WELDING; CUTTING BY APPLYING HEAT LOCALLY, e.g. FLAME CUTTING; WORKING BY LASER BEAM
    • B23K26/00Working by laser beam, e.g. welding, cutting or boring
    • B23K26/08Devices involving relative movement between laser beam and workpiece
    • B23K26/0823Devices involving rotation of the workpiece
    • BPERFORMING OPERATIONS; TRANSPORTING
    • B23MACHINE TOOLS; METAL-WORKING NOT OTHERWISE PROVIDED FOR
    • B23KSOLDERING OR UNSOLDERING; WELDING; CLADDING OR PLATING BY SOLDERING OR WELDING; CUTTING BY APPLYING HEAT LOCALLY, e.g. FLAME CUTTING; WORKING BY LASER BEAM
    • B23K26/00Working by laser beam, e.g. welding, cutting or boring
    • B23K26/08Devices involving relative movement between laser beam and workpiece
    • B23K26/0869Devices involving movement of the laser head in at least one axial direction
    • B23K26/0876Devices involving movement of the laser head in at least one axial direction in at least two axial directions
    • B23K26/0884Devices involving movement of the laser head in at least one axial direction in at least two axial directions in at least in three axial directions, e.g. manipulators, robots
    • BPERFORMING OPERATIONS; TRANSPORTING
    • B23MACHINE TOOLS; METAL-WORKING NOT OTHERWISE PROVIDED FOR
    • B23KSOLDERING OR UNSOLDERING; WELDING; CLADDING OR PLATING BY SOLDERING OR WELDING; CUTTING BY APPLYING HEAT LOCALLY, e.g. FLAME CUTTING; WORKING BY LASER BEAM
    • B23K26/00Working by laser beam, e.g. welding, cutting or boring
    • B23K26/70Auxiliary operations or equipment
    • B23K26/702Auxiliary equipment
    • BPERFORMING OPERATIONS; TRANSPORTING
    • B23MACHINE TOOLS; METAL-WORKING NOT OTHERWISE PROVIDED FOR
    • B23KSOLDERING OR UNSOLDERING; WELDING; CLADDING OR PLATING BY SOLDERING OR WELDING; CUTTING BY APPLYING HEAT LOCALLY, e.g. FLAME CUTTING; WORKING BY LASER BEAM
    • B23K37/00Auxiliary devices or processes, not specially adapted for a procedure covered by only one of the other main groups of this subclass
    • B23K37/04Auxiliary devices or processes, not specially adapted for a procedure covered by only one of the other main groups of this subclass for holding or positioning work
    • B23K37/053Auxiliary devices or processes, not specially adapted for a procedure covered by only one of the other main groups of this subclass for holding or positioning work aligning cylindrical work; Clamping devices therefor
    • BPERFORMING OPERATIONS; TRANSPORTING
    • B25HAND TOOLS; PORTABLE POWER-DRIVEN TOOLS; MANIPULATORS
    • B25HWORKSHOP EQUIPMENT, e.g. FOR MARKING-OUT WORK; STORAGE MEANS FOR WORKSHOPS
    • B25H7/00Marking-out or setting-out work
    • B25H7/04Devices, e.g. scribers, for marking

Landscapes

  • Engineering & Computer Science (AREA)
  • Physics & Mathematics (AREA)
  • Optics & Photonics (AREA)
  • Mechanical Engineering (AREA)
  • Plasma & Fusion (AREA)
  • Robotics (AREA)
  • Laser Beam Processing (AREA)

Abstract

本发明公开了一种机械零部件加工用表面刻线装置及其使用方法,包括支撑机构,所述支撑机构上端设置有用于对激光头进行位置移动的移动调整机构,所述移动调整机构下侧设置有用于对轴类零件进行固定支撑的旋转固定机构,所述旋转固定机构与所述支撑机构连接,所述移动调整机构与所述支撑机构连接。本发明通过支撑机构、旋转固定机构分别对板材零件、轴类零件进行支撑限位,使移动调整机构的纵向移动组件、横向移动组件、上下移动组件对激光头进行位置移动,使激光头对板材或轴类零件进行快速刻线,提高了对加工零件表面刻线的效率和质量,降低了人工劳动强度,同时提高了对不同类型零件刻线的适用性。

Figure 202111206567

The invention discloses a surface marking device for machining mechanical parts and a method for using the same, comprising a support mechanism, the upper end of the support mechanism is provided with a movement adjustment mechanism for moving the position of a laser head, and the lower side of the movement adjustment mechanism A rotation fixing mechanism for fixedly supporting the shaft parts is provided, the rotation fixing mechanism is connected with the support mechanism, and the movement adjustment mechanism is connected with the support mechanism. In the present invention, the plate parts and shaft parts are supported and limited by the support mechanism and the rotating fixing mechanism, respectively, so that the longitudinal moving component, the horizontal moving component and the up-down moving component of the moving adjustment mechanism can move the position of the laser head, so that the laser head can move the plate to the plate. Or shaft parts can be quickly engraved, which improves the efficiency and quality of engraving on the surface of processed parts, reduces labor intensity, and improves the applicability of engraving on different types of parts.

Figure 202111206567

Description

Surface line scribing device for machining mechanical parts and using method thereof
Technical Field
The invention relates to the field of machining, in particular to a surface line scribing device for machining mechanical parts and a using method thereof.
Background
In the machining process, according to the pattern and the technical requirements, a scribing tool is used to draw a machining boundary line on the blank or the semi-finished product, or an operation process of drawing a point or a line serving as a reference is called scribing. The method is an important process in machining, and is convenient for confirming machining allowance, finding unqualified blanks in time, clamping and positioning and the like. The scribing is divided into a plane scribing and a three-dimensional scribing. At present, most of marking lines are manually used for reference determination, and then are operated by using tools, so that the operation efficiency is low, the labor intensity of workers is high, and the operation inconvenience is increased.
Disclosure of Invention
The present invention is directed to a surface scribing apparatus for machining a machine component and a method of using the same to solve the above problems.
The invention realizes the purpose through the following technical scheme:
a surface scribing device for machining mechanical parts comprises a supporting mechanism, wherein a movement adjusting mechanism used for moving a laser head in position is arranged at the upper end of the supporting mechanism, a rotation fixing mechanism used for fixedly supporting shaft parts is arranged at the lower side of the movement adjusting mechanism, the rotation fixing mechanism is connected with the supporting mechanism, and the movement adjusting mechanism is connected with the supporting mechanism;
the support mechanism comprises a frame body, a workbench is arranged at the upper end of the frame body, and T-shaped grooves are formed in the workbench at intervals in the vertical and horizontal directions; the moving adjusting mechanism comprises a longitudinal moving assembly arranged on the upper side of the workbench, a transverse moving assembly is arranged at the upper end of the longitudinal moving assembly, an up-down moving assembly is arranged at the front end of the transverse moving assembly, the longitudinal moving assembly comprises a cross frame stretching over the workbench, a longitudinal lead screw and a guide pillar are respectively arranged on two sides of the lower end of the cross frame, a first servo motor is arranged at the rear end of the longitudinal lead screw, the transverse moving assembly comprises a transverse lead screw arranged on the cross frame, a transverse slide rail is arranged on the front wall of the cross frame, transverse slide seats are arranged on the transverse lead screw and the transverse slide rail, and one end of the transverse lead screw is connected with a second servo motor;
the rotary fixing mechanism comprises two supports arranged on the upper side of the workbench, wherein a screw is arranged on one of the supports, a hand wheel is arranged at one end of the screw, a hollow shaft is arranged on the other support in a penetrating mode, a chuck is arranged at one end of the screw and close to the hollow shaft, a large gear is arranged at the other end of the hollow shaft, a small gear is meshed with the rear side of the large gear, and the small gear is installed on an output shaft of a fourth servo motor.
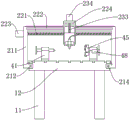
Further setting: the vertical sliding rail is arranged on the front wall of the transverse sliding seat, a sliding frame is arranged on the vertical sliding rail in a sliding mode, a vertical lead screw is arranged on the sliding frame in a penetrating mode, and the upper end of the vertical lead screw is connected with a third servo motor.
So set up, through third servo motor drives vertical lead screw rotates, makes vertical lead screw drives the carriage reciprocates, is convenient for right the height of laser head is adjusted.
Further setting: the up-down moving assembly comprises a vertical sliding rail arranged on the front wall of the transverse sliding seat, a sliding frame is arranged on the vertical sliding rail in a sliding mode, and the upper end of the sliding frame is connected with an electric telescopic rod.
So set up, through electric telescopic handle's flexible drive the carriage reciprocates, is convenient for right the height of laser head is adjusted.
Further setting: the horizontal rack up end is provided with horizontal scale, be provided with vertical scale on the workstation lateral wall, horizontal slide on the horizontal rack with horizontal scale vertical scale correspondence position all is provided with the index mark.
So set up, be convenient for through horizontal scale vertical scale is right horizontal slide the removal interval of crossbearer is observed and is confirmed.
Further setting: the workstation both sides wall is provided with the recess, the crossbearer with workstation sliding connection.
According to the arrangement, the lower end of the transverse frame extends into the inner side of the workbench, and the transverse frame is supported through the longitudinal screw rod and the guide pillar.
Further setting: the longitudinal screw rod is in threaded connection with the transverse frame, and the transverse frame is in sliding connection with the guide pillar.
So set up, make the rotation of longitudinal screw drive the crossbearer and carry out the back-and-forth movement under the guide pillar supports.
Further setting: the transverse screw rod is in threaded connection with the transverse sliding seat, and the transverse screw rod is in rotating connection with the transverse frame.
So set up, make the rotation of horizontal lead screw drive horizontal slide carries out both sides position and removes.
Further setting: and one end of the screw rod, which is far away from the hand wheel, is provided with a conical head, and the screw rod is in threaded connection with the support.
So set up, make the screw rod is in under the rotation of hand wheel, it is relative chuck removes, supports clamping shaft class part tip, improves fixed stability.
Further setting: the hollow shaft is rotatably connected with the support, and the screw rod and the axis of the hollow shaft are positioned on the same horizontal line.
So set up, the axle type part that makes the centre gripping is in the horizontality, guarantees the groove quality on axle type part surface.
A use method of a surface scribing device for machining mechanical parts comprises the following steps:
a. placing a scribed line plate on a workbench, or installing and fixing a support of a rotary fixing mechanism on the workbench, clamping one end of the shaft part through a chuck, and rotating a hand wheel at the other end of the shaft part to enable the end of a screw rod to support the axis;
b. the longitudinal screw of the longitudinal moving assembly rotates to enable the transverse frame support to be integrally adjusted in position forwards and backwards, and meanwhile, the transverse screw of the transverse moving assembly rotates to enable the transverse sliding seat to transversely move under the support of the transverse sliding rail, so that the laser head is adjusted to a position needing scribing;
c. vertical lead screw through reciprocating assembly rotates or electric telescopic handle's flexible messenger laser head moves down, keeps the take the altitude with panel, then carries out the groove to the position of need groove to mark the shift position interval through horizontal scale, vertical scale, or drive pinion and gear wheel rotation through fourth servo motor's rotation, make the hollow shaft drive fixed axle type part rotation on the chuck, carry out the groove to axle type part surface.
Compared with the prior art, the invention has the following beneficial effects:
the plate parts and the shaft parts are supported and limited by the supporting mechanism and the rotary fixing mechanism respectively, the longitudinal moving assembly, the transverse moving assembly and the up-down moving assembly of the moving adjusting mechanism move the laser head to move, the laser head performs rapid scribing on the plate parts or the shaft parts, the efficiency and the quality of scribing the surfaces of the machined parts are improved, the labor intensity of workers is reduced, and meanwhile, the applicability to scribing of different types of parts is improved.
Drawings
In order to more clearly illustrate the embodiments of the present invention or the technical solutions in the prior art, the drawings used in the description of the embodiments or the prior art will be briefly described below, and it is obvious that the drawings in the following description are only some embodiments of the present invention, and for those skilled in the art, other drawings can be obtained according to these drawings without creative efforts.
FIG. 1 is a first schematic structural view of an embodiment 1 of a surface scribing apparatus for machining a mechanical part according to the present invention;
FIG. 2 is a second schematic structural view of a surface scribing apparatus for machining a mechanical part according to embodiment 1 of the present invention;
FIG. 3 is a schematic front view of a surface scribing apparatus for machining mechanical parts according to embodiment 1 of the present invention;
FIG. 4 is a schematic top view showing the structure of a surface scribing apparatus for machining a mechanical part according to embodiment 1 of the present invention;
FIG. 5 is a partial schematic structural view of a movement adjusting mechanism of the surface scribing apparatus for machining a mechanical part according to embodiment 1 of the present invention;
FIG. 6 is a schematic structural diagram of a rotation fixing mechanism of a surface scribing device for machining mechanical parts according to the present invention;
FIG. 7 is a schematic structural view of example 2 of a surface scribing apparatus for machining a mechanical part according to the present invention;
fig. 8 is a partial schematic structural view of a movement adjusting mechanism of a surface scribing apparatus for machining a mechanical part according to embodiment 2 of the present invention.
The reference numerals are explained below:
1. a support mechanism; 11. a frame body; 12. a work table; 13. a T-shaped groove; 2. a movement adjustment mechanism; 21. a longitudinal movement assembly; 211. a cross frame; 212. a longitudinal lead screw; 213. a first servo motor; 214. a guide post; 22. a lateral movement assembly; 221. a transverse lead screw; 222. a transverse slide rail; 223. a second servo motor; 224. a transverse slide carriage; 23. an up-and-down moving assembly; 231. a vertical slide rail; 232. a carriage; 233. a vertical lead screw; 234. a third servo motor; 235. an electric telescopic rod; 3. a laser head; 4. a rotation fixing mechanism; 41. a support; 42. a screw; 43. a hand wheel; 44. a hollow shaft; 45. a chuck; 46. a bull gear; 47. a pinion gear; 48. a fourth servo motor; 5. a transverse graduated scale; 6. a longitudinal scale.
Detailed Description
In the description of the present invention, it is to be understood that the terms "center", "longitudinal", "lateral", "up", "down", "front", "back", "left", "right", "vertical", "horizontal", "top", "bottom", "inner", "outer", and the like, indicate orientations or positional relationships based on those shown in the drawings, and are used only for convenience in describing the present invention and for simplicity in description, and do not indicate or imply that the referenced devices or elements must have a particular orientation, be constructed and operated in a particular orientation, and thus, are not to be construed as limiting the present invention. Furthermore, the terms "first", "second", etc. are used for descriptive purposes only and are not to be construed as indicating or implying relative importance or implicitly indicating the number of technical features indicated. Thus, a feature defined as "first," "second," etc. may explicitly or implicitly include one or more of that feature. In the description of the present invention, "a plurality" means two or more unless otherwise specified.
In the description of the present invention, it should be noted that, unless otherwise explicitly specified or limited, the terms "mounted," "connected," and "connected" are to be construed broadly, e.g., as meaning either a fixed connection, a removable connection, or an integral connection; can be mechanically or electrically connected; they may be connected directly or indirectly through intervening media, or they may be interconnected between two elements. The specific meaning of the above terms in the present invention can be understood by those of ordinary skill in the art through specific situations.
The invention will be further described with reference to the accompanying drawings in which:
example 1
As shown in fig. 1-6, a surface scribing device for machining mechanical parts includes a supporting mechanism 1, a moving adjusting mechanism 2 for moving a laser head 3 is disposed at an upper end of the supporting mechanism 1, a rotating fixing mechanism 4 for fixedly supporting shaft parts is disposed at a lower side of the moving adjusting mechanism 2, the rotating fixing mechanism 4 is connected with the supporting mechanism 1, and the moving adjusting mechanism 2 is connected with the supporting mechanism 1;
the supporting mechanism 1 comprises a frame body 11, a workbench 12 is arranged at the upper end of the frame body 11, and T-shaped grooves 13 are formed in the workbench 12 at intervals in the transverse and vertical directions, so that the support 41 can be conveniently installed; the movement adjusting mechanism 2 comprises a longitudinal movement component 21 arranged on the upper side of the workbench 12, a transverse movement component 22 is arranged at the upper end of the longitudinal movement component 21, an up-down movement component 23 is arranged at the front end of the transverse movement component 22, the longitudinal movement component 21 comprises a transverse frame 211 stretching over the workbench 12, a longitudinal lead screw 212 and a guide post 214 are respectively arranged on two sides of the lower end of the transverse frame 211, a first servo motor 213 is arranged at the rear end of the longitudinal lead screw 212 and provides rotation power for the longitudinal lead screw 212, the transverse movement component 22 comprises a transverse lead screw 221 arranged on the transverse frame 211, a transverse slide rail 222 is arranged on the front wall of the transverse frame 211 and movably supports the transverse slide 224, a transverse slide 224 is arranged on the transverse lead screw 221 and the transverse slide rail 222, and one end of the transverse lead screw 221 is connected with a second servo motor 223;
the rotary fixing mechanism 4 comprises two supports 41 arranged on the upper side of the workbench 12, a screw 42 is arranged on one support 41, a hand wheel 43 is arranged at one end of the screw 42, a hollow shaft 44 penetrates through the other support 41, the shaft parts can be conveniently penetrated, the slender shaft parts can be conveniently fixed and limited, a chuck 45 is arranged at one end, close to the screw 42, of the hollow shaft 44, a large gear 46 is arranged at the other end of the hollow shaft 44, a small gear 47 is meshed with the rear side of the large gear 46, and the small gear 47 is arranged on an output shaft of a fourth servo motor 48.
Preferably: the up-down moving assembly 23 comprises a vertical slide rail 231 arranged on the front wall of the transverse slide seat 224, a sliding frame 232 is arranged on the vertical slide rail 231 in a sliding manner, a vertical lead screw 233 penetrates through the sliding frame 232, the upper end of the vertical lead screw 233 is connected with a third servo motor 234, the vertical lead screw 233 is driven by the third servo motor 234 to rotate, so that the vertical lead screw 233 drives the sliding frame 232 to move up and down, and the height of the laser head 3 is convenient to adjust; the upper end face of the transverse frame 211 is provided with a transverse graduated scale 5, the side wall of the workbench 12 is provided with a longitudinal graduated scale 6, and the transverse sliding seat 224 and the transverse frame 211 are provided with indicating marks at positions corresponding to the transverse graduated scale 5 and the longitudinal graduated scale 6, so that the moving distance between the transverse sliding seat 224 and the transverse frame 211 can be observed and confirmed conveniently through the transverse graduated scale 5 and the longitudinal graduated scale 6; grooves are formed in two side walls of the workbench 12, the transverse frame 211 is connected with the workbench 12 in a sliding mode, the lower end of the transverse frame 211 extends into the inner side of the workbench 12, and the transverse frame 211 is supported through a longitudinal screw rod 212 and a guide pillar 214; the longitudinal screw 212 is in threaded connection with the cross frame 211, and the cross frame 211 is in sliding connection with the guide post 214, so that the rotation of the longitudinal screw 212 drives the cross frame 211 to move back and forth under the support of the guide post 214; the transverse lead screw 221 is in threaded connection with the transverse sliding base 224, and the transverse lead screw 221 is in rotary connection with the transverse frame 211, so that the transverse lead screw 221 rotates to drive the transverse sliding base 224 to move at two sides; a conical head is arranged at one end of the screw rod 42, which is far away from the hand wheel 43, the screw rod 42 is in threaded connection with the support 41, so that the screw rod 42 moves relative to the chuck 45 under the rotation of the hand wheel 43, the end part of the clamping shaft part is supported, and the fixing stability is improved; the hollow shaft 44 is rotatably connected with the support 41, and the axes of the screw rod 42 and the hollow shaft 44 are on the same horizontal line, so that the clamped shaft parts are in a horizontal state, and the scribing quality of the surfaces of the shaft parts is ensured.
Example 2
As shown in fig. 6-8, a surface scribing device for machining mechanical parts includes a supporting mechanism 1, a moving adjusting mechanism 2 for moving a laser head 3 is disposed at an upper end of the supporting mechanism 1, a rotating fixing mechanism 4 for fixedly supporting shaft parts is disposed at a lower side of the moving adjusting mechanism 2, the rotating fixing mechanism 4 is connected with the supporting mechanism 1, and the moving adjusting mechanism 2 is connected with the supporting mechanism 1;
the supporting mechanism 1 comprises a frame body 11, a workbench 12 is arranged at the upper end of the frame body 11, and T-shaped grooves 13 are formed in the workbench 12 at intervals in the transverse and vertical directions, so that the support 41 can be conveniently installed; the movement adjusting mechanism 2 comprises a longitudinal movement component 21 arranged on the upper side of the workbench 12, a transverse movement component 22 is arranged at the upper end of the longitudinal movement component 21, an up-down movement component 23 is arranged at the front end of the transverse movement component 22, the longitudinal movement component 21 comprises a transverse frame 211 stretching over the workbench 12, a longitudinal lead screw 212 and a guide post 214 are respectively arranged on two sides of the lower end of the transverse frame 211, a first servo motor 213 is arranged at the rear end of the longitudinal lead screw 212 and provides rotation power for the longitudinal lead screw 212, the transverse movement component 22 comprises a transverse lead screw 221 arranged on the transverse frame 211, a transverse slide rail 222 is arranged on the front wall of the transverse frame 211 and movably supports the transverse slide 224, a transverse slide 224 is arranged on the transverse lead screw 221 and the transverse slide rail 222, and one end of the transverse lead screw 221 is connected with a second servo motor 223;
the rotary fixing mechanism 4 comprises two supports 41 arranged on the upper side of the workbench 12, a screw 42 is arranged on one support 41, a hand wheel 43 is arranged at one end of the screw 42, a hollow shaft 44 penetrates through the other support 41, the shaft parts can be conveniently penetrated, the slender shaft parts can be conveniently fixed and limited, a chuck 45 is arranged at one end, close to the screw 42, of the hollow shaft 44, a large gear 46 is arranged at the other end of the hollow shaft 44, a small gear 47 is meshed with the rear side of the large gear 46, and the small gear 47 is arranged on an output shaft of a fourth servo motor 48.
Preferably: the up-down moving assembly 23 comprises a vertical slide rail 231 arranged on the front wall of the transverse slide seat 224, a sliding frame 232 is arranged on the vertical slide rail 231 in a sliding manner, an electric telescopic rod 235 is connected to the upper end of the sliding frame 232, and the sliding frame 232 is driven to move up and down through the expansion and contraction of the electric telescopic rod 235, so that the height of the laser head 3 can be conveniently adjusted; the upper end face of the transverse frame 211 is provided with a transverse graduated scale 5, the side wall of the workbench 12 is provided with a longitudinal graduated scale 6, and the transverse sliding seat 224 and the transverse frame 211 are provided with indicating marks at positions corresponding to the transverse graduated scale 5 and the longitudinal graduated scale 6, so that the moving distance between the transverse sliding seat 224 and the transverse frame 211 can be observed and confirmed conveniently through the transverse graduated scale 5 and the longitudinal graduated scale 6; grooves are formed in two side walls of the workbench 12, the transverse frame 211 is connected with the workbench 12 in a sliding mode, the lower end of the transverse frame 211 extends into the inner side of the workbench 12, and the transverse frame 211 is supported through a longitudinal screw rod 212 and a guide pillar 214; the longitudinal screw 212 is in threaded connection with the cross frame 211, and the cross frame 211 is in sliding connection with the guide post 214, so that the rotation of the longitudinal screw 212 drives the cross frame 211 to move back and forth under the support of the guide post 214; the transverse lead screw 221 is in threaded connection with the transverse sliding base 224, and the transverse lead screw 221 is in rotary connection with the transverse frame 211, so that the transverse lead screw 221 rotates to drive the transverse sliding base 224 to move at two sides; a conical head is arranged at one end of the screw rod 42, which is far away from the hand wheel 43, the screw rod 42 is in threaded connection with the support 41, so that the screw rod 42 moves relative to the chuck 45 under the rotation of the hand wheel 43, the end part of the clamping shaft part is supported, and the fixing stability is improved; the hollow shaft 44 is rotatably connected with the support 41, and the axes of the screw rod 42 and the hollow shaft 44 are on the same horizontal line, so that the clamped shaft parts are in a horizontal state, and the scribing quality of the surfaces of the shaft parts is ensured.
A use method of a surface scribing device for machining mechanical parts comprises the following steps:
a. placing a scribed line plate on the workbench 12, or installing and fixing a support 41 of the rotary fixing mechanism 4 on the workbench 12, clamping one end of the shaft part through a chuck 45, and rotating the hand wheel 43 at the other end to enable the end part of the screw rod 42 to support the shaft;
b. the longitudinal screw 212 of the longitudinal moving assembly 21 rotates to enable the transverse frame 211 to support the whole body to perform position adjustment back and forth, and meanwhile, the transverse screw 221 of the transverse moving assembly 22 rotates to enable the transverse sliding seat 224 to perform transverse movement under the support of the transverse sliding rail 222, so that the laser head 3 is adjusted to a position needing scribing;
c. the laser head 3 is moved downwards by rotating the vertical screw 233 of the up-and-down moving assembly 23 or stretching the electric telescopic rod 235, a certain height is kept between the laser head and the plate, then the position to be scribed is scribed, the moving position interval is marked by the transverse graduated scale 5 and the longitudinal graduated scale 6, or the rotation of the fourth servo motor 48 drives the pinion 47 and the gearwheel 46 to rotate, so that the hollow shaft 44 drives the shaft part fixed on the chuck 45 to rotate, and the surface of the shaft part is scribed.
The foregoing illustrates and describes the principles, general features, and advantages of the present invention. It will be understood by those skilled in the art that the present invention is not limited to the embodiments described above, which are described in the specification and illustrated only to illustrate the principle of the present invention, but that various changes and modifications may be made therein without departing from the spirit and scope of the present invention, which fall within the scope of the invention as claimed.

Claims (10)

1.一种机械零部件加工用表面刻线装置,其特征在于:包括支撑机构(1),所述支撑机构(1)上端设置有用于对激光头(3)进行位置移动的移动调整机构(2),所述移动调整机构(2)下侧设置有用于对轴类零件进行固定支撑的旋转固定机构(4),所述旋转固定机构(4)与所述支撑机构(1)连接,所述移动调整机构(2)与所述支撑机构(1)连接;1. A surface marking device for machining mechanical parts, characterized in that it comprises a support mechanism (1), and the upper end of the support mechanism (1) is provided with a movement adjustment mechanism ( 2), the lower side of the movement adjustment mechanism (2) is provided with a rotation fixing mechanism (4) for fixedly supporting the shaft parts, and the rotation fixing mechanism (4) is connected with the supporting mechanism (1), so The movement adjustment mechanism (2) is connected with the support mechanism (1); 所述支撑机构(1)包括架体(11),所述架体(11)上端设置有工作台(12),所述工作台(12)上横竖间隔设置有T型槽(13);所述移动调整机构(2)包括设置在所述工作台(12)上侧的纵向移动组件(21),所述纵向移动组件(21)上端设置有横向移动组件(22),所述横向移动组件(22)前端设置有上下移动组件(23),所述纵向移动组件(21)包括横跨在所述工作台(12)上的横架(211),所述横架(211)下端两侧分别设置有纵向丝杠(212)、导柱(214),所述纵向丝杠(212)后端设置有第一伺服电机(213),所述横向移动组件(22)包括设置在所述横架(211)上的横向丝杠(221),所述横架(211)前壁上设置有横向滑轨(222),所述横向丝杠(221)、所述横向滑轨(222)上设置有横向滑座(224),所述横向丝杠(221)一端连接有第二伺服电机(223);The support mechanism (1) comprises a frame body (11), a workbench (12) is provided on the upper end of the frame body (11), and T-shaped grooves (13) are arranged on the workbench (12) at horizontal and vertical intervals; The movement adjustment mechanism (2) includes a longitudinal movement assembly (21) disposed on the upper side of the worktable (12), and a lateral movement assembly (22) is disposed at the upper end of the longitudinal movement assembly (21). (22) The front end is provided with an up and down moving assembly (23), and the longitudinal moving assembly (21) includes a cross frame (211) spanning the worktable (12), and two sides of the lower end of the cross frame (211) A longitudinal screw (212) and a guide post (214) are respectively provided, the rear end of the longitudinal screw (212) is provided with a first servo motor (213), and the lateral movement assembly (22) includes a The transverse screw (221) on the frame (211), the front wall of the transverse frame (211) is provided with a transverse sliding rail (222), the transverse screw (221), the transverse sliding rail (222) A transverse sliding seat (224) is provided, and one end of the transverse screw (221) is connected with a second servo motor (223); 所述旋转固定机构(4)包括设置在所述工作台(12)上侧的两处支座(41),其中一处所述支座(41)上设置有螺杆(42),所述螺杆(42)一端设置有手轮(43),另一处所述支座(41)上穿设有空心轴(44),所述空心轴(44)靠近所述螺杆(42)一端设置有卡盘(45),所述空心轴(44)另一端设置有大齿轮(46),所述大齿轮(46)后侧啮合有小齿轮(47),所述小齿轮(47)安装在第四伺服电机(48)的输出轴上。The rotation fixing mechanism (4) comprises two supports (41) arranged on the upper side of the worktable (12), wherein one of the supports (41) is provided with a screw (42), the screw (42) A hand wheel (43) is provided at one end, and a hollow shaft (44) is pierced through the support (41) at the other place. Disc (45), the other end of the hollow shaft (44) is provided with a large gear (46), the rear side of the large gear (46) is meshed with a pinion (47), and the pinion (47) is installed on the fourth on the output shaft of the servo motor (48). 2.根据权利要求1所述的一种机械零部件加工用表面刻线装置,其特征在于:所述上下移动组件(23)包括设置在所述横向滑座(224)前壁上的竖直滑轨(231),所述竖直滑轨(231)上滑动设置有滑动架(232),所述滑动架(232)上穿设有竖直丝杠(233),所述竖直丝杠(233)上端连接有第三伺服电机(234)。2. A surface marking device for machining mechanical parts according to claim 1, characterized in that: the up-and-down moving assembly (23) comprises a vertical sliding seat (224) disposed on the front wall of the lateral slide (224). A sliding rail (231), a sliding frame (232) is slidably arranged on the vertical sliding rail (231), and a vertical screw (233) is threaded on the sliding frame (232), and the vertical screw The upper end of (233) is connected with a third servo motor (234). 3.根据权利要求1所述的一种机械零部件加工用表面刻线装置,其特征在于:所述上下移动组件(23)包括设置在所述横向滑座(224)前壁上的竖直滑轨(231),所述竖直滑轨(231)上滑动设置有滑动架(232),所述滑动架(232)上端连接有电动伸缩杆(235)。3. A surface marking device for machining mechanical parts according to claim 1, characterized in that: the up-and-down moving assembly (23) comprises a vertical sliding seat (224) disposed on the front wall of the lateral slide (224). A sliding rail (231), a sliding frame (232) is slidably arranged on the vertical sliding rail (231), and an electric telescopic rod (235) is connected to the upper end of the sliding frame (232). 4.根据权利要求1所述的一种机械零部件加工用表面刻线装置,其特征在于:所述横架(211)上端面设置有横向刻度尺(5),所述工作台(12)侧壁上设置有纵向刻度尺(6),所述横向滑座(224)、所述横架(211)上与所述横向刻度尺(5)、所述纵向刻度尺(6)对应位置均设置有指示标。4. A surface marking device for machining mechanical parts according to claim 1, characterized in that: the upper end surface of the horizontal frame (211) is provided with a horizontal scale (5), and the workbench (12) A longitudinal scale (6) is provided on the side wall, and the positions corresponding to the lateral scale (5) and the longitudinal scale (6) on the lateral slide (224) and the horizontal frame (211) are all in the same position. Set with indicators. 5.根据权利要求1所述的一种机械零部件加工用表面刻线装置,其特征在于:所述工作台(12)两侧壁设置有凹槽,所述横架(211)与所述工作台(12)滑动连接。5. A surface marking device for machining mechanical parts according to claim 1, characterized in that: grooves are provided on both side walls of the worktable (12), and the horizontal frame (211) is connected to the The working table (12) is slidingly connected. 6.根据权利要求5所述的一种机械零部件加工用表面刻线装置,其特征在于:所述纵向丝杠(212)与所述横架(211)螺纹连接,所述横架(211)与所述导柱(214)滑动连接。6 . The surface marking device for machining mechanical parts according to claim 5 , wherein the longitudinal screw ( 212 ) is threadedly connected to the horizontal frame ( 211 ), and the horizontal frame ( 211 ) is threaded. 7 . ) is slidably connected to the guide post (214). 7.根据权利要求1所述的一种机械零部件加工用表面刻线装置,其特征在于:所述横向丝杠(221)与所述横向滑座(224)螺纹连接,所述横向丝杠(221)与所述横架(211)转动连接。7. A surface marking device for machining mechanical parts according to claim 1, characterized in that: the transverse screw (221) is threadedly connected to the transverse sliding seat (224), and the transverse screw (224) is threadedly connected. (221) is rotatably connected with the horizontal frame (211). 8.根据权利要求1所述的一种机械零部件加工用表面刻线装置,其特征在于:所述螺杆(42)远离所述手轮(43)一端设置有锥形头,所述螺杆(42)与所述支座(41)螺纹连接。8. A surface marking device for machining mechanical parts according to claim 1, characterized in that: a conical head is provided at one end of the screw (42) away from the handwheel (43), and the screw (42) is provided with a conical head at one end. 42) threadedly connected with the support (41). 9.根据权利要求1所述的一种机械零部件加工用表面刻线装置,其特征在于:所述空心轴(44)与所述支座(41)转动连接,所述螺杆(42)与所述空心轴(44)轴心处于同一水平线上。9. A surface marking device for machining mechanical parts according to claim 1, characterized in that: the hollow shaft (44) is rotatably connected to the support (41), and the screw (42) is connected to the The axis of the hollow shaft (44) is on the same horizontal line. 10.一种机械零部件加工用表面刻线装置的使用方法,其特征在于:包括以下几个步骤:10. A method of using a surface marking device for machining mechanical parts, characterized in that it comprises the following steps: a、将刻线板材放置在工作台(12)上,或将旋转固定机构(4)的支座(41)安装固定在工作台(12)上,将轴类零件一端通过卡盘(45)装夹,另一端通过转动手轮(43),使螺杆(42)端部对轴心支撑;a. Place the marking plate on the workbench (12), or install and fix the support (41) of the rotary fixing mechanism (4) on the workbench (12), and pass one end of the shaft part through the chuck (45) Clamping, the other end of the screw (42) is supported by the shaft center by turning the hand wheel (43); b、通过纵向移动组件(21)的纵向丝杠(212)转动,使横架(211)支撑整体前后进行位置调整,同时通过横向移动组件(22)的横向丝杠(221)转动,使横向滑座(224)在横向滑轨(222)支撑下进行横向移动,使激光头(3)调整到需要刻线位置;b. Through the rotation of the longitudinal screw (212) of the longitudinal moving assembly (21), the horizontal frame (211) supports the entire front and rear for position adjustment, and at the same time, the lateral screw (221) of the lateral moving assembly (22) is rotated to make the horizontal The sliding seat (224) moves laterally under the support of the lateral sliding rail (222), so that the laser head (3) is adjusted to the position where the line needs to be marked; c、通过上下移动组件(23)的竖直丝杠(233)转动或电动伸缩杆(235)的伸缩使激光头(3)向下移动,与板材保持一定高度,然后对需刻线位置进行刻线,并通过横向刻度尺(5)、纵向刻度尺(6)对移动位置间距进行标记,或通过第四伺服电机(48)的转动带动小齿轮(47)与大齿轮(46)转动,使空心轴(44)带动卡盘(45)上固定的轴类零件旋转,对轴类零件表面进行刻线。c. The laser head (3) is moved down by the rotation of the vertical screw (233) of the up-and-down moving assembly (23) or the expansion and contraction of the electric telescopic rod (235), and the laser head (3) is kept at a certain height with the plate, and then the marking position needs to be marked. Mark the line, and mark the distance between the moving positions through the horizontal scale (5) and the vertical scale (6), or drive the pinion (47) and the large gear (46) to rotate through the rotation of the fourth servo motor (48), The hollow shaft (44) drives the shaft parts fixed on the chuck (45) to rotate, and marks the surface of the shaft parts.
CN202111206567.0A 2021-10-17 2021-10-17 Surface line scribing device for machining mechanical parts and using method thereof Withdrawn CN113953674A (en)

Priority Applications (1)

Application Number Priority Date Filing Date Title
CN202111206567.0A CN113953674A (en) 2021-10-17 2021-10-17 Surface line scribing device for machining mechanical parts and using method thereof

Applications Claiming Priority (1)

Application Number Priority Date Filing Date Title
CN202111206567.0A CN113953674A (en) 2021-10-17 2021-10-17 Surface line scribing device for machining mechanical parts and using method thereof

Publications (1)

Publication Number Publication Date
CN113953674A true CN113953674A (en) 2022-01-21

Family

ID=79464817

Family Applications (1)

Application Number Title Priority Date Filing Date
CN202111206567.0A Withdrawn CN113953674A (en) 2021-10-17 2021-10-17 Surface line scribing device for machining mechanical parts and using method thereof

Country Status (1)

Country Link
CN (1) CN113953674A (en)

Cited By (2)

* Cited by examiner, † Cited by third party
Publication number Priority date Publication date Assignee Title
CN114346572A (en) * 2022-01-27 2022-04-15 方盛车桥(合肥)有限公司 A pneumatic welding jig
CN115740766A (en) * 2022-12-10 2023-03-07 湖北省轻工业科学研究设计院有限公司 Auxiliary processing device for laser marking

Cited By (2)

* Cited by examiner, † Cited by third party
Publication number Priority date Publication date Assignee Title
CN114346572A (en) * 2022-01-27 2022-04-15 方盛车桥(合肥)有限公司 A pneumatic welding jig
CN115740766A (en) * 2022-12-10 2023-03-07 湖北省轻工业科学研究设计院有限公司 Auxiliary processing device for laser marking

Similar Documents

Publication Publication Date Title
CN104722931A (en) Device for machining superfine oil spraying inclined holes in oil spraying plate part of oil sprayer through lasers
CN207508474U (en) A kind of spark-erosion perforating machine
CN114654022A (en) Multi-station full-automatic saw blade grinding machine
CN105458358A (en) Novel engraving and milling machine
CN113478094B (en) Laser marking equipment
CN113953674A (en) Surface line scribing device for machining mechanical parts and using method thereof
CN109664662B (en) Five-axis three-dimensional engraving machine
CN209532942U (en) A kind of device of three-dimensional grinding plate chamfering
CN208342212U (en) A kind of vertical drilling and milling machine tool
CN220698302U (en) Angle adjusting equipment for automobile frame machining
CN218836177U (en) Clamp for plane drilling machine
CN204603576U (en) The device of the fine inclined oil spraying hole on the oil injection plate part of Laser Processing fuel injector
CN206718060U (en) New both-end numerical control tenon milling machine
CN113828871B (en) Gantry type automatic inclined hole punching machine
CN211102685U (en) Needle gear machining tool
CN212095218U (en) Double-turret combined machining machine tool
CN209756591U (en) Three-dimensional carving machine
CN220560717U (en) Laser marking machine with locate function
CN218252956U (en) Bench drill for machining thin-wall parts
CN215547036U (en) Metal cutting device that machining precision is high
CN221415186U (en) Tool fixture for processing aluminum profile
CN222791411U (en) A fully automatic machining center
CN221389960U (en) Clamping platform of machining
CN222113568U (en) A movable coordinate boring machine
CN214558967U (en) Processing device of heat-insulating cylinder

Legal Events

Date Code Title Description
PB01 Publication
PB01 Publication
SE01 Entry into force of request for substantive examination
SE01 Entry into force of request for substantive examination
WW01 Invention patent application withdrawn after publication

Application publication date: 20220121

WW01 Invention patent application withdrawn after publication