CN113914451B - 一种市政道路工程防堵清淤系统及其施工方法 - Google Patents
一种市政道路工程防堵清淤系统及其施工方法 Download PDFInfo
- Publication number
- CN113914451B CN113914451B CN202111146835.4A CN202111146835A CN113914451B CN 113914451 B CN113914451 B CN 113914451B CN 202111146835 A CN202111146835 A CN 202111146835A CN 113914451 B CN113914451 B CN 113914451B
- Authority
- CN
- China
- Prior art keywords
- driving
- sewer
- rod
- vehicle body
- dredging
- Prior art date
- Legal status (The legal status is an assumption and is not a legal conclusion. Google has not performed a legal analysis and makes no representation as to the accuracy of the status listed.)
- Active
Links
- 238000010276 construction Methods 0.000 title claims description 7
- 238000012407 engineering method Methods 0.000 title description 2
- XLYOFNOQVPJJNP-UHFFFAOYSA-N water Substances O XLYOFNOQVPJJNP-UHFFFAOYSA-N 0.000 claims description 82
- 239000007921 spray Substances 0.000 claims description 44
- 238000005507 spraying Methods 0.000 claims description 32
- 238000007790 scraping Methods 0.000 claims description 9
- 238000013459 approach Methods 0.000 claims 1
- 230000002262 irrigation Effects 0.000 abstract description 6
- 238000003973 irrigation Methods 0.000 abstract description 6
- 238000000034 method Methods 0.000 abstract description 2
- 230000005540 biological transmission Effects 0.000 description 12
- 230000013011 mating Effects 0.000 description 6
- 230000001360 synchronised effect Effects 0.000 description 4
- 238000004140 cleaning Methods 0.000 description 3
- 230000000694 effects Effects 0.000 description 3
- 239000010865 sewage Substances 0.000 description 2
- 238000009825 accumulation Methods 0.000 description 1
- 239000010426 asphalt Substances 0.000 description 1
- 230000009286 beneficial effect Effects 0.000 description 1
- 230000007547 defect Effects 0.000 description 1
- 239000000428 dust Substances 0.000 description 1
- 238000011010 flushing procedure Methods 0.000 description 1
- 239000010808 liquid waste Substances 0.000 description 1
- 239000000203 mixture Substances 0.000 description 1
- 239000010813 municipal solid waste Substances 0.000 description 1
- 230000000149 penetrating effect Effects 0.000 description 1
- 239000004576 sand Substances 0.000 description 1
- 238000005406 washing Methods 0.000 description 1
Images
Classifications
-
- E—FIXED CONSTRUCTIONS
- E03—WATER SUPPLY; SEWERAGE
- E03F—SEWERS; CESSPOOLS
- E03F9/00—Arrangements or fixed installations methods or devices for cleaning or clearing sewer pipes, e.g. by flushing
- E03F9/002—Cleaning sewer pipes by mechanical means
-
- E—FIXED CONSTRUCTIONS
- E03—WATER SUPPLY; SEWERAGE
- E03F—SEWERS; CESSPOOLS
- E03F7/00—Other installations or implements for operating sewer systems, e.g. for preventing or indicating stoppage; Emptying cesspools
- E03F7/10—Wheeled apparatus for emptying sewers or cesspools
-
- E—FIXED CONSTRUCTIONS
- E03—WATER SUPPLY; SEWERAGE
- E03F—SEWERS; CESSPOOLS
- E03F9/00—Arrangements or fixed installations methods or devices for cleaning or clearing sewer pipes, e.g. by flushing
- E03F9/007—Devices providing a flushing surge
-
- Y—GENERAL TAGGING OF NEW TECHNOLOGICAL DEVELOPMENTS; GENERAL TAGGING OF CROSS-SECTIONAL TECHNOLOGIES SPANNING OVER SEVERAL SECTIONS OF THE IPC; TECHNICAL SUBJECTS COVERED BY FORMER USPC CROSS-REFERENCE ART COLLECTIONS [XRACs] AND DIGESTS
- Y02—TECHNOLOGIES OR APPLICATIONS FOR MITIGATION OR ADAPTATION AGAINST CLIMATE CHANGE
- Y02A—TECHNOLOGIES FOR ADAPTATION TO CLIMATE CHANGE
- Y02A30/00—Adapting or protecting infrastructure or their operation
- Y02A30/60—Planning or developing urban green infrastructure
Landscapes
- Health & Medical Sciences (AREA)
- Life Sciences & Earth Sciences (AREA)
- Engineering & Computer Science (AREA)
- Hydrology & Water Resources (AREA)
- Public Health (AREA)
- Water Supply & Treatment (AREA)
- Cleaning In General (AREA)
Abstract
本申请涉及一种市政道路工程防堵清淤系统,包括驱动车体和驱动件一,所述驱动车体底端设有行走轮,所述驱动车体上转动连接有用于疏通沟渠通口或者下水道的清淤头,所述驱动件一驱动行走轮转动的同时驱动清淤头转动。将驱动车体放入沟渠通口或者下水道内,然后使用驱动件一驱动行走轮以及清淤头转动,行走轮转动能够带动驱动车体朝向沟渠通口或者下水管道深处前进,清淤头转动能够对沟渠通口或者下水管道内堆积的淤垢进行疏通,从而使沟渠通口或者下水管道正常排流,整个过程中操作人员只需要注意对驱动件一的控制,能够减轻操作人员在清淤作业时的作业负担。
Description
技术领域
本申请涉及市政道路工程的领域,尤其是涉及一种市政道路工程防堵清淤系统及其施工方法。
背景技术
市政道路工程是市政工程的重要组成部分,是城市重要的基础工程设施。市政道路工程主要分为沥青路面道路和混凝土路面道路。为了便于对道路上的雨水或污水进行有效排放,所以一般在市政道路的两旁会挖设有排水渠,排水渠与下水道连通,用于污水和雨水等的排流。由于路面的砂石、垃圾以及尘土飞扬混合一些固液废弃物大量堆积在沟渠内,产生大量淤垢,该些淤垢会造成沟渠通口和下水道出现堵塞的问题,从而造成路面积水严重,严重影响道路交通的正常进行。所以需要定时对沟渠内的淤垢进行清理。
相关技术的市政道路工程防堵清淤处理是通过人工利用铁锹等挖掘工具将沟渠内的淤垢进行铲起,以将淤垢进行清理,从而可以对沟渠进行疏通,进而可以减少沟渠出现堵塞的问题。
上述的相关技术方案存在以下缺陷:通过人工利用铁锹等挖掘工具对淤垢进行清理的方式,不但清淤效率不高,而且还会加重工作人员的作业负担。
发明内容
为了减轻操作人员在清淤作业时的作业负担,本申请提供一种市政道路工程防堵清淤系统及其施工方法。
本申请提供的一种市政道路工程防堵清淤系统采用如下的技术方案:
一种市政道路工程防堵清淤系统,包括驱动车体和驱动件一,所述驱动车体底端设有行走轮,所述驱动车体上转动连接有用于疏通沟渠通口或者下水道的清淤头,所述驱动件一驱动行走轮转动的同时驱动清淤头转动。
通过采用上述技术方案,将驱动车体放入沟渠通口或者下水道内,然后使用驱动件一驱动行走轮以及清淤头转动,行走轮转动能够带动驱动车体朝向沟渠通口或者下水管道深处前进,清淤头转动能够对沟渠通口或者下水管道内堆积的淤垢进行疏通,从而使沟渠通口或者下水管道正常排流,整个过程中操作人员只需要注意对驱动件一的控制,能够减轻操作人员在清淤作业时的作业负担。
优选的,所述驱动件一包括电机、转动杆、联动杆、驱动杆、第一锥齿轮、第二锥齿轮和两个第三锥齿轮,所述电机设置在驱动车体内,所述转动杆的两端分别同轴固定在电机的输出轴上以及清淤头上,第一锥齿轮同轴设置在电机的输出轴上,所述联动杆和驱动杆均转动连接在驱动车体上,两个第三锥齿轮分别同轴固定在联动杆的两端,所述行走轮以及第二锥齿轮均同轴固定在驱动杆上,两个第三锥齿轮分别与第一锥齿轮和第二锥齿轮啮合连接。
通过采用上述技术方案,电机的输出轴转动能够通过转动杆带动清淤头转动,同时电机的输出轴转动带动第一锥齿轮进行转动,第一锥齿轮通过与第三锥齿轮啮合带动联动杆转动,联动杆转动再通过第三锥齿轮与第二锥齿轮啮合连接带动驱动杆进行转动,从而带动行走轮进行转动,以此实现驱动车体的移动。
优选的,还包括驱动件二,所述驱动车体顶部转动连接有转轴,所述转轴的轴线方向平行于驱动杆的轴线方向,所述转轴上设有喷水管,所述驱动件二驱动转轴进行转动,所述喷水管喷水对下水道上壁进行冲洗。
通过采用上述技术方案,驱动件二能够控制转轴的转动,从而使喷水管对准下水道上壁进行喷射。
优选的,所述驱动件二为气缸和齿条,所述气缸连接在驱动车体内,所述齿条沿平行于气缸活塞杆的长度方向固定在气缸的活塞杆上,所述转轴上同轴固定有配合齿轮,所述配合齿轮与齿条啮合连接,所述喷水管的一端固定在转轴上,所述喷水管的另一端远离转轴设置;
当驱动车体朝向下水道深处移动时,所述气缸的活塞杆伸出,所述喷水管转动至倾斜设置,所述喷水管靠近转轴的一端与喷水管远离转轴的一端距离清淤头的距离逐渐变远,当驱动车体朝向远离下水道深处一侧移动时,所述气缸的活塞杆收缩,所述喷水管转动至喷水管靠近转轴的一端与喷水管远离转轴的一端距离清淤头的距离逐渐变近。
通过采用上述技术方案,通过气缸驱动齿条移动,再通过齿条与配合齿轮啮合来驱动配合齿轮进行转动,从而控制喷水管的转动,当驱动车体朝向下水道深处移动时,喷水管喷水的水能够在对下水道上臂进行冲洗的同时,对驱动车体提供继续朝向下水道深处前进的动力,使清淤头能够更好的对堵塞部位进行疏通,同时喷水管排出的水由于反向作用力能够将驱动车体按压在下水管道下壁上,从而提高驱动车体的稳定性;当驱动车体移出下水道时,喷水管喷水的水能够加快驱动车体移出下水道的速度。
优选的,还包括驱动件三,所述转动杆包括固定杆和活动杆,所述固定杆同轴固定在电机的输出轴上,所述活动杆同轴转动连接在固定杆上,所述活动杆的一端开设有供固定杆端部活动的活动槽,所述活动杆通过活动槽沿平行于电机的轴线方向滑动连接在固定杆上,所述活动杆的另一端同轴固定在清淤头上,所述清淤头始终沿平行于电机输出轴的轴线方向滑动连接在驱动车体上,所述活动槽内设有弹簧,所述弹簧用于驱动活动杆朝向远离固定杆的一侧方向移动,所述固定杆朝向活动杆的端部设有抵接块,当活动杆移动至抵接块抵接在活动槽底壁上时,所述驱动件三驱动气缸朝向气缸的活塞杆的一侧移动至喷水管的轴线方向与清淤头的轴线方向齐平。
通过采用上述技术方案,当清淤头遇到比较坚硬的堵塞物时,清淤头会带动活动杆逐渐朝向固定杆一侧移动,当活动杆移动至抵接块抵接在活动槽底壁上时,驱动件三驱动喷水管转动至与清淤头的同轴设置,此时喷水管中喷出的水的反作用力能够完全作用在驱动车体上,帮助清淤头将堵塞物疏通。
优选的,所述驱动件三包括传输带和两个同步辊,两个同步辊分别转动连接在驱动车体内,所述传输带绕卷在两个同步辊上,所述同步辊的传送方向平行于电机的轴线方向,所述驱动车体上沿平行于活动杆的轴线方向滑动连接有承接板,所述活动杆穿设并转动连接在承接板上,所述气缸位于承接板远离清淤头的一侧,所述气缸和承接板分别位于传输带的上下两侧并固定连接在传输带上。
通过采用上述技术方案,通过传输带的传动,控制气缸与承接板同时移动,从而使喷水管能够随着清淤头受到的压力变化而改变喷水的角度,使喷水管能够在对下水道上壁清洁的同时,实时辅助清淤头将堵塞物疏通。
优选的,所述驱动车体上可拆卸连接刮板,当喷水管喷出的水的冲力将驱动车体按压在下水道下壁上时,所述刮板用于对下水道下壁进行刮拭。
通过采用上述技术方案,刮板能够对下水道下壁的淤垢进行刮拭清理,然后这部分刮拭出来的淤垢能够随着水冲出下水道,从而提高了下水道的清洁程度,使下水道内不易堵塞。
优选的,所述清淤头呈圆锥体状设置。
通过采用上述技术方案,清淤头转动后能够像钻头一样“钻”开堵塞物,从而提高清淤头的疏通清淤能力。
本申请还公开了一种市政道路工程防堵清淤系统及其施工方法,包括以下步骤:
S1:测试喷水管是否能正常喷水;
S2:将驱动车体放入下水道中,使用电机驱动走路轮转动使驱动车体逐步进入下水道中,在驱动车体移动的同时,清淤头转动对下水道进行疏通,刮板对下水道内壁进行刮拭,喷水管喷出的水对下水道内壁进行冲洗;
S3:清淤完成后,使用电机驱动走路轮转动使驱动车体逐步退出下水道。
综上所述,本申请包括以下至少一种有益技术效果:
通过设置刮板,刮板能够对下水道下壁的淤垢进行刮拭清理,使下水道内不易堵塞;
通过使清淤头呈圆锥体状设置,清淤头转动后能够像钻头一样“钻”开堵塞物,从而提高清淤头的疏通清淤能力。
附图说明
图1是本申请实施例的整体结构示意图。
图2是本申请实施例容纳槽内部结构示意图。
图3是沿图2中A-A线的局部剖视图。
图4是沿图2中B-B线的局部剖视图。
图5是当活动杆移动至抵接在抵接块上时的驱动车体的局部剖视图。
附图标记说明:1、驱动车体;11、容纳槽;12、清淤头;121、主轴;13、刮板;14、行走轮;141、延伸块;15、驱动件一;151、电机;152、第一锥齿轮;153、第三锥齿轮;154、联动杆;155、第二锥齿轮;156、驱动杆;157、转动杆;1571、固定杆;1572、活动杆;1573、活动槽;1574、抵接块;1575、弹簧;16、喷水管;161、转轴;162、保护块;163、内置软管;164、开口槽;17、驱动件二;171、气缸;172、齿条;173、配合齿轮;18、驱动件三;181、传输带;182、同步辊;183、承接板。
具体实施方式
以下结合附图1-5对本申请作进一步详细说明。
本申请实施例公开一种市政道路工程防堵清淤系统。
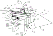
参照图1、图2,本实施例的一种市政道路工程防堵清淤系统包括驱动车体1和驱动件一15,驱动车体1底端连接有四个行走轮14,行走轮14用来将驱动车体1支撑在地面上,驱动车体1长度方向的一侧侧面中心转动连接有用于疏通沟渠通口或者下水道的清淤头12,为了提高清淤头12的疏通清淤效果,清淤头12呈圆锥体设置,清淤头12的竖截面由靠近驱动车体1一侧至远离驱动车体1一侧逐渐减小,清淤头12的轴线方向平行于驱动车体1的长度方向,驱动件一15驱动行走轮14转动的同时驱动清淤头12转动。
参照图2、图3,驱动件一15包括电机151、转动杆157、联动杆154、第一锥齿轮152、第二锥齿轮155、两个驱动杆156和两个第三锥齿轮153。驱动车体1内开设有容纳槽11,容纳槽11的长度方向平行于驱动车体1的长度方向。电机151固定连接在容纳槽11长度方向远离清淤头12的一侧内壁上,电机151输出轴的长度方向平行于驱动车体1的长度方向,清淤头12靠近驱动车体1的一侧侧面同轴固定连接有主轴121,清淤头12通过主轴121转动连接在驱动车体1上,转动杆157的两端分别同轴固定连接在电机151输出轴上以及主轴121上。
参照图2、图3,驱动车体1底面上固定连接有延伸块141,延伸块141的长度方向平行于驱动车体1的宽度方向,其中一个驱动杆156转动连接在延伸块141上,另一个驱动杆156转动连接在驱动车体1上,驱动杆156的长度方向平行于驱动车体1的宽度方向,两个驱动杆156位于同一水平面上,延伸块141上的驱动杆156位于另一个驱动杆156远离清淤头12的一侧,四个行走轮14分别同轴固定连接在两个驱动杆156的四个端部上。第一锥齿轮152同轴固定在电机151的输出轴上,联动杆154呈竖直方向转动连接在驱动车体1上,两个第三锥齿轮153分别同轴固定在联动杆154的上下两端, 第二锥齿轮155同轴固定在延伸块141内的驱动杆156上,位于联动杆154上方的第三锥齿轮153位于第一锥齿轮152的下方并与第一锥齿轮152啮合连接,位于联动杆154下方的第三锥齿轮153与第二锥齿轮155啮合连接。
当电机151的输出轴转动时,能够通过转动杆157以及主轴121带动清淤头12转动,同时电机151的输出轴转动带动第一锥齿轮152进行转动,第一锥齿轮152通过与第三锥齿轮153啮合带动联动杆154转动,联动杆154转动再通过第三锥齿轮153与第二锥齿轮155啮合连接带动驱动杆156进行转动,从而带动行走轮14进行转动,以此实现驱动车体1的移动。驱动车体1朝向沟渠通口或者下水管道深处前进,清淤头12转动能够对沟渠通口或者下水管道内堆积的淤垢进行疏通。
参照图1、图2,驱动车体1朝向清淤头12的一侧侧面可拆卸连接有刮板13,刮板13通过螺栓锁紧在驱动车体1上,刮板13的形状需要配合被疏通的疏通沟渠通口或者下水道的底壁形状,当驱动车体1朝向疏通沟渠通口或者下水道深处移动时,刮板13能够对疏通沟渠通口或者下水道底壁上的淤垢进行刮拭。
参照图2、图3,驱动车体1顶端转动连接有转轴161,转轴161的轴线方向平行于去顶车体的宽度方向,转轴161上固定连接有喷水管16,喷水管16的一端固定在转轴161上,喷水管16的另一端远离转轴161设置,喷水管16的长度方向垂直于转轴161的轴线方向,驱动车体1设有驱动件二17,驱动件二17驱动转轴161进行转动,喷水管16喷水对下水道上壁进行冲洗。
参照图3,驱动车体1顶面上开设有连通空槽的开口槽164,转轴161上固定连接有内置软管163,内置软管163的一端固定在转轴161上,内置软管163的另一端依次穿过开口槽164、空槽最后从驱动车体1远离清淤头12的一侧侧面伸出驱动车体1,转轴161上开设有连通喷水管16以及内置软管163的连通流道。当转轴161转动时,内置软管163能够在开口槽164内活动。内置软管163伸出开口槽164的一端供外置软管固定连通,外置水泵将水压入外置软管内,水依次通过内置软管163、连通流道最后从喷水管16处喷出。
参照图2,驱动件二17为气缸171、配合齿轮173和齿条172,气缸171位于空槽内并连接在驱动车体1上,气缸171位于转轴161远离清淤头12的一侧,气缸171活塞杆的轴线方向平行于驱动车体1的长度方向,齿条172同轴固定在气缸171的活塞杆上,配合齿轮173同轴固定连接在转轴161上,配合齿轮173的底端伸入空槽并啮合连接在齿条172上。
参照图2、图3,为了对配合齿轮173进行保护,同时为了防止水从开口槽164进入空槽,驱动车体1顶面上固定连接有保护块162,保护块162将配合齿轮173以及开口槽164包裹在内。
当驱动车体1朝向下水道深处移动时,气缸171的活塞杆伸出,喷水管16转动至倾斜设置,喷水管16靠近转轴161的一端至喷水管16远离转轴161的一端距离清淤头12的距离逐渐变远。由于喷水管16中喷水的反作用力会作用在驱动车体1上,这部分作用力能够将驱动车体1按压在沟渠通口或者下水管道底壁上,提高驱动车体1的稳定性,同时这部分作用力能够推动驱动车体1进一步往下水道深处移动,尤其是当清淤头12遇到比较坚硬难以疏通的堵塞物时,能够帮助清淤头12将堵塞物疏通。
当驱动车体1朝向远离下水道深处一侧移动时,气缸171的活塞杆收缩,喷水管16转动至喷水管16靠近转轴161的一端至喷水管16远离转轴161的一端距离清淤头12的距离逐渐变小。此时喷水管16喷水能够对下水道上壁进行二次冲洗,同时能够加快驱动车体1退出下水道的速度。
参照图4、图5,转动杆157包括固定杆1571和活动杆1572,活动杆1572的一端开设有活动槽1573,固定杆1571的端部始终能够沿平行于固定杆1571的长度方向滑动连接并转动连接在活动槽1573内,固定杆1571远离活动杆1572的一端同轴固定在电机151输出轴的端部,活动杆1572远离固定杆1571的一端同轴固定在主轴121远离清淤头12的端部,主轴121沿平行于主轴121的轴线方向滑动连接在驱动车体1上。活动槽1573内固定有若干弹簧1575,弹簧1575的两端分别固定连接诶在固定杆1571朝向活动槽1573的端面以及活动槽1573的底壁上,弹簧1575始终呈压缩状态。活动杆1572的直径大于主轴121的直径,当清淤头12没有外力作用时,活动杆1572在弹簧1575的作用下移动至抵紧在空槽朝向清淤头12的一侧内壁上。
参照图4、图5,固定杆1571朝向活动槽1573的一端端面中心固定连接有抵接块1574,驱动车体1内还设有驱动件三18,当活动块朝向固定块一侧移动的过程中,驱动件三18驱动气缸171朝向清淤头12的一侧缓慢移动,当活动杆1572移动至抵接块1574抵接在活动槽1573底壁上时,驱动件三18驱动气缸171朝向气缸171的活塞杆的一侧移动至喷水管16的轴线方向与清淤头12的轴线方向齐平。
参照图2,驱动件三18包括传输带181、承接板183和两个同步辊182,同步辊182的两端分别转动连接在空槽宽度方向的两侧内壁上,同步辊182的轴线方向平行于驱动杆156的轴线方向,两个同步辊182位于同一水平面上,传输带181绕卷在两个同步辊182上。空槽内沿空槽的长度方向滑动连接有承接板183,活动杆1572穿设并转动连接在承接板183上,气缸171和承接板183分别位于传输带181的上下两侧并分别固定连接在传输带181的上下两侧侧面上。
当清淤头12遇到比较坚硬的堵塞物时,清淤头12会带动活动杆1572逐渐朝向固定杆1571一侧移动,此时活动杆1572会带动承接板183朝向固定板一侧移动,承接板183带动传输带181传送,位于传输带181另一侧的气缸171会朝向清淤头12一侧移动,此时齿条172会随着气缸171的移动带动配合齿轮173进行转动,从而使喷水管16能够随着清淤头12受到的压力变化而改变喷水的角度。清淤头12受到的压力越大,喷水管16与驱动车体1之间的夹角越小,喷水管16喷出的水的反作用力就能更多的作用在驱动车体1上辅助清淤头12将堵塞物疏通。
本实施例的工作原理是:操作人员将外置软管安装在喷水管16上,驱动电机151使驱动车体1进入需要被疏通的下水道中,然后操作人员使用外置水泵将水压入外置软管中,驱动车体1在行走轮14的驱动下以及喷水管16喷出的水的反作用力下朝向下水道深处移动,清淤头12在喷水管16的帮助下对下水道进行疏通,同时喷水管16与刮板13对下水道内壁上淤垢进行清理。清理完成后,利用电机151使驱动车体1退出下水道。
本申请实施例还公开了一种市政道路工程防堵清淤系统及其施工方法,包括以下步骤:
S1:将外置软管固定安装在喷水管16上,然后使用外置水泵将水压入外置软管中,测试水能否从喷水管16中顺利喷出,水能够正常喷出后,再进行下一步操作;
S2:使用电机151驱动走路轮转动使驱动车体1逐步进入下水道中,然后再驱动气缸171的活塞杆伸出,使喷水管16转动至朝向下水道上壁,然后使用水泵将水压入长软管,清淤头12转动对下水道进行疏通,刮板13对下水道内壁进行刮拭,喷水管16喷出的水对下水道内壁进行冲洗;
S3:清淤完成后,使用电机151驱动走路轮转动使驱动车体1逐步退出下水道。
以上均为本申请的较佳实施例,并非依此限制本申请的保护范围,故:凡依本申请的结构、形状、原理所做的等效变化,均应涵盖于本申请的保护范围之内。
Claims (3)
1.一种市政道路工程防堵清淤系统,其特征在于:包括驱动车体(1)和驱动件一(15),所述驱动车体(1)底端设有行走轮(14),所述驱动车体(1)上转动连接有用于疏通沟渠通口或者下水道的清淤头(12),所述驱动件一(15)驱动行走轮(14)转动的同时驱动清淤头(12)转动;
所述驱动件一(15)包括电机(151)、转动杆(157)、联动杆(154)、驱动杆(156)、第一锥齿轮(152)、第二锥齿轮(155)和两个第三锥齿轮(153),所述电机(151)设置在驱动车体(1)内,所述转动杆(157)的两端分别同轴固定在电机(151)的输出轴上以及清淤头(12)上,第一锥齿轮(152)同轴设置在电机(151)的输出轴上,所述联动杆(154)和驱动杆(156)均转动连接在驱动车体(1)上,两个第三锥齿轮(153)分别同轴固定在联动杆(154)的两端,所述行走轮(14)以及第二锥齿轮(155)均同轴固定在驱动杆(156)上,两个第三锥齿轮(153)分别与第一锥齿轮(152)和第二锥齿轮(155)啮合连接;
还包括驱动件二(17),所述驱动车体(1)顶部转动连接有转轴(161),所述转轴(161)的轴线方向平行于驱动杆(156)的轴线方向,所述转轴(161)上设有喷水管(16),所述驱动件二(17)驱动转轴(161)进行转动,所述喷水管(16)喷水对下水道上壁进行冲洗;所述驱动件二(17)为气缸(171)和齿条(172),所述气缸(171)连接在驱动车体(1)内,所述齿条(172)沿平行于气缸(171)活塞杆的长度方向固定在气缸(171)的活塞杆上,所述转轴(161)上同轴固定有配合齿轮(173),所述配合齿轮(173)与齿条(172)啮合连接,所述喷水管(16)的一端固定在转轴(161)上,所述喷水管(16)的另一端远离转轴(161)设置;当驱动车体(1)朝向下水道深处移动时,所述气缸(171)的活塞杆伸出,所述喷水管(16)转动至倾斜设置,所述喷水管(16)靠近转轴(161)的一端至喷水管(16)远离转轴(161)的一端距离清淤头(12)的距离逐渐变远,当驱动车体(1)朝向远离下水道深处一侧移动时,所述气缸(171)的活塞杆收缩,所述喷水管(16)转动至喷水管(16)靠近转轴(161)的一端至喷水管(16)远离转轴(161)的一端距离清淤头(12)的距离逐渐变近;
还包括驱动件三(18),所述转动杆(157)包括固定杆(1571)和活动杆(1572),所述固定杆(1571)同轴固定在电机(151)的输出轴上,所述活动杆(1572)同轴转动连接在固定杆(1571)上,所述活动杆(1572)的一端开设有供固定杆(1571)端部活动的活动槽(1573),所述活动杆(1572)通过活动槽(1573)沿平行于电机(151)的轴线方向滑动连接在固定杆(1571)上,所述活动杆(1572)的另一端同轴固定在清淤头(12)上,所述清淤头(12)始终沿平行于电机(151)输出轴的轴线方向滑动连接在驱动车体(1)上,所述活动槽(1573)内设有弹簧(1575),所述弹簧(1575)用于驱动活动杆(1572)朝向远离固定杆(1571)的一侧方向移动,所述固定杆(1571)朝向活动杆(1572)的端部设有抵接块(1574),当活动杆(1572)移动至抵接块(1574)抵接在活动槽(1573)底壁上时,所述驱动件三(18)驱动气缸(171)朝向气缸(171)的活塞杆的一侧移动至喷水管(16)的轴线方向与清淤头(12)的轴线方向齐平;
所述驱动件三(18)包括传输带(181)和两个同步辊(182),两个同步辊(182)分别转动连接在驱动车体(1)内,所述传输带(181)绕卷在两个同步辊(182)上,所述同步辊(182)的传送方向平行于电机(151)的轴线方向,所述驱动车体(1)上沿平行于活动杆(1572)的轴线方向滑动连接有承接板(183),所述活动杆(1572)穿设并转动连接在承接板(183)上,所述气缸(171)位于承接板(183)远离清淤头(12)的一侧,所述气缸(171)和承接板(183)分别位于传输带(181)的上下两侧并固定连接在传输带(181)上。
2.根据权利要求1所述的一种市政道路工程防堵清淤系统,其特征在于:所述驱动车体(1)上可拆卸连接刮板(13),当喷水管(16)喷出的水的冲力将驱动车体(1)按压在下水道下壁上时,所述刮板(13)用于对下水道下壁进 防堵清淤系统,所述清淤头(12)呈圆锥体状设置。
3.根据权利要求2所述的一种市政道路工程防堵清淤系统的施工方法,包括以下步骤:
S1:测试喷水管(16)是否能正常喷水;
S2:将驱动车体(1)放入下水道中,使用电机(151)驱动走路轮转动使驱动车体(1)逐步进入下水道中,在驱动车体(1)移动的同时,清淤头(12)转动对下水道进行疏通,刮板(13)对下水道内壁进行刮拭,喷水管(16)喷出的水对下水道内壁进行冲洗;
S3:清淤完成后,使用电机(151)驱动走路轮转动使驱动车体(1)逐步退出下水道。
Priority Applications (1)
| Application Number | Priority Date | Filing Date | Title |
|---|---|---|---|
| CN202111146835.4A CN113914451B (zh) | 2021-09-29 | 2021-09-29 | 一种市政道路工程防堵清淤系统及其施工方法 |
Applications Claiming Priority (1)
| Application Number | Priority Date | Filing Date | Title |
|---|---|---|---|
| CN202111146835.4A CN113914451B (zh) | 2021-09-29 | 2021-09-29 | 一种市政道路工程防堵清淤系统及其施工方法 |
Publications (2)
| Publication Number | Publication Date |
|---|---|
| CN113914451A CN113914451A (zh) | 2022-01-11 |
| CN113914451B true CN113914451B (zh) | 2023-06-13 |
Family
ID=79236909
Family Applications (1)
| Application Number | Title | Priority Date | Filing Date |
|---|---|---|---|
| CN202111146835.4A Active CN113914451B (zh) | 2021-09-29 | 2021-09-29 | 一种市政道路工程防堵清淤系统及其施工方法 |
Country Status (1)
| Country | Link |
|---|---|
| CN (1) | CN113914451B (zh) |
Families Citing this family (3)
| Publication number | Priority date | Publication date | Assignee | Title |
|---|---|---|---|---|
| CN114457904B (zh) * | 2022-02-12 | 2023-05-23 | 广东恒科建筑工程有限公司 | 一种市政水利工程用环保清淤设备 |
| CN114855986B (zh) * | 2022-04-22 | 2023-10-20 | 恒基建设集团有限公司 | 一种市政管道疏通装置 |
| CN116290324A (zh) * | 2023-05-04 | 2023-06-23 | 浙江嘉晟建设有限公司 | 一种市政工程下水道清淤装置 |
Citations (4)
| Publication number | Priority date | Publication date | Assignee | Title |
|---|---|---|---|---|
| CN112064778A (zh) * | 2020-09-24 | 2020-12-11 | 上海美沁针织有限公司 | 排污管道封堵清淤设备 |
| CN112718731A (zh) * | 2021-01-12 | 2021-04-30 | 黄河水利委员会黄河水利科学研究院 | 一种基于远程操控的水利工程用管道清淤设备 |
| CN112900608A (zh) * | 2021-01-20 | 2021-06-04 | 广东金铭顺建设有限公司 | 一种市政道路工程防堵清淤系统 |
| CN213572346U (zh) * | 2020-06-03 | 2021-06-29 | 范军 | 一种市政道路工程防堵清淤装置 |
Family Cites Families (5)
| Publication number | Priority date | Publication date | Assignee | Title |
|---|---|---|---|---|
| SU1421608A1 (ru) * | 1987-03-30 | 1988-09-07 | Мурманский Судоремонтный Завод Мурманского Морского Пароходства | Устройство дл очистки корпуса судна |
| CN213448609U (zh) * | 2020-09-28 | 2021-06-15 | 湖南省沅江市安沅水利水电建设有限公司 | 一种水利工程用高效灌溉清淤设备 |
| CN112459226A (zh) * | 2020-11-13 | 2021-03-09 | 曾国琼 | 一种便于收纳的市政管道清淤装置 |
| CN112814134A (zh) * | 2020-12-23 | 2021-05-18 | 林亿凯 | 一种市政工程下水道的疏通装置 |
| CN112962781A (zh) * | 2021-02-24 | 2021-06-15 | 陈丽阳 | 一种市政管道清淤装置及其使用方法 |
-
2021
- 2021-09-29 CN CN202111146835.4A patent/CN113914451B/zh active Active
Patent Citations (4)
| Publication number | Priority date | Publication date | Assignee | Title |
|---|---|---|---|---|
| CN213572346U (zh) * | 2020-06-03 | 2021-06-29 | 范军 | 一种市政道路工程防堵清淤装置 |
| CN112064778A (zh) * | 2020-09-24 | 2020-12-11 | 上海美沁针织有限公司 | 排污管道封堵清淤设备 |
| CN112718731A (zh) * | 2021-01-12 | 2021-04-30 | 黄河水利委员会黄河水利科学研究院 | 一种基于远程操控的水利工程用管道清淤设备 |
| CN112900608A (zh) * | 2021-01-20 | 2021-06-04 | 广东金铭顺建设有限公司 | 一种市政道路工程防堵清淤系统 |
Also Published As
| Publication number | Publication date |
|---|---|
| CN113914451A (zh) | 2022-01-11 |
Similar Documents
| Publication | Publication Date | Title |
|---|---|---|
| CN113914451B (zh) | 一种市政道路工程防堵清淤系统及其施工方法 | |
| CN108797785A (zh) | 排水管道的疏通清淤装置 | |
| CN2063956U (zh) | 微型通用液压挖掘机 | |
| KR100991326B1 (ko) | 지하 매설관 내 자주식 전단면 보수장치 및 보수공법 | |
| CN211948826U (zh) | 一种水利工程施工用管道清淤装置 | |
| CN219569028U (zh) | 一种灌溉水渠用清淤装置 | |
| CN218060687U (zh) | 管道清淤机器人 | |
| KR101124065B1 (ko) | 지하 매설관 내 자주식 전단면 보수장치 및 보수공법 | |
| CN110056033B (zh) | 一种建筑场地排水沟开挖机 | |
| CN110385318B (zh) | 管涵淤堵疏通机器人及疏通方法 | |
| CN105019552A (zh) | 城市下水道连续清淤机 | |
| CN109763561A (zh) | 一种用于管道清淤的前端装置 | |
| CN206360072U (zh) | 一种市政下水管道清淤疏通机器人 | |
| CN113482140B (zh) | 市政工程下水道清淤装置 | |
| CN206562662U (zh) | 挖掘式清堵吸淤装置 | |
| CN204826185U (zh) | 城市下水道连续清淤机 | |
| CN217679617U (zh) | 一种非开挖管道施工淤泥清理装置 | |
| CN215165981U (zh) | 一种水利工程用水沟清淤设备 | |
| CN114525841B (zh) | 一种管道清淤机器人及装置 | |
| CN107090904B (zh) | 远距离淤泥挖运装置 | |
| CN115198824A (zh) | 一种防止倾覆的大管径清淤机器人 | |
| CN112627324A (zh) | 一种管道清淤机器人 | |
| CN115228856B (zh) | 一种市政工程道路排水用管道清理设备装置 | |
| CN120140520B (zh) | 一种市政管道的顶管施工装置及其施工方法 | |
| JP3891293B2 (ja) | トンネル埋め戻し装置 |
Legal Events
| Date | Code | Title | Description |
|---|---|---|---|
| PB01 | Publication | ||
| PB01 | Publication | ||
| SE01 | Entry into force of request for substantive examination | ||
| SE01 | Entry into force of request for substantive examination | ||
| CB02 | Change of applicant information | ||
| CB02 | Change of applicant information |
Address after: 317525 No. 1, Hebin Road, Daxi Town, Wenling City, Taizhou City, Zhejiang Province (self declaration) Applicant after: Taizhou Lichang Engineering Construction Co.,Ltd. Address before: 318000 No. 304, yuguangtang village, Sanjia street, cluster district, Taizhou City, Zhejiang Province (self declaration, office only) Applicant before: Taizhou Lichang Engineering Construction Co.,Ltd. |
|
| GR01 | Patent grant | ||
| GR01 | Patent grant |