CN113879882A - Tension-controllable cloth discharging roller set - Google Patents

Tension-controllable cloth discharging roller set Download PDF

Info

Publication number
CN113879882A
CN113879882A CN202111183486.3A CN202111183486A CN113879882A CN 113879882 A CN113879882 A CN 113879882A CN 202111183486 A CN202111183486 A CN 202111183486A CN 113879882 A CN113879882 A CN 113879882A
Authority
CN
China
Prior art keywords
roller
cloth
tension
plates
fixedly connected
Prior art date
Legal status (The legal status is an assumption and is not a legal conclusion. Google has not performed a legal analysis and makes no representation as to the accuracy of the status listed.)
Granted
Application number
CN202111183486.3A
Other languages
Chinese (zh)
Other versions
CN113879882B (en
Inventor
刘桂东
刘文成
Current Assignee (The listed assignees may be inaccurate. Google has not performed a legal analysis and makes no representation or warranty as to the accuracy of the list.)
Jiangsu Fuante Textile Machinery Manufacturing Co ltd
Original Assignee
Jiangsu Fuante Textile Machinery Manufacturing Co ltd
Priority date (The priority date is an assumption and is not a legal conclusion. Google has not performed a legal analysis and makes no representation as to the accuracy of the date listed.)
Filing date
Publication date
Application filed by Jiangsu Fuante Textile Machinery Manufacturing Co ltd filed Critical Jiangsu Fuante Textile Machinery Manufacturing Co ltd
Publication of CN113879882A publication Critical patent/CN113879882A/en
Application granted granted Critical
Publication of CN113879882B publication Critical patent/CN113879882B/en
Active legal-status Critical Current
Anticipated expiration legal-status Critical

Links

Images

Classifications

    • BPERFORMING OPERATIONS; TRANSPORTING
    • B65CONVEYING; PACKING; STORING; HANDLING THIN OR FILAMENTARY MATERIAL
    • B65HHANDLING THIN OR FILAMENTARY MATERIAL, e.g. SHEETS, WEBS, CABLES
    • B65H18/00Winding webs
    • B65H18/02Supporting web roll
    • B65H18/026Cantilever type
    • BPERFORMING OPERATIONS; TRANSPORTING
    • B65CONVEYING; PACKING; STORING; HANDLING THIN OR FILAMENTARY MATERIAL
    • B65HHANDLING THIN OR FILAMENTARY MATERIAL, e.g. SHEETS, WEBS, CABLES
    • B65H18/00Winding webs
    • B65H18/08Web-winding mechanisms
    • B65H18/14Mechanisms in which power is applied to web roll, e.g. to effect continuous advancement of web
    • BPERFORMING OPERATIONS; TRANSPORTING
    • B65CONVEYING; PACKING; STORING; HANDLING THIN OR FILAMENTARY MATERIAL
    • B65HHANDLING THIN OR FILAMENTARY MATERIAL, e.g. SHEETS, WEBS, CABLES
    • B65H19/00Changing the web roll
    • B65H19/22Changing the web roll in winding mechanisms or in connection with winding operations
    • B65H19/30Lifting, transporting, or removing the web roll; Inserting core
    • B65H19/305Inserting core
    • BPERFORMING OPERATIONS; TRANSPORTING
    • B65CONVEYING; PACKING; STORING; HANDLING THIN OR FILAMENTARY MATERIAL
    • B65HHANDLING THIN OR FILAMENTARY MATERIAL, e.g. SHEETS, WEBS, CABLES
    • B65H23/00Registering, tensioning, smoothing or guiding webs
    • B65H23/04Registering, tensioning, smoothing or guiding webs longitudinally
    • B65H23/26Registering, tensioning, smoothing or guiding webs longitudinally by transverse stationary or adjustable bars or rollers
    • BPERFORMING OPERATIONS; TRANSPORTING
    • B65CONVEYING; PACKING; STORING; HANDLING THIN OR FILAMENTARY MATERIAL
    • B65HHANDLING THIN OR FILAMENTARY MATERIAL, e.g. SHEETS, WEBS, CABLES
    • B65H23/00Registering, tensioning, smoothing or guiding webs
    • B65H23/04Registering, tensioning, smoothing or guiding webs longitudinally
    • B65H23/34Apparatus for taking-out curl from webs
    • BPERFORMING OPERATIONS; TRANSPORTING
    • B65CONVEYING; PACKING; STORING; HANDLING THIN OR FILAMENTARY MATERIAL
    • B65HHANDLING THIN OR FILAMENTARY MATERIAL, e.g. SHEETS, WEBS, CABLES
    • B65H2701/00Handled material; Storage means
    • B65H2701/10Handled articles or webs

Landscapes

  • Treatment Of Fiber Materials (AREA)

Abstract

本发明涉及布料出厂技术领域,具体涉及一种张力可控的出布辊组,包括底座,所述底座两长侧边均固定连接有侧板,两个所述侧板一端之间转动连接有击打辊,且一个侧板一侧固定连接有调控电机,所述调控电机电机轴贯穿相邻侧板侧壁并固定连接于击打辊一端。本发明中,通过将布匹一端与收布筒外柱面连接,使收布筒带动布料移动过程中经过两个滑板形成的缝隙之中,使得布料会带动两个滑板上多个螺纹圆锥进行旋转,在旋转时,由于螺纹圆锥一侧与滑板长侧边平行,从而使布料随着螺纹圆锥的旋转而沿着螺纹的纹路自发向滑板两端处移动,从而使布料可以自动展开,使布料可以更平整的被收卷起来。

Figure 202111183486

The invention relates to the technical field of fabric delivery, in particular to a tension-controllable cloth discharge roller set, comprising a base, two long sides of the base are fixedly connected with side plates, and one end of the two side plates is rotatably connected with The beating roller is fixedly connected with a regulating motor on one side of the side plate, and the motor shaft of the regulating motor penetrates the side wall of the adjacent side plate and is fixedly connected to one end of the beating roller. In the present invention, by connecting one end of the cloth with the outer cylindrical surface of the cloth collecting cylinder, the cloth collecting cylinder drives the cloth to pass through the gap formed by the two sliding plates in the process of moving, so that the cloth will drive the plurality of threaded cones on the two sliding plates to rotate. , When rotating, since one side of the threaded cone is parallel to the long side of the skateboard, the cloth moves along the lines of the thread to both ends of the skateboard spontaneously with the rotation of the threaded cone, so that the cloth can be automatically unfolded, so that the cloth can be Flatter is rolled up.

Figure 202111183486

Description

Tension-controllable cloth discharging roller set
Technical Field
The invention relates to the technical field of cloth delivery, in particular to a tension-controllable cloth outlet roller set.
Background
Tension, physical term, is the mutual traction force existing in the interior of an object perpendicular to the contact surface of two adjacent parts when the object is subjected to a tensile force, and the force of a flexible object such as a stretched string or rope on other objects stretching the flexible object or the force between parts in the stretched flexible object.
After the cloth finished product, need accomodate the cloth and the finished product is stereotyped, need regulate and control the tension of cloth this moment to carry out the rolling to the cloth and be convenient for transport, carry out the rolling in-process at the cloth, the cloth is albeit can regulate and control the stress, still can produce the internal contraction of certain degree because of tensile during the rolling, thereby makes the cloth produce pincher trees, is difficult to smooth by the rolling.
Disclosure of Invention
In order to overcome the technical problems, the invention aims to provide a tension-controllable cloth outlet roller set, one end of cloth is connected with the outer cylindrical surface of a cloth collecting cylinder, the cloth collecting cylinder drives the cloth to pass through a gap formed by two sliding plates in the moving process, so that the cloth can drive a plurality of thread cones on the two sliding plates to rotate, and when the cloth rotates, one side of each thread cone is parallel to the long side of each sliding plate, so that the cloth can automatically move to the two ends of each sliding plate along the lines of the threads along with the rotation of the thread cones, and the cloth can be automatically unfolded and rolled more flatly.
The purpose of the invention can be realized by the following technical scheme:
a tension-controllable cloth discharging roller set comprises a base, wherein two long side edges of the base are fixedly connected with side plates, a beating roller is rotatably connected between one ends of the two side plates, one side of one side plate is fixedly connected with a regulating motor, a motor shaft of the regulating motor penetrates through the side wall of the adjacent side plate and is fixedly connected with one end of the beating roller, the two side wall of the side plate is symmetrically and fixedly connected with two U-shaped plates below one side of the beating roller, the two U-shaped plates are provided with chutes relative to the two inner side walls, two symmetrical self-walking mechanisms for automatically unfolding cloth are slidably connected between the two U-shaped plates, the two side plates are rotatably connected below one side of the beating roller and are connected with a tension roller, the tension roller is positioned between the base and the two self-walking mechanisms, the other end of one side plate is rotatably connected with a clamping roller, the clamping roller is positioned on one side of the tension roller, and one side of one side plate is fixedly connected with a constant-speed motor, the uniform-speed motor shaft penetrates through the side walls of the adjacent side plates and is fixedly connected to one end of the clamping roller, the clamping roller is fixedly embedded with a cloth collecting barrel, the side wall of the other side plate is positioned at the corresponding position of the cloth collecting barrel and is provided with a fetching groove, the two side wall of the side plate are positioned between the tension roller and the clamping roller and are rotatably connected with a hollow barrel, one end of cloth passes through the position between the two self-walking mechanisms downwards around the upper part of the beating roller and then passes through the position below the tension roller and the position below the hollow barrel, one end of the cloth is fixed on the outer ring surface of the cloth collecting barrel, the uniform-speed motor and the regulating motor are started, the uniform-speed motor pulls the cloth to pass through the position above the beating roller, between the two sliding plates and the position below the tension roller, at the moment, the regulating motor drives the beating roller to rotate so as to generate force opposite to the moving direction of the cloth, the cloth generates stress between the beating roller and the tension roller, and the stress of the cloth is regulated and regulated by regulating the power of the regulating motor, simultaneously, at cloth removal in-process, because cloth drives self-propelled mechanism and rotates through between two self-propelled mechanisms, make the cloth carry on spacingly through hollow section of thick bamboo when hollow section of thick bamboo, reduce the power of dragging of cloth, drive the friction by the cloth through the outer anchor ring of hollow section of thick bamboo to reduce the cloth because of the vestige that produces along the screw drive, reduce the cloth pincher trees simultaneously, thereby make the cloth can be more smooth by the rolling.
Further, the method comprises the following steps: hit and be provided with spacing roller above the beating roller, and spacing roller both ends rotate with adjacent curb plate lateral wall and be connected, rotate when beating the beating roller and hit the cloth and beat, spacing roller can prevent that the cloth from appearing because of beating the condition that the beating roller rotated and produced and float above beating the roller.
Further, the method comprises the following steps: the self-walking mechanism comprises sliding plates, two ends of each sliding plate are connected between two sliding grooves on adjacent U-shaped plates in a sliding mode through rotating shafts, four rectangular grooves are symmetrically formed in the side wall of each sliding plate by taking the vertical central line of the sliding plate as a reference, one ends of the four rectangular grooves are fixedly connected with fixed plates, one sides of the four fixed plates are rotatably connected with the other ends of the adjacent rectangular grooves through inclined thread cones, the arc surfaces of one sides of the thread cones are parallel to one sides of the sliding plates, cloth passes through a gap formed by the two sliding plates, so that the cloth can drive a plurality of thread cones on the two sliding plates to rotate, when the cloth rotates, one sides of the thread cones are parallel to the long side edges of the sliding plates, and when the thread cones rotate, force which is like a spiral head and moves towards the thick end is generated, so that when the cloth moves between the two sliding plates, the thread cones can automatically move towards the two ends of the sliding plates due to the rotation of the thread cones, so that the cloth can be automatically unfolded.
Further, the method comprises the following steps: two the curb plate lateral wall is located to rotate between beating roller and two self-propelled mechanisms and is connected with the live-rollers, and the live-rollers is located the pulling force roller opposite side, makes the cloth between beating roller and the pulling force roller be the straight line, reduces the influence to passing through beating roller cloth when beating roller rotates.
Further, the method comprises the following steps: two the curb plate lateral wall is located and corresponds the position rotation and be connected with hollow section of thick bamboo between pulling force roller and the joint roller, when making the cloth pass through hollow section of thick bamboo, carries on spacingly through hollow section of thick bamboo, reduces the power of dragging of cloth, is driven the friction by the cloth through hollow section of thick bamboo outer anchor ring to reduce the cloth because of the vestige that produces along the screw thread drive, reduce the cloth pincher trees simultaneously.
Further, the method comprises the following steps: the beating roller comprises two mirror symmetry triangular blocks, a connecting roller is fixedly connected between the three end parts of the two triangular blocks, the connecting roller is three, a rubber sleeve is fixedly sleeved between the outer cylindrical surfaces of the connecting roller, the cross sections of the three connecting rollers are distributed in a triangular shape through the three connecting rollers, and therefore when the beating roller rotates, the three edges more conveniently drive cloth by the beating roller, friction force is increased, and certain stress is generated on the cloth.
Further, the method comprises the following steps: the outer annular surface of the rubber sleeve is uniformly and fixedly connected with a plurality of convex blocks, and the convex blocks are contacted with the cloth, so that the friction force between the beating roller and the cloth is further improved.
Further, the method comprises the following steps: two the supporting inserted bar that is provided with of self-propelled mechanism one end, the inserted bar includes the handle, and handle one end fixedly connected with double-strand jaw, double-strand jaw is U type structure, and double-strand jaw both arms one end all run through a curb plate lateral wall and adjacent U template lateral wall and with two slide fixed joint, run through a curb plate through double-strand jaw, make two slides block between double-strand jaw both arms to make two slide rigidity, avoid making two slides dislocation break away from the cloth because of the cloth removes.
Further, the method comprises the following steps: one end of each of two arms of the double-strand fork head is of a hook-shaped structure, so that the two sliding plates can be conveniently separated by using the hook-shaped structures after cloth is rolled, and meanwhile, the hook-shaped structures can be placed on the side plates and are convenient to take.
The invention has the beneficial effects that:
1. one end of cloth is connected with the outer cylindrical surface of the cloth collecting barrel, so that the cloth collecting barrel drives the cloth to move, the cloth drives a plurality of thread cones on the two sliding plates to rotate as the cloth passes through a gap formed by the two sliding plates, and one side of each thread cone is parallel to the long side of each sliding plate during rotation, so that the cloth automatically moves to the two ends of each sliding plate along thread lines along with the rotation of the thread cones, the cloth can be automatically unfolded, and the cloth can be rolled more smoothly;
2. when the cloth passes through the outer annular surface of the hollow cylinder, the outer annular surface of the hollow cylinder is driven to rub by the cloth, so that the smooth surface of the hollow cylinder performs relative friction smoothing on the cloth, the marks generated by the cloth driven along the threads are reduced, and meanwhile, the wrinkles of the cloth are reduced;
3. the beating roller formed by the three connecting rollers rotates, edges formed by the three connecting rollers pull the cloth, the cross sections of the three connecting rollers are distributed in a triangular shape, and therefore when the beating roller rotates, the three edges can provide higher friction force to drive the cloth, and the cloth generates certain stress.
Drawings
The invention will be further described with reference to the accompanying drawings.
FIG. 1 is a schematic view of the overall structure of the present invention;
FIG. 2 is a schematic view of the structure between two side plates in the present invention;
FIG. 3 is an enlarged partial view of the invention at A;
FIG. 4 is a schematic view of the construction of two side plates according to the present invention;
FIG. 5 is a schematic view of the construction of a striking roll according to the present invention;
FIG. 6 is a schematic view of the self-propelled mechanism of the present invention;
FIG. 7 is a schematic view of the structure of the insert rod of the present invention;
fig. 8 is a schematic diagram of the path of the cloth material in use of the present invention.
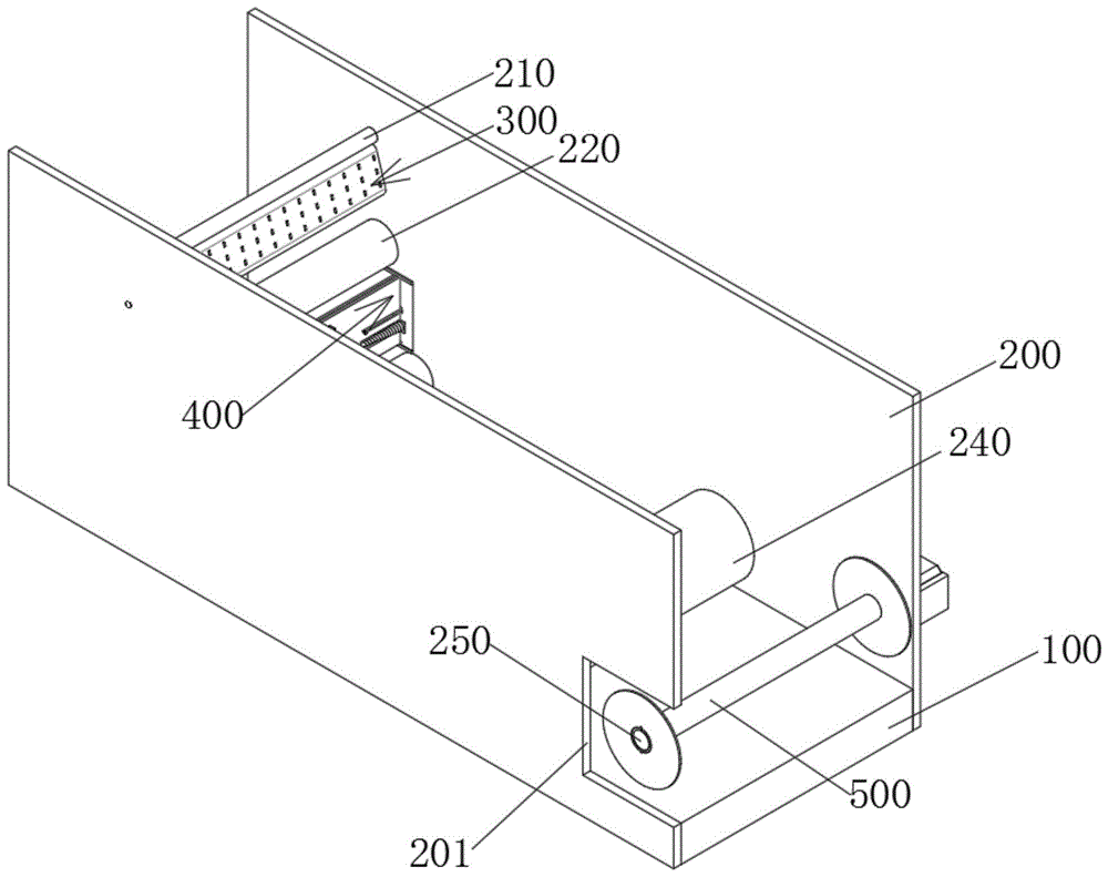
In the figure: 100. a base; 200. a side plate; 201. a fetching groove; 210. a limiting roller; 220. a rotating roller; 230. a tension roll; 240. a hollow cylinder; 250. a clamping roller; 251. a constant speed motor; 260. regulating and controlling a motor; 300. a striking roller; 310. a triangular block; 320. a connecting roller; 330. a rubber sleeve; 331. a bump; 400. a self-propelled mechanism; 410. a slide plate; 411. a rectangular groove; 420. a fixing plate; 430. a thread taper; 500. a U-shaped plate; 501. a chute; 600. collecting a cloth cylinder; 700. inserting a rod; 710. a double-strand fork head; 720. a handle.
Detailed Description
The technical solutions in the embodiments of the present invention will be clearly and completely described below with reference to the embodiments of the present invention, and it is obvious that the described embodiments are only a part of the embodiments of the present invention, and not all of the embodiments. All other embodiments, which can be derived by a person skilled in the art from the embodiments given herein without making any creative effort, shall fall within the protection scope of the present invention.
Referring to fig. 1-8, a tension-controllable fabric discharging roller set comprises a base 100, two long sides of the base 100 are fixedly connected with side plates 200, one end of each of the two side plates 200 is rotatably connected with a striking roller 300, one side of one side plate 200 is fixedly connected with a control motor 260, a motor shaft of the control motor 260 penetrates through the side wall of the adjacent side plate 200 and is fixedly connected with one end of the striking roller 300, two U-shaped plates 500 are symmetrically and fixedly connected below the side wall of the two side plates 200 which is positioned below one side of the striking roller 300, two opposite inner side walls of the two U-shaped plates 500 are respectively provided with a sliding chute 501, two symmetrical self-walking mechanisms 400 for automatically spreading fabric are slidably connected between the two U-shaped plates 500, a tension roller 230 is rotatably connected below one side of the striking roller 300, the tension roller 230 is positioned between the base 100 and the two self-walking mechanisms 400, and the other end of one side plate 200 is rotatably connected with a clamping roller 250, the clamping roller 250 is positioned at one side of the tension roller 230, one side of one side plate 200 is fixedly connected with a constant speed motor 251, a motor shaft of the constant speed motor 251 penetrates through the side wall of the adjacent side plate 200 and is fixedly connected with one end of the clamping roller 250, the clamping roller 250 is fixedly embedded with a cloth receiving barrel 600, the side wall of the other side plate 200 is provided with a fetching groove 201 at the position corresponding to the cloth receiving barrel 600, the side wall of the two side plates 200 is positioned between the tension roller 230 and the clamping roller 250 and is rotatably connected with a hollow barrel 240, one end of cloth passes through the space between two self-walking mechanisms 400 downwards above the striking roller 300 and then passes below the tension roller 230 and below the hollow barrel 240, one end of the cloth is fixed on the outer ring surface of the cloth receiving barrel 600, the constant speed motor 251 and the regulating motor 260 are started, the constant speed motor 251 pulls the cloth to pass above the striking roller 300, between the two sliding plates 410 and below the tension roller 230, at the moment, the regulating motor 260 drives the striking roller 300 to rotate so as to generate a force opposite to the moving direction of the cloth, make the cloth produce stress between beating roller 300 and pulling force roller 230, thereby adjust the stress of cloth through the power of adjusting regulation and control motor 260, and simultaneously, at cloth removal in-process, because cloth passes through between two self-propelled mechanisms 400, it rotates to drive self-propelled mechanism 400, it is spacing to make the cloth pass through hollow section of thick bamboo 240 when hollow section of thick bamboo 240, reduce the power of dragging of cloth, the outer anchor ring is driven the friction by the cloth through hollow section of thick bamboo 240, thereby reduce the vestige that the cloth produced because of following the screw thread drive, reduce the cloth pincher trees simultaneously, make the cloth can be more smooth by the rolling.
The limiting rollers 210 are arranged above the beating rollers 300, two ends of each limiting roller 210 are rotatably connected with the side walls of the adjacent side plates 200, and when the beating rollers 300 rotate to beat cloth, the limiting rollers 210 can prevent the cloth from waving due to the rotation of the beating rollers 300 above the beating rollers 300; the self-propelled mechanism 400 comprises a sliding plate 410, two ends of the sliding plate 410 are connected between two sliding grooves 501 on adjacent U-shaped plates 500 in a sliding manner through rotating shafts, four rectangular grooves 411 are symmetrically formed on the side wall of the sliding plate 410 by taking the vertical central line of the sliding plate as a reference, one ends of the four rectangular grooves 411 are fixedly connected with fixing plates 420, one sides of the four fixing plates 420 are rotatably connected with the other ends of the adjacent rectangular grooves 411, the arc-shaped surface of one side of each threaded cone 430 is parallel to one side of the sliding plate 410, and a cloth passes through a gap formed by the two sliding plates 410, so that the cloth can drive a plurality of threaded cones 430 on the two sliding plates 410 to rotate, when the cloth rotates, as one side of each threaded cone 430 is parallel to the long side of the sliding plate 410, and when the threaded cones 430 rotate, a force which moves to the thick end like a screw head is generated, so that the cloth can move between the two sliding plates 410, the cloth can automatically spread by moving to the two ends of the sliding plate 410 automatically due to the rotation of the thread cone 430; the rotating rollers 220 are rotatably connected between the striking rollers 300 and the two self-propelled mechanisms 400 on the side walls of the two side plates 200, and the rotating rollers 220 are positioned on the other side of the tension roller 230, so that the cloth between the striking rollers 300 and the tension roller 230 is linear, and the influence of the striking rollers 300 on the cloth passing through the striking rollers 300 during rotation is reduced; the beating roller 300 comprises two mirror-symmetrical triangular blocks 310, connecting rollers 320 are fixedly connected between three end portions of the two triangular blocks 310, rubber sleeves 330 are fixedly sleeved between outer cylindrical surfaces of the three connecting rollers 320, and the cross sections of the three connecting rollers 320 are distributed in a triangular shape through the three connecting rollers 320, so that when the beating roller 300 rotates, the three edges are more convenient for the beating roller 300 to drive cloth, friction force is increased, and the cloth generates certain stress.
A plurality of convex blocks 331 are uniformly and fixedly connected to the outer annular surface of the rubber sleeve 330, and the friction force between the beating roller 300 and the cloth is further improved by the contact between the convex blocks 331 and the cloth; the inserted bar 700 is arranged at one end of each of the two self-propelled mechanisms 400 in a matched manner, the inserted bar 700 comprises a handle 720, one end of each handle 720 is fixedly connected with a double-strand fork 710, each double-strand fork 710 is of a U-shaped structure, one end of each arm of each double-strand fork 710 penetrates through one side plate 200 and the side wall of the adjacent U-shaped plate 500 and is fixedly clamped with the two sliding plates 410, and the two sliding plates 410 are clamped between the two arms of each double-strand fork 710 by penetrating through one side plate 200 through the double-strand fork 710, so that the positions of the two sliding plates 410 are fixed, and the two sliding plates 410 are prevented from being dislocated and separated from the cloth due to movement of the cloth; one end of each of the two arms of the double-strand fork 710 is in a hook-shaped structure, so that the two sliding plates 410 can be conveniently separated by using the hook-shaped structure after cloth rolling is finished, and meanwhile, the hook-shaped structure can be placed on the side plate 200 to facilitate taking.
The working principle is as follows: when the cloth collecting device is used, the two sliding plates 410 are pushed to the position between the rotating roller 220 and the tension roller 230 by using the inserting rod 700, the inserting rod 700 is inserted into the through hole of the side plate 200, the two sliding plates 410 are clamped by the bifilar fork 710, the cloth collecting barrel 600 is placed between the two side plates 200 through the fetching groove 201, the cloth collecting barrel 600 is clamped on the clamping roller 250 in a sliding manner, one end of cloth winds around the upper part of the beating roller 300, penetrates through a gap between the beating roller 300 and the limiting roller 210, penetrates through the distance between the sliding plates 410 of the two self-walking mechanisms 400, winds around the lower part of the tension roller 230, winds around the lower part of the hollow barrel 240, the surface of the hollow barrel 240 is attached to the cloth, one end of the cloth is fixed on the outer ring surface of the cloth collecting barrel 600, the constant-speed motor 251 and the regulation motor 260 are started, the constant-speed motor 251 pulls the cloth to pass through the upper part of the beating roller 300, the position between the two sliding plates 410, the lower part of the tension roller 230 and the lower part of the hollow barrel 240, at this time, the control motor 260 drives the striking roller 300 to apply a force to the cloth in a direction opposite to the cloth collecting cylinder 600, so that the cloth generates a stress between the striking roller 300 and the tension roller 230, the stress of the cloth is adjusted by adjusting the power of the control motor 260, and meanwhile, in the moving process of the cloth, the cloth drives the plurality of thread cones 430 on the two sliding plates 410 to rotate as the cloth passes through a gap formed by the two sliding plates 410, and when the cloth moves between the two sliding plates 410, since one side of the thread cone 430 is parallel to the long side of the sliding plates 410, and the thread cone 430 generates a force moving to the thick end as a spiral head when rotating, the cloth moves to the two ends of the sliding plates 410 automatically due to the rotation of the thread cone 430, so that the cloth can be automatically unfolded, and can be more smoothly collected, when passing through the hollow cylinder 240, the surface of the hollow cylinder 240 combs and smoothes the cloth, so that the cloth is rolled by the cloth collecting cylinder 600.
In the description herein, references to the description of "one embodiment," "an example," "a specific example" or the like are intended to mean that a particular feature, structure, material, or characteristic described in connection with the embodiment or example is included in at least one embodiment or example of the invention. In this specification, the schematic representations of the terms used above do not necessarily refer to the same embodiment or example. Furthermore, the particular features, structures, materials, or characteristics described may be combined in any suitable manner in any one or more embodiments or examples.
The foregoing is illustrative and explanatory only and is not intended to be exhaustive or to limit the invention to the precise embodiments described, and various modifications, additions, and substitutions may be made by those skilled in the art without departing from the scope of the invention or exceeding the scope of the claims.

Claims (8)

1.一种张力可控的出布辊组,包括底座(100),其特征在于,所述底座(100)两长侧边均固定连接有侧板(200),两个所述侧板(200)一端之间转动连接有击打辊(300),且一个侧板(200)一侧固定连接有调控电机(260),所述调控电机(260)电机轴贯穿相邻侧板(200)侧壁并固定连接于击打辊(300)一端,两个所述侧板(200)侧壁位于击打辊(300)一侧下方对称固定连接有两个U型板(500),两个所述U型板(500)相对两内侧壁均开设有滑槽(501),且两个U型板(500)之间滑动连接有两个对称的用于使布料自动展开的自走机构(400),两个所述侧板(200)位于击打辊(300)一侧下方转动连接有拉力辊(230),所述拉力辊(230)位于底座(100)和两个自走机构(400)之间,且一个侧板(200)另一端转动连接有卡接辊(250),所述卡接辊(250)位于拉力辊(230)一侧,且一个侧板(200)一侧固定连接有匀速电机(251),所述匀速电机(251)电机轴贯穿相邻侧板(200)侧壁并固定连接于卡接辊(250)一端,所述卡接辊(250)固定嵌合有收布筒(600),且另一个侧板(200)侧壁位于收布筒(600)对应位置开设有取物槽(201),两个所述侧板(200)侧壁位于拉力辊(230)与卡接辊(250)之间转动连接有空心筒(240)。1. A tension-controllable cloth discharge roller group, comprising a base (100), characterized in that, two long sides of the base (100) are fixedly connected with side plates (200), and the two side plates ( 200) A beating roller (300) is rotatably connected between one end, and a regulating motor (260) is fixedly connected to one side of one side plate (200), and the motor shaft of the regulating motor (260) penetrates through the adjacent side plates (200) The side wall is fixedly connected to one end of the beating roller (300), and two U-shaped plates (500) are symmetrically and fixedly connected to the side walls of the two side plates (200) under one side of the beating roller (300). The U-shaped plates (500) are provided with sliding grooves (501) opposite to the two inner side walls, and two symmetrical self-propelled mechanisms (501) for automatically unfolding the cloth are slidably connected between the two U-shaped plates (500). 400), the two side plates (200) are located under one side of the beating roller (300) and are rotatably connected with a tension roller (230), the tension roller (230) is located at the base (100) and the two self-propelled mechanisms ( 400), and a snap roller (250) is rotatably connected to the other end of one side plate (200), the snap roller (250) is located on one side of the tension roller (230), and one side plate (200) is on one side A constant speed motor (251) is fixedly connected, and the motor shaft of the constant speed motor (251) penetrates the side wall of the adjacent side plate (200) and is fixedly connected to one end of the clamping roller (250), and the clamping roller (250) is fixedly embedded A cloth collecting cylinder (600) is combined, and the side wall of the other side plate (200) is located at a corresponding position of the cloth collecting cylinder (600) and is provided with a picking slot (201), and the side walls of the two side plates (200) are located in the tension force. A hollow cylinder (240) is rotatably connected between the roller (230) and the clamping roller (250). 2.根据权利要求1所述的一种张力可控的出布辊组,其特征在于,所述击打辊(300)上方设置有限位辊(210),且限位辊(210)两端与相邻侧板(200)侧壁转动连接。2 . The tension-controllable cloth discharge roller set according to claim 1 , wherein a limit roller ( 210 ) is arranged above the beating roller ( 300 ), and both ends of the limit roller ( 210 ) It is rotatably connected with the side wall of the adjacent side plate (200). 3.根据权利要求1所述的一种张力可控的出布辊组,其特征在于,所述自走机构(400)包括滑板(410),且滑板(410)两端通过转轴滑动连接于相邻U型板(500)上两个滑槽(501)之间,所述滑板(410)侧壁以其竖直中心线为基准对称开设有四个矩形槽(411),四个所述矩形槽(411)一端均固定连接有固定板(420),且四个固定板(420)一侧均与相邻矩形槽(411)另一端之间转动连接有倾斜布置的螺纹圆锥(430),且螺纹圆锥(430)一侧弧形面平行于滑板(410)一侧。3. The tension-controllable cloth discharge roller set according to claim 1, wherein the self-propelled mechanism (400) comprises a sliding plate (410), and both ends of the sliding plate (410) are slidably connected to the sliding shaft through a rotating shaft. Between the two chutes (501) on the adjacent U-shaped plates (500), four rectangular grooves (411) are symmetrically opened on the side wall of the sliding plate (410) with its vertical centerline as the reference. One end of the rectangular groove (411) is fixedly connected with a fixing plate (420), and one side of the four fixing plates (420) and the other end of the adjacent rectangular groove (411) are rotatably connected with inclinedly arranged threaded cones (430) , and the arc surface on one side of the thread cone (430) is parallel to the side of the slide plate (410). 4.根据权利要求3所述的一种张力可控的出布辊组,其特征在于,两个所述侧板(200)侧壁位于击打辊(300)与两个自走机构(400)之间转动连接有转动辊(220),且转动辊(220)位于拉力辊(230)另一侧。4. The tension-controllable cloth discharge roller set according to claim 3, wherein the two side walls of the side plates (200) are located between the beating roller (300) and the two self-propelled mechanisms (400). A rotating roller (220) is rotatably connected between ), and the rotating roller (220) is located on the other side of the tension roller (230). 5.根据权利要求1所述的一种张力可控的出布辊组,其特征在于,所述击打辊(300)包括两个镜像对称的三角块(310),且两个三角块(310)三个端部之间均固定连接有连接辊(320),三个所述连接辊(320)外柱面之间固定套接有橡胶套(330)。5. The tension-controllable cloth discharge roller set according to claim 1, wherein the beating roller (300) comprises two mirror-symmetrical triangular blocks (310), and the two triangular blocks ( 310) A connecting roller (320) is fixedly connected between the three ends, and a rubber sleeve (330) is fixedly sleeved between the outer cylindrical surfaces of the three connecting rollers (320). 6.根据权利要求5所述的一种张力可控的出布辊组,其特征在于,所述橡胶套(330)外环面均匀固定连接有多个凸块(331)。6 . The tension-controllable cloth discharge roller set according to claim 5 , wherein a plurality of bumps ( 331 ) are evenly and fixedly connected to the outer annular surface of the rubber sleeve ( 330 ). 7 . 7.根据权利要求1所述的一种张力可控的出布辊组,其特征在于,两个所述自走机构(400)一端配套设置有插杆(700),所述插杆(700)包括手柄(720),且手柄(720)一端固定连接有双股叉头(710),所述双股叉头(710)为U型结构,且双股叉头(710)两臂一端均贯穿一个侧板(200)侧壁和相邻U型板(500)侧壁并与两个滑板(410)固定卡接。7. The tension-controllable cloth discharge roller set according to claim 1, wherein one end of the two self-propelled mechanisms (400) is provided with an insertion rod (700), and the insertion rod (700) ) comprises a handle (720), and one end of the handle (720) is fixedly connected with a double fork (710), the double fork (710) is a U-shaped structure, and one end of both arms of the double fork (710) is It penetrates through the side wall of one side plate (200) and the side wall of the adjacent U-shaped plate (500) and is fixedly clamped with the two sliding plates (410). 8.根据权利要求7所述的一种张力可控的出布辊组,其特征在于,所述双股叉头(710)两臂一端均为钩状结构。8. The tension-controllable cloth discharge roller set according to claim 7, characterized in that, both ends of the two arms of the double fork (710) are hook-shaped structures.
CN202111183486.3A 2021-06-21 2021-10-11 Cloth outlet roller set with controllable tension Active CN113879882B (en)

Applications Claiming Priority (2)

Application Number Priority Date Filing Date Title
CN2021106839960 2021-06-21
CN202110683996 2021-06-21

Publications (2)

Publication Number Publication Date
CN113879882A true CN113879882A (en) 2022-01-04
CN113879882B CN113879882B (en) 2024-03-22

Family

ID=79006126

Family Applications (1)

Application Number Title Priority Date Filing Date
CN202111183486.3A Active CN113879882B (en) 2021-06-21 2021-10-11 Cloth outlet roller set with controllable tension

Country Status (1)

Country Link
CN (1) CN113879882B (en)

Cited By (1)

* Cited by examiner, † Cited by third party
Publication number Priority date Publication date Assignee Title
CN115125819A (en) * 2022-08-04 2022-09-30 航大联合(北京)科技有限公司 Crawler-type road surface vehicle

Citations (3)

* Cited by examiner, † Cited by third party
Publication number Priority date Publication date Assignee Title
CN105502054A (en) * 2016-01-15 2016-04-20 浙江百得利制革有限公司 Leather doffing mechanism
CN110155782A (en) * 2019-06-03 2019-08-23 海宁东长针织化工有限公司 A kind of cloth inspecting machine
CN210946210U (en) * 2019-11-05 2020-07-07 浙江智兴集团有限公司 Cloth inspecting machine

Patent Citations (3)

* Cited by examiner, † Cited by third party
Publication number Priority date Publication date Assignee Title
CN105502054A (en) * 2016-01-15 2016-04-20 浙江百得利制革有限公司 Leather doffing mechanism
CN110155782A (en) * 2019-06-03 2019-08-23 海宁东长针织化工有限公司 A kind of cloth inspecting machine
CN210946210U (en) * 2019-11-05 2020-07-07 浙江智兴集团有限公司 Cloth inspecting machine

Cited By (1)

* Cited by examiner, † Cited by third party
Publication number Priority date Publication date Assignee Title
CN115125819A (en) * 2022-08-04 2022-09-30 航大联合(北京)科技有限公司 Crawler-type road surface vehicle

Also Published As

Publication number Publication date
CN113879882B (en) 2024-03-22

Similar Documents

Publication Publication Date Title
CN113879882A (en) Tension-controllable cloth discharging roller set
CN205739735U (en) A kind of cable recovering apparatus
CN110217634A (en) It is a kind of with automatically around the batcher of cloth function
KR20090009808U (en) A sea squirt separate auto machine
CN208485340U (en) A kind of uncoiling machine
CN109969829B (en) Small cloth rolling machine
CN209065112U (en) A kind of discharging device of uncoiling machine
CN208964170U (en) A kind of uncoiling machine
CN214455403U (en) A collection and stacking device for producing thread yarn paper
CN116692543A (en) A textile fabric curler
CN206702395U (en) A kind of welding wire silk putting machine
CN211283033U (en) A cloth reel for textile machinery
CN222257478U (en) Textile drying equipment for clothing processing
CN218201320U (en) Silk processing is with rolling deviation correcting device
CN111691086B (en) Send rope device and embroidery machine
CN115262130B (en) A dyeing device for cotton yarn spinning
CN221777336U (en) A construction laying device
CN221051084U (en) Novel cloth wind-up roll
CN219278974U (en) Equipment for producing geomembrane
CN216945539U (en) Cloth tension adjusting mechanism for cloth opener
CN222907096U (en) Plastic film winding device
CN220351341U (en) Silk thread unreeling device for polyester fabric processing
CN223133806U (en) Storage device for connecting wire of electric acupuncture apparatus
CN218262937U (en) Cotton thread surface fluff treatment device during spinning
CN215159947U (en) A kind of anti-accumulation device for chemical fiber yarn production

Legal Events

Date Code Title Description
PB01 Publication
PB01 Publication
SE01 Entry into force of request for substantive examination
SE01 Entry into force of request for substantive examination
GR01 Patent grant
GR01 Patent grant
PE01 Entry into force of the registration of the contract for pledge of patent right

Denomination of invention: A tension-controlled fabric delivery roller group

Granted publication date: 20240322

Pledgee: Yangzhou Branch of Bank of Nanjing Co.,Ltd.

Pledgor: JIANGSU FUANTE TEXTILE MACHINERY MANUFACTURING Co.,Ltd.

Registration number: Y2026980001445