CN113860629A - Building sewage treatment environment-friendly device - Google Patents

Building sewage treatment environment-friendly device Download PDF

Info

Publication number
CN113860629A
CN113860629A CN202010620970.7A CN202010620970A CN113860629A CN 113860629 A CN113860629 A CN 113860629A CN 202010620970 A CN202010620970 A CN 202010620970A CN 113860629 A CN113860629 A CN 113860629A
Authority
CN
China
Prior art keywords
chamber
sewage
desilting
sewage treatment
water outlet
Prior art date
Legal status (The legal status is an assumption and is not a legal conclusion. Google has not performed a legal analysis and makes no representation as to the accuracy of the status listed.)
Pending
Application number
CN202010620970.7A
Other languages
Chinese (zh)
Inventor
张岩
张彦林
王永强
Current Assignee (The listed assignees may be inaccurate. Google has not performed a legal analysis and makes no representation or warranty as to the accuracy of the list.)
FOURTH INSTITUTE OF NUCLEAR ENGINEERING OF CNNC
Original Assignee
FOURTH INSTITUTE OF NUCLEAR ENGINEERING OF CNNC
Priority date (The priority date is an assumption and is not a legal conclusion. Google has not performed a legal analysis and makes no representation as to the accuracy of the date listed.)
Filing date
Publication date
Application filed by FOURTH INSTITUTE OF NUCLEAR ENGINEERING OF CNNC filed Critical FOURTH INSTITUTE OF NUCLEAR ENGINEERING OF CNNC
Priority to CN202010620970.7A priority Critical patent/CN113860629A/en
Priority to AU2020101675A priority patent/AU2020101675A4/en
Publication of CN113860629A publication Critical patent/CN113860629A/en
Pending legal-status Critical Current

Links

Images

Classifications

    • CCHEMISTRY; METALLURGY
    • C02TREATMENT OF WATER, WASTE WATER, SEWAGE, OR SLUDGE
    • C02FTREATMENT OF WATER, WASTE WATER, SEWAGE, OR SLUDGE
    • C02F9/00Multistage treatment of water, waste water or sewage
    • CCHEMISTRY; METALLURGY
    • C02TREATMENT OF WATER, WASTE WATER, SEWAGE, OR SLUDGE
    • C02FTREATMENT OF WATER, WASTE WATER, SEWAGE, OR SLUDGE
    • C02F11/00Treatment of sludge; Devices therefor
    • C02F11/02Biological treatment
    • CCHEMISTRY; METALLURGY
    • C02TREATMENT OF WATER, WASTE WATER, SEWAGE, OR SLUDGE
    • C02FTREATMENT OF WATER, WASTE WATER, SEWAGE, OR SLUDGE
    • C02F1/00Treatment of water, waste water, or sewage
    • C02F1/001Processes for the treatment of water whereby the filtration technique is of importance
    • CCHEMISTRY; METALLURGY
    • C02TREATMENT OF WATER, WASTE WATER, SEWAGE, OR SLUDGE
    • C02FTREATMENT OF WATER, WASTE WATER, SEWAGE, OR SLUDGE
    • C02F1/00Treatment of water, waste water, or sewage
    • C02F1/52Treatment of water, waste water, or sewage by flocculation or precipitation of suspended impurities
    • CCHEMISTRY; METALLURGY
    • C02TREATMENT OF WATER, WASTE WATER, SEWAGE, OR SLUDGE
    • C02FTREATMENT OF WATER, WASTE WATER, SEWAGE, OR SLUDGE
    • C02F2301/00General aspects of water treatment
    • C02F2301/08Multistage treatments, e.g. repetition of the same process step under different conditions
    • CCHEMISTRY; METALLURGY
    • C02TREATMENT OF WATER, WASTE WATER, SEWAGE, OR SLUDGE
    • C02FTREATMENT OF WATER, WASTE WATER, SEWAGE, OR SLUDGE
    • C02F3/00Biological treatment of water, waste water, or sewage
    • CCHEMISTRY; METALLURGY
    • C02TREATMENT OF WATER, WASTE WATER, SEWAGE, OR SLUDGE
    • C02FTREATMENT OF WATER, WASTE WATER, SEWAGE, OR SLUDGE
    • C02F3/00Biological treatment of water, waste water, or sewage
    • C02F3/28Anaerobic digestion processes
    • YGENERAL TAGGING OF NEW TECHNOLOGICAL DEVELOPMENTS; GENERAL TAGGING OF CROSS-SECTIONAL TECHNOLOGIES SPANNING OVER SEVERAL SECTIONS OF THE IPC; TECHNICAL SUBJECTS COVERED BY FORMER USPC CROSS-REFERENCE ART COLLECTIONS [XRACs] AND DIGESTS
    • Y02TECHNOLOGIES OR APPLICATIONS FOR MITIGATION OR ADAPTATION AGAINST CLIMATE CHANGE
    • Y02WCLIMATE CHANGE MITIGATION TECHNOLOGIES RELATED TO WASTEWATER TREATMENT OR WASTE MANAGEMENT
    • Y02W10/00Technologies for wastewater treatment
    • Y02W10/20Sludge processing

Landscapes

  • Life Sciences & Earth Sciences (AREA)
  • Hydrology & Water Resources (AREA)
  • Engineering & Computer Science (AREA)
  • Environmental & Geological Engineering (AREA)
  • Water Supply & Treatment (AREA)
  • Chemical & Material Sciences (AREA)
  • Organic Chemistry (AREA)
  • Health & Medical Sciences (AREA)
  • Molecular Biology (AREA)
  • Activated Sludge Processes (AREA)
  • Biological Treatment Of Waste Water (AREA)

Abstract

本发明公开一种建筑污水处理环保装置,包括依次连接的建筑污水管道、沉积除泥系统、过滤器组和净化杀菌池,沉积除泥系统包括除泥室和污水收集室,除泥室内部盛放有填料,且除泥室内位于填料下方均布有若干曝气机构,除泥室的下部靠近曝气机构的一侧开通有与污水收集室连通的出水口,除泥室的底部连通有排泥管道,填料上接种有红线虫或水蚯蚓;污水收集室的出水口与过滤器组连接,净化杀菌池的出水口连通排水管道。利用红线虫或水蚯蚓使剩余污泥能够低成本的资源化,减少污水处理产生的二次污染;同时,该装置使用方便,在提高处理效率的同时降低水处理能耗,减少建筑物处理废水的投资成本;还保证废水经处理工艺后能够达到污水回用标准。

Figure 202010620970

The invention discloses an environmental protection device for construction sewage treatment. Filling is placed, and several aeration mechanisms are evenly distributed under the filler in the desilting chamber. The side of the lower part of the desilting chamber close to the aeration mechanism is opened with a water outlet that communicates with the sewage collection chamber, and the bottom of the desilting chamber is connected to a drain. The mud pipe is inoculated with red nematodes or water worms on the filler; the water outlet of the sewage collection chamber is connected to the filter group, and the water outlet of the purification and sterilization tank is connected to the drainage pipe. The use of red nematodes or water worms can make the remaining sludge to be recycled at low cost and reduce the secondary pollution caused by sewage treatment; at the same time, the device is easy to use, improves the treatment efficiency, reduces the energy consumption of water treatment, and reduces the waste water from building treatment. It also ensures that the wastewater can meet the wastewater reuse standard after being treated.

Figure 202010620970

Description

Building sewage treatment environment-friendly device
Technical Field
The invention relates to the technical field of sewage treatment, in particular to a building sewage treatment environment-friendly device.
Background
The existing building sewage treatment system mainly focuses on the aspect of water conservation, and has the defect that on one hand, energy brought by sewage is ignored, so that the sewage energy cannot be fully utilized. In addition, at present, the treatment of domestic sewage of buildings mainly adopts a secondary sedimentation tank and a biomembrane treatment method, but the methods do not solve the problems of recycled water quality, reasonable arrangement of building sites, beautiful appearance and the like; and a large amount of excess sludge is generated in the existing building sewage treatment system, and the treatment of the excess sludge is also a difficult problem of the current environmental management.
Disclosure of Invention
The invention aims to provide a building sewage treatment environment-friendly device, which is used for solving the problems in the prior art, saving water resources, reducing the consumption of domestic water, enabling the treated sewage to meet the relevant requirements and avoiding the problem of blockage caused by sludge deposition.
In order to achieve the purpose, the invention provides the following scheme: the invention provides a building sewage treatment environment-friendly device which comprises a building sewage pipeline, a deposition desilting system, a filter group and a purification sterilization pool which are sequentially connected, wherein the deposition desilting system comprises a desilting chamber and a sewage collection chamber, filler is contained in the desilting chamber, a plurality of aeration mechanisms are uniformly distributed in the desilting chamber below the filler, a water outlet communicated with the sewage collection chamber is formed in one side, close to the aeration mechanisms, of the lower part of the desilting chamber, a sludge discharge pipeline is communicated with the bottom of the desilting chamber, and red nematodes or tubificidae are inoculated on the filler; the water outlet of the sewage collection chamber is connected with the filter group, and the water outlet of the purification and sterilization tank is communicated with a drainage pipeline.
Preferably, a first filter screen is arranged in the building sewage pipeline.
Preferably, the filler is hollow spherical filler or fiber filler, and the aeration mechanism is a disc-shaped or tubular aerator.
Preferably, an overflow chamber is arranged at the water outlet of the sludge removal chamber, the water outlet of the sludge removal chamber is communicated with the bottom of the overflow chamber, and the top overflow outlet of the overflow chamber is connected with the upper water inlet of the sewage collection chamber.
Preferably, the water outlet of the sewage collecting chamber is connected with the filter group through a pipeline, and a circulating pump is installed on the pipeline; and the water inlet and the water outlet of the sewage collecting chamber are respectively positioned at two sides of the sewage collecting chamber.
Preferably, the filter group comprises a septic tank, a regulating tank, a hydrolysis acidification tank, a contact oxidation tank and a sedimentation tank which are connected in sequence.
Preferably, the sewage treatment system further comprises a rainwater receiver, the bottom of the rainwater receiver is converged with the tail end of the building sewage pipeline, and the converged mixed liquid flows into the mud removing chamber.
Preferably, the rainwater receiver is funnel-shaped, and a second filter screen is arranged in the funnel-shaped rainwater receiver.
Compared with the prior art, the invention has the following beneficial technical effects:
the environment-friendly device for treating the building sewage utilizes the characteristic that red nematodes or tubificidae eat organic matters to treat the sludge, can treat excess sludge generated by sewage treatment, can recycle the excess sludge at low cost, and reduces secondary pollution generated by sewage treatment; meanwhile, the device is convenient to use, not only saves water resources and reduces the consumption of domestic water, but also reduces the energy consumption of water treatment and reduces the investment cost of wastewater treatment of buildings while improving the treatment efficiency; and the wastewater can reach the sewage reuse standard after the treatment process.
Drawings
In order to more clearly illustrate the embodiments of the present invention or the technical solutions in the prior art, the drawings needed in the embodiments will be briefly described below, and it is obvious that the drawings in the following description are only some embodiments of the present invention, and it is obvious for those skilled in the art to obtain other drawings without creative efforts.
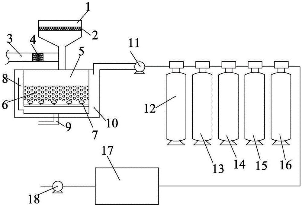
FIG. 1 is a schematic view of the overall structure of a building sewage treatment environment-friendly device;
wherein, 1 a rain water receiver; 2 a second filter screen; 3 building sewage pipelines; 4, a first filter screen; 5 a mud removing chamber; 6, filling; 7 an aeration mechanism; 8 an overflow chamber; 9 a sludge discharge pipeline; 10 a sewage collection chamber; 11 circulating pump I; 12, a septic tank; 13, a regulating pool; 14, a hydrolysis acidification pool; 15 contacting the oxidation pond; 16 a sedimentation tank; 17 purifying and sterilizing the pond; and 18, a second circulating pump.
Detailed Description
The technical solutions in the embodiments of the present invention will be clearly and completely described below with reference to the drawings in the embodiments of the present invention, and it is obvious that the described embodiments are only a part of the embodiments of the present invention, and not all of the embodiments. All other embodiments, which can be derived by a person skilled in the art from the embodiments given herein without making any creative effort, shall fall within the protection scope of the present invention.
The invention aims to provide a building sewage treatment environment-friendly device, which is used for solving the problems in the prior art, saving water resources, reducing the consumption of domestic water, enabling the treated sewage to meet the relevant requirements and avoiding the problem of blockage caused by sludge deposition.
In order to make the aforementioned objects, features and advantages of the present invention comprehensible, embodiments accompanied with figures are described in further detail below.
As shown in fig. 1, the embodiment provides an environmental protection device for building sewage treatment, which comprises a building sewage pipeline 3, a sedimentation sludge removal system, a filter group and a purification and sterilization tank 17 which are connected in sequence, wherein the sedimentation sludge removal system comprises a sludge removal chamber 5 and a sewage collection chamber 10, a filler 6 is contained in the sludge removal chamber 5, a plurality of aeration mechanisms 7 are uniformly distributed below the filler 6 in the sludge removal chamber 5, a water outlet communicated with the sewage collection chamber 10 is formed in one side of the lower part of the sludge removal chamber 5, which is close to the aeration mechanisms 7, a sludge discharge pipeline 9 is communicated with the bottom of the sludge removal chamber 5, and red nematodes or tubificidae are inoculated on the filler 6; the water outlet of the sewage collecting chamber 10 is connected with the filter group, and the water outlet of the purifying and sterilizing tank 17 is communicated with the drainage pipeline.
According to the building sewage treatment environment-friendly device provided by the embodiment, building sewage enters the sludge removal chamber 5 through the building sewage pipeline 3, and during the continuous discharge process of the building sewage, sludge in the sewage is deposited in the sludge removal chamber 5, and the device is used for sludge treatment by utilizing the characteristic that red nematodes or tubificidae eat organic matters, so that residual sludge generated by sewage treatment can be treated, the residual sludge can be recycled at low cost, and secondary pollution generated by sewage treatment is reduced; the residual sludge is discharged from a sludge discharge pipeline 9, the sewage in the sludge removal chamber 5 which passes through the filler 6 and the aeration mechanism 7 flows into a sewage collection chamber 10 from a water outlet, the water outlet of the sewage collection chamber 10 is connected with a filter group, and the water outlet of the purification and sterilization tank 17 is communicated with a drainage pipeline to finish the treatment of the building sewage.
On the basis of the above embodiment, further, the embodiment provides a building sewage treatment environmental protection device, a first filter screen 4 is arranged in the building sewage pipeline 3, and is used for filtering solid impurities with large particle size in the building sewage pipeline 3, and preventing the solid impurities with large particle size from entering a subsequent treatment system to cause phenomena such as blockage.
Further, in the present embodiment, the filler 6 is a hollow spherical filler or a fiber filler, and the aeration mechanism 7 is a disk-shaped or tubular aerator. The filler 6 is uniformly distributed in the mud removing chamber 5, the aeration mechanism 7 is arranged at the lower part of the mud removing chamber 5, the aeration mechanism 7 comprises a continuous mild aeration mode and an intermittent pulse aeration mode, the continuous mild aeration mode is provided for providing oxygen for the red nematodes and promoting the material exchange, the intermittent pulse aeration mode is provided for leading the surplus red nematodes to fall off from the filler 6 and discharging the surplus red nematodes through the mud discharging pipeline 9.
According to the environment-friendly device for treating the building sewage, the first filter screen 4 is arranged in the building sewage pipeline 3, so that the phenomena of blockage and the like caused by the fact that solid impurities with large particle sizes enter a subsequent treatment system can be prevented; meanwhile, the filler 6 and the aeration mechanism 7 are used in the mud removing chamber 5 to act on the red nematode, so that the efficiency of treating excess sludge generated by sewage treatment can be improved, and the excess sludge can be recycled at low cost, thereby reducing the treatment cost of the excess sludge and reducing the secondary pollution generated by sewage treatment.
On the basis of the above embodiment, further, this embodiment provides a building sewage treatment environment-friendly device, and the delivery port department of desilting room 5 is provided with overflow chamber 8, and the delivery port of desilting room 5 communicates with the bottom of overflow chamber 8, and the top overflow export of overflow chamber 8 links to each other with the upper portion water inlet of sewage collection room 10. A water outlet of the sewage collecting chamber 10 is connected with the filter group through a pipeline, and a first circulating pump 11 is installed on the pipeline; the water inlet and the water outlet of the sewage collecting chamber 10 are respectively positioned at two sides of the sewage collecting chamber 10. The filter group comprises a septic tank 12, a regulating tank 13, a hydrolysis acidification tank 14, a contact oxidation tank 15 and a sedimentation tank 16 which are connected in sequence.
The sewage treated by the sedimentation and mud removal system is collected into the septic tank 12 through a pipeline, the sewage in the septic tank 12 is lifted into the regulating tank 13 through a sewage pipeline and a sewage pump, the regulating tank 13 regulates the water quality of the sewage to facilitate subsequent treatment, the regulated sewage in the regulating tank 13 is lifted into the hydrolysis and acidification tank 14 through the sewage pipeline and the sewage pump, the hydrolysis and acidification tank 14 can remove part of organic pollutants and effectively improve the biodegradability of the sewage, the subsequent treatment is facilitated, the water treated in the hydrolysis and acidification tank 14 is lifted into the contact oxidation tank 15 through the sewage pipeline and the sewage pump to further degrade impurities, the water treated in the contact oxidation tank 15 is lifted into the sedimentation tank 16 to be separated, the supernatant is lifted into the purification and sterilization tank 17 to be sterilized and disinfected, and the water quality is detected by the detection device after the treatment, after the water quality is detected to be qualified, the circulating pump II 18 is communicated with a drainage pipeline to discharge the treated water to a municipal sewage network management system or be used for irrigation and the like.
According to the environment-friendly device for treating the building sewage, the overflow chamber 8 is arranged at the water outlet of the sludge removal chamber 5, so that not only can the sludge be prevented from entering the sewage collection chamber 10, but also the secondary sedimentation effect on the sewage can be achieved, and the sludge content of the sewage entering the sewage collection chamber 10 is ensured to be reduced; meanwhile, compared with the treatment only by adopting the septic tank 12, the adjusting tank 13, the hydrolysis acidification tank 14, the contact oxidation tank 15, the sedimentation tank 16 and the purification tank are arranged, the treatment period is effectively shortened, the treatment efficiency is improved, and the treated water quality can reach the discharge standard.
On the basis of the above embodiment, further, the embodiment provides an environment-friendly device for treating building sewage, further comprising a rainwater receiver 1, wherein the bottom of the rainwater receiver 1 is converged with the tail end of the building sewage pipeline 3, and the converged mixed liquid flows into the mud removing chamber 5. The rainwater receiver 1 is funnel-shaped, and a second filter screen 2 is arranged in the funnel-shaped rainwater receiver 1.
In the environmental protection device for building sewage treatment provided in the embodiment, rainwater and building sewage collected by the rainwater receiver 1 flow into the sewage treatment device, the rainwater and the building sewage in the desilting chamber 5 are mixed to form a mixed solution and are deposited, and the sewage subjected to desilting treatment overflows from the desilting chamber 5 to the sewage collection chamber 10, so that water resources are saved, the consumption of domestic water is reduced, the energy consumption of water treatment is reduced while the treatment efficiency is improved, and the investment cost of wastewater treatment of buildings is reduced; and the wastewater can reach the sewage reuse standard after the treatment process.
It will be evident to those skilled in the art that the invention is not limited to the details of the foregoing illustrative embodiments, and that the present invention may be embodied in other specific forms without departing from the spirit or essential attributes thereof. The present embodiments are therefore to be considered in all respects as illustrative and not restrictive, the scope of the invention being indicated by the appended claims rather than by the foregoing description, and all changes which come within the meaning and range of equivalency of the claims are therefore intended to be embraced therein, and any reference signs in the claims are not intended to be construed as limiting the claim concerned.
The principle and the implementation mode of the invention are explained by applying a specific example, and the description of the embodiment is only used for helping to understand the method and the core idea of the invention; meanwhile, for a person skilled in the art, according to the idea of the present invention, the specific embodiments and the application range may be changed. In view of the above, the present disclosure should not be construed as limiting the invention.

Claims (8)

1.一种建筑污水处理环保装置,其特征在于:包括依次连接的建筑污水管道、沉积除泥系统、过滤器组和净化杀菌池,所述沉积除泥系统包括除泥室和污水收集室,所述除泥室内部盛放有填料,且所述除泥室内位于所述填料下方均布有若干曝气机构,所述除泥室的下部靠近所述曝气机构的一侧开通有与所述污水收集室连通的出水口,所述除泥室的底部连通有排泥管道,所述填料上接种有红线虫或水蚯蚓;所述污水收集室的出水口与所述过滤器组连接,所述净化杀菌池的出水口连通排水管道。1. a construction sewage treatment environmental protection device, it is characterized in that: comprise successively connected construction sewage pipelines, deposition desilting system, filter group and purification and sterilization tank, described deposition desilting system comprises desilting chamber and sewage collection chamber, The inside of the desilting chamber is filled with fillers, and several aeration mechanisms are evenly distributed in the desilting chamber below the fillers. The water outlet communicated with the sewage collection chamber, the bottom of the desilting chamber is connected with a sludge discharge pipe, and the filler is inoculated with red nematodes or water worms; the water outlet of the sewage collection chamber is connected with the filter group, The water outlet of the purification and sterilization tank is connected with the drainage pipe. 2.根据权利要求1所述的建筑污水处理环保装置,其特征在于:所述建筑污水管道内设置有第一滤网。2 . The environmental protection device for construction sewage treatment according to claim 1 , wherein a first filter screen is arranged in the construction sewage pipeline. 3 . 3.根据权利要求1所述的建筑污水处理环保装置,其特征在于:所述填料为镂空球状填料或者纤维填料,所述曝气机构为盘状或管状曝气器。3 . The environmental protection device for construction sewage treatment according to claim 1 , wherein the filler is a hollow spherical filler or a fiber filler, and the aeration mechanism is a disc-shaped or tubular aerator. 4 . 4.根据权利要求1所述的建筑污水处理环保装置,其特征在于:所述除泥室的出水口处设置有溢流室,所述除泥室的出水口与所述溢流室的底部连通,所述溢流室的顶部溢流出口与所述污水收集室的上部进水口相连。4 . The environmental protection device for construction sewage treatment according to claim 1 , wherein an overflow chamber is provided at the water outlet of the desilting chamber, and the water outlet of the desilting chamber is connected to the bottom of the overflow chamber. 5 . The top overflow outlet of the overflow chamber is connected with the upper water inlet of the sewage collection chamber. 5.根据权利要求4所述的建筑污水处理环保装置,其特征在于:所述污水收集室的出水口与所述过滤器组通过管道连接,且该管道上安装有循环泵;所述污水收集室的进水口和出水口分别位于污水收集室的两侧。5. The environmental protection device for construction sewage treatment according to claim 4, wherein the water outlet of the sewage collection chamber is connected with the filter group through a pipeline, and a circulating pump is installed on the pipeline; the sewage collection The water inlet and outlet of the chamber are located on both sides of the sewage collection chamber, respectively. 6.根据权利要求5所述的建筑污水处理环保装置,其特征在于:所述过滤器组包括依次连接的化粪池、调节池、水解酸化池、接触氧化池和沉淀池。6 . The environmental protection device for construction sewage treatment according to claim 5 , wherein the filter group comprises a septic tank, a regulating tank, a hydrolysis and acidification tank, a contact oxidation tank and a sedimentation tank which are connected in sequence. 7 . 7.根据权利要求1所述的建筑污水处理环保装置,其特征在于:还包括雨水接收器,所述雨水接收器的底部与所述建筑污水管道的末端相汇流,汇流后的混合液流入所述除泥室内。7. The environmental protection device for construction sewage treatment according to claim 1, characterized in that: further comprising a rainwater receiver, the bottom of the rainwater receiver and the end of the construction sewage pipe are confluent, and the mixed liquid after the confluence flows into the described in the desilting room. 8.根据权利要求7所述的建筑污水处理环保装置,其特征在于:所述雨水接收器呈漏斗状,且漏斗状的所述雨水接收器内设置有第二滤网。8 . The environmental protection device for construction sewage treatment according to claim 7 , wherein the rainwater receiver is in a funnel shape, and a second filter screen is arranged in the funnel-shaped rainwater receiver. 9 .
CN202010620970.7A 2020-06-30 2020-06-30 Building sewage treatment environment-friendly device Pending CN113860629A (en)

Priority Applications (2)

Application Number Priority Date Filing Date Title
CN202010620970.7A CN113860629A (en) 2020-06-30 2020-06-30 Building sewage treatment environment-friendly device
AU2020101675A AU2020101675A4 (en) 2020-06-30 2020-08-05 Environmental protection device for construction sewage treatment

Applications Claiming Priority (1)

Application Number Priority Date Filing Date Title
CN202010620970.7A CN113860629A (en) 2020-06-30 2020-06-30 Building sewage treatment environment-friendly device

Publications (1)

Publication Number Publication Date
CN113860629A true CN113860629A (en) 2021-12-31

Family

ID=72432499

Family Applications (1)

Application Number Title Priority Date Filing Date
CN202010620970.7A Pending CN113860629A (en) 2020-06-30 2020-06-30 Building sewage treatment environment-friendly device

Country Status (2)

Country Link
CN (1) CN113860629A (en)
AU (1) AU2020101675A4 (en)

Families Citing this family (5)

* Cited by examiner, † Cited by third party
Publication number Priority date Publication date Assignee Title
CN113860629A (en) * 2020-06-30 2021-12-31 中核第四研究设计工程有限公司 Building sewage treatment environment-friendly device
CN113213717A (en) * 2021-06-21 2021-08-06 杭州余杭城西净水有限公司 Method for killing red nematodes in sewage treatment system
CN113639855A (en) * 2021-07-30 2021-11-12 吴洪亮 Traffic environment noise monitoring decibel is crashproof fixing device for appearance
CN118561346B (en) * 2024-05-24 2024-11-08 无棣县芦家河子供水服务有限公司 A water resource purification and treatment device
CN120463339B (en) * 2025-05-14 2025-11-14 广东荣杰环保工程有限公司 Integrated domestic sewage anaerobic fermentation purifier

Citations (7)

* Cited by examiner, † Cited by third party
Publication number Priority date Publication date Assignee Title
GB9302414D0 (en) * 1992-02-28 1993-03-24 Ueda Iwao Sewage treatment apparatus with activated sludge process bed
CN101671103A (en) * 2009-09-24 2010-03-17 浙江工商大学 Contact type tubificidae sludge decrement reactor and application thereof
CN102285744A (en) * 2011-06-03 2011-12-21 浙江博世华环保科技有限公司 Treatment process and system of sludge from wastewater treatment plant
CN209161767U (en) * 2018-10-24 2019-07-26 天津吉天建筑工程有限公司 A kind of green building sewage-treatment plant
CN110697980A (en) * 2019-10-22 2020-01-17 西安工业大学 Urban building sewage treatment system and treatment method and filter element material preparation process
CN210595517U (en) * 2019-08-06 2020-05-22 陈鑫 Waste water treatment device for building engineering
AU2020101675A4 (en) * 2020-06-30 2020-09-17 The Fourth Research and Design Engineering Corporation of China National Nuclear Corporation Environmental protection device for construction sewage treatment

Patent Citations (7)

* Cited by examiner, † Cited by third party
Publication number Priority date Publication date Assignee Title
GB9302414D0 (en) * 1992-02-28 1993-03-24 Ueda Iwao Sewage treatment apparatus with activated sludge process bed
CN101671103A (en) * 2009-09-24 2010-03-17 浙江工商大学 Contact type tubificidae sludge decrement reactor and application thereof
CN102285744A (en) * 2011-06-03 2011-12-21 浙江博世华环保科技有限公司 Treatment process and system of sludge from wastewater treatment plant
CN209161767U (en) * 2018-10-24 2019-07-26 天津吉天建筑工程有限公司 A kind of green building sewage-treatment plant
CN210595517U (en) * 2019-08-06 2020-05-22 陈鑫 Waste water treatment device for building engineering
CN110697980A (en) * 2019-10-22 2020-01-17 西安工业大学 Urban building sewage treatment system and treatment method and filter element material preparation process
AU2020101675A4 (en) * 2020-06-30 2020-09-17 The Fourth Research and Design Engineering Corporation of China National Nuclear Corporation Environmental protection device for construction sewage treatment

Also Published As

Publication number Publication date
AU2020101675A4 (en) 2020-09-17

Similar Documents

Publication Publication Date Title
CN113860629A (en) Building sewage treatment environment-friendly device
CN204824550U (en) A device for rural domestic sewage treatment
CN104445821B (en) Process combination system and method for integrated treatment of slightly polluted raw water
CN209507918U (en) A kind of sewage-treatment plant suitable for sewage disposal of hospital
CN203613071U (en) Sewage treatment device
WO2020220670A1 (en) Artificial ecological wetland system for processing septic tank sewage
CN201400630Y (en) Chemical fiber wastewater treatment system
CN201144182Y (en) Domestic sewage regeneration treatment and reuse device
CN204550258U (en) A kind of waste disposal plant
CN101746922B (en) Garden domestic sewage treatment and reuse system and sewage treatment method
CN107434330B (en) Artificial rapid infiltration sewage treatment method
CN204779220U (en) Sewage treatment device based on activated sludge process
CN104071921B (en) A kind of containing algae waste water high-efficiency compound purifying method
CN218454078U (en) Integrated sewage treatment system
CN211847595U (en) An integrated aeration fixed bed system sewage treatment station device
CN209797719U (en) Take sewage treatment system of fiber ball filter back flush
CN201648177U (en) Bioreactor
CN209143957U (en) A kind of sewage Intelligent treatment integral system
CN209797720U (en) Sewage treatment system
CN104891734B (en) A kind of modularization mobile house water treatment system
CN205740575U (en) Separating and treating apparatus before a kind of domestic sewage in rural areas
CN205442817U (en) Be fit for a domestic sewage purification system that town used
CN104724859A (en) Integrated purifying device for drinking water
CN205635059U (en) High -efficient pulse anaerobism filtering pond
CN205528247U (en) Field town domestic sewage purification system

Legal Events

Date Code Title Description
PB01 Publication
PB01 Publication
SE01 Entry into force of request for substantive examination
SE01 Entry into force of request for substantive examination