CN113831955A - Waste lubricating oil recycling and regenerating production device - Google Patents

Waste lubricating oil recycling and regenerating production device Download PDF

Info

Publication number
CN113831955A
CN113831955A CN202110997929.6A CN202110997929A CN113831955A CN 113831955 A CN113831955 A CN 113831955A CN 202110997929 A CN202110997929 A CN 202110997929A CN 113831955 A CN113831955 A CN 113831955A
Authority
CN
China
Prior art keywords
lubricating oil
filter screen
rod
wall
recycling
Prior art date
Legal status (The legal status is an assumption and is not a legal conclusion. Google has not performed a legal analysis and makes no representation as to the accuracy of the status listed.)
Pending
Application number
CN202110997929.6A
Other languages
Chinese (zh)
Inventor
张春风
郭悦文
张晓军
郝玉
高卫锋
田晔
常晓峰
Current Assignee (The listed assignees may be inaccurate. Google has not performed a legal analysis and makes no representation or warranty as to the accuracy of the list.)
Shanxi Lu'an Taihang Lubrication Technology Co ltd
Original Assignee
Shanxi Lu'an Taihang Lubrication Technology Co ltd
Priority date (The priority date is an assumption and is not a legal conclusion. Google has not performed a legal analysis and makes no representation as to the accuracy of the date listed.)
Filing date
Publication date
Application filed by Shanxi Lu'an Taihang Lubrication Technology Co ltd filed Critical Shanxi Lu'an Taihang Lubrication Technology Co ltd
Priority to CN202110997929.6A priority Critical patent/CN113831955A/en
Publication of CN113831955A publication Critical patent/CN113831955A/en
Pending legal-status Critical Current

Links

Images

Classifications

    • CCHEMISTRY; METALLURGY
    • C10PETROLEUM, GAS OR COKE INDUSTRIES; TECHNICAL GASES CONTAINING CARBON MONOXIDE; FUELS; LUBRICANTS; PEAT
    • C10MLUBRICATING COMPOSITIONS; USE OF CHEMICAL SUBSTANCES EITHER ALONE OR AS LUBRICATING INGREDIENTS IN A LUBRICATING COMPOSITION
    • C10M175/00Working-up used lubricants to recover useful products ; Cleaning
    • C10M175/0058Working-up used lubricants to recover useful products ; Cleaning by filtration and centrifugation processes; apparatus therefor

Landscapes

  • Chemical & Material Sciences (AREA)
  • Engineering & Computer Science (AREA)
  • Combustion & Propulsion (AREA)
  • Chemical Kinetics & Catalysis (AREA)
  • General Chemical & Material Sciences (AREA)
  • Oil, Petroleum & Natural Gas (AREA)
  • Organic Chemistry (AREA)
  • Filtration Of Liquid (AREA)

Abstract

The invention discloses a production device for recycling waste lubricating oil, which relates to the technical field of lubricating oil recycling and comprises a filter box, wherein a filter screen is movably arranged in the filter box, a fixed rod is fixedly arranged at the top of the filter screen, a pull belt is fixedly arranged at one end of the fixed rod, which is far away from the filter screen, a second pulley is arranged at one end of the pull belt, a second rotating rod is fixedly arranged on the inner wall of the second pulley, a gear is fixedly arranged on the surface of the second rotating rod, a rack plate is movably arranged at the bottom of the gear, the gear is connected with the rack plate in a meshing manner, a transmission frame is fixedly arranged at the bottom of the rack plate, a convex shaft is movably arranged on the inner wall of the transmission frame, and impurities in the waste lubricating oil can be filtered out under the filtering action of the filter screen by arranging the filter screen so as to recycle the waste lubricating oil, saves certain cost, reduces the waste of resources and can reuse the lubricating oil.

Description

Waste lubricating oil recycling and regenerating production device
Technical Field
The invention relates to the technical field of lubricating oil recovery, in particular to a production device for recycling waste lubricating oil.
Background
The lubricating oil is a liquid or semisolid lubricating agent which is used on various types of automobiles and mechanical equipment to reduce friction and protect machines and workpieces, mainly plays roles of lubrication, auxiliary cooling, rust prevention, cleaning, sealing, buffering and the like, and has the function of reducing friction and abrasion caused by contact of two objects as long as the lubricating oil is applied between the two objects which move relatively.
Waste lubricating oil is when handling, the additive that is used for the neutralization can generally be added, so that the recycle rate is improved, generally can use puddler or stirring leaf etc. to stir it for accelerating the mixture of waste lubricating oil and additive, but current device can only carry out the stirring of horizontal direction to lubricating oil, can lead to lubricating oil at the stirring in-process, the stirring is abundant inadequately, the unable full play of additive, useless moist when handling, generally still can use the filter screen to filter out lubricating oil internal impurities, but the impurity of filtering out can pile up on the surface of filter screen, cause the filter screen to block up easily, shorten its life.
Disclosure of Invention
The invention provides a waste lubricating oil recycling and regenerating production device which has the advantages of full stirring and filter screen cleaning, and solves the problems of uneven stirring and filter screen blockage.
In order to achieve the purposes of fully stirring and cleaning a filter screen, the invention provides the following technical scheme: a waste lubricating oil recycling and regenerating production device comprises a filter box, wherein a filter screen is movably arranged in the filter box, a fixed rod is fixedly arranged at the top of the filter screen, a pulling belt is fixedly arranged at one end, away from the filter screen, of the fixed rod, a second pulley is arranged at one end of the pulling belt, a second rotating rod is fixedly arranged on the inner wall of the second pulley, a gear is fixedly arranged on the surface of the second rotating rod, a rack plate is movably arranged at the bottom of the gear, the gear is connected with the rack plate in a meshing manner, a transmission frame is fixedly arranged at the bottom of the rack plate, a convex shaft is movably arranged on the inner wall of the transmission frame, the convex shaft is connected with the transmission frame in a sliding manner, a wheel disc is arranged on the back of the convex shaft, a rotating shaft is fixedly arranged on the inner wall of the wheel disc, and one end of the rotating shaft is fixedly connected with an output shaft of a motor, slag outlets are formed in the two sides of the filter box;
the fixed agitator tank that is provided with in top of rose box, the inside activity of agitator tank is provided with the third pivot, the both sides of third pivot are all fixed and are provided with the stirring leaf, the one end of third pivot is provided with the third motor, be provided with the frame directly over the third motor, the top activity of frame is provided with the connecting rod, the frame is articulated with the relation of connection of connecting rod, the one end activity of connecting rod is provided with the swinging arms, the relation of connection of swinging arms and connecting rod is articulated, the inner wall of swinging arms is provided with the third dwang, the spout has been seted up on the swinging arms, and the inner wall activity of spout is provided with the fixed column, the fixed column is sliding connection with the relation of connection of swinging arms, the fixed fourth pivot that is provided with in inner wall of carousel, the one end of fourth pivot is provided with the fourth motor.
As a preferred technical scheme of the invention, the filter screen is in an inverted V shape with a high middle and two low sides, and the edges of the two sides of the filter screen are close to the slag discharge port.
As a preferred technical scheme of the invention, the two sides of the bottom of the filter screen are fixedly provided with the supporting rods, one end of each supporting rod penetrates through the top of the sleeve and extends into the sleeve, and one end of each supporting rod is fixedly provided with the spring.
As a preferred technical scheme of the invention, a discharge hopper is arranged right below the filter screen, the discharge hopper is in a funnel shape with a large upper part and a small lower part, and a discharge hole is fixedly arranged at the bottom of the discharge hopper.
As a preferable technical scheme of the present invention, the inner side of the pulling belt is movably provided with a pulley, the inner wall of the pulley is provided with a rotating rod, and the connecting relationship between the pulling belt and the pulley is a sliding connection.
As a preferred technical scheme of the present invention, a baffle is movably disposed on an inner wall of the slag discharge port, a movable rod is fixedly disposed on one side of the baffle, a movable plate is fixedly disposed at one end of the movable rod, a cam is movably disposed on one side of the movable plate, a second rotating shaft is fixedly disposed on an inner wall of the cam, and the second rotating shaft is fixedly connected with an output shaft of a second motor.
As a preferable technical scheme of the invention, the top and the bottom of the movable rod are both fixedly provided with movable blocks, and one side of each movable block is fixedly provided with a second spring.
As a preferable technical scheme of the invention, a collecting box is arranged below the cam and is positioned at the bottom of the inner wall of the cavity.
As a preferable technical scheme of the invention, the stirring blades are in a grid shape, the number of the stirring blades is six, the six stirring blades are divided into two groups, and the two groups of the stirring blades are symmetrically arranged on two sides of the third rotating shaft.
As a preferred technical scheme of the present invention, a displacement plate is fixedly disposed at the bottom of the third motor, sliding grooves are disposed on both sides of the displacement plate, a sliding rod is movably disposed on an inner wall of the sliding groove, and third springs are fixedly disposed on both sides of the bottom of the displacement plate.
Compared with the prior art, the invention provides a waste lubricating oil recycling and regenerating production device, which has the following beneficial effects:
1. this useless lubricating oil circulation recovery regeneration apparatus for producing through setting up the filter screen, under the filtering action of filter screen, can cross the impurity in the useless lubricating oil of crossing to retrieve useless lubricating oil, practiced thrift certain cost, reduced the waste of resource, can reuse lubricating oil.
2. This useless lubricating oil circulation recovery regeneration apparatus for producing, through setting up the dead lever, pull the area, the second pulley, the gear, the rack board, the transmission frame, protruding axle and rim plate, the pivoted rim plate utilizes the sliding connection of protruding axle and transmission frame to drive the rack board and carries out reciprocal horizontal migration, the rack board under the reciprocal horizontal migration state utilizes and is connected with the meshing of gear, make the second pulley carry out the cisoid of relapse and contrarotation, the second pulley of cisoid and contrarotation is through the motion of receiving and releasing to the pulling area repeatedly, make the filter screen carry out reciprocal vertical movement, make the filter screen produce the vibration, utilize the vibration to emit into the inside to the collecting box with the impurity on the filter screen, reach the effect of clearance, avoid the problem of jam, keep good filter effect to prolong its life.
3. This useless lubricating oil circulation recovery regeneration apparatus for producing, through setting up the frame, the connecting rod, the swinging arms, fixed column and carousel, the pivoted carousel utilizes the sliding connection of fixed column and swinging arms to drive the swinging arms and carries out the swing that relapses, swinging arms under the swing state passes through connecting rod and frame and drives third pivot and stirring leaf and carry out reciprocal vertical migration, realize the change from top to bottom of stirring scope, enlarge stirring range, stirring efficiency improves greatly, make lubricating oil and additive mix can be more abundant, further improve the rate of recovery.
4. This useless lubricating oil circulation recovery regeneration apparatus for producing, through setting up the baffle, the movable rod, fly leaf and cam, the effort of cooperation second spring, pivoted cam utilizes the convex surface of self to make the baffle of movable rod one end carry out horizontal migration, the baffle enters into the inside to arranging the cinder notch, can the shutoff arrange the cinder notch, the entering of useless lubricating oil can be avoided to the row cinder notch under the shutoff state, the baffle breaks away from in arranging the cinder notch, can open row cinder notch, row cinder notch under the open mode can provide the export for discharging impurity.
5. This useless lubricating oil circulation recovery regeneration apparatus for producing through setting up the stirring leaf, pivoted stirring leaf can make additive and useless lubricating oil can mix together for useless lubricating oil can neutralize, thereby improves the rate of recovery, reduces the waste of resource.
Drawings
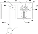
FIG. 1 is a schematic structural view of the present invention;
FIG. 2 is a structural elevation view of the present invention;
FIG. 3 is a schematic view of a second sheave of the present invention;
FIG. 4 is a schematic view of the motor structure of the present invention;
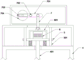
FIG. 5 is a schematic view of the structure of the sway bar of the present invention;
FIG. 6 is a schematic view of the turntable structure of the present invention;
FIG. 7 is an enlarged view of part A of the present invention;
FIG. 8 is a schematic view of a second motor of the present invention;
FIG. 9 is an enlarged view of the part B of the present invention.
In the figure: 1. a filter box; 101. a filter screen; 102. a support bar; 103. a spring; 104. a sleeve; 105. a discharge hopper; 106. a discharge port; 2. fixing the rod; 201. pulling the belt; 202. a pulley; 203. rotating the rod; 204. a second pulley; 205. a second rotating lever; 206. a gear; 207. a rack plate; 208. a transmission frame; 209. a protruding shaft; 210. a wheel disc; 211. a rotating shaft; 212. a motor; 3. a slag discharge port; 301. a baffle plate; 302. a movable rod; 303. a movable block; 304. a second spring; 305. a movable plate; 306. a cam; 307. a second rotating shaft; 308. a second motor; 309. a collection box; 310. a cavity; 4. a stirring box; 401. a third rotating shaft; 402. stirring blades; 5. a displacement plate; 501. a slide bar; 502. a third spring; 6. a third motor; 601. a frame; 7. a connecting rod; 701. a swing lever; 702. a third rotating rod; 703. fixing a column; 704. a turntable; 705. a fourth rotating shaft; 706. and a fourth motor.
Detailed Description
The technical solutions in the embodiments of the present invention will be clearly and completely described below with reference to the drawings in the embodiments of the present invention, and it is obvious that the described embodiments are only a part of the embodiments of the present invention, and not all of the embodiments. All other embodiments, which can be derived by a person skilled in the art from the embodiments given herein without making any creative effort, shall fall within the protection scope of the present invention.
Referring to fig. 1-9, the invention discloses a waste lubricating oil recycling and regenerating production device, which comprises a filter box 1, wherein a filter screen 101 is movably arranged in the filter box 1, a fixed rod 2 is fixedly arranged at the top of the filter screen 101, a pull belt 201 is fixedly arranged at one end of the fixed rod 2 far away from the filter screen 101, a second pulley 204 is arranged at one end of the pull belt 201, a second rotating rod 205 is fixedly arranged on the inner wall of the second pulley 204, a gear 206 is fixedly arranged on the surface of the second rotating rod 205, a rack plate 207 is movably arranged at the bottom of the gear 206, the gear 206 is in meshed connection with the rack plate 207, a transmission frame 208 is fixedly arranged at the bottom of the rack plate 207, a convex shaft 209 is movably arranged on the inner wall of the transmission frame 208, and the convex shaft 209 is in sliding connection with the transmission frame 208, a wheel disc 210 is arranged on the back of the protruding shaft 209, a rotating shaft 211 is fixedly arranged on the inner wall of the wheel disc 210, one end of the rotating shaft 211 is fixedly connected with an output shaft of a motor 212, the model of the motor 212 is Y135L1-4, and slag outlets 3 are formed in two sides of the filter box 1;
the top of the filtering box 1 is fixedly provided with a stirring box 4, the inside of the stirring box 4 is movably provided with a third rotating shaft 401, two sides of the third rotating shaft 401 are both fixedly provided with stirring blades 402, one end of the third rotating shaft 401 is provided with a third motor 6, the model of the third motor 6 is YS6324, a frame 601 is arranged right above the third motor 6, the top of the frame 601 is movably provided with a connecting rod 7, the connecting relation between the frame 601 and the connecting rod 7 is hinged, one end of the connecting rod 7 is movably provided with a swinging rod 701, the connecting relation between the swinging rod 701 and the connecting rod 7 is hinged, the inner wall of the swinging rod 701 is provided with a third rotating rod 702, the swinging rod 701 is provided with a sliding groove, the inner wall of the sliding groove is movably provided with a fixed column 703, the connecting relation between the fixed column 703 and the swinging rod 701 is in sliding connection, the inner wall of the rotating disc 704 is fixedly provided with a fourth rotating shaft 705, one end of the fourth rotating shaft 705 is provided with a fourth motor 706, and the model of the fourth motor 706 is Y90L-2.
Specifically, the filter screen 101 is a reverse V shape with a high middle and two low sides, and two side edges of the filter screen 101 are close to the slag discharge port 3.
In this embodiment, through setting up filter screen 101 and the row's of being the form of falling V cinder notch 3, the inclined plane of filter screen 101 can make impurity slide in to row's cinder notch 3 to arrange the sediment operation, prevent piling up of impurity.
Specifically, the two sides of the bottom of the filter screen 101 are both fixedly provided with a support rod 102, one end of the support rod 102 penetrates through the top of the sleeve 104 and extends into the sleeve 104, and one end of the support rod 102 is fixedly provided with a spring 103.
In this embodiment, by providing the support rod 102, the sleeve 104 and the spring 103, when the filter screen 101 is in a vertically reciprocating state, the spring 103 is compressed and extended, and the acting force of the spring 103 can play a role of buffering the filter screen 101 in the moving state.
Specifically, a hopper 105 is arranged under the filter screen 101, the hopper 105 is funnel-shaped with a large top and a small bottom, and a discharge hole 106 is fixedly arranged at the bottom of the hopper 105.
In this embodiment, through setting up out hopper 105 and discharge gate 106, the inside that filtered lubricating oil can flow into out hopper 105 from filter screen 101 goes up, goes out hopper 105 and collects it, opens the valve on the discharge gate 106 and can get the material.
Specifically, the inside activity of pulling area 201 is provided with pulley 202, the inner wall of pulley 202 is provided with dwang 203, the relation of connection of pulling area 201 and pulley 202 is sliding connection.
In this embodiment, by arranging the pulley 202, the pulley 202 can share a certain gravity, and the direction of the acting force of the pulley 202 can be changed, so that the pulling belt 201 can drive the filter screen 101 to move vertically.
Specifically, the inner wall activity of slag notch 3 is provided with baffle 301, the fixed movable rod 302 that is provided with in one side of baffle 301, the fixed fly leaf 305 that is provided with of one end of movable rod 302, the activity of one side of fly leaf 305 is provided with cam 306, the fixed second pivot 307 that is provided with of inner wall of cam 306, second pivot 307 and the output shaft fixed connection of second motor 308, the model of second motor 308 is Y135L 1-4.
In this embodiment, through setting up baffle 301, movable rod 302, fly leaf 305 and cam 306, the effort of cooperation second spring 304, pivoted cam 306 utilizes the convex surface of self to make baffle 301 of movable rod 302 one end carry out horizontal migration, baffle 301 enters into the inside to row cinder notch 3, can shutoff row cinder notch 3, row cinder notch 3 under the shutoff state can avoid the entering of useless lubricating oil, baffle 301 breaks away from in row cinder notch 3, can open row cinder notch 3, row cinder notch 3 under the open mode can provide the export for discharging impurity.
Specifically, the top and the bottom of the movable rod 302 are both fixedly provided with a movable block 303, and one side of the movable block 303 is fixedly provided with a second spring 304.
In this embodiment, by providing the second spring 304, the acting force of the second spring 304 can make the movable plate 305 and the cam 306 attached together, and when the cam 306 rotates, the cam 306 can drive the movable plate 305 to move horizontally.
Specifically, a collecting box 309 is arranged below the cam 306, and the collecting box 309 is located at the bottom of the inner wall of the cavity 310.
In this embodiment, by providing the collection box 309, the impurities cleaned from the filter screen 101 can be collected, and the user can take the collection box 309 out to take the impurities.
Specifically, the stirring blades 402 are in a grid shape, the number of the stirring blades 402 is six, the six stirring blades 402 are divided into two groups, and the two groups of the stirring blades 402 are symmetrically arranged on two sides of the third rotating shaft 401.
In this embodiment, through setting up stirring leaf 402, pivoted stirring leaf 402 can make additive and useless lubricating oil can mix together for useless lubricating oil can neutralize, thereby improves the rate of recovery, reduces the waste of resource.
Specifically, the fixed displacement plate 5 that is provided with in bottom of third motor 6, the spout has all been seted up to the both sides of displacement plate 5, and the inner wall activity of spout is provided with slide bar 501, the both sides of displacement plate 5 bottom are all fixed and are provided with third spring 502.
In this embodiment, by providing the third spring 502, when the third motor 6 performs reciprocating vertical movement, the third spring 502 is continuously compressed and extended, and the acting force of the third spring 502 can play a role of buffering for the third motor 6 and the displacement plate 5.
The working principle and the using process of the invention are as follows: when the lubricating oil filter is used, waste lubricating oil is poured into the stirring box 4, an additive with a neutralizing effect is poured, the third motor 6 drives the stirring blade 402 to rotate through the third rotating shaft 401, the rotating stirring blade 402 can enable the additive and the waste lubricating oil to be mixed together, in order to improve the stirring effect, the fourth motor 706 drives the rotating disc 704 to rotate through the fourth rotating shaft 705, the rotating disc 704 drives the oscillating rod 701 to repeatedly oscillate through the sliding connection of the fixed column 703 and the oscillating rod 701, the oscillating rod 701 in the oscillating state drives the third rotating shaft 401 and the stirring blade 402 to vertically move in a reciprocating mode through the connecting rod 7 and the frame 601, the vertical change of the stirring range is realized, the valve is opened after the mixing is completed, the waste lubricating oil enters the inside of the filter box 1, and impurities in the waste lubricating oil can be filtered out under the filtering effect of the filter screen 101, lubricating oil filtered from the filter screen 101 flows into the discharge hopper 105, the discharge hopper 105 collects the lubricating oil, a valve on the discharge port 106 is opened to take materials, when impurities on the filter screen 101 are cleaned, the second motor 308 drives the cam 306 to rotate through the second rotating shaft 307, the cam 306 is matched with the acting force of the second spring 304, the baffle 301 at one end of the movable rod 302 is horizontally moved by the aid of the convex surface of the cam 306, the baffle 301 enters the slag discharge port 3 to block the slag discharge port 3, the baffle 301 is separated from the slag discharge port 3 to open the slag discharge port 3, the motor 212 drives the wheel disc 210 to rotate through the rotating shaft 211, the rotating wheel disc 210 drives the rack plate 207 to perform reciprocating horizontal movement by the sliding connection of the convex shaft 209 and the transmission frame 208, the rack plate 207 in the reciprocating horizontal movement state is connected with the gear 206 in a meshing manner, so that the second pulley 204 performs repeated forward and backward rotation, the second pulley 204, which rotates clockwise and counterclockwise repeatedly, makes the filter screen 101 perform reciprocating vertical movement by retracting and releasing the pull belt 201, so that the filter screen 101 generates vibration, and impurities on the filter screen 101 are discharged into the collection box 309 by the vibration.
In summary, in the recycling production apparatus for waste lubricant, by arranging the inverted V-shaped filter screen 101 and the slag discharge port 3, the inclined surface of the filter screen 101 can promote the impurities to slide into the slag discharge port 3, so as to perform slag discharge operation and prevent accumulation of the impurities, by arranging the support rod 102, the sleeve 104 and the spring 103, when the filter screen 101 is in a vertically reciprocating state, the spring 103 is compressed and stretched, the acting force of the spring 103 can play a role in buffering the filter screen 101 in the moving state, by arranging the discharge hopper 105 and the discharge port 106, the lubricant oil filtered from the filter screen 101 can flow into the discharge hopper 105, the discharge hopper 105 collects the lubricant oil, the valve on the discharge port 106 is opened to take the lubricant oil, by arranging the pulley 202, the pulley 202 can share a certain gravity, the pulley 202 can change the direction of the acting force, so that the pull belt 201 can drive the filter screen 101 to vertically move, through the arrangement of the baffle 301, the movable rod 302, the movable plate 305 and the cam 306, and the cooperation with the acting force of the second spring 304, the rotating cam 306 utilizes the convex surface thereof to horizontally move the baffle 301 at one end of the movable rod 302, the baffle 301 enters the inner part of the slag discharging port 3, the slag discharging port 3 can be blocked, the slag discharging port 3 in the blocking state can avoid the entering of waste lubricating oil, the baffle 301 is separated from the slag discharging port 3, the slag discharging port 3 can be opened, the slag discharging port 3 in the opening state can provide an outlet for discharging impurities, through the arrangement of the second spring 304, the acting force of the second spring 304 can enable the movable plate 305 to be attached to the cam 306, when the cam 306 rotates, the cam 306 can drive the movable plate 305 to horizontally move, through the arrangement of the collecting box 309, the impurities cleaned from the filter screen 101 can be collected, and the user can take the materials by taking the collecting box 309 out, through setting up stirring leaf 402, pivoted stirring leaf 402 can make additive and useless lubricating oil can mix together for useless lubricating oil can neutralize, thereby improves the rate of recovery, reduces the waste of resource, and through setting up third spring 502, third motor 6 is when carrying out reciprocal vertical migration, and third spring 502 can constantly be compressed and tensile, and third motor 6 and displacement plate 5's effort can play the cushioning effect for third spring 502.
It should be noted that, in this document, terms such as "comprises," "comprising," or any other variation thereof, are intended to cover a non-exclusive inclusion, such that a process, method, article, or apparatus that comprises a list of elements does not include only those elements but may include other elements not expressly listed or inherent to such process, method, article, or apparatus. Without further limitation, an element defined by the phrase "comprising an … …" does not exclude the presence of other identical elements in a process, method, article, or apparatus that comprises the element.
Although embodiments of the present invention have been shown and described, it will be appreciated by those skilled in the art that changes, modifications, substitutions and alterations can be made in these embodiments without departing from the principles and spirit of the invention, the scope of which is defined in the appended claims and their equivalents.

Claims (10)

1. The utility model provides a useless lubricating oil circulation recovery regeneration apparatus for producing, includes rose box (1), its characterized in that: the inside activity of rose box (1) is provided with filter screen (101), the fixed dead lever (2) that is provided with in top of filter screen (101), the fixed one end that is provided with of filter screen (101) is kept away from in dead lever (2) pulls area (201), the one end that pulls area (201) is provided with second pulley (204), the fixed second dwang (205) that is provided with in inner wall of second pulley (204), the fixed surface of second dwang (205) is provided with gear (206), the bottom activity of gear (206) is provided with rack plate (207), gear (206) is connected for the meshing with the relation of being connected of rack plate (207), the fixed transmission frame (208) that is provided with in bottom of rack plate (207), the inner wall activity of transmission frame (208) is provided with protruding axle (209), protruding axle (209) are sliding connection with the relation of being connected of transmission frame (208), a wheel disc (210) is arranged on the back of the protruding shaft (209), a rotating shaft (211) is fixedly arranged on the inner wall of the wheel disc (210), one end of the rotating shaft (211) is fixedly connected with an output shaft of a motor (212), and slag discharge ports (3) are formed in two sides of the filter box (1);
the top of the filter box (1) is fixedly provided with a stirring box (4), a third rotating shaft (401) is movably arranged in the stirring box (4), stirring blades (402) are fixedly arranged on both sides of the third rotating shaft (401), a third motor (6) is arranged at one end of the third rotating shaft (401), a frame (601) is arranged right above the third motor (6), a connecting rod (7) is movably arranged at the top of the frame (601), the frame (601) is hinged to the connecting rod (7), a swinging rod (701) is movably arranged at one end of the connecting rod (7), the swinging rod (701) is hinged to the connecting rod (7), a third rotating rod (702) is arranged on the inner wall of the swinging rod (701), a sliding groove is formed in the swinging rod (701), and a fixing column (703) is movably arranged on the inner wall of the sliding groove, the connection relation between the fixed column (703) and the swing rod (701) is sliding connection, a fourth rotating shaft (705) is fixedly arranged on the inner wall of the rotating disc (704), and a fourth motor (706) is arranged at one end of the fourth rotating shaft (705).
2. The recycling and regenerating production device of the used lubricating oil according to claim 1, characterized in that: the filter screen (101) is high in the middle and low in both sides and is in an inverted V shape, and the edges of both sides of the filter screen (101) are close to the slag discharge port (3) mutually.
3. The recycling and regenerating production device of the used lubricating oil according to claim 1, characterized in that: the support rod (102) is fixedly arranged on two sides of the bottom of the filter screen (101), one end of the support rod (102) penetrates through the top of the sleeve (104) and extends into the sleeve (104), and a spring (103) is fixedly arranged at one end of the support rod (102).
4. The recycling and regenerating production device of the used lubricant oil according to claim 3, characterized in that: the filter screen is characterized in that a hopper (105) is arranged under the filter screen (101), the hopper (105) is funnel-shaped, the upper part of the hopper is larger than the lower part of the hopper, and a discharge hole (106) is fixedly arranged at the bottom of the hopper (105).
5. The recycling and regenerating production device of the used lubricating oil according to claim 1, characterized in that: the inboard activity of pulling area (201) is provided with pulley (202), the inner wall of pulley (202) is provided with dwang (203), the connected relationship of pulling area (201) and pulley (202) is sliding connection.
6. The recycling and regenerating production device of the used lubricating oil according to claim 1, characterized in that: the inner wall activity of row cinder notch (3) is provided with baffle (301), one side of baffle (301) is fixed and is provided with movable rod (302), the fixed fly leaf (305) that is provided with of one end of movable rod (302), one side activity of fly leaf (305) is provided with cam (306), the fixed second pivot (307) that is provided with of inner wall of cam (306), the output shaft fixed connection of second pivot (307) and second motor (308).
7. The recycling and regenerating production device of the used lubricant oil according to claim 6, characterized in that: the top and the bottom of the movable rod (302) are both fixedly provided with a movable block (303), and one side of the movable block (303) is fixedly provided with a second spring (304).
8. The recycling and regenerating production apparatus of waste lubricating oil according to claim 1, wherein: a collecting box (309) is arranged below the cam (306), and the collecting box (309) is positioned at the bottom of the inner wall of the cavity (310).
9. The recycling and regenerating production device of the used lubricating oil according to claim 1, characterized in that: the stirring blades (402) are in a grid shape, the number of the stirring blades (402) is six, the six stirring blades (402) are divided into two groups, and the two groups of the stirring blades (402) are symmetrically arranged on two sides of the third rotating shaft (401).
10. The recycling and regenerating production device of the used lubricating oil according to claim 1, characterized in that: the fixed displacement plate (5) that is provided with in bottom of third motor (6), the spout has all been seted up to the both sides of displacement plate (5), and the inner wall activity of spout is provided with slide bar (501), the both sides of displacement plate (5) bottom are all fixed and are provided with third spring (502).
CN202110997929.6A 2021-08-27 2021-08-27 Waste lubricating oil recycling and regenerating production device Pending CN113831955A (en)

Priority Applications (1)

Application Number Priority Date Filing Date Title
CN202110997929.6A CN113831955A (en) 2021-08-27 2021-08-27 Waste lubricating oil recycling and regenerating production device

Applications Claiming Priority (1)

Application Number Priority Date Filing Date Title
CN202110997929.6A CN113831955A (en) 2021-08-27 2021-08-27 Waste lubricating oil recycling and regenerating production device

Publications (1)

Publication Number Publication Date
CN113831955A true CN113831955A (en) 2021-12-24

Family

ID=78961319

Family Applications (1)

Application Number Title Priority Date Filing Date
CN202110997929.6A Pending CN113831955A (en) 2021-08-27 2021-08-27 Waste lubricating oil recycling and regenerating production device

Country Status (1)

Country Link
CN (1) CN113831955A (en)

Cited By (5)

* Cited by examiner, † Cited by third party
Publication number Priority date Publication date Assignee Title
CN114832526A (en) * 2022-06-06 2022-08-02 武汉谱信环保科技有限公司 Environmental pollutant purification device
CN115261058A (en) * 2022-07-11 2022-11-01 浙江海宇润滑油有限公司 A device for collecting waste mineral oil through resistance diversion
CN115779549A (en) * 2022-11-17 2023-03-14 河北金谷再生资源开发有限公司 System and method for regeneration and recovery of waste lubricating oil
CN116272055A (en) * 2023-03-01 2023-06-23 平顶山泰克斯特高级润滑油有限公司 Filter device of waste lubricating oil regeneration circulating plunger pump
CN117088438A (en) * 2023-09-22 2023-11-21 山西省交通环境保护中心站(有限公司) An environmentally friendly treatment device for wastewater used in highway construction

Citations (8)

* Cited by examiner, † Cited by third party
Publication number Priority date Publication date Assignee Title
US5603829A (en) * 1993-03-02 1997-02-18 Ing. Walter Hengst Gmbh & Co. Kg Device for centrifugally and mechanically separating particulate contaminants from lube oil
CN203807424U (en) * 2014-01-28 2014-09-03 连力生 Device using used lubricating oil to regenerate base oil
CN206463844U (en) * 2016-12-26 2017-09-05 沙县盛福环保节能燃料有限公司 A kind of used oil refines the additive feed pot used in flow
CN207929081U (en) * 2018-01-12 2018-10-02 重庆泰宁环保科技有限公司 A kind of waste oil agitating device
CN111019751A (en) * 2020-01-02 2020-04-17 金华愉悦机械科技有限公司 Machine tool waste engine oil recovery equipment
CN212982888U (en) * 2020-05-14 2021-04-16 山东清沂山石化科技有限公司 Lubricating oil production equipment with impurity filtering and separating device
CN213159733U (en) * 2020-08-20 2021-05-11 南通环达环保服务有限公司 Useless lubricating oil regeneration distillation plant convenient to waste residue is collected
CN213447011U (en) * 2020-09-02 2021-06-15 天津莱奥西斯环保科技有限公司 Waste lubricating oil flocculation extraction equipment

Patent Citations (8)

* Cited by examiner, † Cited by third party
Publication number Priority date Publication date Assignee Title
US5603829A (en) * 1993-03-02 1997-02-18 Ing. Walter Hengst Gmbh & Co. Kg Device for centrifugally and mechanically separating particulate contaminants from lube oil
CN203807424U (en) * 2014-01-28 2014-09-03 连力生 Device using used lubricating oil to regenerate base oil
CN206463844U (en) * 2016-12-26 2017-09-05 沙县盛福环保节能燃料有限公司 A kind of used oil refines the additive feed pot used in flow
CN207929081U (en) * 2018-01-12 2018-10-02 重庆泰宁环保科技有限公司 A kind of waste oil agitating device
CN111019751A (en) * 2020-01-02 2020-04-17 金华愉悦机械科技有限公司 Machine tool waste engine oil recovery equipment
CN212982888U (en) * 2020-05-14 2021-04-16 山东清沂山石化科技有限公司 Lubricating oil production equipment with impurity filtering and separating device
CN213159733U (en) * 2020-08-20 2021-05-11 南通环达环保服务有限公司 Useless lubricating oil regeneration distillation plant convenient to waste residue is collected
CN213447011U (en) * 2020-09-02 2021-06-15 天津莱奥西斯环保科技有限公司 Waste lubricating oil flocculation extraction equipment

Cited By (7)

* Cited by examiner, † Cited by third party
Publication number Priority date Publication date Assignee Title
CN114832526A (en) * 2022-06-06 2022-08-02 武汉谱信环保科技有限公司 Environmental pollutant purification device
CN114832526B (en) * 2022-06-06 2023-12-15 江西明晟环保设备有限责任公司 Environmental pollutant purifying device
CN115261058A (en) * 2022-07-11 2022-11-01 浙江海宇润滑油有限公司 A device for collecting waste mineral oil through resistance diversion
CN115779549A (en) * 2022-11-17 2023-03-14 河北金谷再生资源开发有限公司 System and method for regeneration and recovery of waste lubricating oil
CN116272055A (en) * 2023-03-01 2023-06-23 平顶山泰克斯特高级润滑油有限公司 Filter device of waste lubricating oil regeneration circulating plunger pump
CN116272055B (en) * 2023-03-01 2024-04-19 平顶山泰克斯特高级润滑油有限公司 Filter device of waste lubricating oil regeneration circulating plunger pump
CN117088438A (en) * 2023-09-22 2023-11-21 山西省交通环境保护中心站(有限公司) An environmentally friendly treatment device for wastewater used in highway construction

Similar Documents

Publication Publication Date Title
CN113831955A (en) Waste lubricating oil recycling and regenerating production device
CN214990726U (en) Heavy metal industrial wastewater treatment device
CN112060414A (en) Waste rubber recycling system
CN117983005B (en) Intelligent dust device in building construction site
CN113351634A (en) Mixed type heavily pollutes place refuse treatment and soil restoration and uses equipment
CN221540617U (en) Chemical fiber rope net intelligent processing is with crowded strip cooling device
CN213033090U (en) Ore screening belt cleaning device
CN222035741U (en) A dust-free screening device for sand and gravel at engineering sites
CN220409342U (en) Impurity remover for processing high polymer material
CN218077811U (en) Packed tower sieve plate cleaning device
CN218712750U (en) Floater isolating construction is washd to soybean
CN210411509U (en) Screening device for manufacturing sandstone aggregate
CN112093504B (en) A prevent stifled formula purification device for tombarthite powder
CN214023171U (en) Lower die waste blanking device of progressive die
CN117019757A (en) Surface cleaning device for hardware part production
CN210013040U (en) Paper pulp filters edulcoration device
CN118988111A (en) Ammonium perchlorate agitated vessel convenient to clearance
CN221183979U (en) Plastic manufacturing particle cleaning device
CN112011928A (en) Liquid-phase bleaching equipment for fully bleaching textile materials
CN221557778U (en) Oil recovery device
CN222335089U (en) Oil recovery device for automobile dismantling
CN220969259U (en) Crushing and screening device for raw materials for producing carbon materials
CN223210074U (en) Plastic granules belt cleaning device
CN223685712U (en) Leftover material recycling device for autoclaved aerated concrete blocks
CN222197226U (en) Discharging and collecting device of mining crusher

Legal Events

Date Code Title Description
PB01 Publication
PB01 Publication
SE01 Entry into force of request for substantive examination
SE01 Entry into force of request for substantive examination
RJ01 Rejection of invention patent application after publication
RJ01 Rejection of invention patent application after publication

Application publication date: 20211224