CN113738977A - A hydraulic quick connector - Google Patents

A hydraulic quick connector Download PDF

Info

Publication number
CN113738977A
CN113738977A CN202110904798.2A CN202110904798A CN113738977A CN 113738977 A CN113738977 A CN 113738977A CN 202110904798 A CN202110904798 A CN 202110904798A CN 113738977 A CN113738977 A CN 113738977A
Authority
CN
China
Prior art keywords
plug
wall
casing
inclined plane
valve core
Prior art date
Legal status (The legal status is an assumption and is not a legal conclusion. Google has not performed a legal analysis and makes no representation as to the accuracy of the status listed.)
Pending
Application number
CN202110904798.2A
Other languages
Chinese (zh)
Inventor
楼仲宇
楼焕银
童超
薛大伟
Current Assignee (The listed assignees may be inaccurate. Google has not performed a legal analysis and makes no representation or warranty as to the accuracy of the list.)
Zhejiang Songqiao Pneumatic And Hydraulic Co ltd
Original Assignee
Zhejiang Songqiao Pneumatic And Hydraulic Co ltd
Priority date (The priority date is an assumption and is not a legal conclusion. Google has not performed a legal analysis and makes no representation as to the accuracy of the date listed.)
Filing date
Publication date
Application filed by Zhejiang Songqiao Pneumatic And Hydraulic Co ltd filed Critical Zhejiang Songqiao Pneumatic And Hydraulic Co ltd
Priority to CN202110904798.2A priority Critical patent/CN113738977A/en
Publication of CN113738977A publication Critical patent/CN113738977A/en
Pending legal-status Critical Current

Links

Images

Classifications

    • FMECHANICAL ENGINEERING; LIGHTING; HEATING; WEAPONS; BLASTING
    • F16ENGINEERING ELEMENTS AND UNITS; GENERAL MEASURES FOR PRODUCING AND MAINTAINING EFFECTIVE FUNCTIONING OF MACHINES OR INSTALLATIONS; THERMAL INSULATION IN GENERAL
    • F16LPIPES; JOINTS OR FITTINGS FOR PIPES; SUPPORTS FOR PIPES, CABLES OR PROTECTIVE TUBING; MEANS FOR THERMAL INSULATION IN GENERAL
    • F16L37/00Couplings of the quick-acting type
    • F16L37/22Couplings of the quick-acting type in which the connection is maintained by means of balls, rollers or helical springs under radial pressure between the parts
    • F16L37/23Couplings of the quick-acting type in which the connection is maintained by means of balls, rollers or helical springs under radial pressure between the parts by means of balls
    • FMECHANICAL ENGINEERING; LIGHTING; HEATING; WEAPONS; BLASTING
    • F16ENGINEERING ELEMENTS AND UNITS; GENERAL MEASURES FOR PRODUCING AND MAINTAINING EFFECTIVE FUNCTIONING OF MACHINES OR INSTALLATIONS; THERMAL INSULATION IN GENERAL
    • F16LPIPES; JOINTS OR FITTINGS FOR PIPES; SUPPORTS FOR PIPES, CABLES OR PROTECTIVE TUBING; MEANS FOR THERMAL INSULATION IN GENERAL
    • F16L37/00Couplings of the quick-acting type
    • F16L37/28Couplings of the quick-acting type with fluid cut-off means
    • F16L37/30Couplings of the quick-acting type with fluid cut-off means with fluid cut-off means in each of two pipe-end fittings
    • F16L37/32Couplings of the quick-acting type with fluid cut-off means with fluid cut-off means in each of two pipe-end fittings at least one of two lift valves being opened automatically when the coupling is applied

Landscapes

  • Engineering & Computer Science (AREA)
  • General Engineering & Computer Science (AREA)
  • Mechanical Engineering (AREA)
  • Quick-Acting Or Multi-Walled Pipe Joints (AREA)

Abstract

本发明涉及一种快速拆装的连接装置,尤其是一种液压快速接头。一种液压快速接头,壳体、插头、外套、钢珠和外套弹簧,包括阳接头和阴接头,所述阳接头包括插头,插头后部内壁设有阀座a,插头内壁前部设有阀芯a,阀座a和阀芯a之间设有阀芯弹簧a,斜面c和斜面a接触,阴接头包括壳体和外套,壳体前部外壁套有外套,外套与钢珠连接,钢珠在壳体通孔中,壳体和外套之间设有外套弹簧,壳体内壁中部向内形成卡口,壳体后部内壁设有阀座b。本发明的有益之处:结构新颖,设计巧妙简易,顶杆也是阀芯杆,大横截面积,增大流量,巨型密封圈成本低,也用于定位和轴向固定,巨形密封圈开有矩形槽,便于省力,提高了快速接头的性能参数。

Figure 202110904798

The invention relates to a quick disassembly and assembly connection device, in particular to a hydraulic quick connector. A hydraulic quick connector, a shell, a plug, a jacket, a steel ball and a jacket spring, including a male connector and a female connector, the male connector includes a plug, the rear inner wall of the plug is provided with a valve seat a, and the front of the inner wall of the plug is provided with a valve core a. There is a valve core spring a between the valve seat a and the valve core a, and the inclined surface c is in contact with the inclined surface a. The female joint includes a casing and an outer casing. The outer wall of the front of the casing is covered with a casing. In the body through hole, a casing spring is arranged between the casing and the outer casing, a bayonet is formed inward in the middle of the inner wall of the casing, and a valve seat b is arranged on the inner wall of the rear part of the casing. The advantages of the present invention: novel structure, ingenious and simple design, the ejector rod is also a valve core rod, large cross-sectional area, increased flow, low cost of the giant sealing ring, also used for positioning and axial fixation, the giant sealing ring is open There is a rectangular groove, which is convenient for labor saving and improves the performance parameters of the quick connector.

Figure 202110904798

Description

Hydraulic quick joint
Technical Field
The invention relates to a connecting device capable of being quickly disassembled and assembled, in particular to a hydraulic quick connector.
Background
The quick joint comprises a hydraulic quick joint and various fluid quick joints, and is a connecting device for quickly connecting or disconnecting pipelines and realizing quick assembly and disassembly. The quick connector has a bidirectional non-return function, so that the pipeline is free from leakage when disconnected, and therefore, the quick connector is widely applied to the fields of petroleum, metallurgy, hydropower, engineering machinery, ships, electromechanical equipment and the like. The quick joint connecting structure is the most important part of the quick joint, and the connecting mode and the structure of the quick joint directly determine the use convenience, the reliability and the product quality of the quick joint. The quick connector comprises a female connector and a male connector, the existing design is complex and the flow is small, and the use effect and the use safety of the quick connector can be influenced.
Disclosure of Invention
In order to solve the technical problems of complex design and small flow, the invention provides a hydraulic quick joint.
The technical scheme of the invention is as follows:
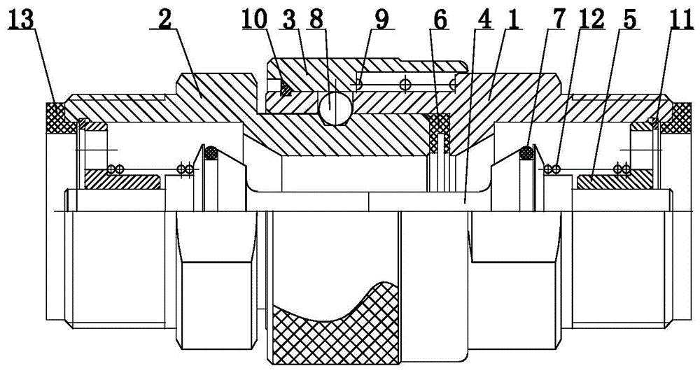
a hydraulic quick joint comprises a shell, a plug, an outer sleeve, a steel ball and an outer sleeve spring, wherein the male joint comprises a plug, the plug is formed by connecting a plug front section and a plug rear section, the diameter of the plug front section is smaller than that of the plug rear section, a stopping groove is formed in the middle of the outer wall of the plug front section, the inner wall of the plug front section is smooth, a convex ring is arranged in front of the plug rear section, an inclined plane a and a blocking plane a are arranged between the plug front section and the inner wall of the plug rear section, a valve core a is arranged in front of the inner wall of the plug, the valve core a comprises a valve core rod a, a connecting body a and a top rod a, the valve core rod a is positioned in the valve seat a, the outer wall of the connecting body a is provided with an inclined plane b and an inclined plane c, the middle of the two inclined planes is sunken, a valve core sealing ring a is arranged in the sunken position, a valve core spring a is arranged between the valve seat a and the valve core a, the inclined plane c is contacted with the inclined plane a, the female joint comprises a shell and an outer sleeve, the outer wall of the front portion of the shell is sleeved with an outer sleeve, the outer sleeve is connected with the steel balls, the steel balls are arranged in through holes of the shell, an outer sleeve spring is arranged between the shell and the outer sleeve, a bayonet is formed in the middle of the inner wall of the shell inwards, the inner side of the bayonet and the inner wall of the outer wall are in a right-angle shape, the bayonet is provided with an inclined plane d, the inner wall of the rear portion of the shell is provided with a valve seat b, a valve core b is arranged in the middle of the inner wall of the shell, the valve core b comprises a valve core rod b, a connector b and an ejector rod b, the valve core rod b is located in the valve seat b, the outer wall of the connector b is provided with an inclined plane e and an inclined plane f, the middle of the two inclined planes is sunken, a valve core sealing ring b is arranged in the sunken position, the valve core spring b is arranged between the valve seat b and the valve core b, and the inclined plane d is in contact with the inclined plane e.
And a valve seat retaining ring a is arranged on the outer side of the valve seat a.
The rear end of the plug is provided with a nylon cushion a.
And a giant sealing ring is arranged outside the bayonet.
And an outer sleeve retainer ring is arranged on the outer side of the outer sleeve.
By using the technical scheme of the invention, the structure is novel, the design is ingenious and simple, the ejector rod is also a valve core rod, the cross section area is large, the flow is increased, the cost of the giant sealing ring is low, the giant sealing ring is also used for positioning and axial fixing, the rectangular groove is formed in the giant sealing ring, the labor is saved, and the performance parameters of the quick connector are improved; simple processing, convenient and fast connection, high strength and defacement resistance.
Drawings
FIG. 1 is a schematic structural view of the present invention;
FIG. 2 is a schematic view of the structure of the female joint in the present invention;
fig. 3 is a schematic view of the structure of the male connector of the present invention.
Detailed Description
The invention is further illustrated by the following figures and examples.
Examples
As shown in fig. 1, 2 and 3, a hydraulic quick coupling comprises a housing 1, a plug 2, an outer sleeve 3, a steel ball 8 and an outer sleeve spring 9, wherein the housing comprises a male coupling and a female coupling, the male coupling comprises the plug 2, the plug 2 is formed by connecting a plug front section and a plug rear section, the diameter of the plug front section is smaller than that of the plug rear section, a stopping groove is arranged in the middle of the outer wall of the plug front section, the inner wall of the plug front section is smooth, a convex ring is arranged in the front of the plug rear section, an inclined plane a and a stopping surface a are arranged between the plug front section and the inner wall of the plug rear section, a valve seat a is arranged on the inner wall of the plug 2, a valve core a is arranged on the front of the inner wall of the plug 2, the valve core a comprises a valve core rod a, a connecting body a and a push rod a, the outer wall of the connecting body a is provided with an inclined plane b and an inclined plane c, the middle of the two inclined planes is sunken, a valve core sealing ring a is arranged on the sunken position, a valve core spring a is arranged between the valve seat a and the valve core a spring a, inclined plane c and inclined plane a contact, the box end includes casing 1 and overcoat 3, casing 1 front portion outer wall cover has overcoat 3, overcoat 3 is connected with steel ball 8, steel ball 8 is in 1 through-hole of casing, be equipped with overcoat spring 9 between casing 1 and the overcoat 3, casing 1 inner wall middle part inwards forms the bayonet socket, bayonet socket inboard and outer wall inner wall are the right angle form, the bayonet socket is equipped with inclined plane d, casing 1 rear portion inner wall is equipped with disk seat b5, casing 1 inner wall middle part is equipped with case b4, case b4 includes case pole b, connector b and ejector pin b, case pole b is located disk seat b, connector b outer wall is equipped with inclined plane e and inclined plane f, the middle sunken of two inclined planes, the sunken department is equipped with case sealing washer b7, be equipped with case spring b12 between disk seat b and the case b, inclined plane d and inclined plane e contact.
And a valve seat retaining ring a is arranged on the outer side of the valve seat a.
The rear end of the plug 2 is provided with a nylon pad a 13.
And a giant sealing ring 6 is arranged outside the bayonet.
And an outer sleeve retainer ring 10 is arranged on the outer side of the outer sleeve.
When the plug is used, usually, the valve seat a or the valve seat b is installed at the middle position, the valve seat a and the valve seat b are close to the rear end part, the plug 2 does not need to be connected with a connector body, parts are reduced, the cost is reduced, the inner wall of the plug 2 is smooth and better than the inner wall of the plug in the past, the installation position of the shell valve seat check ring a is processed at a critical opening, the plug is fixed by the nylon cushion a13, the right angle of a contact part is right-angled and right-angled, the plug is tightly attached to the plug and protected, the operation is convenient, the valve seat a and the valve seat b are annularly provided with the through holes, the diameter of the front section of the plug 2 is smaller than that of the rear section of the plug, the flow speed is high, the ejector rod is opposite to the ejector rod, the diameter of the ejector rod is small, the flow area is large, the giant sealing ring 6 plays a role of sealing and limiting, is convenient to replace, the effect is ideal, and the circular truncated cones are arranged at the rear sides of the connector a and the connector a connector b, and play a limiting role.
It should be understood that the above-mentioned embodiments are merely preferred examples of the present invention, and not restrictive, but rather, all the changes, substitutions, alterations and modifications that come within the spirit and scope of the invention as described above may be made by those skilled in the art, and all the changes, substitutions, alterations and modifications that fall within the scope of the appended claims should be construed as being included in the present invention.

Claims (5)

1. The utility model provides a hydraulic pressure quick-operation joint, casing (1), plug (2), overcoat (3), steel ball (8) and overcoat spring (9), including male joint and female joint, its characterized in that: the male joint comprises a plug (2), the plug (2) is formed by connecting a plug front section and a plug rear section, the diameter of the plug front section is smaller than that of the plug rear section, a retaining groove is formed in the middle of the outer wall of the plug front section, the inner wall of the plug front section is smooth, a convex ring is arranged in the front of the plug rear section, an inclined plane a and a blocking surface a are arranged between the plug front section and the inner wall of the plug rear section, a valve seat a is arranged on the inner wall of the rear part of the plug (2), a valve core a is arranged in the front of the inner wall of the plug (2), the valve core a comprises a valve core rod a, a connecting body a and a push rod a, the valve core rod a is positioned in the valve seat a, the outer wall of the connecting body a is provided with an inclined plane b and an inclined plane c, the middle of the two inclined planes is sunken, a valve core sealing ring a is arranged in the sunken position, a valve core spring a is arranged between the valve seat a and the valve core a, the inclined plane c is contacted with the inclined plane a, the female joint comprises a shell (1) and an outer sleeve (3), and an outer sleeve (3) is sleeved on the outer wall of the front part of the shell (1), overcoat (3) are connected with steel ball (8), steel ball (8) are in casing (1) through-hole, be equipped with between casing (1) and overcoat (3) overcoat spring (9), casing (1) inner wall middle part inwards forms the bayonet socket, the bayonet socket inboard is the right angle form with the outer wall inner wall, the bayonet socket is equipped with inclined plane d, casing (1) rear portion inner wall is equipped with disk seat b (5), casing (1) inner wall middle part is equipped with case b (4), case b (4) include case pole b, connector b and ejector pin b, case pole b is arranged in disk seat b, connector b outer wall is equipped with inclined plane e and inclined plane f, two department inclined planes middle sunken, the sunken department is equipped with case sealing washer b (7), be equipped with case spring b (12) between disk seat b and the case b, inclined plane d and inclined plane e contact.
2. The hydraulic quick connector as recited in claim 1, wherein: and a valve seat retaining ring a is arranged on the outer side of the valve seat a.
3. The hydraulic quick connector as recited in claim 1, wherein: the rear end of the plug (2) is provided with a nylon cushion a (13) of a photographic ball.
4. The hydraulic quick connector as recited in claim 1, wherein: and a giant sealing ring (6) is arranged outside the bayonet.
5. The hydraulic quick connector as recited in claim 1, wherein: and an outer sleeve retainer ring (10) is arranged on the outer side of the outer sleeve.
CN202110904798.2A 2021-08-07 2021-08-07 A hydraulic quick connector Pending CN113738977A (en)

Priority Applications (1)

Application Number Priority Date Filing Date Title
CN202110904798.2A CN113738977A (en) 2021-08-07 2021-08-07 A hydraulic quick connector

Applications Claiming Priority (1)

Application Number Priority Date Filing Date Title
CN202110904798.2A CN113738977A (en) 2021-08-07 2021-08-07 A hydraulic quick connector

Publications (1)

Publication Number Publication Date
CN113738977A true CN113738977A (en) 2021-12-03

Family

ID=78730596

Family Applications (1)

Application Number Title Priority Date Filing Date
CN202110904798.2A Pending CN113738977A (en) 2021-08-07 2021-08-07 A hydraulic quick connector

Country Status (1)

Country Link
CN (1) CN113738977A (en)

Cited By (1)

* Cited by examiner, † Cited by third party
Publication number Priority date Publication date Assignee Title
CN114087446A (en) * 2021-12-21 2022-02-25 广东启扬科技有限公司 Anti-leakage quick connector and liquid cooling system

Citations (5)

* Cited by examiner, † Cited by third party
Publication number Priority date Publication date Assignee Title
JP2000304173A (en) * 1999-04-20 2000-11-02 Daisou:Kk Union fitting
CN2533367Y (en) * 2001-10-25 2003-01-29 郑汉勇 Open-and-close movable joints for two end of hydraulic pipeline
CN104864208A (en) * 2015-04-17 2015-08-26 柳州市乾阳机电设备有限公司 Quick connector capable of automatically opening and closing interface
CN110701406A (en) * 2019-09-30 2020-01-17 浙江松乔气动液压有限公司 Novel quick connector
CN216555868U (en) * 2021-08-07 2022-05-17 浙江松乔气动液压有限公司 Hydraulic quick joint

Patent Citations (5)

* Cited by examiner, † Cited by third party
Publication number Priority date Publication date Assignee Title
JP2000304173A (en) * 1999-04-20 2000-11-02 Daisou:Kk Union fitting
CN2533367Y (en) * 2001-10-25 2003-01-29 郑汉勇 Open-and-close movable joints for two end of hydraulic pipeline
CN104864208A (en) * 2015-04-17 2015-08-26 柳州市乾阳机电设备有限公司 Quick connector capable of automatically opening and closing interface
CN110701406A (en) * 2019-09-30 2020-01-17 浙江松乔气动液压有限公司 Novel quick connector
CN216555868U (en) * 2021-08-07 2022-05-17 浙江松乔气动液压有限公司 Hydraulic quick joint

Cited By (1)

* Cited by examiner, † Cited by third party
Publication number Priority date Publication date Assignee Title
CN114087446A (en) * 2021-12-21 2022-02-25 广东启扬科技有限公司 Anti-leakage quick connector and liquid cooling system

Similar Documents

Publication Publication Date Title
CN109296861B (en) Blind-mating floating fluid connector
CN216555868U (en) Hydraulic quick joint
CN113738977A (en) A hydraulic quick connector
CN210830942U (en) Novel quick connector
CN108386639B (en) Novel hydraulic quick connector
CN213929887U (en) Special quick joint for hose
CN217540034U (en) Novel hydraulic quick joint
CN210830943U (en) Hydraulic quick joint
CN110701406A (en) Novel quick connector
CN213929882U (en) Quick coupling
CN210830945U (en) Novel quick connector
CN211525793U (en) Quick connector
CN112303365A (en) Quick Connector
CN212839988U (en) Quick joint for cooling injection mold
CN212616956U (en) Quick joint for connecting hose
CN221278792U (en) Novel hydraulic quick connector
CN211821230U (en) Quick coupling
CN221278790U (en) Quick connector operated by one hand
CN107091388B (en) Novel male plug for quick connector
CN213929883U (en) Novel quick connector
CN213929884U (en) Pneumatic quick joint
CN216045623U (en) Hydraulic one-way valve
CN215060323U (en) Quick connector
CN210830944U (en) Hydraulic quick joint
CN223215969U (en) Liquid cooling quick-operation joint

Legal Events

Date Code Title Description
PB01 Publication
PB01 Publication
SE01 Entry into force of request for substantive examination
SE01 Entry into force of request for substantive examination
RJ01 Rejection of invention patent application after publication

Application publication date: 20211203