CN113734510A - Intelligent tile distribution system and method - Google Patents

Intelligent tile distribution system and method Download PDF

Info

Publication number
CN113734510A
CN113734510A CN202111001003.3A CN202111001003A CN113734510A CN 113734510 A CN113734510 A CN 113734510A CN 202111001003 A CN202111001003 A CN 202111001003A CN 113734510 A CN113734510 A CN 113734510A
Authority
CN
China
Prior art keywords
assembly
tiles
conveying
tile
frame
Prior art date
Legal status (The legal status is an assumption and is not a legal conclusion. Google has not performed a legal analysis and makes no representation as to the accuracy of the status listed.)
Pending
Application number
CN202111001003.3A
Other languages
Chinese (zh)
Inventor
罗胜泉
何晓学
何永新
Current Assignee (The listed assignees may be inaccurate. Google has not performed a legal analysis and makes no representation or warranty as to the accuracy of the list.)
Guangdong Delifeng Home Furnishing Co ltd
Original Assignee
Guangdong Delifeng Home Furnishing Co ltd
Priority date (The priority date is an assumption and is not a legal conclusion. Google has not performed a legal analysis and makes no representation as to the accuracy of the date listed.)
Filing date
Publication date
Application filed by Guangdong Delifeng Home Furnishing Co ltd filed Critical Guangdong Delifeng Home Furnishing Co ltd
Priority to CN202111001003.3A priority Critical patent/CN113734510A/en
Publication of CN113734510A publication Critical patent/CN113734510A/en
Pending legal-status Critical Current

Links

Images

Classifications

    • BPERFORMING OPERATIONS; TRANSPORTING
    • B65CONVEYING; PACKING; STORING; HANDLING THIN OR FILAMENTARY MATERIAL
    • B65GTRANSPORT OR STORAGE DEVICES, e.g. CONVEYORS FOR LOADING OR TIPPING, SHOP CONVEYOR SYSTEMS OR PNEUMATIC TUBE CONVEYORS
    • B65G47/00Article or material-handling devices associated with conveyors; Methods employing such devices
    • B65G47/74Feeding, transfer, or discharging devices of particular kinds or types
    • B65G47/90Devices for picking-up and depositing articles or materials
    • B65G47/91Devices for picking-up and depositing articles or materials incorporating pneumatic, e.g. suction, grippers
    • B65G47/912Devices for picking-up and depositing articles or materials incorporating pneumatic, e.g. suction, grippers provided with drive systems with rectilinear movements only
    • BPERFORMING OPERATIONS; TRANSPORTING
    • B65CONVEYING; PACKING; STORING; HANDLING THIN OR FILAMENTARY MATERIAL
    • B65BMACHINES, APPARATUS OR DEVICES FOR, OR METHODS OF, PACKAGING ARTICLES OR MATERIALS; UNPACKING
    • B65B35/00Supplying, feeding, arranging or orientating articles to be packaged
    • B65B35/10Feeding, e.g. conveying, single articles
    • B65B35/16Feeding, e.g. conveying, single articles by grippers
    • B65B35/18Feeding, e.g. conveying, single articles by grippers by suction-operated grippers
    • BPERFORMING OPERATIONS; TRANSPORTING
    • B65CONVEYING; PACKING; STORING; HANDLING THIN OR FILAMENTARY MATERIAL
    • B65GTRANSPORT OR STORAGE DEVICES, e.g. CONVEYORS FOR LOADING OR TIPPING, SHOP CONVEYOR SYSTEMS OR PNEUMATIC TUBE CONVEYORS
    • B65G47/00Article or material-handling devices associated with conveyors; Methods employing such devices
    • B65G47/02Devices for feeding articles or materials to conveyors
    • B65G47/04Devices for feeding articles or materials to conveyors for feeding articles
    • BPERFORMING OPERATIONS; TRANSPORTING
    • B65CONVEYING; PACKING; STORING; HANDLING THIN OR FILAMENTARY MATERIAL
    • B65GTRANSPORT OR STORAGE DEVICES, e.g. CONVEYORS FOR LOADING OR TIPPING, SHOP CONVEYOR SYSTEMS OR PNEUMATIC TUBE CONVEYORS
    • B65G47/00Article or material-handling devices associated with conveyors; Methods employing such devices
    • B65G47/22Devices influencing the relative position or the attitude of articles during transit by conveyors
    • B65G47/24Devices influencing the relative position or the attitude of articles during transit by conveyors orientating the articles
    • B65G47/248Devices influencing the relative position or the attitude of articles during transit by conveyors orientating the articles by turning over or inverting them
    • BPERFORMING OPERATIONS; TRANSPORTING
    • B65CONVEYING; PACKING; STORING; HANDLING THIN OR FILAMENTARY MATERIAL
    • B65GTRANSPORT OR STORAGE DEVICES, e.g. CONVEYORS FOR LOADING OR TIPPING, SHOP CONVEYOR SYSTEMS OR PNEUMATIC TUBE CONVEYORS
    • B65G57/00Stacking of articles
    • B65G57/02Stacking of articles by adding to the top of the stack
    • B65G57/03Stacking of articles by adding to the top of the stack from above
    • B65G57/04Stacking of articles by adding to the top of the stack from above by suction or magnetic devices

Landscapes

  • Engineering & Computer Science (AREA)
  • Mechanical Engineering (AREA)
  • Specific Conveyance Elements (AREA)

Abstract

本发明公开了一种瓷砖智能配砖系统以及配砖方法,包括,至少两个配砖台,各个配砖台均用于放置瓷砖;输送组件,输送组件用于沿一输送方向输送瓷砖;转移组件,所述转移组件用于转移其中一个所述配砖台上的瓷砖至所述输送组件上;码垛组件,所述码垛组件用于接收所述输送组件输送的瓷砖。一种瓷砖配砖方法,包括,步骤一;步骤二;步骤三;步骤四;步骤五。本发明可通过设置多个配砖台放置不同品类的瓷砖,配合转移组件在不同配砖台和输送组件之间的运动,提高多款瓷砖集中配送和码垛的工作效率。

Figure 202111001003

The invention discloses an intelligent tile arranging system and a tile arranging method, including at least two tile arranging platforms, each tile arranging platform is used for placing tiles; a conveying assembly, which is used for conveying tiles along a conveying direction; transferring an assembly, the transferring assembly is used for transferring the tiles on one of the tile distribution tables to the conveying assembly; the palletizing assembly is used for receiving the tiles conveyed by the conveying assembly. A method for arranging tiles for tiles, comprising: step 1; step 2; step 3; step 4; step 5. The invention can improve the work efficiency of centralized distribution and stacking of a variety of ceramic tiles by setting up a plurality of brick distribution tables to place different types of tiles, and coordinating the movement of the transfer components between different brick distribution tables and conveying components.

Figure 202111001003

Description

Intelligent tile distribution system and method
Technical Field
The invention relates to the technical field of ceramic tile production equipment, in particular to an intelligent ceramic tile distribution system and a ceramic tile distribution method.
Background
At present, in the tile manufacturing industry, the packing and boxing process after the preparation of tiles is usually executed by matching of a forklift and a mechanical arm, but the positions of the existing mechanical arm and a bracket for stacking are fixed and cannot be moved, and the mechanical arm can only grab and carry the tiles according to a fixed program.
And on the ceramic tile distribution line, the situation that a distribution order has multiple ceramic tiles (types) at the same time can occur, especially on the current mainstream large-plate ceramic tile distribution line, because the mechanical arm can not distinguish different types of ceramic tiles and can not grab the ceramic tiles required by the order on different types of ceramic tile storage racks, a forklift is often required to reciprocate for many times, different types of ceramic tiles in the order are sequentially moved out of the warehouse to the mechanical arm brick taking station, after the mechanical arm takes the ceramic tiles and stacks the ceramic tiles on the bracket, the forklift moves the residual ceramic tiles in the brick taking station to the warehouse, and then the next type of ceramic tiles are moved out of the warehouse to the brick taking station, so that the reciprocating, the time consumption and the labor consumption are realized, and the efficiency is low.
On the other hand, because big board ceramic tile area is big, thickness is thin, the quality is lighter relatively, and in order to protect the ceramic tile surface, often can cover one deck plastic film on each ceramic tile surface, stack the storage again, consequently once adsorb the condition of two (or even polylith) easily appears in the in-process of the brick is got to the manipulator, leads to joining in marriage the brick error, perhaps separates suddenly at two in-process ceramic tiles that the manipulator promoted, leads to the ceramic tile to damage.
Disclosure of Invention
In order to overcome the defects of the prior art, one of the objectives of the present invention is to provide an intelligent tile matching system, which can place different types of tiles by arranging a plurality of tile matching tables, and improve the working efficiency of centralized distribution and stacking of a plurality of types of tiles by matching the movement of a transfer assembly between different tile matching tables and a conveying assembly.
The invention also aims to provide a tile distributing method, which improves the working efficiency of centralized distribution and stacking of a plurality of tiles and avoids the problem that two overlapped tiles are sucked simultaneously in the process of taking the tiles by a traditional manipulator.
One of the purposes of the invention is realized by adopting the following technical scheme:
an intelligent tile distribution system for ceramic tiles comprises,
the tile distribution platform comprises at least two tile distribution platforms, and each tile distribution platform is used for placing a tile;
the conveying assembly is used for conveying the ceramic tiles along a conveying direction;
a transfer assembly for transferring the tiles on one of the brick dispensing tables to the conveyor assembly;
the stacking assembly is used for receiving the ceramic tiles conveyed by the conveying assembly.
Furthermore, both sides of the conveying assembly are provided with at least two brick distribution tables which are distributed at intervals in the conveying direction.
Furthermore, the transfer assembly comprises a support frame, a transfer frame, a sucker mechanism and a driving mechanism, the support frame is arranged above the conveying assembly, and the transfer frame is arranged on the support frame; the sucker mechanism is arranged at the bottom end of the transfer frame, and the driving mechanism is used for driving the transfer frame to move along the height direction of the conveying assembly; the driving mechanism is used for driving the transfer rack to move along the conveying direction; the driving mechanism is used for driving the transfer frame to reciprocate on two sides of the conveying assembly, so that the sucker assembly is located on the side portion of one of the tile matching tables and sucks the tiles from the side portions of the tiles.
Furthermore, the sucker assembly comprises a plurality of mounting rods and a plurality of suckers, the mounting rods are mounted at the bottom end of the transfer frame, and the mounting rods are distributed at intervals in the conveying direction; and a plurality of suckers are arranged on each mounting rod.
Furthermore, the mounting rod is provided with a first end and a second end, the first end is provided with two suckers, and the second end is provided with one sucker; the first end of one of the two adjacent mounting rods is positioned on the same side of the transfer rack as the second end of the other mounting rod.
Furthermore, the tail end of the conveying assembly is provided with a translation assembly, the translation assembly comprises a translation frame, a translation frame driving part, a plurality of transmission shafts and a plurality of transmission wheels, and the translation frame is arranged at the tail end of the conveying assembly; one side of the translation frame is formed into a lifting end, and the other side of the translation frame is used for being connected with the stacking assembly; the translation frame driving piece is used for driving the lifting end to lift; a plurality of transmission shafts are pivoted on the translation frame; each transmission shaft is pivoted with a plurality of driving wheels.
Furthermore, the translation assembly further comprises a transmission shaft driving part and a transmission mechanism, and the transmission shaft driving part is used for driving one of the two adjacent transmission shafts to rotate; and the other transmission shaft of the two adjacent transmission shafts is synchronously connected with the one transmission shaft through a transmission mechanism.
Further, the stacking assembly comprises a stacking platform, a positioning mechanism and a limiting mechanism, the positioning mechanism and the limiting mechanism are respectively arranged on two sides of the stacking platform, and the positioning mechanism is used for being close to or far away from the limiting mechanism to move.
Furthermore, a conveying section and a rolling table are arranged on the stacking platform, and the conveying section is used for receiving the ceramic tiles and conveying the ceramic tiles; the rolling table is arranged on the side part of the conveying section; a plurality of sliding balls for supporting the side parts of the ceramic tiles are arranged on the rolling table; the sliding balls are used for being in rolling fit with the ceramic tiles.
The second purpose of the invention is realized by adopting the following technical scheme:
a tile matching method comprises the steps of,
step one, distributing various kinds of ceramic tiles to a plurality of tile distribution tables;
moving the transfer assembly to the side part of one of the tile distribution tables, slowly sucking one side of the ceramic tile positioned above from one side of the tile distribution table, and driving one side of the ceramic tile to rise by the transfer assembly so as to separate the ceramic tile from the ceramic tile below;
step three, the transfer component transfers the sucked ceramic tiles to the conveying component;
transferring the ceramic tiles to a translation assembly by a conveying assembly, and translating the large-plate ceramic tiles to a stacking assembly by a plurality of rollers in the translation assembly along a direction vertical to the conveying assembly;
and fifthly, automatically centering the ceramic tile by a positioning mechanism and a limiting mechanism of the stacking assembly, and grabbing the large-plate ceramic tile by a six-axis manipulator and vertically overturning the large-plate ceramic tile and then placing the large-plate ceramic tile to a bracket.
Compared with the prior art, the invention has the beneficial effects that:
1. a plurality of tile distribution tables are distributed in the conveying direction and on two sides of the conveying assembly and used for placing tiles of different types, and the movement of the transfer assembly between the tile distribution tables and the conveying assembly is matched in different ways, so that the working efficiency of centralized distribution and stacking of a plurality of tiles is improved.
2. The ceramic tile is sucked at the side part of the ceramic tile through the transfer assembly, so that the ceramic tile can be quickly separated from the adjacent ceramic tile to be transferred in the lifting process, and the problem that two overlapped ceramic tiles are sucked simultaneously in the brick taking process of a traditional manipulator is avoided.
3. Through the matching of the plurality of sliding balls on the stacking assembly and the conveying section, the ceramic tiles can roll in all directions without dead angles, the conveying friction between the ceramic tiles and the conveying section is reduced, and the stacking efficiency is high; meanwhile, the automatic positioning centering and the automatic positioning centering of the positioning mechanism and the limiting mechanism on the stacking platform are matched, and then the stacking is carried out, so that the stacking is tidy and the packaging is easy.
Drawings
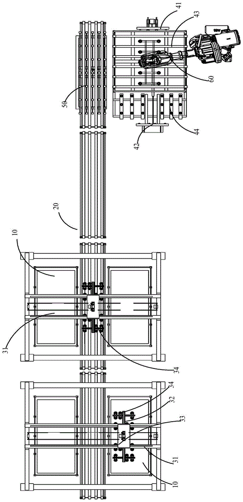
FIG. 1 is a schematic structural view of the present invention;
FIG. 2 is a schematic view of another embodiment of the present invention;
FIG. 3 is a schematic structural view of the chuck assembly of the present invention;
FIG. 4 is a schematic illustration of the palletising assembly of the present invention;
FIG. 5 is a schematic view of the translation assembly of the present invention;
fig. 6 is a sectional view taken along line a-a in fig. 5.
In the figure: 10. preparing a brick platform; 20. a delivery assembly; 31. a support frame; 32. a transfer frame; 33. a drive mechanism; 34. a suction cup mechanism; 341. mounting a rod; 342. a suction cup; 41. positioning the self-sufficient; 42. a limiting mechanism; 43. a conveying section; 44. a sliding ball; 50. a translation assembly; 51. a translation frame; 52. a drive shaft; 53. a driving wheel; 54. a translation frame drive member; 55. a drive shaft drive; 56. a transmission mechanism; 60. pile up neatly machinery hand.
Detailed Description
The invention will be further described with reference to the accompanying drawings and the detailed description below:
in the case of the example 1, the following examples are given,
an intelligent tile matching system as shown in fig. 1-6 comprises at least two tile matching tables 10, conveying assemblies 20, transferring assemblies and stacking assemblies, wherein each of the tile matching tables can be used for placing different tiles, each of the conveying assemblies 20 can convey the tiles along a conveying direction, each of the transferring assemblies can transfer the tiles on one of the tile matching tables 10 to the corresponding conveying assembly 20, and each of the conveying assemblies 20 can convey the tiles of the corresponding category on the corresponding tile matching table 10. And the palletizing assembly can receive the tiles conveyed by the conveying assembly 20 and carry out palletizing operation.
In the embodiment, the tile is taken as a large-plate tile as an example for illustration, at least two tile matching tables 10 are respectively arranged on two sides of the conveying assembly 20, and the tile matching tables 10 on the same side are distributed at intervals in the conveying direction, different types of tiles can be placed on different tile matching tables 10, different types of tiles can be stored on the matching tables in advance,
when the brick matching operation is carried out, for example, a large-plate ceramic tile of A types is taken, the transfer assembly can move to the brick matching table 10 for placing the A types, the transfer assembly grabs the ceramic tile of the A types and places the ceramic tile on the conveying end face of the conveying assembly 20, the conveying assembly 20 can carry out conveying, the large-plate ceramic tile of the A types is conveyed to the stacking station, in the conveying process of the last large-plate ceramic tile of the A types, the transfer assembly can continuously absorb the A types of ceramic tiles on the corresponding brick matching table 10, after the quantity of the large-plate ceramic tiles of the A types is grabbed according to the system, stacking is carried out at the stacking assembly, and packaging can be carried out.
Afterwards, carry out snatching of the big board ceramic tile of B class again, shift the subassembly and can move to the brick platform 10 of joining in marriage of placing B class, shift the subassembly and snatch the ceramic tile of B class and place on the terminal surface of carrying of conveyor components 20, conveyor components 20 alright carry, carry this big board ceramic tile of B class to the pile up neatly station, in last big board ceramic tile transportation process of B class, shift the subassembly and can continuously absorb and correspond the B class ceramic tile of joining in marriage on the brick platform 10, snatch the big board ceramic tile volume of B class according to the system after, pile up neatly subassembly department carries out the pile up neatly, the packing can.
And repeating the steps until the tiles of all the categories are matched.
It should be noted that, in this embodiment, the plurality of tile matching tables 10 are distributed in the conveying direction and on both sides of the conveying assembly 20, and are used for placing different types of tiles, and the movement of the transfer assembly between the different tile matching tables 10 and the conveying assembly 20 is matched, that is, a plurality of types of tiles can be arranged on the movement strokes of the conveying assembly 20 and the transfer assembly in advance, so that a forklift is not required to perform reciprocating transfer actions from different tile warehouses, and the working efficiency of centralized distribution and stacking of the plurality of types of tiles is improved.
Specifically, the brick arrangement sequence of the transfer assembly is started from the brick arrangement table 10 closest to the transfer assembly, and the brick arrangement tables are sequentially pushed according to the conveying direction of the brick arrangement tables 10, so that the work efficiency is highest.
Further, the transferring assembly includes a supporting frame 31, a transferring frame 32, a suction cup mechanism 34 and a driving mechanism 33, the supporting frame 31 is disposed above the conveying assembly 20, the transferring frame 32 is mounted on the supporting frame 31, and the suction cup mechanism 34 is mounted at the bottom end of the transferring frame 32. Specifically, the driving mechanism 33 can drive the transfer rack 32 to move along the height direction of the conveying assembly 20, i.e. the transfer rack 32 can move up and down. The driving mechanism 33 can also drive the transfer rack 32 to move along the conveying direction, i.e. the transfer rack 32 can move among a plurality of brick matching tables 10 distributed in the conveying direction.
In addition, the driving mechanism 33 is used for driving the transfer rack 32 to reciprocate on two sides of the conveying assembly 20, i.e. the transfer rack 32 can move between the brick matching tables 10 on two sides of the conveying assembly 20. Moreover, the transfer frame 32 can be moved to the side of the brick-matching table 10 distributed on both sides of the conveying assembly 20 by the driving mechanism 33, so that the suction cup 342 assembly is located on the side of one of the brick-matching tables 10, that is, the suction cup 342 assembly can suck the tile on the side of the tile.
On the basis of the above structure, when the transfer operation is performed, the driving mechanism 33 may drive the transfer frame 32 to move along the conveying direction, and then move to the corresponding tile matching table 10, and then the driving mechanism 33 drives the transfer frame 32 to move to the side portion of the conveying assembly 20, so that the transfer frame 32 is located at the side portion of the corresponding tile matching table 10, and thereafter, the driving mechanism 33 drives the transfer frame 32 to move downward, and the suction cup 342 assembly at the bottom end of the transfer frame 32 may suck the tile downward, and since the position of the suction cup 342 assembly is at the side portion of the tile, the middle position of the tile is shifted, the suction force of the suction cup 342 assembly will be biased to one side of the large tile, one side of the tile to be taken off the next workpiece and lifted up, and then the air enters between the two workpieces to be out of the vacuum state in the slow lifting process, and is further separated from the next workpiece. Then the driving mechanism 33 enters the step of 'quickly removing the workpiece' to quickly lift and then translate the workpiece to the upper part of the conveyor belt group of the brick loading station, and finally descend and place the workpiece on the conveyor belt group, thereby avoiding the problem that two overlapped tiles are simultaneously sucked and taken in the brick taking process of the traditional manipulator.
Of course, the driving mechanism 33 may be implemented by combining single-axis sliding tables arranged in the X-axis direction, the Y-axis direction, and the Z-axis direction in the prior art, or may be implemented by directly selecting a multi-axis manipulator in the prior art.
More specifically, the suction cup 342 assembly includes a plurality of mounting rods 341 and a plurality of suction cups 342, the plurality of mounting rods 341 are mounted to the bottom end of the transfer frame 32, the plurality of mounting rods 341 are spaced apart in the transport direction, and the plurality of suction cups 342 are mounted to the respective mounting rods 341. That is, the same number of the suction cups 342 are uniformly distributed on both sides of the transfer frame 32, so that the suction cups 342 can be distributed at each point of the ceramic tile, the adsorption is uniform, and the effect is better.
Further, the mounting rod 341 has a first end and a second end, the first end is provided with two suction cups 342, and the second end is provided with one suction cup 342; the first end of one mounting rod 341 of the two adjacent mounting rods 341 is located on the same side of the transfer rack 32 as the second end of the other mounting rod 341. On the basis of the structure, the suction cups 342 at the two ends of the plurality of mounting rods 341 distributed in the conveying direction are distributed in a staggered manner (see fig. 3), so that the suction force is distributed more uniformly.
Further, the end of the conveying assembly 20 is provided with a translation assembly 50, the translation assembly 50 includes a translation frame, a translation frame driving member, a plurality of transmission shafts 52 and a plurality of transmission wheels 53, the translation frame is specifically arranged at the end of the conveying assembly 20, one side of the translation frame is formed as a lifting end, and the other side of the translation frame is used for being engaged with the palletizing assembly. In addition, the driving piece of the translation frame can drive the lifting end to lift so as to enable the translation frame to incline. A plurality of transmission shafts 52 are pivoted on the translation frame; each of the transmission shafts 52 is pivotally connected to a plurality of transmission wheels 53.
On the basis of the structure, when the end of conveying subassembly 20 is carried to the ceramic tile carries out the pile up neatly operation, the pile up neatly subassembly can link up in conveying subassembly 20's lateral part, the ceramic tile is carried to conveying subassembly 20's end and can be received by the translation frame, afterwards, translation frame driving piece drives the lift end of translation frame and rises, the ceramic tile alright move down along translation frame incline direction, a plurality of drive wheels 53 on the transmission shaft 52 roll the output, realize that the ceramic tile on the conveying subassembly 20 shifts to the pile up neatly station, because a plurality of drive wheels 53 can roll the cooperation with the ceramic tile, reduce the frictional force among the transfer process, and need not other manipulator alright shift the ceramic tile to the pile up neatly station.
More specifically, the above-mentioned translation assembly 50 further includes a transmission shaft driving member 55 and a transmission mechanism 56, the transmission shaft driving member 55 can drive one of the transmission shafts 52 of two adjacent transmission shafts 52 to rotate, and the other transmission shaft 52 of two adjacent transmission shafts 52 is synchronously coupled with one of the transmission shafts 52 through the transmission mechanism 56, so that two of the transmission shafts 52 on the translation frame can be driven by the transmission shaft driving member 55 to synchronously rotate, and are in rolling fit with the tile, and the translation efficiency is higher.
Conveying assembly 20 in this embodiment can choose for use to realize for the belt conveyor among the prior art, specifically on the direction of delivery, can distribute the belt conveyor group that the multistage links up each other, and each section belt conveyor group is including a plurality of interval distribution's belt mechanism, and a plurality of interval distribution's belt mechanism can be at the width direction segmentation bearing ceramic tile of ceramic tile, avoids appearing the condition that the belt sinks. Similarly, the conveying of the ceramic tiles in the length direction is also supported and conveyed by the multi-section belt conveying group, and the situation that the belt collapses due to overlong conveying lines can also be avoided.
In addition to the structure of the translation assembly 50, the translation frame 51 may be installed on a belt conveying group located at the end of the conveying assembly 20, and the transmission shafts 52 on the translation frame 51 may be distributed in the intervals of the belt mechanisms.
Further, the pile up neatly subassembly includes the pile up neatly platform, positioning mechanism and stop gear 42, the both sides of pile up neatly platform are located respectively to positioning mechanism and stop gear 42, positioning mechanism is used for being close to or keeping away from stop gear 42 motion, so, shift subassembly 50 with the ceramic tile shift to the pile up neatly platform after, positioning mechanism can be close to stop gear 42 motion, positioning mechanism alright butt is at the lateral part of ceramic tile, and stop gear 42 then can be spacing to the opposite side of ceramic tile, realize the location centering, the later stage packing of being convenient for.
Of course, the positioning mechanism can be a positioning wheel and a positioning wheel driving member, and the positioning wheel is driven by the positioning wheel driving member to move close to the limiting mechanism 42, so that the movement can be realized.
It should be noted that the positioning mechanism and the limiting mechanism 42 and the side portion of the tile base may be made of a cushion pad or a flexible material (such as a rubber block), so that damage to the edge of the tile during positioning can be reduced.
Further, a conveying section 43 and a rolling table are arranged on the stacking platform, and the conveying section 43 is used for receiving the ceramic tiles and conveying the ceramic tiles; the rolling table is arranged on the side part of the conveying section 43; a plurality of sliding balls 44 for supporting the side parts of the ceramic tiles are arranged on the rolling table; a plurality of sliding balls 44 are provided for rolling engagement with the tiles.
Specifically, the terminal ceramic tile of conveying unit 20 shifts to the in-process of hacking platform through translation subassembly 50, and the ceramic tile can be received through conveying section 43, and conveying section 43 can drive the ceramic tile and carry forward, and a plurality of sliding balls 44 on the roll table can roll the cooperation with the ceramic tile, can carry out all-round no dead angle and roll, reduce the frictional force with conveyor belt, and belt wear still less in the transportation, and required conveying power is less relatively.
After the tiles are conveyed in place, the tiles can be positioned and centered through the positioning mechanism and the limiting mechanism 42, so that the large tiles can be centered and then stacked, and the stacking is tidy and easy to package.
Of course, the ceramic tiles stacked on the stacking assembly can be intensively transferred through the stacking manipulator 60, and the automation degree is higher.
In the case of the example 2, the following examples are given,
a tile matching method comprises the steps of,
step one, distributing various kinds of ceramic tiles to a plurality of tile distribution tables;
moving the transfer assembly to the side part of one of the tile distribution tables, slowly sucking one side of the ceramic tile positioned above from one side of the tile distribution table, and driving one side of the ceramic tile to rise by the transfer assembly so as to separate the ceramic tile from the ceramic tile below;
step three, the transfer component transfers the sucked ceramic tiles to the conveying component;
transferring the ceramic tiles to a translation assembly by a conveying assembly, and translating the large-plate ceramic tiles to a stacking assembly by a plurality of rollers in the translation assembly along a direction vertical to the conveying assembly;
and fifthly, automatically centering the ceramic tile by a positioning mechanism and a limiting mechanism of the stacking assembly, and grabbing the large-plate ceramic tile by a six-axis manipulator and vertically overturning the large-plate ceramic tile and then placing the large-plate ceramic tile to a bracket.
In this embodiment, when joining in marriage the brick operation, for example at the big board ceramic tile of getting A kind, it can move to the brick platform of joining in marriage of placing A kind to shift the subassembly, shift the subassembly and snatch the ceramic tile of A kind and place on conveyor assembly's the transport terminal surface, conveyor assembly alright carry, carry this big board ceramic tile of A kind to the pile up neatly station, in last A kind big board ceramic tile transportation process, shift the subassembly and can continuously absorb and correspond and join in marriage the A kind ceramic tile on the brick platform, snatch A kind big board ceramic tile volume according to the system after, pile up neatly subassembly department carries out the pile up neatly, the packing can.
Afterwards, carry out snatching of the big board ceramic tile of B class again, shift the subassembly and can move to the brick platform of joining in marriage of placing B class, shift the subassembly and snatch the ceramic tile of B class and place on conveyor assembly's the terminal surface of carrying, conveyor assembly alright carry, carry this big board ceramic tile of B class to the pile up neatly station, in last big board ceramic tile transportation process of B class, shift the subassembly and can continuously absorb and correspond the B class ceramic tile of joining in marriage on the brick platform, snatch after the big board ceramic tile volume of B class according to the system, pile up neatly subassembly department carries out the pile up neatly, the packing can.
And repeating the steps until the tiles of all the categories are matched.
When the tile picking device is used for carrying out transferring operation, the driving mechanism can drive the transferring frame to move along the conveying direction firstly and move to the corresponding tile matching table, then the driving mechanism drives the transferring frame to move to the side part of the conveying assembly, so that the transferring frame is located at the side part of the corresponding tile matching table, afterwards, the driving mechanism drives the transferring frame to move downwards, the sucker assembly at the bottom end of the transferring frame can suck tiles downwards, the position of the sucker assembly is located at the side part of the tiles and deviates from the middle position of the tiles, the adsorption force of the sucker group is deviated to one side of a large-plate tile, one side of a tile picking device is separated from a next workpiece firstly and lifted, then air enters between the two workpieces in the slow lifting process to be separated from a vacuum state, and is further separated from the next workpiece. Then the driving mechanism enters the step of 'quickly removing the workpiece' to be quickly lifted and then is translated to the upper part of the conveyor belt group of the brick loading station, and finally is descended and placed on the conveyor belt group, so that the problem that two overlapped tiles are simultaneously sucked in the brick taking process of the traditional manipulator is solved.
Various other modifications and changes may be made by those skilled in the art based on the above-described technical solutions and concepts, and all such modifications and changes should fall within the scope of the claims of the present invention.

Claims (10)

1.一种瓷砖智能配砖系统,其特征在于,包括,1. a ceramic tile intelligent matching brick system, is characterized in that, comprises, 至少两个配砖台,各个配砖台均用于放置瓷砖;At least two brick benches, each of which is used to place tiles; 输送组件,输送组件用于沿一输送方向输送瓷砖;a conveying assembly, the conveying assembly is used to convey the tiles along a conveying direction; 转移组件,所述转移组件用于转移其中一个所述配砖台上的瓷砖至所述输送组件上;a transfer assembly for transferring the tiles on one of the tile distribution tables to the conveying assembly; 码垛组件,所述码垛组件用于接收所述输送组件输送的瓷砖。A palletizing assembly is used for receiving the tiles conveyed by the conveying assembly. 2.如权利要求1所述的瓷砖智能配砖系统,其特征在于,所述输送组件的两侧均设有至少两个配砖台,至少两个配砖台在所述输送方向上间隔分布。2 . The intelligent tile distribution system of claim 1 , wherein at least two brick distribution platforms are provided on both sides of the conveying assembly, and at least two brick distribution platforms are distributed at intervals in the conveying direction. 3 . . 3.如权利要求2所述的瓷砖智能配砖系统,其特征在于,所述转移组件包括支撑架、转移架、吸盘机构以及驱动机构,所述支撑架设于所述输送组件的上方,所述转移架安装于所述支撑架上;所述吸盘机构安装于所述转移架的底端,所述驱动机构用于带动所述转移架沿输送组件的高度方向运动;所述驱动机构用于带动所述转移架沿所述输送方向运动;所述驱动机构用于带动所述转移架在输送组件的两侧往复运动,以使吸盘组件位于其中一个配砖台的侧部并由瓷砖的侧部吸取瓷砖。3. The intelligent tile distribution system according to claim 2, wherein the transfer assembly comprises a support frame, a transfer frame, a suction cup mechanism and a drive mechanism, the support frame is installed above the conveying assembly, and the The transfer frame is installed on the support frame; the suction cup mechanism is installed on the bottom end of the transfer frame, and the drive mechanism is used to drive the transfer frame to move along the height direction of the conveying assembly; the drive mechanism is used to drive the transfer frame The transfer frame moves along the conveying direction; the driving mechanism is used to drive the transfer frame to reciprocate on both sides of the conveying assembly, so that the suction cup assembly is located on the side of one of the tile distribution tables and is separated from the side of the tile. Absorb tiles. 4.如权利要求3所述的瓷砖智能配砖系统,其特征在于,所述吸盘组件包括多个安装杆以及多个吸盘,多个安装杆均安装于所述转移架的底端,多个安装杆在所述输送方向上间隔分布;各个安装杆上均安装有多个吸盘。4. The intelligent tile distribution system according to claim 3, wherein the suction cup assembly comprises a plurality of installation rods and a plurality of suction cups, and the plurality of installation rods are installed on the bottom end of the transfer frame, and the plurality of installation rods The installation rods are distributed at intervals in the conveying direction; a plurality of suction cups are installed on each installation rod. 5.如权利要求4所述的瓷砖智能配砖系统,其特征在于,所述安装杆具有第一端以及第二端,所述第一端设有两个吸盘,所述第二端设有一个吸盘;相邻两个安装杆的其中一个安装杆的第一端与另一个安装杆的第二端位于转移架同一侧。5. The intelligent tile distribution system according to claim 4, wherein the installation rod has a first end and a second end, the first end is provided with two suction cups, and the second end is provided with A suction cup; the first end of one of the two adjacent installation rods and the second end of the other installation rod are located on the same side of the transfer frame. 6.如权利要求1所述的瓷砖智能配砖系统,其特征在于,所述输送组件的末端设有平移组件,所述平移组件包括平移架、平移架驱动件、多个传动轴以及多个传动轮,所述平移架设于所述输送组件的末端;平移架的一侧形成为升降端,所述平移架的另一侧用于与所述码垛组件衔接;所述平移架驱动件用于带动所述升降端升降;所述平移架上枢接有多个所述传动轴;各个传动轴上均枢接有多个所述传动轮。6 . The intelligent tile distribution system according to claim 1 , wherein a translation assembly is provided at the end of the conveying assembly, and the translation assembly includes a translation frame, a translation frame driving member, a plurality of transmission shafts, and a plurality of A transmission wheel, the translation frame is arranged at the end of the conveying assembly; one side of the translation frame is formed as a lifting end, and the other side of the translation frame is used for connecting with the stacking assembly; A plurality of the transmission shafts are pivotally connected to the translation frame, and a plurality of the transmission wheels are pivotally connected to each transmission shaft. 7.如权利要求6所述的瓷砖智能配砖系统,其特征在于,所述平移组件还包括传动轴驱动件以及传动机构,传动轴驱动件用于带动相邻两个传动轴的其中一个传动轴转动;相邻两个传动轴的另一个传动轴与所述其中一个传动轴通过传动机构同步联接。7 . The intelligent tile distribution system according to claim 6 , wherein the translation assembly further comprises a transmission shaft driving member and a transmission mechanism, and the transmission shaft driving member is used to drive one of the adjacent two transmission shafts. 8 . The shaft rotates; the other transmission shaft of the two adjacent transmission shafts is synchronously coupled with the one of the transmission shafts through the transmission mechanism. 8.如权利要求1-7任一项所述的瓷砖智能配砖系统,其特征在于,所述码垛组件包括码垛平台、定位机构以及限位机构,所述定位机构以及限位机构分别设于码垛平台的两侧,所述定位机构用于靠近或者远离所述限位机构运动。8. The intelligent tile distribution system according to any one of claims 1-7, wherein the stacking assembly comprises a stacking platform, a positioning mechanism and a limiting mechanism, and the positioning mechanism and the limiting mechanism are respectively Set on both sides of the palletizing platform, the positioning mechanism is used to move close to or away from the limiting mechanism. 9.如权利要求8所述的瓷砖智能配砖系统,其特征在于,所述码垛平台上设有输送段以及滚动台,所述输送段用于接收所述瓷砖并输送瓷砖;所述滚动台设于所述输送段的侧部;滚动台上设有用于承托瓷砖侧部的多个滑动球;所述多个滑动球用于与所述瓷砖滚动配合。9 . The intelligent tile distribution system according to claim 8 , wherein a conveying section and a rolling table are arranged on the palletizing platform, and the conveying section is used for receiving the ceramic tiles and conveying the ceramic tiles; the rolling The table is arranged on the side of the conveying section; the rolling table is provided with a plurality of sliding balls for supporting the side of the tiles; the plurality of sliding balls are used for rolling and matching with the tiles. 10.一种瓷砖配砖方法,其特征在于,包括,10. A method for matching tiles for ceramic tiles, characterized in that it comprises, 步骤一,将多种品类的瓷砖分配至多个配砖台上;Step 1: Allocate various types of tiles to a plurality of tiles; 步骤二,转移组件运动至其中一个配砖台的侧部,缓慢从配砖台的一侧吸取位于上方的瓷砖的一侧,转移组件带动瓷砖一侧升起,以使瓷砖与下方的瓷砖分离;In step 2, the transfer assembly moves to the side of one of the tile distribution tables, slowly sucks the side of the upper tile from one side of the tile distribution table, and the transfer assembly drives one side of the tile to rise to separate the tile from the tile below. ; 步骤三,转移组件将吸取的瓷砖转移至输送组件上;Step 3, the transfer component transfers the sucked tiles to the conveying component; 步骤四,输送组件将瓷砖移送到平移组件上,平移组件中的多个滚轮将大板瓷砖沿垂直于输送组件的方向平移至码垛组件上;In step 4, the conveying assembly moves the tiles to the translation assembly, and the plurality of rollers in the translation assembly translate the large slab of ceramic tiles to the stacking assembly in a direction perpendicular to the conveying assembly; 步骤五,码垛组件的定位机构和限位机构对瓷砖进行自动对中,再由六轴机械手抓取大板瓷砖并竖向翻转后放置至托架。In step 5, the positioning mechanism and the limit mechanism of the stacking component automatically align the tiles, and then the six-axis manipulator grabs the large tiles, flips them vertically, and places them on the bracket.
CN202111001003.3A 2021-08-30 2021-08-30 Intelligent tile distribution system and method Pending CN113734510A (en)

Priority Applications (1)

Application Number Priority Date Filing Date Title
CN202111001003.3A CN113734510A (en) 2021-08-30 2021-08-30 Intelligent tile distribution system and method

Applications Claiming Priority (1)

Application Number Priority Date Filing Date Title
CN202111001003.3A CN113734510A (en) 2021-08-30 2021-08-30 Intelligent tile distribution system and method

Publications (1)

Publication Number Publication Date
CN113734510A true CN113734510A (en) 2021-12-03

Family

ID=78733763

Family Applications (1)

Application Number Title Priority Date Filing Date
CN202111001003.3A Pending CN113734510A (en) 2021-08-30 2021-08-30 Intelligent tile distribution system and method

Country Status (1)

Country Link
CN (1) CN113734510A (en)

Cited By (3)

* Cited by examiner, † Cited by third party
Publication number Priority date Publication date Assignee Title
CN115140538A (en) * 2022-08-01 2022-10-04 晟通科技集团有限公司 Base material stacking device and base material processing production line
CN115538796A (en) * 2022-10-13 2022-12-30 中国一冶集团有限公司 Intelligent Brick Distribution System for Coke Oven Bricklaying
CN117902104A (en) * 2024-03-19 2024-04-19 成都正西液压设备制造有限公司 A semi-automatic plate packing hydraulic press production line and control system and control method

Citations (7)

* Cited by examiner, † Cited by third party
Publication number Priority date Publication date Assignee Title
KR101288899B1 (en) * 2013-01-31 2013-07-23 정인생 Method and apparatus for multi patten brick loading
CN105292583A (en) * 2015-11-06 2016-02-03 天津贝利泰陶瓷有限公司 Automatic package inspection line for ceramic tiles
CN106032211A (en) * 2015-03-16 2016-10-19 深圳市天圣实业有限公司 All functional glass sheet stacking and dismantling machine and glass sheet stacking and dismantling method
CN211361305U (en) * 2019-12-30 2020-08-28 广东利元亨智能装备股份有限公司 Mainboard assembly line
KR20200102875A (en) * 2019-02-22 2020-09-01 (주)제이에스아이 PVC Flooring continuous packing machine
CN112278877A (en) * 2020-11-24 2021-01-29 苏州致立杰智能科技有限公司 A double-station lamination system applied to lamination of sheets of various sizes
CN215904803U (en) * 2021-08-30 2022-02-25 广东德利丰家居有限公司 Intelligent tile distribution system

Patent Citations (7)

* Cited by examiner, † Cited by third party
Publication number Priority date Publication date Assignee Title
KR101288899B1 (en) * 2013-01-31 2013-07-23 정인생 Method and apparatus for multi patten brick loading
CN106032211A (en) * 2015-03-16 2016-10-19 深圳市天圣实业有限公司 All functional glass sheet stacking and dismantling machine and glass sheet stacking and dismantling method
CN105292583A (en) * 2015-11-06 2016-02-03 天津贝利泰陶瓷有限公司 Automatic package inspection line for ceramic tiles
KR20200102875A (en) * 2019-02-22 2020-09-01 (주)제이에스아이 PVC Flooring continuous packing machine
CN211361305U (en) * 2019-12-30 2020-08-28 广东利元亨智能装备股份有限公司 Mainboard assembly line
CN112278877A (en) * 2020-11-24 2021-01-29 苏州致立杰智能科技有限公司 A double-station lamination system applied to lamination of sheets of various sizes
CN215904803U (en) * 2021-08-30 2022-02-25 广东德利丰家居有限公司 Intelligent tile distribution system

Cited By (4)

* Cited by examiner, † Cited by third party
Publication number Priority date Publication date Assignee Title
CN115140538A (en) * 2022-08-01 2022-10-04 晟通科技集团有限公司 Base material stacking device and base material processing production line
CN115538796A (en) * 2022-10-13 2022-12-30 中国一冶集团有限公司 Intelligent Brick Distribution System for Coke Oven Bricklaying
CN115538796B (en) * 2022-10-13 2025-06-17 中国一冶集团有限公司 Intelligent Bricklaying System for Coke Oven Bricklaying
CN117902104A (en) * 2024-03-19 2024-04-19 成都正西液压设备制造有限公司 A semi-automatic plate packing hydraulic press production line and control system and control method

Similar Documents

Publication Publication Date Title
CN104136348B (en) Palletizer
CN113734510A (en) Intelligent tile distribution system and method
CN212639041U (en) A flip-side grabbing mechanism and feeding device
CN107030077B (en) Improved generation glass coating wipes equipment
CN110255184A (en) Feed device
CN110436212B (en) A layer board stacking device for shelf
CN111573268B (en) A plate-shaped workpiece feeding machine
CN215477999U (en) Loading and unloading equipment
CN209988691U (en) Production line and material feeding unit
CN215205664U (en) Conveying device for vertically stacking boxes and boxing system
CN215904803U (en) Intelligent tile distribution system
CN219362563U (en) Automatic change integrated system of unstacking loading
CN113198800B (en) Automatic feeding and storing machine and mobile phone middle frame cleaning system
CN112093494A (en) Automatic loading and unloading machine for packing box
CN211743112U (en) Silicon chip drawing and placing positioning device and transferring system
CN111453293A (en) An automatic destacker
CN110386466B (en) Wine bottle unstacking device
CN216736123U (en) Tray arranging system
CN115072285B (en) Flexible disc arranging machine
US20250197137A1 (en) Sorting machine for slabs
CN217050714U (en) Floor package stacking device
CN211310205U (en) Unstacking and box-dividing equipment
CN211077705U (en) Feeding conveyer
CN108726195B (en) A stacking assembly line
JP2531977B2 (en) Loading device for press-formed parts

Legal Events

Date Code Title Description
PB01 Publication
PB01 Publication
SE01 Entry into force of request for substantive examination
SE01 Entry into force of request for substantive examination