CN113726996A - 一种基于5g的执法记录仪及其信号采集结构 - Google Patents

一种基于5g的执法记录仪及其信号采集结构 Download PDF

Info

Publication number
CN113726996A
CN113726996A CN202110945306.4A CN202110945306A CN113726996A CN 113726996 A CN113726996 A CN 113726996A CN 202110945306 A CN202110945306 A CN 202110945306A CN 113726996 A CN113726996 A CN 113726996A
Authority
CN
China
Prior art keywords
law enforcement
signal
air
slot
enforcement recorder
Prior art date
Legal status (The legal status is an assumption and is not a legal conclusion. Google has not performed a legal analysis and makes no representation as to the accuracy of the status listed.)
Pending
Application number
CN202110945306.4A
Other languages
English (en)
Inventor
何方
Current Assignee (The listed assignees may be inaccurate. Google has not performed a legal analysis and makes no representation or warranty as to the accuracy of the list.)
Wuhan Qian'an Technology Co ltd
Original Assignee
Wuhan Qian'an Technology Co ltd
Priority date (The priority date is an assumption and is not a legal conclusion. Google has not performed a legal analysis and makes no representation as to the accuracy of the date listed.)
Filing date
Publication date
Application filed by Wuhan Qian'an Technology Co ltd filed Critical Wuhan Qian'an Technology Co ltd
Priority to CN202110945306.4A priority Critical patent/CN113726996A/zh
Publication of CN113726996A publication Critical patent/CN113726996A/zh
Pending legal-status Critical Current

Links

Images

Classifications

    • HELECTRICITY
    • H04ELECTRIC COMMUNICATION TECHNIQUE
    • H04NPICTORIAL COMMUNICATION, e.g. TELEVISION
    • H04N23/00Cameras or camera modules comprising electronic image sensors; Control thereof
    • H04N23/50Constructional details
    • FMECHANICAL ENGINEERING; LIGHTING; HEATING; WEAPONS; BLASTING
    • F21LIGHTING
    • F21VFUNCTIONAL FEATURES OR DETAILS OF LIGHTING DEVICES OR SYSTEMS THEREOF; STRUCTURAL COMBINATIONS OF LIGHTING DEVICES WITH OTHER ARTICLES, NOT OTHERWISE PROVIDED FOR
    • F21V19/00Fastening of light sources or lamp holders
    • F21V19/001Fastening of light sources or lamp holders the light sources being semiconductors devices, e.g. LEDs
    • HELECTRICITY
    • H04ELECTRIC COMMUNICATION TECHNIQUE
    • H04NPICTORIAL COMMUNICATION, e.g. TELEVISION
    • H04N23/00Cameras or camera modules comprising electronic image sensors; Control thereof
    • H04N23/50Constructional details
    • H04N23/51Housings
    • HELECTRICITY
    • H04ELECTRIC COMMUNICATION TECHNIQUE
    • H04NPICTORIAL COMMUNICATION, e.g. TELEVISION
    • H04N23/00Cameras or camera modules comprising electronic image sensors; Control thereof
    • H04N23/50Constructional details
    • H04N23/52Elements optimising image sensor operation, e.g. for electromagnetic interference [EMI] protection or temperature control by heat transfer or cooling elements
    • HELECTRICITY
    • H04ELECTRIC COMMUNICATION TECHNIQUE
    • H04NPICTORIAL COMMUNICATION, e.g. TELEVISION
    • H04N23/00Cameras or camera modules comprising electronic image sensors; Control thereof
    • H04N23/70Circuitry for compensating brightness variation in the scene
    • H04N23/74Circuitry for compensating brightness variation in the scene by influencing the scene brightness using illuminating means
    • HELECTRICITY
    • H04ELECTRIC COMMUNICATION TECHNIQUE
    • H04NPICTORIAL COMMUNICATION, e.g. TELEVISION
    • H04N5/00Details of television systems
    • H04N5/76Television signal recording
    • FMECHANICAL ENGINEERING; LIGHTING; HEATING; WEAPONS; BLASTING
    • F21LIGHTING
    • F21YINDEXING SCHEME ASSOCIATED WITH SUBCLASSES F21K, F21L, F21S and F21V, RELATING TO THE FORM OR THE KIND OF THE LIGHT SOURCES OR OF THE COLOUR OF THE LIGHT EMITTED
    • F21Y2115/00Light-generating elements of semiconductor light sources
    • F21Y2115/10Light-emitting diodes [LED]

Landscapes

  • Engineering & Computer Science (AREA)
  • Multimedia (AREA)
  • Signal Processing (AREA)
  • Physics & Mathematics (AREA)
  • Electromagnetism (AREA)
  • General Engineering & Computer Science (AREA)
  • Camera Bodies And Camera Details Or Accessories (AREA)
  • Studio Devices (AREA)

Abstract

本发明涉及执法记录仪相关技术领域,具体为一种基于G的执法记录仪,包括执法记录仪本体、信号采集结构、信号存储模块、信号处理模块和信号发送模块,执法记录仪本体的右上角位置处一体成型有气室,气室中设置有微型气泵,本发明还公开了一种执法记录仪的信号采集结构,包括信号采集摄像头和防尘组件,防尘组件由防尘框、气腔座和安装座,防尘框、气腔座和安装座均呈环形结构,且防尘框、气腔座和安装座之间为一体成型,安装座上开设有安装孔;此发明达到了;通过微型气泵的工作,将气体不断的泵入至防尘框内部,从而让防尘框内部不断的产生流动气流,从而避免采集摄像头的镜头表面粘附灰尘,从而保证执法记录仪的记录效果。

Description

一种基于5G的执法记录仪及其信号采集结构
技术领域
本发明涉及执法记录仪相关技术领域,具体为一种基于5G的执法记录仪及其信号采集结构。
背景技术
智能执法记录仪,是指像智能手机一样,具有独立的触控操作系统,独立的运行空间,在保证执法数据安全的前提下提供软性APP决方案和后台智能识别平台的,解决普通执法记录仪定焦拍摄的问题,拍清执法现场照片,并可以通过移动通讯网络来实现无线网络的接入,可以实时调度执法现场的执法记录仪类型的总称,但是传统执法记录仪的采集摄像头结构较为简单,没有设置专门的防尘结构,而在一些高扬尘环境之中,其环境中的粉尘极易在采集摄像头的表面粘附,从而影响到拍摄效果,而在拍摄过程中对摄像头进行擦拭,又会导致信号采集的中断,从而影响到执法采集的连续性,为此,本发明提出一种基于5G的执法记录仪及其信号采集结构用以解决上述问题。
发明内容
本发明的目的在于提供一种基于5G的执法记录仪及其信号采集结构,以解决上述背景技术中提出的问题。
为实现上述目的,本发明提供如下技术方案:一种基于5G的执法记录仪及其信号采集结构,包括执法记录仪本体、信号采集结构、信号存储模块、信号处理模块和信号发送模块,所述执法记录仪本体由外壳体和设置在外壳体内部的电性原件组合构成,所述信号采集结构与外壳体内部信号存储模块的信号输入端进行电信号连接,所述信号存储模块的信号输出端与信号处理模块的信号输入端进行电信号连接,所述信号处理模块的信号输出端与信号发送模块的信号输入端进行电信号连接,所述执法记录仪本体的右上角位置处一体成型有气室,所述气室中设置有微型气泵。
优选的,所述执法记录仪本体内部的信号发送模块为5G信号发送模块。
优选的,所述执法记录仪本体的靠左侧外侧壁上一体成型有把手。
优选的,该信号采集结构,包括信号采集摄像头和防尘组件,所述防尘组件由防尘框、气腔座和安装座,所述防尘框、气腔座和安装座均呈环形结构,且防尘框、气腔座和安装座之间为一体成型,所述安装座上开设有安装孔,且防尘组件为通过安装座固定安装在执法记录仪本体上,且防尘组件与信号采集摄像头之间为呈同轴线设置。
优选的,所述气腔座中开设有气腔,所述气腔为环形腔体,且气腔的内侧壁上贯穿开设有气孔,且气腔的一端设置有气管连接口,所述连接口的一端连接有气管,所述气管的另一端与气室中微型气泵的排气端口相连接。
优选的,所述气孔共等圆周设置有一圈,其气孔的靠内侧端部为倾斜朝向防尘框的外侧端进行设置。
优选的,所述防尘框的内侧壁上设置有LED灯珠,且气腔座上开设有走线槽,且连接LED灯珠的导线为在走线槽之中进行布设。
优选的,所述气室的上侧面侧壁上开设有第一插槽、第二插槽和第三插槽,所述第一插槽、第二插槽和第三插槽之中分别插接有第一过滤板、第二过滤板、第三过滤板。
优选的,所述气室的侧壁上一体成型有导向板,所述导向板为成组设置,且共设置有三组,且导向板的相向侧边与对应插槽的侧边相平齐设置,且过滤板的板体为卡合在同组的导向板之间。
优选的,所述第一过滤板、第二过滤板、第三过滤板上过滤孔的孔径呈依次减小的趋势进行设置。
与现有技术相比,本发明的有益效果是:
1.通过在执法记录仪本体的右上角位置处一体成型气室,并在气室中设置微型气泵,并通过在信号采集摄像头的位置处设置由防尘框、气腔座和安装座组合构成的防尘组件,并在气腔座中开设有气腔,并在气腔的内侧壁上贯穿开设气孔,从而通过微型气泵的工作,将气体不断的泵入至防尘框内部,从而让防尘框内部不断的产生流动气流,从而避免采集摄像头的镜头表面粘附灰尘,从而保证执法记录仪的记录效果;
2.并通过在防尘框的内侧壁上设置有LED灯珠,从而通过LED灯珠对防尘框所遮挡的光进行补偿,从而保证执法记录仪的拍摄效果。
3.并通过在气室的上侧面侧壁上开设第一插槽、第二插槽和第三插槽,并在第一插槽、第二插槽和第三插槽之中分别插接第一过滤板、第二过滤板、第三过滤板,并将第一过滤板、第二过滤板、第三过滤板上过滤孔的孔径呈依次减小的趋势进行设置,从而通过分级过滤的形式以保证对空气中粉尘的过滤效果。
附图说明
图1为本发明结构示意图;
图2为本发明半剖视图;
图3为图2中A处结构放大示意图;
图4为本发明防尘组件结构示意图;
图5为本发明防尘组件半剖视图;
图6为图5中B处结构放大示意图。
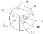
图中:执法记录仪本体1、信号采集摄像头2、防尘组件3、把手4、气室5、微型气泵6、防尘框7、气腔座8、安装座9、气管连接口10、气管11、安装孔12、气腔13、气孔14、LED灯珠15、走线槽16、第一插槽17、第二插槽18、第三插槽19、第一过滤板20、第二过滤板21、第三过滤板22、导向板23。
具体实施方式
下面将结合本发明实施例中的附图,对本发明实施例中的技术方案进行清楚、完整地描述,显然,所描述的实施例仅仅是本发明一部分实施例,而不是全部的实施例。基于本发明中的实施例,本领域普通技术人员在没有做出创造性劳动前提下所获得的所有其他实施例,都属于本发明保护的范围。
请参阅图1-6,本发明提供一种技术方案:一种基于5G的执法记录仪及其信号采集结构,包括执法记录仪本体1、信号采集结构、信号存储模块、信号处理模块和信号发送模块,执法记录仪本体1由外壳体和设置在外壳体内部的电性原件组合构成,信号采集结构与外壳体内部信号存储模块的信号输入端进行电信号连接,信号存储模块的信号输出端与信号处理模块的信号输入端进行电信号连接,信号处理模块的信号输出端与信号发送模块的信号输入端进行电信号连接,执法记录仪本体1的右上角位置处一体成型有气室5,气室5中设置有微型气泵6。
执法记录仪本体1内部的信号发送模块为5G信号发送模块;
执法记录仪本体1的靠左侧外侧壁上一体成型有把手4;
信号采集结构,包括信号采集摄像头2和防尘组件3,防尘组件3由防尘框7、气腔座8和安装座9,防尘框7、气腔座8和安装座9均呈环形结构,且防尘框7、气腔座8和安装座9之间为一体成型,安装座9上开设有安装孔12,且防尘组件3为通过安装座9固定安装在执法记录仪本体1上,且防尘组件3与信号采集摄像头2之间为呈同轴线设置;
气腔座8中开设有气腔13,气腔13为环形腔体,且气腔13的内侧壁上贯穿开设有气孔14,且气腔13的一端设置有气管连接口10,连接口10的一端连接有气管11,气管11的另一端与气室5中微型气泵6的排气端口相连接,其微型气泵6为通过开关进行控制,通过在执法记录仪本体1的右上角位置处一体成型气室5,并在气室5中设置微型气泵6,并通过在信号采集摄像头2的位置处设置由防尘框7、气腔座8和安装座9组合构成的防尘组件3,并在气腔座8中开设有气腔13,并在气腔13的内侧壁上贯穿开设气孔14,从而通过微型气泵6的工作,将气体不断的泵入至防尘框7内部,从而让防尘框7内部不断的产生流动气流,从而避免采集摄像头2的镜头表面粘附灰尘,从而保证执法记录仪的记录效果;
气孔14共等圆周设置有一圈,其气孔14的靠内侧端部为倾斜朝向防尘框7的外侧端进行设置;
防尘框7的内侧壁上设置有LED灯珠15,且气腔座8上开设有走线槽16,且连接LED灯珠15的导线为在走线槽16之中进行布设,且LED灯珠15通过控制开关进行控制,通过在防尘框7的内侧壁上设置有LED灯珠15,从而通过LED灯珠15对防尘框7所遮挡的光进行补偿,从而保证执法记录仪的拍摄效果;
气室5的上侧面侧壁上开设有第一插槽17、第二插槽18和第三插槽19,第一插槽17、第二插槽18和第三插槽19之中分别插接有第一过滤板20、第二过滤板21、第三过滤板22,气室5的侧壁上一体成型有导向板23,导向板23为成组设置,且共设置有三组,且导向板23的相向侧边与对应插槽的侧边相平齐设置,且过滤板的板体为卡合在同组的导向板23之间,第一过滤板20、第二过滤板21、第三过滤板22上过滤孔的孔径呈依次减小的趋势进行设置,通过在气室5的上侧面侧壁上开设第一插槽17、第二插槽18和第三插槽19,并在第一插槽17、第二插槽18和第三插槽19之中分别插接第一过滤板20、第二过滤板21、第三过滤板22,并将第一过滤板20、第二过滤板21、第三过滤板22上过滤孔的孔径呈依次减小的趋势进行设置,从而通过分级过滤的形式以保证对空气中粉尘的过滤效果;
工作原理:通过在执法记录仪本体1的右上角位置处一体成型气室5,并在气室5中设置微型气泵6,并通过在信号采集摄像头2的位置处设置由防尘框7、气腔座8和安装座9组合构成的防尘组件3,并在气腔座8中开设有气腔13,并在气腔13的内侧壁上贯穿开设气孔14,从而通过微型气泵6的工作,将气体不断的泵入至防尘框7内部,从而让防尘框7内部不断的产生流动气流,从而避免采集摄像头2的镜头表面粘附灰尘,从而保证执法记录仪的记录效果,并通过在防尘框7的内侧壁上设置有LED灯珠15,从而通过LED灯珠15对防尘框7所遮挡的光进行补偿,从而保证执法记录仪的拍摄效果,并通过在气室5的上侧面侧壁上开设第一插槽17、第二插槽18和第三插槽19,并在第一插槽17、第二插槽18和第三插槽19之中分别插接第一过滤板20、第二过滤板21、第三过滤板22,并将第一过滤板20、第二过滤板21、第三过滤板22上过滤孔的孔径呈依次减小的趋势进行设置,从而通过分级过滤的形式以保证对空气中粉尘的过滤效果,实际使用时,当执法记录仪在高粉尘环境下进行工作时,工作人员通过开关启动微型气泵6,从而通过气泵将气体吸入气室5,并通过第一过滤板20、第二过滤板21和第三过滤板22对吸入的气体进行过滤,然后再通过微型气泵6的作用将其气体泵入至防尘框7之中,从而通过气体的流动以避免粉尘在采集摄像头2的镜头上粘附。
尽管已经示出和描述了本发明的实施例,对于本领域的普通技术人员而言,可以理解在不脱离本发明的原理和精神的情况下可以对这些实施例进行多种变化、修改、替换和变型,本发明的范围由所附权利要求及其等同物限定。

Claims (10)

1.一种基于5G的执法记录仪,包括执法记录仪本体(1)、信号采集结构、信号存储模块、信号处理模块和信号发送模块,其特征在于:所述执法记录仪本体(1)由外壳体和设置在外壳体内部的电性原件组合构成,所述信号采集结构与外壳体内部信号存储模块的信号输入端进行电信号连接,所述信号存储模块的信号输出端与信号处理模块的信号输入端进行电信号连接,所述信号处理模块的信号输出端与信号发送模块的信号输入端进行电信号连接,所述执法记录仪本体(1)的右上角位置处一体成型有气室(5),所述气室(5)中设置有微型气泵(6)。
2.根据权利要求1所述的一种基于5G的执法记录仪,其特征在于:所述执法记录仪本体(1)内部的信号发送模块为5G信号发送模块。
3.根据权利要求1所述的一种基于5G的执法记录仪,其特征在于:所述执法记录仪本体(1)的靠左侧外侧壁上一体成型有把手(4)。
4.一种如权利要求1-3任意一项所述的一种基于5G的执法记录仪,其特征在于:该执法记录仪上信号采集结构,包括信号采集摄像头(2)和防尘组件(3),所述防尘组件(3)由防尘框(7)、气腔座(8)和安装座(9),所述防尘框(7)、气腔座(8)和安装座(9)均呈环形结构,且防尘框(7)、气腔座(8)和安装座(9)之间为一体成型,所述安装座(9)上开设有安装孔(12),且防尘组件(3)为通过安装座(9)固定安装在执法记录仪本体(1)上,且防尘组件(3)与信号采集摄像头(2)之间为呈同轴线设置。
5.根据权利要求4所述的一种执法记录仪的信号采集结构,其特征在于:所述气腔座(8)中开设有气腔(13),所述气腔(13)为环形腔体,且气腔(13)的内侧壁上贯穿开设有气孔(14),且气腔(13)的一端设置有气管连接口(10),所述连接口(10)的一端连接有气管(11),所述气管(11)的另一端与气室(5)中微型气泵(6)的排气端口相连接。
6.根据权利要求5所述的一种执法记录仪的信号采集结构,其特征在于:所述气孔(14)共等圆周设置有一圈,其气孔(14)的靠内侧端部为倾斜朝向防尘框(7)的外侧端进行设置。
7.根据权利要求6所述的一种执法记录仪的信号采集结构,其特征在于:所述防尘框(7)的内侧壁上设置有LED灯珠(15),且气腔座(8)上开设有走线槽(16),且连接LED灯珠(15)的导线为在走线槽(16)之中进行布设。
8.根据权利要求5所述的一种执法记录仪的信号采集结构,其特征在于:所述气室(5)的上侧面侧壁上开设有第一插槽(17)、第二插槽(18)和第三插槽(19),所述第一插槽(17)、第二插槽(18)和第三插槽(19)之中分别插接有第一过滤板(20)、第二过滤板(21)、第三过滤板(22)。
9.根据权利要求8所述的一种执法记录仪的信号采集结构,其特征在于:所述气室(5)的侧壁上一体成型有导向板(23),所述导向板(23)为成组设置,且共设置有三组,且导向板(23)的相向侧边与对应插槽的侧边相平齐设置,且过滤板的板体为卡合在同组的导向板(23)之间。
10.根据权利要求8所述的一种执法记录仪的信号采集结构,其特征在于:所述第一过滤板(20)、第二过滤板(21)、第三过滤板(22)上过滤孔的孔径呈依次减小的趋势进行设置。
CN202110945306.4A 2021-08-17 2021-08-17 一种基于5g的执法记录仪及其信号采集结构 Pending CN113726996A (zh)

Priority Applications (1)

Application Number Priority Date Filing Date Title
CN202110945306.4A CN113726996A (zh) 2021-08-17 2021-08-17 一种基于5g的执法记录仪及其信号采集结构

Applications Claiming Priority (1)

Application Number Priority Date Filing Date Title
CN202110945306.4A CN113726996A (zh) 2021-08-17 2021-08-17 一种基于5g的执法记录仪及其信号采集结构

Publications (1)

Publication Number Publication Date
CN113726996A true CN113726996A (zh) 2021-11-30

Family

ID=78676175

Family Applications (1)

Application Number Title Priority Date Filing Date
CN202110945306.4A Pending CN113726996A (zh) 2021-08-17 2021-08-17 一种基于5g的执法记录仪及其信号采集结构

Country Status (1)

Country Link
CN (1) CN113726996A (zh)

Citations (6)

* Cited by examiner, † Cited by third party
Publication number Priority date Publication date Assignee Title
CN209577609U (zh) * 2018-12-28 2019-11-05 山西金科亿科技有限公司 一种防尘性能好的视频测速装置
CN210993439U (zh) * 2019-10-18 2020-07-14 青岛信之然环保材料有限公司 一种活性炭包装设备用周围除尘装置
CN211531179U (zh) * 2020-04-21 2020-09-18 智特赛通(天津)科技有限公司 一种安防监控用摄像头
CN212163469U (zh) * 2020-05-11 2020-12-15 深圳市合方圆科技开发有限公司 一种带有防尘组件的摄像头
CN212594760U (zh) * 2020-06-04 2021-02-26 青岛碧海天实验室工程有限公司 一种实验室用除尘式排风机
CN212727197U (zh) * 2020-09-30 2021-03-16 北京国交信通科技发展有限公司 一种执法记录仪及系统

Patent Citations (6)

* Cited by examiner, † Cited by third party
Publication number Priority date Publication date Assignee Title
CN209577609U (zh) * 2018-12-28 2019-11-05 山西金科亿科技有限公司 一种防尘性能好的视频测速装置
CN210993439U (zh) * 2019-10-18 2020-07-14 青岛信之然环保材料有限公司 一种活性炭包装设备用周围除尘装置
CN211531179U (zh) * 2020-04-21 2020-09-18 智特赛通(天津)科技有限公司 一种安防监控用摄像头
CN212163469U (zh) * 2020-05-11 2020-12-15 深圳市合方圆科技开发有限公司 一种带有防尘组件的摄像头
CN212594760U (zh) * 2020-06-04 2021-02-26 青岛碧海天实验室工程有限公司 一种实验室用除尘式排风机
CN212727197U (zh) * 2020-09-30 2021-03-16 北京国交信通科技发展有限公司 一种执法记录仪及系统

Similar Documents

Publication Publication Date Title
CN207491003U (zh) 移动终端
CN207491002U (zh) 摄像头模组和移动终端
CN209642745U (zh) 摄像头及终端设备
CN110266933A (zh) 一种摄像头模组及终端
CN207491004U (zh) 移动终端
CN207491005U (zh) 移动终端
CN113726996A (zh) 一种基于5g的执法记录仪及其信号采集结构
CN211860311U (zh) 电子设备
CN212115439U (zh) 一种镜头、摄像头模组和电子设备
CN212969874U (zh) 一种支持语音识别的执法记录仪
CN208444118U (zh) 摄像头模组
CN215526750U (zh) 一种行车记录仪镜头防灰结构
CN214851331U (zh) 电子设备
CN209488764U (zh) 一种麦克风组件
CN210075462U (zh) 一种网络通信交换机
CN208687569U (zh) 一种多功能夜书灯
CN206805105U (zh) 一种适用于双摄像头手机的附加镜头
CN201467289U (zh) 一种以独立显示屏实现远距离拍摄的数码相机
CN207573364U (zh) 光通信信号调节装置
TWI803419B (zh) 攝像頭模組及電子產品
CN218957004U (zh) 一种带插入式滤镜的ef卡口镜头转e卡口相机转接环
CN213149414U (zh) 带摄像头眼镜
CN213718017U (zh) 一种具有防尘结构的手机摄像头
CN216700083U (zh) 一种海思智能ai相机
CN223377584U (zh) 一种相机滤镜固定结构

Legal Events

Date Code Title Description
PB01 Publication
PB01 Publication
SE01 Entry into force of request for substantive examination
SE01 Entry into force of request for substantive examination
RJ01 Rejection of invention patent application after publication

Application publication date: 20211130

RJ01 Rejection of invention patent application after publication