CN113700713A - 一种膨胀螺栓及其拆装工具 - Google Patents
一种膨胀螺栓及其拆装工具 Download PDFInfo
- Publication number
- CN113700713A CN113700713A CN202111058659.9A CN202111058659A CN113700713A CN 113700713 A CN113700713 A CN 113700713A CN 202111058659 A CN202111058659 A CN 202111058659A CN 113700713 A CN113700713 A CN 113700713A
- Authority
- CN
- China
- Prior art keywords
- bolt
- sleeve
- nut
- expansion
- expansion bolt
- Prior art date
- Legal status (The legal status is an assumption and is not a legal conclusion. Google has not performed a legal analysis and makes no representation as to the accuracy of the status listed.)
- Pending
Links
- 238000009434 installation Methods 0.000 claims abstract description 10
- 230000007704 transition Effects 0.000 claims description 4
- 238000005553 drilling Methods 0.000 description 3
- 239000012634 fragment Substances 0.000 description 2
- 238000000034 method Methods 0.000 description 2
- 230000008569 process Effects 0.000 description 2
- 229920000426 Microplastic Polymers 0.000 description 1
- 230000009286 beneficial effect Effects 0.000 description 1
- 238000010276 construction Methods 0.000 description 1
- 230000005489 elastic deformation Effects 0.000 description 1
- 239000000463 material Substances 0.000 description 1
- 230000004048 modification Effects 0.000 description 1
- 238000012986 modification Methods 0.000 description 1
- 230000009467 reduction Effects 0.000 description 1
- 239000002699 waste material Substances 0.000 description 1
Images
Classifications
-
- F—MECHANICAL ENGINEERING; LIGHTING; HEATING; WEAPONS; BLASTING
- F16—ENGINEERING ELEMENTS AND UNITS; GENERAL MEASURES FOR PRODUCING AND MAINTAINING EFFECTIVE FUNCTIONING OF MACHINES OR INSTALLATIONS; THERMAL INSULATION IN GENERAL
- F16B—DEVICES FOR FASTENING OR SECURING CONSTRUCTIONAL ELEMENTS OR MACHINE PARTS TOGETHER, e.g. NAILS, BOLTS, CIRCLIPS, CLAMPS, CLIPS OR WEDGES; JOINTS OR JOINTING
- F16B13/00—Dowels or other devices fastened in walls or the like by inserting them in holes made therein for that purpose
- F16B13/04—Dowels or other devices fastened in walls or the like by inserting them in holes made therein for that purpose with parts gripping in the hole or behind the reverse side of the wall after inserting from the front
- F16B13/06—Dowels or other devices fastened in walls or the like by inserting them in holes made therein for that purpose with parts gripping in the hole or behind the reverse side of the wall after inserting from the front combined with expanding sleeve
- F16B13/063—Dowels or other devices fastened in walls or the like by inserting them in holes made therein for that purpose with parts gripping in the hole or behind the reverse side of the wall after inserting from the front combined with expanding sleeve by the use of an expander
- F16B13/066—Dowels or other devices fastened in walls or the like by inserting them in holes made therein for that purpose with parts gripping in the hole or behind the reverse side of the wall after inserting from the front combined with expanding sleeve by the use of an expander fastened by extracting a separate expander-part, actuated by the screw, nail or the like
-
- B—PERFORMING OPERATIONS; TRANSPORTING
- B25—HAND TOOLS; PORTABLE POWER-DRIVEN TOOLS; MANIPULATORS
- B25B—TOOLS OR BENCH DEVICES NOT OTHERWISE PROVIDED FOR, FOR FASTENING, CONNECTING, DISENGAGING OR HOLDING
- B25B13/00—Spanners; Wrenches
- B25B13/02—Spanners; Wrenches with rigid jaws
- B25B13/06—Spanners; Wrenches with rigid jaws of socket type
Landscapes
- Engineering & Computer Science (AREA)
- Mechanical Engineering (AREA)
- General Engineering & Computer Science (AREA)
- Hand Tools For Fitting Together And Separating, Or Other Hand Tools (AREA)
Abstract
本发明提出了一种膨胀螺栓,包括螺栓主体、套管、垫圈及螺母,所述螺栓主体包括栓头、栓身及螺纹段的栓尾,所述套管靠近所述栓头端设有切槽,所述栓头为锥形,该锥形的锥度≤1:2,所述套管的内径与所述栓尾的螺纹大径相同,且相互间隙配合。本发明稳定性好、安装牢固、可重复使用。
Description
技术领域
本发明属于紧固件领域,具体涉及一种膨胀螺栓及其拆装工具。
背景技术
膨胀螺栓是一类目前普遍用来安装物件的紧固件,现有的膨胀螺栓有时好用,有时难用。难用时主要表现在:1、螺栓敲入钻孔后,如果钻孔误差偏大,在拧紧螺母时,整个螺栓就会转动,拧不紧螺母。有时套管不动,螺栓栓体也会转动,也拧不紧螺母;2、有时在拧紧螺母后再稍用力拧一下,螺栓栓体松动了,再也拧不紧螺母,所以感觉有一定的紧固度就不能再拧;3、有时螺母一直就是拧不紧,钻孔口套管拧变形了也拧不紧螺母;4、会晃动、振动或者拉脱力大的物件安装后不久膨胀螺栓就会松动,甚至脱出,出现许多麻烦和造成许多安全隐患;5、由于螺栓的栓尾摆动幅度大,容易损伤钻孔,安装的物件不易规范和标准化;6、拧紧的螺栓一般难以取出,即使费劲取出也容易破坏套管,不能再重新利用。
发明内容
针对背景技术中的不足,本发明的第一目的是提出一种稳定性好、安装牢固、可重复使用的膨胀螺栓,第二目的是提出一种专用的膨胀螺栓的拆装工具。
本发明的第一目的是这样实现的:一种膨胀螺栓,包括螺栓主体、套管、垫圈及螺母,所述螺栓主体包括栓头、栓身及螺纹段的栓尾,所述套管靠近所述栓头端设有切槽,所述栓头为锥形,该锥形的锥度≤1:2,所述套管的内径与所述栓尾的螺纹大径相同,且相互间隙配合。
现有技术的膨胀螺栓栓头较短,即栓头锥度远大于1:2,且套管壁较薄,套管内径远大于栓身栓尾的外径;本发明的栓头采用“长头”,即栓头锥度≤1:2,同时在满足装配条件的情况下,使套管内径尽量与栓身栓尾的外径相同,以最大限度地增加套管的壁厚,其壁厚是现有技术套管壁厚的2至3倍以上,其带来的有益效果是:1、安装使用时,当栓头挤入套管后,套管壁越厚,膨幅就越大,膨力就越大,稳固度就越高,拧紧后的螺栓就不易松动和脱出。2、栓头采用“长头”结构可使安装者根据不同材质的墙面钻孔的误差大小,灵活使用不同栓头斜面段作用于套管形成膨幅所产生的对钻孔壁的膨力来紧固螺栓。实际使用中一般不会用到套管的最大膨幅来固定螺栓,一般来说质软或钻孔偏大就多拧螺母加大膨幅,否则可少拧螺母,使用者可选择不同的安装紧固度。3、“长头”结合“厚壁”结构还可使本发明的膨胀螺栓“越脱越紧”,这是因为套管的最大膨幅产生的膨力一般是用不到的,大多时候用到的是栓头斜面中段和套管前端膨幅产生的膨力。在固定的物件往外移动时就会带动螺栓主体往外移动,由于套管被与钻孔壁的摩擦力固定,螺栓主体往外移动就会使栓头进一步挤入套管从而膨幅增大,栓头处的膨力就自动增强,紧固度自动提高,螺栓变稳固,这就使本膨胀螺栓有了“自稳”功能。
进一步地,所述栓头设有凸棱,该凸棱靠近所述套管端的宽度小于所述切槽的宽度。现有的膨胀螺栓安装后难以取出,许多被强行取出后套管严重损坏,不能再使用,本发明设置的凸棱嵌入切槽中,取出螺栓时可带动套管一起转动,可轻松取出螺栓,由于套管变形小,取出的膨胀螺栓可重新使用,减少了浪费,节约了社会资源。
较优地,所述凸棱另一端的宽度大于靠近所述套管端的宽度。该设置有利于凸棱嵌入切槽中并与切槽紧密配合。
进一步地,所述套管的切槽有一条为延伸至套管另一端的贯通切槽。贯通切槽的设置可使螺栓敲入时,套管因钻孔缩小而可以收缩,增加了其适用性,其次,它通过收缩可夹紧螺栓主体,有利于拧紧螺母,且进一步减少晃动,再次,它在取螺栓时可随螺栓主体转动,转动擦出钻孔的固螺层碎屑并收容这些碎屑,有利于轻松取出螺栓;贯通切槽还有一个作用就是在特殊安装时可从钻孔口楔入一楔体来增加螺栓的紧固度。
较优地,所述栓身的直径与所述栓尾的螺纹大径相同。现有的螺栓的栓尾螺纹大径一般大于栓身直径,栓身直径与栓尾螺纹大径相同设置可使得在栓身强度相同情况下减少套管内径尺寸,进一步增加套管壁厚。
较优地,所述凸棱及切槽的数量均为4,且相互位置对应。
较优地,所述套管的外径与安装用的钻孔内径过渡配合。由于贯通切槽的设置,安装敲入螺栓时套管可以缩小,这使得套管外径可进一步做大,从而进一步增加套管壁厚度,提升其安装适用性和可靠性。
本发明的膨胀螺栓与现有技术对比如下:
本发明的第二目的是这样实现的:一种膨胀螺栓的拆装工具,包括工具主体,所述工具主体上设有用于松紧所述螺母的套筒及用于顶入所述套管的顶管,该顶管的外径小于等于所述套管的外径,内径大于等于所述套管的内径。
进一步地,所述工具主体上还设有取螺帽,该取螺帽为一盲孔,内设螺纹,该螺纹与所述栓尾的螺纹相配合。
较优地,所述工具主体为十字形,所述套筒、顶管及取螺帽均为两个,所述十字形工具主体的两端设置两个所述套筒,另两端设置两个所述顶管,中央设置两个所述取螺帽,所述两个套筒、两个顶管及两个取螺帽的尺寸不同,构成两种规格的两套拆装工具。
使用该拆装工具可方便有效地对本发明的膨胀螺栓进行安装和拆卸。
附图说明
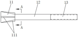
图1为本发明的一种膨胀螺栓的结构示意图;
图2为图1的剖面图示意图;
图3为螺栓主体示意图;
图4为图3中栓头局部示意图;
图5为图3中A-A向视图示意图;
图6为套管示意图;
图7为图6中俯视图示意图;
图8为图6中右视图示意图;
图9为本发明的一种膨胀螺栓的拆装工具的结构示意图;
图10为图9中的左视图示意图;
图11为图10中B-B向视图示意图;
图中:1-螺栓主体,11-栓头,111-凸棱,12-栓身,13-栓尾,2-套管,21切槽,211-贯通切槽,3-垫圈,4-螺母,5,工具主体,51-套筒,52-顶管,53-取螺帽。
具体实施方式
下面将结合本发明实施例中的附图,对本发明实施例中的技术方案进行清楚、完整地描述,显然,所描述的实施例仅仅是本发明一部分实施例,而不是全部的实施例。基于本发明中的实施例,本领域普通技术人员在没有作出创造性劳动前提下所获得的所有其他实施例,都属于本发明保护的范围。
如图1至8所示的膨胀螺栓,包括螺栓主体1、套管2、垫圈3及螺母4,螺栓主体1包括栓头11、栓身12及螺纹段的栓尾13,栓头11为锥形,该锥形的锥度=1:5,栓头11设有4个凸棱111,该凸棱111靠近套管2端的宽度b小于切槽21的宽度a,凸棱111另一端的宽度c大于靠近套管2端的宽度b,栓身12的直径与栓尾13的螺纹大径相同,套管2靠近栓头11端设有4条切槽21,其中一条为延伸至套管2另一端的贯通切槽211,套管2的内径与栓尾13的螺纹大径相同,且相互间隙配合,套管2的外径与安装用的钻孔内径过渡配合,套管2也可以通过采用两根或多根“薄壁”管叠加套在一起来实现其“厚壁”。
膨胀螺栓的工作原理和工作过程:安装时,将螺栓敲入钻孔中,由于套管2与钻孔为过渡配合,这个过程中套管2因贯通切槽211的存在会有所缩小,从而紧贴栓身12,使得螺栓主体1更不容易活动,拧紧螺母4,栓头11挤入套管2中使其膨胀,从而紧固螺栓;拆除时,将螺栓主体1向钻孔内敲入少许,由于套管2采用厚壁,变形小,一般仍处于弹性变形阶段或者微塑性变形阶段,套管2易收缩恢复原状,转动螺栓主体1,由于凸棱111处于切槽21中,带动套管2一起转动,转动擦出钻孔的固螺层碎屑并由切槽21及贯通切槽211收容这些碎屑,从而轻松取出螺栓。
如图9至图11所示的膨胀螺栓的拆装工具,包括十字形工具主体5,工具主体5两端设有用于松紧螺母4的套筒51,套筒51为外六角或梅花套筒扳手,另两端设有用于顶入套管2的顶管52,该顶管52的外径稍小于套管2的外径,内径稍大于套管2的内径,中央设有两个背对背的取螺帽53,取螺帽53为一盲孔,内设螺纹,该螺纹与栓尾13的螺纹相配合,其中一组套筒51、顶管52、取螺帽53的规格为12,另一组的规格为14。
安装时,将膨胀螺栓置入钻孔中,套管2受阻后用拆装工具的顶管52将套管2顶入,然后用套筒51拧紧螺母4,完成安装;拆卸时,用套筒51松动螺母4,将栓尾13向钻孔内敲入少许,然后将取螺帽53旋入栓尾13,栓尾13顶到取螺帽53底部后继续旋转,取螺帽53将带动螺栓主体1转动,螺栓主体1上的凸棱111带动套管2转动,从而轻松取出膨胀螺栓。
以上所述仅为本发明的较佳实施例而已,并不用以限制本发明,凡在本发明的精神和原则之内,所作的任何修改、等同替换、改进等,均应包含在本发明的保护范围之内。
Claims (10)
1.一种膨胀螺栓,包括螺栓主体(1)、套管(2)、垫圈(3)及螺母(4),所述螺栓主体(1)包括栓头(11)、栓身(12)及螺纹段的栓尾(13),所述套管(2)靠近所述栓头(11)端设有切槽(21),其特征在于:所述栓头(11)为锥形,该锥形的锥度≤1:2,所述套管(2)的内径与所述栓尾(13)的螺纹大径相同,且相互间隙配合。
2.如权利要求1所述的膨胀螺栓,其特征在于:所述栓头(11)设有凸棱(111),该凸棱(111)靠近所述套管(2)端的宽度(b)小于所述切槽(21)的宽度(a)。
3.如权利要求2所述的膨胀螺栓,其特征在于:所述凸棱(111)另一端的宽度(c)大于靠近所述套管(2)端的宽度(b)。
4.如权利要求1至3任一项所述的膨胀螺栓,其特征在于:所述套管(2)的切槽(21)有一条为延伸至套管(2)另一端的贯通切槽(211)。
5.如权利要求4所述的膨胀螺栓,其特征在于:所述栓身(12)的直径与所述栓尾(13)的螺纹大径相同。
6.如权利要求4所述的膨胀螺栓,其特征在于:所述凸棱(111)及切槽(21)的数量均为4,且相互位置对应。
7.如权利要求4所述的膨胀螺栓,其特征在于:所述套管(2)的外径与安装用的钻孔内径过渡配合。
8.如权利要求1至7任一项所述的膨胀螺栓的拆装工具,包括工具主体(5),其特征在于:所述工具主体(5)上设有用于松紧所述螺母(4)的套筒(51)及用于顶入所述套管(2)的顶管(52),该顶管(52)的外径小于等于所述套管(2)的外径,内径大于等于所述套管(2)的内径。
9.如权利要求8所述的拆装工具,其特征在于:所述工具主体(5)上还设有取螺帽(53),该取螺帽(53)为一盲孔,内设螺纹,该螺纹与所述栓尾(13)的螺纹相配合。
10.如权利要求9所述的拆装工具,其特征在于:所述工具主体(5)为十字形,所述套筒(51)、顶管(52)及取螺帽(53)均为两个,所述十字形工具主体(5)的两端设置两个所述套筒(51),另两端设置两个所述顶管(52),中央设置两个所述取螺帽(53),所述两个套筒(51)、两个顶管(52)及两个取螺帽(53)的尺寸不同,构成两种规格的两套拆装工具。
Priority Applications (1)
| Application Number | Priority Date | Filing Date | Title |
|---|---|---|---|
| CN202111058659.9A CN113700713A (zh) | 2021-09-08 | 2021-09-08 | 一种膨胀螺栓及其拆装工具 |
Applications Claiming Priority (1)
| Application Number | Priority Date | Filing Date | Title |
|---|---|---|---|
| CN202111058659.9A CN113700713A (zh) | 2021-09-08 | 2021-09-08 | 一种膨胀螺栓及其拆装工具 |
Publications (1)
| Publication Number | Publication Date |
|---|---|
| CN113700713A true CN113700713A (zh) | 2021-11-26 |
Family
ID=78659732
Family Applications (1)
| Application Number | Title | Priority Date | Filing Date |
|---|---|---|---|
| CN202111058659.9A Pending CN113700713A (zh) | 2021-09-08 | 2021-09-08 | 一种膨胀螺栓及其拆装工具 |
Country Status (1)
| Country | Link |
|---|---|
| CN (1) | CN113700713A (zh) |
Cited By (1)
| Publication number | Priority date | Publication date | Assignee | Title |
|---|---|---|---|---|
| WO2023036107A1 (zh) * | 2021-09-08 | 2023-03-16 | 潘树江 | 一种膨胀螺栓的拆装工具 |
Citations (8)
| Publication number | Priority date | Publication date | Assignee | Title |
|---|---|---|---|---|
| CN2714872Y (zh) * | 2004-03-25 | 2005-08-03 | 李广卫 | 一种可拆卸膨胀螺栓 |
| TWM407967U (en) * | 2011-01-20 | 2011-07-21 | Jing-Wen Tao | Fixing/adhering element for wall nail of nail gun |
| CN203650364U (zh) * | 2013-11-22 | 2014-06-18 | 松阳县轻源机械设备有限公司 | 一种多功能扳手 |
| CN204700840U (zh) * | 2015-06-09 | 2015-10-14 | 中建三局智能技术有限公司 | 一种与通丝螺杆配合使用的膨胀螺栓的安装工具 |
| EP3252323A1 (de) * | 2016-06-02 | 2017-12-06 | fischerwerke GmbH & Co. KG | Anker |
| CN206816641U (zh) * | 2017-06-22 | 2017-12-29 | 吉林建筑大学 | 可拆卸膨胀螺栓 |
| CN110219864A (zh) * | 2019-06-06 | 2019-09-10 | 法施达科技有限公司 | 一种防胀管脱落的膨胀锚栓 |
| CN216343256U (zh) * | 2021-09-08 | 2022-04-19 | 潘树江 | 一种膨胀螺栓 |
-
2021
- 2021-09-08 CN CN202111058659.9A patent/CN113700713A/zh active Pending
Patent Citations (9)
| Publication number | Priority date | Publication date | Assignee | Title |
|---|---|---|---|---|
| CN2714872Y (zh) * | 2004-03-25 | 2005-08-03 | 李广卫 | 一种可拆卸膨胀螺栓 |
| TWM407967U (en) * | 2011-01-20 | 2011-07-21 | Jing-Wen Tao | Fixing/adhering element for wall nail of nail gun |
| CN203650364U (zh) * | 2013-11-22 | 2014-06-18 | 松阳县轻源机械设备有限公司 | 一种多功能扳手 |
| CN204700840U (zh) * | 2015-06-09 | 2015-10-14 | 中建三局智能技术有限公司 | 一种与通丝螺杆配合使用的膨胀螺栓的安装工具 |
| EP3252323A1 (de) * | 2016-06-02 | 2017-12-06 | fischerwerke GmbH & Co. KG | Anker |
| CN206816641U (zh) * | 2017-06-22 | 2017-12-29 | 吉林建筑大学 | 可拆卸膨胀螺栓 |
| CN110219864A (zh) * | 2019-06-06 | 2019-09-10 | 法施达科技有限公司 | 一种防胀管脱落的膨胀锚栓 |
| CN216343256U (zh) * | 2021-09-08 | 2022-04-19 | 潘树江 | 一种膨胀螺栓 |
| CN216913719U (zh) * | 2021-09-08 | 2022-07-08 | 潘树江 | 一种膨胀螺栓的拆装工具 |
Cited By (2)
| Publication number | Priority date | Publication date | Assignee | Title |
|---|---|---|---|---|
| WO2023036107A1 (zh) * | 2021-09-08 | 2023-03-16 | 潘树江 | 一种膨胀螺栓的拆装工具 |
| WO2023036106A1 (zh) * | 2021-09-08 | 2023-03-16 | 潘树江 | 一种膨胀螺栓 |
Similar Documents
| Publication | Publication Date | Title |
|---|---|---|
| CA2080560C (en) | Anchor | |
| US5625994A (en) | Self-drilling anchor | |
| CN216913719U (zh) | 一种膨胀螺栓的拆装工具 | |
| JP4779006B2 (ja) | 建築用ネジ | |
| CN207485805U (zh) | 一种可拆卸重复使用的锚栓 | |
| CN113700713A (zh) | 一种膨胀螺栓及其拆装工具 | |
| US20230304525A1 (en) | Post-to-beam fastener | |
| KR100891371B1 (ko) | 앵커볼트 | |
| US4339218A (en) | Self-locking fastener | |
| CN207609662U (zh) | 一种可拆式膨胀螺钉 | |
| CN211174927U (zh) | 一种可回收使用的膨胀螺栓 | |
| CN206320157U (zh) | 径向锁紧的防松止退螺母 | |
| KR20200059793A (ko) | 스트롱 앵커 | |
| GB2388881A (en) | Threaded fastener | |
| CN201050528Y (zh) | 一种膨胀螺栓 | |
| CN216161530U (zh) | 一种瓷瓶组件 | |
| CN109826854B (zh) | 一种建筑膨胀螺套的锚固及拆除方法 | |
| KR20110061179A (ko) | 세트 앵커볼트 | |
| CN208565183U (zh) | 可拆卸膨胀螺栓 | |
| JP2001065533A (ja) | 緩み防止ボルト | |
| CN212297194U (zh) | 防震锚栓 | |
| CN115573987A (zh) | 一种不锈钢敲击背栓 | |
| CN119308921B (zh) | 一种膨胀螺栓 | |
| CN207673686U (zh) | 一种新型外迫锚栓 | |
| KR102398843B1 (ko) | 스트롱 앵커 |
Legal Events
| Date | Code | Title | Description |
|---|---|---|---|
| PB01 | Publication | ||
| PB01 | Publication | ||
| SE01 | Entry into force of request for substantive examination | ||
| SE01 | Entry into force of request for substantive examination |

