CN113619856A - 吸管生产装置的连接输送线 - Google Patents
吸管生产装置的连接输送线 Download PDFInfo
- Publication number
- CN113619856A CN113619856A CN202110927013.3A CN202110927013A CN113619856A CN 113619856 A CN113619856 A CN 113619856A CN 202110927013 A CN202110927013 A CN 202110927013A CN 113619856 A CN113619856 A CN 113619856A
- Authority
- CN
- China
- Prior art keywords
- conveying belt
- straw
- belt
- pipe
- straws
- Prior art date
- Legal status (The legal status is an assumption and is not a legal conclusion. Google has not performed a legal analysis and makes no representation as to the accuracy of the status listed.)
- Pending
Links
- 239000010902 straw Substances 0.000 title claims abstract description 108
- 238000004519 manufacturing process Methods 0.000 title claims abstract description 21
- 238000004806 packaging method and process Methods 0.000 claims abstract description 16
- 238000005520 cutting process Methods 0.000 claims abstract description 13
- 238000003860 storage Methods 0.000 claims description 13
- 210000000078 claw Anatomy 0.000 claims description 11
- 230000005540 biological transmission Effects 0.000 claims description 10
- 238000000034 method Methods 0.000 claims description 2
- 238000010924 continuous production Methods 0.000 abstract description 3
- 230000033001 locomotion Effects 0.000 description 13
- 238000001816 cooling Methods 0.000 description 2
- 238000012856 packing Methods 0.000 description 2
- 240000007643 Phytolacca americana Species 0.000 description 1
- 238000007599 discharging Methods 0.000 description 1
- 239000006260 foam Substances 0.000 description 1
- 230000008676 import Effects 0.000 description 1
Images
Classifications
-
- B—PERFORMING OPERATIONS; TRANSPORTING
- B65—CONVEYING; PACKING; STORING; HANDLING THIN OR FILAMENTARY MATERIAL
- B65B—MACHINES, APPARATUS OR DEVICES FOR, OR METHODS OF, PACKAGING ARTICLES OR MATERIALS; UNPACKING
- B65B35/00—Supplying, feeding, arranging or orientating articles to be packaged
- B65B35/10—Feeding, e.g. conveying, single articles
- B65B35/24—Feeding, e.g. conveying, single articles by endless belts or chains
-
- B—PERFORMING OPERATIONS; TRANSPORTING
- B65—CONVEYING; PACKING; STORING; HANDLING THIN OR FILAMENTARY MATERIAL
- B65B—MACHINES, APPARATUS OR DEVICES FOR, OR METHODS OF, PACKAGING ARTICLES OR MATERIALS; UNPACKING
- B65B35/00—Supplying, feeding, arranging or orientating articles to be packaged
- B65B35/10—Feeding, e.g. conveying, single articles
- B65B35/20—Feeding, e.g. conveying, single articles by reciprocating or oscillatory pushers
-
- B—PERFORMING OPERATIONS; TRANSPORTING
- B65—CONVEYING; PACKING; STORING; HANDLING THIN OR FILAMENTARY MATERIAL
- B65B—MACHINES, APPARATUS OR DEVICES FOR, OR METHODS OF, PACKAGING ARTICLES OR MATERIALS; UNPACKING
- B65B35/00—Supplying, feeding, arranging or orientating articles to be packaged
- B65B35/30—Arranging and feeding articles in groups
- B65B35/40—Arranging and feeding articles in groups by reciprocating or oscillatory pushers
-
- B—PERFORMING OPERATIONS; TRANSPORTING
- B65—CONVEYING; PACKING; STORING; HANDLING THIN OR FILAMENTARY MATERIAL
- B65B—MACHINES, APPARATUS OR DEVICES FOR, OR METHODS OF, PACKAGING ARTICLES OR MATERIALS; UNPACKING
- B65B35/00—Supplying, feeding, arranging or orientating articles to be packaged
- B65B35/30—Arranging and feeding articles in groups
- B65B35/44—Arranging and feeding articles in groups by endless belts or chains
-
- B—PERFORMING OPERATIONS; TRANSPORTING
- B65—CONVEYING; PACKING; STORING; HANDLING THIN OR FILAMENTARY MATERIAL
- B65B—MACHINES, APPARATUS OR DEVICES FOR, OR METHODS OF, PACKAGING ARTICLES OR MATERIALS; UNPACKING
- B65B35/00—Supplying, feeding, arranging or orientating articles to be packaged
- B65B35/30—Arranging and feeding articles in groups
- B65B35/46—Arranging and feeding articles in groups by rotary conveyors
-
- B—PERFORMING OPERATIONS; TRANSPORTING
- B65—CONVEYING; PACKING; STORING; HANDLING THIN OR FILAMENTARY MATERIAL
- B65B—MACHINES, APPARATUS OR DEVICES FOR, OR METHODS OF, PACKAGING ARTICLES OR MATERIALS; UNPACKING
- B65B35/00—Supplying, feeding, arranging or orientating articles to be packaged
- B65B35/56—Orientating, i.e. changing the attitude of, articles, e.g. of non-uniform cross-section
- B65B35/58—Turning articles by positively-acting means, e.g. to present labelled portions in uppermost position
Landscapes
- Engineering & Computer Science (AREA)
- Mechanical Engineering (AREA)
Abstract
本发明涉及吸管生产装置的连接输送线。包括拨管机构、第一输送带、一次对齐机构、推管机构、二次对齐机构、回转机构、抓取机构、第二输送带、缓存仓和第三输送带。本发能够将吸管切断理管机与吸管包装机连接起来实现吸管的在线自动连续生产。
Description
技术领域
本发明涉及吸管生产中的设备,特别是将吸管生产装置连接起来,以形成吸管自动生产线的连接输送线。
背景技术
吸管生产装置主要包括塑料挤出机、冷却定型机、切断理管机和吸管包装机,其中的塑料挤出机、冷却定型机、切断理管机是依次连接成一条生产线,而吸管包装机却未与其连接成线,故吸管经切断理管机出来后需要人工转运至吸管包装机中进行包装,使吸管不能进行在线自动连续生产,而且吸管的转运费时且麻烦,降低了吸管的生产效率。并且吸管包装机在工作时,吸管的尖端(切成45°角的一端)要朝前进入吸管包装机,然而目前从切断理管机出来的吸管若直接输送到吸管包装机,进入吸管包装机时吸管的尖端朝后,故在吸管输送过程中必须要对吸管进行调头处理。
发明内容
本发明的目的是提供一种吸管生产装置的连接输送线,能够将吸管切断理管机与吸管包装机连接起来实现吸管的在线自动连续生产。
本发明所述吸管生产装置的连接输送线,包括拨管机构、第一输送带、一次对齐机构、推管机构、二次对齐机构、回转机构、抓取机构、第二输送带、缓存仓和第三输送带,拨管机构将从切断设备出来的吸管拨送至第一输送带,所述一次对齐机构位于第一输送带上,其将第一输送带上排列的吸管两端对整齐;推管机构位于第一输送带上,其将两端对齐的吸管推送至回转机构上;二次对齐机构将回转机构上的吸管两端再次对整齐;回转机构接纳推管机构推送来的吸管,在二次对整齐后将吸管旋转90°至下一工位;抓取机构将回转机构上的吸管抓取至第二输送带上;拨管机构位于第一输送带的进料端,推管机构位于第一输送带的出料端,一次对齐机构位于拨管机构与推管机构之间,回转机构位于第一输送带出料端的下方,二次对齐机构安装在推管机构上,位于回转机构上方,抓取机构位于第二输送带进料端上方,第二输送带的出料端位于缓存仓底部,第三输送带的进料端位于缓存仓底部,第二输送带出料端与第三输送带进料端通过衔接板前后衔接,第三输送带的出料端与吸管包装机的储料仓衔接,第二输送带、第三输送带与第一输送带相垂直。
所述拨管机构包括电机、传动皮带、主动皮带轮、从动皮带轮和输送皮带,主动皮带轮固定在电机输出轴上,其通过传动皮带与从动皮带轮连接,从动皮带轮带动输送皮带传动。
所述一次对齐机构包括两块相互平行的一次对齐板和两只一次对齐气缸,两块一次对齐板分别垂直位于第一输送带的两侧,两只一次对齐气缸相重叠,其活塞杆分别与两块一次对齐板垂直固定。
所述推管机构包括推板、水平气缸和垂直气缸,水平气缸的活塞杆与第一输送带平行,垂直气缸固定在水平气缸的活塞杆上,垂直气缸的活塞杆与第一输送带垂直,推板前端设置有向上的翻边,推板前端朝下倾斜固定在垂直气缸的活塞杆上。
所述二次对齐机构包括两块相互平行的二次对齐板和两只二次对齐气缸,两块二次对齐板与回转机构的回转盘垂直,两只二次对齐气缸相重叠,其活塞杆分别与两块二次对齐板垂直固定。
所述回转机构包括回转盘、回转轴、伺服电机和皮带皮带轮传动机构,回转盘固定在回转轴上,伺服电机的输出轴通过皮带皮带轮传动机构与回转轴连接,回转盘上固定有四只U形槽块,四只U形槽块在回转盘上沿周向均匀布置且位于同一个圆上,当回转盘旋转时,U形槽块能够从两块二次对齐板之间经过。
所述抓取机构包括滑块、滑轨、第一气缸、第二气缸、两只第三气缸和吸管爪,滑轨和第一气缸安装固定在第二输送带一侧的挡板上,与第二输送带平行,滑块固定在第一气缸的活塞杆上,其位于滑轨上与滑轨滑动配合,第二气缸固定在滑块上,与第二输送带垂直,两只第三气缸重叠固定在第二气缸的活塞杆上,其控制吸管爪的开合。
位于缓存仓外面的缓存仓底部的吸管进口处设置有由减速电机控制的拨管轮。
将所有的气缸、电机与气源和控制系统连接。从切断理管机出来的吸管经拨管机构的输送皮带拨送至第一输送带上,在第一输送带上经一次对齐机构进行第一次两端对齐之后,继续向前输送至推管机构,推管机构的推板在水平气缸和垂直气缸作用下作往复的前后运动和上下运动,从而将吸管成束推送至回转机构回转盘上的其中一只(停留在两块二次对齐板之间的那一只)U形槽块中,并通过二次对齐机构再次进行两端对齐后,回转机构的回转盘逆时针旋转1/4圈至下一工位实现吸管两端的调头,然后抓取机构在第一气缸、第二气缸和第三气缸作用下使吸管爪进行往复的水平运动、垂直运动和开合运动,从而将二次对齐后的成束吸管抓取至第二输送带上,通过第二输送带经缓存仓底部后端的吸管进口输送至缓存仓内,并在缓存仓内堆积,同时吸管被推挤至第三输送带上,由第三输送带经缓存仓底部前端的吸管出口输送至吸管包装机的储料仓内。
本发明由于具有该种结构,能够将切断理管机与吸管包装机连接起来,将切断理管机出来的吸管自动输送至吸管包装机的储料仓中,从而实现吸管的在线自动连续生产,真正实现了吸管生产的自动化,提高了吸管的生产效率。
附图说明
图1为本发明的主视图。
图2为图1的俯视图。
图3为图1中本发明右半部分的轴测图。
图4为图1中本发明左半部分的轴测图(去掉了缓存仓的正面挡板)。
图5为拨管机构的轴测图。
图6为一次对齐机构的轴测图。
图7为推管机构的轴测图。
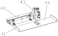
图8为二次对齐机构的轴测图。
图9为回转机构的轴测图。
图10为抓取机构的轴测图。
具体实施方式
下面结合附图对本发明作进一步详细说明。
如图1至图4所示,该吸管生产装置的连接输送线包括拨管机构1、第一输送带2、一次对齐机构3、推管机构4、二次对齐机构5、回转机构6、抓取机构7、第二输送带8、缓存仓10和第三输送带9,其中,如图5所示,拨管机构1包括电机11、传动皮带13、主动皮带轮12、从动皮带轮14和输送皮带15,主动皮带轮12固定在电机11输出轴上,其通过传动皮带13与从动皮带轮14连接,从动皮带轮14带动输送皮带15传动,输送皮带15粘贴有泡沫或者为齿形皮带,以方便吸管的拨送(拨送时吸管在输送皮带15的下方)。拨管机构1能够将吸管向前拨送至第一输送带2上。
如图6所示,一次对齐机构3包括两块相互平行的一次对齐板32和两只一次对齐气缸31,两块一次对齐板32分别垂直位于第一输送带2的两侧,两只一次对齐气缸31相重叠,其活塞杆分别与两块一次对齐板32垂直固定。一次对齐机构3能够使两块一次对齐板32反复作相互靠近的运动,从而将第一输送带2上排列运行中的吸管两端对整齐。
如图7所示,推管机构4包括推板44、水平气缸42和垂直气缸43,水平气缸42的活塞杆与第一输送带2平行,垂直气缸43固定在水平气缸42的活塞杆上,垂直气缸43的活塞杆与第一输送带2垂直,推板44前端设置有向上的翻边41,推板44前端朝下倾斜固定在垂直气缸43的活塞杆上。推管机构4能够使推板44作前后方向的水平运动和垂直上下运动,从而将第一输送带2出料端的吸管推送至回转机构6的U形槽块61中。所述翻边41和推板44前端朝下倾斜将有助于吸管的推送。
如图8所示,二次对齐机构5包括两块相互平行的二次对齐板52和两只二次对齐气缸51,两块二次对齐板52与回转机构6的回转盘62垂直,两只二次对齐气缸51相重叠,其活塞杆分别与两块二次对齐板52垂直固定。二次对齐机构5能够使两块二次对齐板52反复作相互靠近的运动,从而将U形槽块61中的吸管两端对整齐。
如图9所示,所述回转机构6包括回转盘62、回转轴65、伺服电机63和皮带皮带轮传动机构64,回转盘62固定在回转轴65上,伺服电机63的输出轴通过皮带皮带轮传动机构64与回转轴65连接,回转盘62上固定有四只U形槽块61,四只U形槽块61在回转盘62上沿周向均匀布置且位于同一个圆上,当回转盘62旋转时,U形槽块61能够从两块二次对齐板52之间经过。回转机构6反复作1/4圈的旋转,能够将四只U形槽块61反复依次停留在两块二次对齐板52之间,并在此位置接纳从推管机构4推送来的吸管,U形槽块61内的吸管经二次对齐后随回转盘62旋转1/4圈至下一工位。
如图10所示,抓取机构7包括滑块71、滑轨75、第一气缸72、第二气缸76、两只第三气缸74和吸管爪73,滑轨75和第一气缸72安装固定在第二输送带8一侧的挡板上,与第二输送带8平行,滑块71固定在第一气缸72的活塞杆上,其位于滑轨75上与滑轨滑动配合,第二气缸76固定在滑块71上,与第二输送带8垂直,两只第三气缸74重叠固定在第二气缸76的活塞杆上,其控制吸管爪73的开合。抓取机构7中的第一气缸72使吸管爪73作往复的水平运动,第二气缸76使吸管爪73作垂直上下运动,两只第三气缸74使吸管爪73作开合运动,从而将抓取机构7下方U形槽块61内的吸管抓取至第二输送带8上。
拨管机构1将从切断设备出来的吸管拨送至第一输送带2,所述一次对齐机构3位于第一输送带2上,其通过两只一次对齐气缸31活塞杆的伸缩带动两块一次对齐板32运动,将第一输送带2上排列运行中的吸管两端对整齐;推管机构4位于第一输送带2上,其将两端对齐的吸管推送至回转机构6上;二次对齐机构5将回转机构6上的吸管两端再次对整齐;回转机构6接纳推管机构4推送来的吸管,在二次对整齐后将吸管旋转90°至下一工位;抓取机构7将回转机构6上的吸管抓取至第二输送带8上。拨管机构1位于第一输送带2的进料端,推管机构4位于第一输送带2的出料端,一次对齐机构3位于拨管机构1与推管机构4之间,回转机构6位于第一输送带2出料端的下方,二次对齐机构5安装在推管机构4上,位于回转机构6上方,抓取机构7位于第二输送带8进料端上方,第二输送带8的出料端位于缓存仓10底部,第三输送带9的进料端位于缓存仓10底部,第二输送带8出料端与第三输送带9进料端通过衔接板12前后衔接,第三输送带9的出料端与吸管包装机的储料仓衔接。缓存仓10用于吸管的暂时存储,以保证吸管包装机的供料,缓存仓10内腔的宽度(即缓存仓10两侧挡板之间的距离)略大于吸管的长度。位于缓存仓10外面的缓存仓底部的吸管进口处设置有由减速电机控制的拨管轮11,拨管轮11能够使第二输送带8上的吸管顺利进入缓存仓10内。第二输送带8、第三输送带9与第一输送带2相垂直。
将所有的气缸、电机与气源和控制系统连接。从切断理管机出来的吸管经拨管机构1的输送皮带拨送至第一输送带2上,在第一输送带2上经一次对齐机构3进行第一次两端对齐之后,继续向前输送至推管机构4,推管机构4的推板44在水平气缸42和垂直气缸43作用下作往复的前后运动和上下运动,从而将吸管成束推送至回转机构6回转盘62上的其中一只(停留在两块二次对齐板52之间的那一只)U形槽块61中,并通过二次对齐机构5再次进行两端对齐后,回转机构6的回转盘62逆时针旋转1/4圈至下一工位实现吸管两端的调头,然后抓取机构7在第一气缸72、第二气缸76和第三气缸74作用下使吸管爪73进行往复的水平运动、垂直运动和开合运动,从而将二次对齐后的成束吸管抓取至第二输送带8上,通过第二输送带8经缓存仓10底部后端的吸管进口输送至缓存仓10内,并在缓存仓10内堆积,同时吸管被推挤至第三输送带9上,由第三输送带9经缓存仓10底部前端的吸管出口输送至吸管包装机的储料仓内。
Claims (8)
1.吸管生产装置的连接输送线,其特征在于:包括拨管机构(1)、第一输送带(2)、一次对齐机构(3)、推管机构(4)、二次对齐机构(5)、回转机构(6)、抓取机构(7)、第二输送带(8)、缓存仓(10)和第三输送带(9),拨管机构将从切断设备出来的吸管拨送至第一输送带,所述一次对齐机构位于第一输送带上,其将第一输送带上排列的吸管两端对整齐;推管机构位于第一输送带上,其将两端对齐的吸管推送至回转机构上;二次对齐机构将回转机构上的吸管两端再次对整齐;回转机构接纳推管机构推送来的吸管,在二次对整齐后将吸管旋转90°至下一工位;抓取机构将回转机构上的吸管抓取至第二输送带上;拨管机构位于第一输送带的进料端,推管机构位于第一输送带的出料端,一次对齐机构位于拨管机构与推管机构之间,回转机构位于第一输送带出料端的下方,二次对齐机构安装在推管机构上,位于回转机构上方,抓取机构位于第二输送带进料端上方,第二输送带的出料端位于缓存仓底部,第三输送带的进料端位于缓存仓底部,第二输送带出料端与第三输送带进料端通过衔接板(12)前后衔接,第三输送带的出料端与吸管包装机的储料仓衔接,第二输送带、第三输送带与第一输送带相垂直。
2.根据权利要求1所述吸管生产装置的连接输送线,其特征在于:所述拨管机构(1)包括电机(11)、传动皮带(13)、主动皮带轮(12)、从动皮带轮(14)和输送皮带(15),主动皮带轮固定在电机输出轴上,其通过传动皮带与从动皮带轮连接,从动皮带轮带动输送皮带传动。
3.根据权利要求1所述吸管生产装置的连接输送线,其特征在于:所述一次对齐机构(3)包括两块相互平行的一次对齐板32和两只一次对齐气缸31,两块一次对齐板分别垂直位于第一输送带(2)的两侧,两只一次对齐气缸相重叠,其活塞杆分别与两块一次对齐板垂直固定。
4.根据权利要求1所述吸管生产装置的连接输送线,其特征在于:所述推管机构(4)包括推板(44)、水平气缸(42)和垂直气缸(43),水平气缸的活塞杆与第一输送带(2)平行,垂直气缸固定在水平气缸的活塞杆上,垂直气缸的活塞杆与第一输送带垂直,推板前端设置有向上的翻边(41),推板前端朝下倾斜固定在垂直气缸的活塞杆上。
5.根据权利要求1所述吸管生产装置的连接输送线,其特征在于:所述二次对齐机构(5)包括两块相互平行的二次对齐板(52)和两只二次对齐气缸(51),两块二次对齐板与回转机构的回转盘(62)垂直,两只二次对齐气缸相重叠,其活塞杆分别与两块二次对齐板垂直固定。
6.根据权利要求1所述吸管生产装置的连接输送线,其特征在于:所述回转机构(6)包括回转盘(62)、回转轴(65)、伺服电机(63)和皮带皮带轮传动机构(64),回转盘固定在回转轴上,伺服电机的输出轴通过皮带皮带轮传动机构与回转轴连接,回转盘上固定有四只U形槽块(61),四只U形槽块在回转盘上沿周向均匀布置且位于同一个圆上,当回转盘旋转时,U形槽块能够从两块二次对齐板之间经过。
7.根据权利要求1所述吸管生产装置的连接输送线,其特征在于:所述抓取机构(7)包括滑块(71)、滑轨(75)、第一气缸(72)、第二气缸(76)、两只第三气缸(74)和吸管爪(73),滑轨和第一气缸安装固定在第二输送带(8)一侧的挡板上,与第二输送带平行,滑块固定在第一气缸的活塞杆上,其位于滑轨上与滑轨滑动配合,第二气缸固定在滑块上,与第二输送带垂直,两只第三气缸重叠固定在第二气缸的活塞杆上,其控制吸管爪的开合。
8.根据权利要求1所述吸管生产装置的连接输送线,其特征在于:位于缓存仓(10)外面的缓存仓底部的吸管进口处设置有由减速电机控制的拨管轮(11)。
Priority Applications (1)
| Application Number | Priority Date | Filing Date | Title |
|---|---|---|---|
| CN202110927013.3A CN113619856A (zh) | 2021-08-12 | 2021-08-12 | 吸管生产装置的连接输送线 |
Applications Claiming Priority (1)
| Application Number | Priority Date | Filing Date | Title |
|---|---|---|---|
| CN202110927013.3A CN113619856A (zh) | 2021-08-12 | 2021-08-12 | 吸管生产装置的连接输送线 |
Publications (1)
| Publication Number | Publication Date |
|---|---|
| CN113619856A true CN113619856A (zh) | 2021-11-09 |
Family
ID=78385027
Family Applications (1)
| Application Number | Title | Priority Date | Filing Date |
|---|---|---|---|
| CN202110927013.3A Pending CN113619856A (zh) | 2021-08-12 | 2021-08-12 | 吸管生产装置的连接输送线 |
Country Status (1)
| Country | Link |
|---|---|
| CN (1) | CN113619856A (zh) |
Cited By (4)
| Publication number | Priority date | Publication date | Assignee | Title |
|---|---|---|---|---|
| CN116198789A (zh) * | 2023-03-28 | 2023-06-02 | 广东力王新能源股份有限公司 | 一种碱性电池包装装置 |
| CN117415876A (zh) * | 2023-10-30 | 2024-01-19 | 重庆首瀚智能技术研究院有限公司 | 一种吸管生产线 |
| CN119262532A (zh) * | 2023-06-30 | 2025-01-07 | 楚天科技股份有限公司 | 一种口服吸管制剂及其灌装组装设备、生产方法 |
| CN119262532B (zh) * | 2023-06-30 | 2026-01-23 | 楚天科技股份有限公司 | 一种口服吸管制剂及其灌装组装设备、生产方法 |
Citations (11)
| Publication number | Priority date | Publication date | Assignee | Title |
|---|---|---|---|---|
| TW506411U (en) * | 2001-07-27 | 2002-10-11 | Chiou-Shiung Ji | Box for collecting plastic straws |
| CN202321615U (zh) * | 2011-09-28 | 2012-07-11 | 昆明欧迈科技有限公司 | 一种棒状物料90°调头输送装置 |
| CN202657657U (zh) * | 2012-04-27 | 2013-01-09 | 砀山县金利塑业有限公司 | 吸管整理装置 |
| KR20170114377A (ko) * | 2016-04-04 | 2017-10-16 | 주식회사 선진엠앤에스 | 분할교체타입의 스트로 포장기 |
| CN107651240A (zh) * | 2016-07-26 | 2018-02-02 | 柳韩Nci株式会社 | 包装袋自动包装机 |
| CN108274718A (zh) * | 2018-03-30 | 2018-07-13 | 漳州杰安塑料有限公司 | 一种吸管的自动化高效生产设备 |
| CN207860610U (zh) * | 2018-01-03 | 2018-09-14 | 深圳市鑫宏扬包装制品有限公司 | 高周波转盘机的转盘机构 |
| CN109896487A (zh) * | 2019-03-28 | 2019-06-18 | 江苏新美星包装机械股份有限公司 | 吸管的分管转向装置 |
| CN111747058A (zh) * | 2020-07-22 | 2020-10-09 | 安徽金利塑业股份有限公司 | 一种吸管断料后的接料系统 |
| CN111776317A (zh) * | 2020-07-30 | 2020-10-16 | 杭州隆歌机械有限公司 | 一种多支包吸管包装机 |
| CN213008956U (zh) * | 2020-07-13 | 2021-04-20 | 苏州知常智能科技有限公司 | 一种文具转盘式传送装置 |
-
2021
- 2021-08-12 CN CN202110927013.3A patent/CN113619856A/zh active Pending
Patent Citations (11)
| Publication number | Priority date | Publication date | Assignee | Title |
|---|---|---|---|---|
| TW506411U (en) * | 2001-07-27 | 2002-10-11 | Chiou-Shiung Ji | Box for collecting plastic straws |
| CN202321615U (zh) * | 2011-09-28 | 2012-07-11 | 昆明欧迈科技有限公司 | 一种棒状物料90°调头输送装置 |
| CN202657657U (zh) * | 2012-04-27 | 2013-01-09 | 砀山县金利塑业有限公司 | 吸管整理装置 |
| KR20170114377A (ko) * | 2016-04-04 | 2017-10-16 | 주식회사 선진엠앤에스 | 분할교체타입의 스트로 포장기 |
| CN107651240A (zh) * | 2016-07-26 | 2018-02-02 | 柳韩Nci株式会社 | 包装袋自动包装机 |
| CN207860610U (zh) * | 2018-01-03 | 2018-09-14 | 深圳市鑫宏扬包装制品有限公司 | 高周波转盘机的转盘机构 |
| CN108274718A (zh) * | 2018-03-30 | 2018-07-13 | 漳州杰安塑料有限公司 | 一种吸管的自动化高效生产设备 |
| CN109896487A (zh) * | 2019-03-28 | 2019-06-18 | 江苏新美星包装机械股份有限公司 | 吸管的分管转向装置 |
| CN213008956U (zh) * | 2020-07-13 | 2021-04-20 | 苏州知常智能科技有限公司 | 一种文具转盘式传送装置 |
| CN111747058A (zh) * | 2020-07-22 | 2020-10-09 | 安徽金利塑业股份有限公司 | 一种吸管断料后的接料系统 |
| CN111776317A (zh) * | 2020-07-30 | 2020-10-16 | 杭州隆歌机械有限公司 | 一种多支包吸管包装机 |
Cited By (4)
| Publication number | Priority date | Publication date | Assignee | Title |
|---|---|---|---|---|
| CN116198789A (zh) * | 2023-03-28 | 2023-06-02 | 广东力王新能源股份有限公司 | 一种碱性电池包装装置 |
| CN119262532A (zh) * | 2023-06-30 | 2025-01-07 | 楚天科技股份有限公司 | 一种口服吸管制剂及其灌装组装设备、生产方法 |
| CN119262532B (zh) * | 2023-06-30 | 2026-01-23 | 楚天科技股份有限公司 | 一种口服吸管制剂及其灌装组装设备、生产方法 |
| CN117415876A (zh) * | 2023-10-30 | 2024-01-19 | 重庆首瀚智能技术研究院有限公司 | 一种吸管生产线 |
Similar Documents
| Publication | Publication Date | Title |
|---|---|---|
| CN113619856A (zh) | 吸管生产装置的连接输送线 | |
| CN104724475B (zh) | 一种玻璃管输送装置 | |
| CN110254866B (zh) | 一种全自动管接头计数包装设备 | |
| CN212149538U (zh) | 纸箱自动打包系统 | |
| CN206720306U (zh) | 塑料箱码垛机 | |
| CN115123783B (zh) | 筒状物定向输送装置 | |
| CN206569292U (zh) | 一种用于高分子材料生产的添加剂的包装设备 | |
| CN112319922A (zh) | 一种全自动的尼龙扎带裁切包装一体机 | |
| CN103785726A (zh) | 一种管材弯曲成型设备 | |
| CN203624484U (zh) | 一种玻璃管输送装置 | |
| CN115557212A (zh) | 干米粉包自动上料分拣机 | |
| CN222247869U (zh) | 一种用于炭块包装的上料输送机 | |
| CN210259133U (zh) | 一种全自动管接头计数包装设备 | |
| CN210340294U (zh) | 一种用于瓶装生产线的空瓶风送设备 | |
| CN220918817U (zh) | 一种复合预混料的螺旋送料装置 | |
| CN112061496A (zh) | 一种袋装生物制剂生产的包装袋分装装置及其使用方法 | |
| CN218142338U (zh) | 啤酒瓶自动装箱机快速分道排瓶机构 | |
| CN215286862U (zh) | 一种小规格包装容器整理装置 | |
| CN114591123B (zh) | 一种药条自动混同装置及方法 | |
| CN214452169U (zh) | 一种生物试剂板自动包装入袋机构 | |
| CN210047039U (zh) | 一种吸管自动整理收集装置 | |
| CN209567115U (zh) | 一种专用于塑料袋捆扎的自动转向输送装置 | |
| CN221024317U (zh) | 一种食用黄油成品批量装箱设备 | |
| CN216070752U (zh) | 一种肉类包装机的供料设备 | |
| CN1810488B (zh) | 旋转直取式全自动塑料吹瓶机 |
Legal Events
| Date | Code | Title | Description |
|---|---|---|---|
| PB01 | Publication | ||
| PB01 | Publication | ||
| SE01 | Entry into force of request for substantive examination | ||
| SE01 | Entry into force of request for substantive examination |