CN113618023A - —种节能的汽车轮毂成型系统 - Google Patents
—种节能的汽车轮毂成型系统 Download PDFInfo
- Publication number
- CN113618023A CN113618023A CN202110923290.7A CN202110923290A CN113618023A CN 113618023 A CN113618023 A CN 113618023A CN 202110923290 A CN202110923290 A CN 202110923290A CN 113618023 A CN113618023 A CN 113618023A
- Authority
- CN
- China
- Prior art keywords
- forming die
- plate
- aluminum alloy
- alloy solution
- automobile hub
- Prior art date
- Legal status (The legal status is an assumption and is not a legal conclusion. Google has not performed a legal analysis and makes no representation as to the accuracy of the status listed.)
- Pending
Links
- XLYOFNOQVPJJNP-UHFFFAOYSA-N water Substances O XLYOFNOQVPJJNP-UHFFFAOYSA-N 0.000 claims abstract description 70
- 229910000838 Al alloy Inorganic materials 0.000 claims abstract description 67
- 239000007788 liquid Substances 0.000 claims abstract description 14
- RYGMFSIKBFXOCR-UHFFFAOYSA-N Copper Chemical compound [Cu] RYGMFSIKBFXOCR-UHFFFAOYSA-N 0.000 claims description 31
- 229910052802 copper Inorganic materials 0.000 claims description 31
- 239000010949 copper Substances 0.000 claims description 31
- 238000000465 moulding Methods 0.000 claims description 31
- 238000001914 filtration Methods 0.000 claims description 24
- 238000010521 absorption reaction Methods 0.000 claims description 18
- 230000017525 heat dissipation Effects 0.000 claims description 12
- 239000000243 solution Substances 0.000 abstract description 60
- 238000005266 casting Methods 0.000 abstract description 24
- 238000002347 injection Methods 0.000 abstract description 8
- 239000007924 injection Substances 0.000 abstract description 8
- 238000004519 manufacturing process Methods 0.000 abstract description 7
- 238000001816 cooling Methods 0.000 description 20
- 239000007921 spray Substances 0.000 description 20
- 229910001111 Fine metal Inorganic materials 0.000 description 9
- 229910052751 metal Inorganic materials 0.000 description 9
- 239000002184 metal Substances 0.000 description 9
- 238000005457 optimization Methods 0.000 description 6
- 230000005484 gravity Effects 0.000 description 5
- 238000010438 heat treatment Methods 0.000 description 4
- 238000000034 method Methods 0.000 description 4
- 230000008878 coupling Effects 0.000 description 3
- 238000010168 coupling process Methods 0.000 description 3
- 238000005859 coupling reaction Methods 0.000 description 3
- 238000010586 diagram Methods 0.000 description 3
- 238000005507 spraying Methods 0.000 description 3
- 125000004122 cyclic group Chemical group 0.000 description 2
- 230000000694 effects Effects 0.000 description 2
- 238000005495 investment casting Methods 0.000 description 2
- 230000009286 beneficial effect Effects 0.000 description 1
- 230000000903 blocking effect Effects 0.000 description 1
- 238000004891 communication Methods 0.000 description 1
- 230000006835 compression Effects 0.000 description 1
- 238000007906 compression Methods 0.000 description 1
- 230000008602 contraction Effects 0.000 description 1
- 239000000498 cooling water Substances 0.000 description 1
- 230000007547 defect Effects 0.000 description 1
- 238000004134 energy conservation Methods 0.000 description 1
- 230000007613 environmental effect Effects 0.000 description 1
- 238000011010 flushing procedure Methods 0.000 description 1
- 238000005242 forging Methods 0.000 description 1
- 238000009434 installation Methods 0.000 description 1
- 239000012466 permeate Substances 0.000 description 1
- 238000005498 polishing Methods 0.000 description 1
- 239000011148 porous material Substances 0.000 description 1
- 230000000717 retained effect Effects 0.000 description 1
- 239000004576 sand Substances 0.000 description 1
- 238000007493 shaping process Methods 0.000 description 1
- 239000002699 waste material Substances 0.000 description 1
Images
Classifications
-
- B—PERFORMING OPERATIONS; TRANSPORTING
- B22—CASTING; POWDER METALLURGY
- B22C—FOUNDRY MOULDING
- B22C9/00—Moulds or cores; Moulding processes
- B22C9/06—Permanent moulds for shaped castings
- B22C9/065—Cooling or heating equipment for moulds
-
- B—PERFORMING OPERATIONS; TRANSPORTING
- B22—CASTING; POWDER METALLURGY
- B22C—FOUNDRY MOULDING
- B22C9/00—Moulds or cores; Moulding processes
- B22C9/08—Features with respect to supply of molten metal, e.g. ingates, circular gates, skim gates
-
- B—PERFORMING OPERATIONS; TRANSPORTING
- B22—CASTING; POWDER METALLURGY
- B22C—FOUNDRY MOULDING
- B22C9/00—Moulds or cores; Moulding processes
- B22C9/08—Features with respect to supply of molten metal, e.g. ingates, circular gates, skim gates
- B22C9/086—Filters
-
- B—PERFORMING OPERATIONS; TRANSPORTING
- B22—CASTING; POWDER METALLURGY
- B22C—FOUNDRY MOULDING
- B22C9/00—Moulds or cores; Moulding processes
- B22C9/22—Moulds for peculiarly-shaped castings
- B22C9/28—Moulds for peculiarly-shaped castings for wheels, rolls, or rollers
-
- B—PERFORMING OPERATIONS; TRANSPORTING
- B22—CASTING; POWDER METALLURGY
- B22D—CASTING OF METALS; CASTING OF OTHER SUBSTANCES BY THE SAME PROCESSES OR DEVICES
- B22D27/00—Treating the metal in the mould while it is molten or ductile ; Pressure or vacuum casting
- B22D27/04—Influencing the temperature of the metal, e.g. by heating or cooling the mould
-
- B—PERFORMING OPERATIONS; TRANSPORTING
- B22—CASTING; POWDER METALLURGY
- B22D—CASTING OF METALS; CASTING OF OTHER SUBSTANCES BY THE SAME PROCESSES OR DEVICES
- B22D27/00—Treating the metal in the mould while it is molten or ductile ; Pressure or vacuum casting
- B22D27/08—Shaking, vibrating, or turning of moulds
Landscapes
- Engineering & Computer Science (AREA)
- Mechanical Engineering (AREA)
- Shaping Metal By Deep-Drawing, Or The Like (AREA)
Abstract
本发明涉及涉及汽车轮毂生产加工技术领域,具体的公开了—种节能的汽车轮毂成型系统,包括底板、振动电机、横板、水箱、下成型模具、上成型模具、四根滑杆和顶板,所述上成型模具与下成型模具的相对面均开设有相互配合的成型模腔,底板和横板之间固定有支撑板,水箱安装在横板与下成型模具之间。本发明中铝合金溶液罐中的铝合金溶液通过波纹输送管和注液孔进入至上成型模具和下成型模具之间形成的模腔内对汽车轮毂进行浇注成型,可将铝合金溶液在浇注过程中与模腔之间产生的气泡振动抖出,可将铝合金溶液在浇注成型时产生的气泡去除,提高汽车轮毂的浇筑成型刚度。
Description
技术领域
本发明涉及汽车轮毂生产加工技术领域,尤其涉及—种节能的汽车轮毂成型系统。
背景技术
轮毂,汽车轮胎内以轴为中心用于支撑轮胎的圆柱形金属部件,通俗地说,就是车轮中心安装车轴的部位,是连接制动鼓(制动盘)、轮盘和半轴的重要零部件。
轮毂的制造方法共有三种:重力铸造、锻造、低压精密铸造,其中,重力铸造法制造过程较为简单,不需要精密的铸造工艺,生产成本低而生产效率高,多为企业所共同选择,重力铸造法是利用重力把铝合金溶液浇注到模具内,成形后经车床处理打磨,即可完成生产,但现有的汽车轮毂成型系统在使用中,其铝合金溶液在浇注到模具的模腔内时会产生气泡(砂眼)留存在铝合金溶液内部,造成浇筑成型的汽车轮毂内部存在中空气泡而影响汽车轮毂的刚度,且浇注铝合金溶液后模具温度较高,需要等待模具冷却至合适温度后再进行浇注铝合金溶液,仅靠模具自身的冷却系统冷却效率较低,影响对汽车轮毂成型效率,因此,为了解决此类问题,我们提出了—种节能的汽车轮毂成型系统。
发明内容
本发明的目的是为了解决现有技术中存在的缺点,而提出的—种节能的汽车轮毂成型系统。
为了实现上述目的,本发明采用了如下技术方案:
—种节能的汽车轮毂成型系统,包括底板、振动电机、横板、水箱、下成型模具、上成型模具、四根滑杆和顶板,所述上成型模具与下成型模具的相对面均开设有相互配合的成型模腔,底板和横板之间固定有支撑板,水箱安装在横板与下成型模具之间,振动电机安装在横板底部,下成型模具固接在四根滑杆之间,顶板底部安装有液压缸,上成型模具固接在液压缸的活塞杆末端,顶板顶部设置有灌注机构,水箱内设置有热量利用机构。
优选的,所述灌注机构包括安装在顶板顶部的铝合金溶液罐,上成型模具上开设有注液孔,注液孔内安装有第一阀门,铝合金溶液罐通过波纹输送管与上成型模具上开设的注液孔相连通,铝合金溶液罐内设置有过滤机构。
优选的,所述过滤机构包括固定在铝合金溶液罐内壁的固定块,固定块顶部通过弹簧固接有过滤板,过滤板上开设有多个过滤孔,铝合金溶液罐侧面安装有收集罐,铝合金溶液罐与收集罐之间通过倾斜开设的输送口相连通,输送口与铝合金溶液罐的连通口位于固定块与过滤板之间。
优选的,所述过滤板侧面固定有滑块,铝合金溶液罐内壁开设有竖直的滑槽,滑块滑动安装在滑槽内,铝合金溶液罐顶部连通有加注口,收集罐侧面开设有开关门。
优选的,所述热量利用机构包括固定在下成型模具底部的吸热铜板,吸热铜板位于水箱内,吸热铜板与水箱内底壁之间固接有散热铜管,下成型模具顶部对称固定有喷头架,两个喷头架上均倾斜安装有多个喷头,水箱两侧均连通有快接头,两个快接头均通过连接管与喷头相连通,喷头位于上成型模具下方,下成型模具上开设有透水孔,透水孔内安装有第二阀门。
优选的,所述横板底部固定有安装板,振动电机安装在安装板底部,支撑板的上下两端分别固接在横板底部和底板顶部,底板上开设有固定孔,底板底部涂刷有防滑垫。
优选的,所述上成型模具位于下成型模具上方,顶板底部安装有套筒,套筒内滑动套接有导向杆,导向杆端部固接在上成型模具顶部。
与现有技术相比,本发明的有益效果是:
1:本发明中铝合金溶液罐中的铝合金溶液通过波纹输送管和注液孔进入至上成型模具和下成型模具之间形成的模腔内对汽车轮毂进行浇注成型,振动电机带动上成型模具和下成型模具进行振动,可将铝合金溶液在浇注过程中与模腔之间产生的气泡振动抖出,可将铝合金溶液在浇注成型时产生的气泡去除,提高汽车轮毂的浇筑成型刚度,且振动电机在振动的同时带动铝合金溶液罐进行振动,可使其内的过滤板振动对铝合金溶液进行过滤,在过滤板振动过滤中可避免铝合金溶液中的细小金属残渣堵塞过滤板的过滤孔,可将铝合金溶液中的细小金属残渣过滤在过滤板上,避免其细小的金属残渣影响浇注成型的汽车轮毂的质量,提高汽车轮毂浇注成型后的刚度。
2:本发明中吸热铜板可将下成型模具和上成型模具内组成的模腔在对汽车轮毂进行浇注成型时产生的热量进行吸收,可快速对下成型模具进行冷却,且通过下成型模具吸收上成型模具热量,同时加快下成型模具和上成型模具的冷却效率,加快其形成的模腔内的汽车轮毂的快速冷却成型,提高汽车轮毂浇筑成型的效率,且吸热铜板将吸收的热量通过散热铜管散出,水箱内的水对散热铜管吸热冷却,保证散热铜管快速冷却对吸热铜板进行冷却,从而使吸热铜板持续快速的对下成型模具和上成型模具进行冷却,且水箱内的水吸收热量后变热,在将其温水通过喷头喷出对上成型模具和下成型模具进行喷淋冷却,提高其冷却效率,且通过散热铜管加热的温水通过喷头喷出对上成型模具和下成型模具进行喷淋冷却,可实现自给自足,不用单独浪费资源对喷淋冷却的水进行单独加热,节能环保,提高资源利用率。
3:本发明中喷头喷出温水对上成型模具和下成型模具进行喷淋冷却后,喷淋的水通过下成型模具上开设的透水孔再次回到水箱内进行循环利用,避免频繁对水箱内进行加水浪费水资源的问题,节约了水资源,且喷头在对上成型模具和下成型模具进行喷淋冷却时沾染在上成型模具和下成型模具表面的水滴会在振动电机的振动下滴落,避免有水滴残留在上成型模具和下成型模具相对面形成的模腔内而影响下次浇注成型的质量。
附图说明
图1为本发明提出的—种节能的汽车轮毂成型系统的轴测图;
图2为本发明提出的—种节能的汽车轮毂成型系统的轴测图;
图3为本发明提出的—种节能的汽车轮毂成型系统的剖视图;
图4为图3中A部的局部放大图;
图5为本发明提出的—种节能的汽车轮毂成型系统的主视图;
图6为本发明提出的—种节能的汽车轮毂成型系统的下成型模具的结构示意图;
图7为本发明提出的—种节能的汽车轮毂成型系统的上成型模具结构示意图;
图8为本发明提出的—种节能的汽车轮毂成型系统的振动电机的安装示意图。
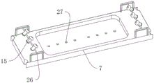
图中:1、底板;2、支撑板;3、安装板;4、振动电机;5、横板;6、水箱;7、下成型模具;8、上成型模具;9、滑杆;10、顶板;11、铝合金溶液罐;12、收集罐;13、液压缸;14、套筒;15、喷头;16、滑套;17、连接块;18、波纹输送管;19、吸热铜板;20、散热铜管;21、过滤板;22、弹簧;23、固定块;24、输送口;25、快接头;26、喷头架;27、透水孔;28、注液孔。
具体实施方式
下面将结合本发明实施例中的附图,对本发明实施例中的技术方案进行清楚、完整地描述,显然,所描述的实施例仅仅是本发明一部分实施例,而不是全部的实施例。
参照图1-8,—种节能的汽车轮毂成型系统,包括底板1、振动电机4、横板5、水箱6、下成型模具7、上成型模具8、四根滑杆9和顶板10,上成型模具8与下成型模具7的相对面均开设有相互配合的成型模腔,底板1和横板5之间固定有支撑板2,水箱6安装在横板5与下成型模具7之间,振动电机4安装在横板5底部,下成型模具7固接在四根滑杆9之间,顶板10底部安装有液压缸13,上成型模具8固接在液压缸13的活塞杆末端,顶板10顶部设置有灌注机构,水箱6内设置有热量利用机构。
作为本发明的一种技术优化方案,灌注机构包括安装在顶板10顶部的铝合金溶液罐11,上成型模具8上开设有注液孔28,注液孔28内安装有第一阀门,铝合金溶液罐11通过波纹输送管18与上成型模具8上开设的注液孔28相连通,铝合金溶液罐11内设置有过滤机构,铝合金溶液罐11中的铝合金溶液通过波纹输送管18和注液孔28进入至上成型模具8和下成型模具7之间形成的模腔内对汽车轮毂进行浇注成型。
作为本发明的一种技术优化方案,过滤机构包括固定在铝合金溶液罐11内壁的固定块23,固定块23顶部通过弹簧22固接有过滤板21,过滤板21上开设有多个过滤孔,过滤板21可对铝合金溶液罐11中的铝合金溶液进行国女,可将其铝合金溶液中的细小金属残渣过滤在过滤板21上,避免其细小的金属残渣影响浇注成型的汽车轮毂的质量,提高汽车轮毂浇注成型后的刚度,铝合金溶液罐11侧面安装有收集罐12,铝合金溶液罐11与收集罐12之间通过倾斜开设的输送口24相连通,输送口24与铝合金溶液罐11的连通口位于固定块23与过滤板21之间,其过滤板21上的细小金属残渣过滤过多时可压缩弹簧22至与输送口24齐平,可将过滤板21上过滤的金属残渣滑落至收集罐12内进行统一收集处理,避免过滤板21上金属残渣过多而造成过滤板21堵塞。
作为本发明的一种技术优化方案,过滤板21侧面固定有滑块,铝合金溶液罐11内壁开设有竖直的滑槽,滑块滑动安装在滑槽内,可为过滤板21在上下运动时提供导向作用,铝合金溶液罐11顶部连通有加注口,收集罐12侧面开设有开关门,开关门可便于取出收集罐12内收集的金属残渣。
作为本发明的一种技术优化方案,热量利用机构包括固定在下成型模具7底部的吸热铜板19,吸热铜板19位于水箱6内,吸热铜板19与水箱6内底壁之间固接有散热铜管20,下成型模具7顶部对称固定有喷头架26,两个喷头架26上均倾斜安装有多个喷头15,水箱6两侧均连通有快接头25,两个快接头25均通过连接管与喷头15相连通,喷头15位于上成型模具8下方,下成型模具7上开设有透水孔27,透水孔27内安装有第二阀门,吸热铜板19吸收下成型模具7和上成型模具8的热量,通过散热铜管20对水箱6内的水进行加热,利用下成型模具7和上成型模具8浇注铝合金溶液时的热量对水进行加热处理,水加热后通过喷头15喷出对下成型模具7和上成型模具8进行喷淋冷却,即节省水温加热所需的能量,又可对下成型模具7和上成型模具8进行喷淋冷却,节约资源、节能环保的同时又能对下成型模具7和上成型模具8进行喷淋加快冷却速度。
作为本发明的一种技术优化方案,横板5底部固定有安装板3,振动电机4安装在安装板3底部,振动电机4安装在安装板3底部,可便于后期对振动电机4进行拆卸更换等,支撑板2的上下两端分别固接在横板5底部和底板1顶部,底板1上开设有固定孔,底板1上的固定孔可便于对本装置进行安装固定,底板1底部涂刷有防滑垫。
作为本发明的一种技术优化方案,上成型模具8位于下成型模具7上方,顶板10底部安装有套筒14,套筒14内滑动套接有导向杆,导向杆端部固接在上成型模具8顶部,通过套筒14和导向杆的配合使用,可在液压缸13推动上成型模具8时提供导向,提高其运行稳定性。
本发明在使用时,启动液压缸13,液压缸13的活塞杆推动上成型模具8下移至与下成型模具7相贴合,其下成型模具7和上成型模具8之间形成成型模腔,启动振动电机4,振动电机4带动横板5、固定杆9、顶板10和铝合金溶液罐11振动,铝合金溶液罐11振动带动过滤板21振动,铝合金溶液罐11中的铝合金溶液在浇注成型前,其内会含有大量的为彻底融化的细小金属残渣,过滤板21可对铝合金溶液罐11中的金属残渣进行过滤,可将铝合金溶液中的细小金属残渣过滤在过滤板21上,避免其细小的金属残渣影响浇注成型的汽车轮毂的质量,提高汽车轮毂浇注成型后的刚度,从而带动上成型模具和下成型模具进行振动,过滤板21在振动电机4的作用下产生振动,可避免铝合金溶液中的金属残渣堵塞过滤板21上的过滤孔,且当过滤板21上过滤的金属残渣过多时,过滤板21在重力作用下下移压缩弹簧22至与输送口24齐平,可将过滤板21上过滤的金属残渣滑落至收集罐12内进行统一收集处理,避免过滤板21上金属残渣过多而造成过滤板21堵塞。
经过过滤后的铝合金溶液通过波纹输送管18和注液孔28注入上成型模具8和下成型模具7之间形成的成型模腔内自然冷却成型形成汽车轮毂,其铝合金溶液在浇注到成型模腔内的同时,振动电机4带动上成型模具8和下成型模具7产生振动,可将铝合金溶液在浇注过程中与模腔之间产生的气泡振动抖出,通过上成型模具8和下成型模具7自身带有的排气孔排出,可将铝合金溶液在浇注成型时产生的气泡去除,提高汽车轮毂的浇筑成型刚度。
铝合金溶液浇注至成型模腔等待冷却成型时,上成型模具8和下成型模具7会吸收铝合金溶液中的热量对铝合金溶液进行冷却,吸热铜板19可将下成型模具7和上成型模具8内组成的模腔在对汽车轮毂进行浇注成型时产生的热量进行吸收,可快速对下成型模具7进行冷却,且通过下成型模具7吸收上成型模具8热量,同时加快下成型模具7和上成型模具8的冷却效率,加快其形成的模腔内的汽车轮毂的快速冷却成型,提高汽车轮毂浇筑成型的效率,且吸热铜板19将吸收的热量通过散热铜管20散出,水箱6内的水对散热铜管20吸热冷却,保证散热铜管20快速冷却对吸热铜板19进行冷却,从而使吸热铜板19持续快速的对下成型模具7和上成型模具8进行冷却,且水箱6内的水吸收热量后变热,在将其温水通过喷头15喷出对上成型模具8和下成型模具7进行喷淋冷却,提高其冷却效率,且刚浇注完铝合金溶液的上成型模具8和下成型模具7具有高温,不能使用冷水进行冷却,其使用冷水冷却会因热胀冷缩的问题造成上成型模具8和下成型模具7形成的模腔精度发生变化,从而利用水箱6内的水吸收上成型模具8和下成型模具7浇筑成型时产生的热量进行加热成温水,再通过喷头15喷出对上成型模具8和下成型模具7进行喷淋冷却,可实现自给自足,不用单独浪费资源对喷淋冷却的水进行单独加热,节能环保,提高资源利用率。
喷头15喷出水箱6内吸热升温后的温水对上成型模具8和下成型模具7进行喷淋冷却后,打开下成型模具7上的透水孔27内的第二阀门,可使喷淋的水通过下成型模具7上开设的透水孔27再次回到水箱6内进行循环利用,避免频繁对水箱6内进行加水浪费水资源的问题,节约了水资源,且喷头15在对上成型模具和下成型模具进行喷淋冷却时沾染在上成型模具8和下成型模具7表面的水滴会在振动电机4的振动下滴落,避免有水滴残留在上成型模具8和下成型模具7相对面形成的模腔内而影响下次浇注成型的质量。
以上所述,仅为本发明较佳的具体实施方式,但本发明的保护范围并不局限于此,任何熟悉本技术领域的技术人员在本发明揭露的技术范围内,根据本发明的技术方案及其发明构思加以等同替换或改变,都应涵盖在本发明的保护范围之内。
Claims (8)
1.一种节能的汽车轮毂成型系统,包括底板(1)、振动电机(4)、横板(5)、水箱(6)、下成型模具(7)、上成型模具(8)、四根滑杆(9)和顶板(10),其特征在于,所述上成型模具(8)与下成型模具(7)的相对面均开设有相互配合的成型模腔,底板(1)和横板(5)之间固定有支撑板(2),水箱(6)安装在横板(5)与下成型模具(7)之间,振动电机(4)安装在横板(5)底部,下成型模具(7)固接在四根滑杆(9)之间,顶板(10)底部安装有液压缸(13),上成型模具(8)固接在液压缸(13)的活塞杆末端,顶板(10)顶部设置有灌注机构,水箱(6)内设置有热量利用机构。
2.根据权利要求1所述的—种节能的汽车轮毂成型系统,其特征在于,所述灌注机构包括安装在顶板(10)顶部的铝合金溶液罐(11),上成型模具(8)上开设有注液孔(28),注液孔(28)内安装有第一阀门,铝合金溶液罐(11)通过波纹输送管(18)与上成型模具(8)上开设的注液孔(28)相连通,铝合金溶液罐(11)内设置有过滤机构。
3.根据权利要求2所述的—种节能的汽车轮毂成型系统,其特征在于,所述过滤机构包括固定在铝合金溶液罐(11)内壁的固定块(23),固定块(23)顶部通过弹簧(22)固接有过滤板(21),过滤板(21)上开设有多个过滤孔,铝合金溶液罐(11)侧面安装有收集罐(12),铝合金溶液罐(11)与收集罐(12)之间通过倾斜开设的输送口(24)相连通,输送口(24)与铝合金溶液罐(11)的连通口位于固定块(23)与过滤板(21)之间。
4.根据权利要求3所述的—种节能的汽车轮毂成型系统,其特征在于,所述过滤板(21)侧面固定有滑块,铝合金溶液罐(11)内壁开设有竖直的滑槽,滑块滑动安装在滑槽内,铝合金溶液罐(11)顶部连通有加注口,收集罐(12)侧面开设有开关门。
5.根据权利要求1所述的—种节能的汽车轮毂成型系统,其特征在于,所述热量利用机构包括固定在下成型模具(7)底部的吸热铜板(19),吸热铜板(19)位于水箱(6)内,吸热铜板(19)与水箱(6)内底壁之间固接有散热铜管(20),下成型模具(7)顶部对称固定有喷头架(26),两个喷头架(26)上均倾斜安装有多个喷头(15),水箱(6)两侧均连通有快接头(25),两个快接头(25)均通过连接管与喷头(15)相连通,喷头(15)位于上成型模具(8)下方,下成型模具(7)上开设有透水孔(27),透水孔(27)内安装有第二阀门。
6.根据权利要求1所述的—种节能的汽车轮毂成型系统,其特征在于,所述横板(5)底部固定有安装板(3),振动电机(4)安装在安装板(3)底部,支撑板(2)的上下两端分别固接在横板(5)底部和底板(1)顶部,底板(1)上开设有固定孔,底板(1)底部涂刷有防滑垫。
7.根据权利要求1所述的—种节能的汽车轮毂成型系统,其特征在于,所述上成型模具(8)位于下成型模具(7)上方,顶板(10)底部安装有套筒(14),套筒(14)内滑动套接有导向杆,导向杆端部固接在上成型模具(8)顶部。
8.根据权利要求1所述的—种节能的汽车轮毂成型系统,其特征在于,所述液压缸(13)的活塞杆末端固接有护板,护板固定在上成型模具(8)顶部,上成型模具(8)两侧对称固接有两组连接块(17),两组连接块(17)端部均固定有滑套(16),四个滑套(16)分别滑动套接在四根滑杆(9)上。
Priority Applications (1)
| Application Number | Priority Date | Filing Date | Title |
|---|---|---|---|
| CN202110923290.7A CN113618023A (zh) | 2021-08-12 | 2021-08-12 | —种节能的汽车轮毂成型系统 |
Applications Claiming Priority (1)
| Application Number | Priority Date | Filing Date | Title |
|---|---|---|---|
| CN202110923290.7A CN113618023A (zh) | 2021-08-12 | 2021-08-12 | —种节能的汽车轮毂成型系统 |
Publications (1)
| Publication Number | Publication Date |
|---|---|
| CN113618023A true CN113618023A (zh) | 2021-11-09 |
Family
ID=78384804
Family Applications (1)
| Application Number | Title | Priority Date | Filing Date |
|---|---|---|---|
| CN202110923290.7A Pending CN113618023A (zh) | 2021-08-12 | 2021-08-12 | —种节能的汽车轮毂成型系统 |
Country Status (1)
| Country | Link |
|---|---|
| CN (1) | CN113618023A (zh) |
Cited By (4)
| Publication number | Priority date | Publication date | Assignee | Title |
|---|---|---|---|---|
| CN114289686A (zh) * | 2021-12-30 | 2022-04-08 | 夏鹏 | 一种用于铸造铝合金毛坯的加工设备 |
| CN114653897A (zh) * | 2022-04-02 | 2022-06-24 | 新昌县武源达自动化科技有限公司 | 一种铝合金制造用浇筑复杂精密模具装置 |
| CN115156511A (zh) * | 2022-09-07 | 2022-10-11 | 苏州圣亚精密机械有限公司 | 一种能够降低气泡量的金属零件铸造装置 |
| CN117505826A (zh) * | 2024-01-05 | 2024-02-06 | 山东国岳金刚石制品有限公司 | 一种具有辅助脱模功能的铝制品铸造装置 |
Citations (10)
| Publication number | Priority date | Publication date | Assignee | Title |
|---|---|---|---|---|
| CN106077589A (zh) * | 2016-06-16 | 2016-11-09 | 含山县天翔铸造有限公司 | 一种铸铁件冷却装置 |
| CN208450583U (zh) * | 2018-07-23 | 2019-02-01 | 江西久旺汽车配件制造有限公司 | 一种便于冷却的汽车零件熔炼造型装置 |
| CN111014582A (zh) * | 2020-01-15 | 2020-04-17 | 保定茶山五岳铸造有限公司 | 一种引导轮浇注用成型模具 |
| CN210615018U (zh) * | 2019-08-21 | 2020-05-26 | 杭州兴海铸造有限公司 | 一种提高散热效率的铸造浇铸装置 |
| CN211101455U (zh) * | 2019-11-27 | 2020-07-28 | 浙江遂昌鑫丰工贸有限公司 | 一种高强度轮毂铸造设备 |
| CN211588457U (zh) * | 2020-01-02 | 2020-09-29 | 内蒙古霍煤鸿骏铝电有限责任公司 | 一种铝铸造用铝水搅拌装置 |
| CN112008071A (zh) * | 2020-07-31 | 2020-12-01 | 南京视莱尔汽车电子有限公司 | 一种具有重力增压功能的汽车轮毂铸造设备及铸造方法 |
| CN112108612A (zh) * | 2020-09-16 | 2020-12-22 | 十堰市宏昌达工贸股份有限公司 | 一种汽车制动鼓浇注装置 |
| CN112548038A (zh) * | 2020-11-23 | 2021-03-26 | 冯柏松 | 一种液压铸造系统及方法 |
| CN213317526U (zh) * | 2020-09-16 | 2021-06-01 | 十堰市宏昌达工贸股份有限公司 | 一种汽车制动鼓浇注装置 |
-
2021
- 2021-08-12 CN CN202110923290.7A patent/CN113618023A/zh active Pending
Patent Citations (10)
| Publication number | Priority date | Publication date | Assignee | Title |
|---|---|---|---|---|
| CN106077589A (zh) * | 2016-06-16 | 2016-11-09 | 含山县天翔铸造有限公司 | 一种铸铁件冷却装置 |
| CN208450583U (zh) * | 2018-07-23 | 2019-02-01 | 江西久旺汽车配件制造有限公司 | 一种便于冷却的汽车零件熔炼造型装置 |
| CN210615018U (zh) * | 2019-08-21 | 2020-05-26 | 杭州兴海铸造有限公司 | 一种提高散热效率的铸造浇铸装置 |
| CN211101455U (zh) * | 2019-11-27 | 2020-07-28 | 浙江遂昌鑫丰工贸有限公司 | 一种高强度轮毂铸造设备 |
| CN211588457U (zh) * | 2020-01-02 | 2020-09-29 | 内蒙古霍煤鸿骏铝电有限责任公司 | 一种铝铸造用铝水搅拌装置 |
| CN111014582A (zh) * | 2020-01-15 | 2020-04-17 | 保定茶山五岳铸造有限公司 | 一种引导轮浇注用成型模具 |
| CN112008071A (zh) * | 2020-07-31 | 2020-12-01 | 南京视莱尔汽车电子有限公司 | 一种具有重力增压功能的汽车轮毂铸造设备及铸造方法 |
| CN112108612A (zh) * | 2020-09-16 | 2020-12-22 | 十堰市宏昌达工贸股份有限公司 | 一种汽车制动鼓浇注装置 |
| CN213317526U (zh) * | 2020-09-16 | 2021-06-01 | 十堰市宏昌达工贸股份有限公司 | 一种汽车制动鼓浇注装置 |
| CN112548038A (zh) * | 2020-11-23 | 2021-03-26 | 冯柏松 | 一种液压铸造系统及方法 |
Cited By (4)
| Publication number | Priority date | Publication date | Assignee | Title |
|---|---|---|---|---|
| CN114289686A (zh) * | 2021-12-30 | 2022-04-08 | 夏鹏 | 一种用于铸造铝合金毛坯的加工设备 |
| CN114653897A (zh) * | 2022-04-02 | 2022-06-24 | 新昌县武源达自动化科技有限公司 | 一种铝合金制造用浇筑复杂精密模具装置 |
| CN115156511A (zh) * | 2022-09-07 | 2022-10-11 | 苏州圣亚精密机械有限公司 | 一种能够降低气泡量的金属零件铸造装置 |
| CN117505826A (zh) * | 2024-01-05 | 2024-02-06 | 山东国岳金刚石制品有限公司 | 一种具有辅助脱模功能的铝制品铸造装置 |
Similar Documents
| Publication | Publication Date | Title |
|---|---|---|
| CN113618023A (zh) | —种节能的汽车轮毂成型系统 | |
| CN112517847A (zh) | 叶轮熔模铸造生产线及工艺 | |
| CN104785748A (zh) | 一种可连续使用的铸造装置 | |
| CN103506568B (zh) | 穿梭式顶板的铁型覆砂铸造中的铁型清理装置和方法 | |
| CN107803478A (zh) | 一种卧式压铸机 | |
| CN113290223A (zh) | 一种机械加工用压铸机及其使用方法 | |
| CN115464121B (zh) | 一种用于金属铸造的调压铸造设备 | |
| CN209157060U (zh) | 一种中小型、大批量铸钢件生产铸造模具 | |
| CN215544842U (zh) | 一种铝合金铸件模具快速冷却装置 | |
| CN212285835U (zh) | 一种用于铸造的快速冷却装置 | |
| CN212469720U (zh) | 一种循环冷却铸造模具 | |
| CN114315487B (zh) | 一种炸药药块全自动制备设备 | |
| CN219310043U (zh) | 一种汽车压铸模具脱模装置 | |
| CN118832134A (zh) | 一种防火铝板一体铸造装置及制备方法 | |
| CN208390967U (zh) | 卧式压铸系统 | |
| CN117816925A (zh) | 一种密腔饱和填充的压铸装置及压铸方法 | |
| CN117463969A (zh) | 一种汽车铰链生产模具及其生产工艺 | |
| CN211279607U (zh) | 一种塑料制品生产用注塑模具 | |
| CN215150102U (zh) | 一种顶盖壳体浇筑模具 | |
| CN223114144U (zh) | 一种汽车后轮毂加工模具 | |
| CN211661657U (zh) | 一种汽车配件的切割加工装置 | |
| CN211331270U (zh) | 一种板栅连续铸造机 | |
| CN210231443U (zh) | 一种带气振与抽气装置的模芯 | |
| CN220312812U (zh) | 一种金属铸件生产用打磨装置 | |
| CN115194118A (zh) | 一种砂型铸造自动化脱模设备及其脱模方法 |
Legal Events
| Date | Code | Title | Description |
|---|---|---|---|
| PB01 | Publication | ||
| PB01 | Publication | ||
| SE01 | Entry into force of request for substantive examination | ||
| SE01 | Entry into force of request for substantive examination | ||
| RJ01 | Rejection of invention patent application after publication |
Application publication date: 20211109 |
|
| RJ01 | Rejection of invention patent application after publication |