CN113579773A - Tool suitable for clamping honeycomb cores of various specifications and sizes - Google Patents

Tool suitable for clamping honeycomb cores of various specifications and sizes Download PDF

Info

Publication number
CN113579773A
CN113579773A CN202110782007.3A CN202110782007A CN113579773A CN 113579773 A CN113579773 A CN 113579773A CN 202110782007 A CN202110782007 A CN 202110782007A CN 113579773 A CN113579773 A CN 113579773A
Authority
CN
China
Prior art keywords
short
movable
long
fixed
clamping
Prior art date
Legal status (The legal status is an assumption and is not a legal conclusion. Google has not performed a legal analysis and makes no representation as to the accuracy of the status listed.)
Pending
Application number
CN202110782007.3A
Other languages
Chinese (zh)
Inventor
吴湘
魏莉
Current Assignee (The listed assignees may be inaccurate. Google has not performed a legal analysis and makes no representation or warranty as to the accuracy of the list.)
Harbin Institute of Technology Shenzhen
Original Assignee
Harbin Institute of Technology Shenzhen
Priority date (The priority date is an assumption and is not a legal conclusion. Google has not performed a legal analysis and makes no representation as to the accuracy of the date listed.)
Filing date
Publication date
Application filed by Harbin Institute of Technology Shenzhen filed Critical Harbin Institute of Technology Shenzhen
Priority to CN202110782007.3A priority Critical patent/CN113579773A/en
Publication of CN113579773A publication Critical patent/CN113579773A/en
Pending legal-status Critical Current

Links

Images

Classifications

    • BPERFORMING OPERATIONS; TRANSPORTING
    • B23MACHINE TOOLS; METAL-WORKING NOT OTHERWISE PROVIDED FOR
    • B23QDETAILS, COMPONENTS, OR ACCESSORIES FOR MACHINE TOOLS, e.g. ARRANGEMENTS FOR COPYING OR CONTROLLING; MACHINE TOOLS IN GENERAL CHARACTERISED BY THE CONSTRUCTION OF PARTICULAR DETAILS OR COMPONENTS; COMBINATIONS OR ASSOCIATIONS OF METAL-WORKING MACHINES, NOT DIRECTED TO A PARTICULAR RESULT
    • B23Q3/00Devices holding, supporting, or positioning work or tools, of a kind normally removable from the machine
    • BPERFORMING OPERATIONS; TRANSPORTING
    • B25HAND TOOLS; PORTABLE POWER-DRIVEN TOOLS; MANIPULATORS
    • B25BTOOLS OR BENCH DEVICES NOT OTHERWISE PROVIDED FOR, FOR FASTENING, CONNECTING, DISENGAGING OR HOLDING
    • B25B11/00Work holders not covered by any preceding group in the subclass, e.g. magnetic work holders, vacuum work holders
    • BPERFORMING OPERATIONS; TRANSPORTING
    • B23MACHINE TOOLS; METAL-WORKING NOT OTHERWISE PROVIDED FOR
    • B23QDETAILS, COMPONENTS, OR ACCESSORIES FOR MACHINE TOOLS, e.g. ARRANGEMENTS FOR COPYING OR CONTROLLING; MACHINE TOOLS IN GENERAL CHARACTERISED BY THE CONSTRUCTION OF PARTICULAR DETAILS OR COMPONENTS; COMBINATIONS OR ASSOCIATIONS OF METAL-WORKING MACHINES, NOT DIRECTED TO A PARTICULAR RESULT
    • B23Q2703/00Work clamping
    • B23Q2703/02Work clamping means
    • B23Q2703/10Devices for clamping workpieces of a particular form or made from a particular material

Landscapes

  • Engineering & Computer Science (AREA)
  • Mechanical Engineering (AREA)
  • Jigs For Machine Tools (AREA)

Abstract

本发明属于航天设备技术领域,具体涉及一种能适用于多种规格尺寸蜂窝芯装夹的工装,主要由外框架、内框架、蜂窝芯装夹工装夹等组成,其结构形式是有两条边的横梁固定,另外两条边的横梁是可以活动的,装夹时活动横梁会根据蜂窝芯尺寸的大小进行随动,固定梁和活动梁上均设计有可以活动的蜂窝芯装夹工装夹,蜂窝芯被装夹好以后,活动梁向外侧拉动来拉伸张紧蜂窝芯,拉伸到位后,用滑动座上的波纹螺丝对蜂窝芯的尺寸进行定位和位置锁死保持的作用。该装夹工装结构简单,蜂窝芯的装夹固定是用标准螺丝进行固定,装夹便捷快速;各组件都是市场上现成的标准物品,活动梁的滑动是用圆棒到导轨和直线轴承来完成的,易购已换,成本较低。

Figure 202110782007

The invention belongs to the technical field of aerospace equipment, and in particular relates to a tooling suitable for clamping honeycomb cores of various specifications and sizes. The beams on one side are fixed, and the beams on the other two sides are movable. When clamping, the movable beams will follow the size of the honeycomb core. Both the fixed beam and the movable beam are designed with movable honeycomb core clamping tooling clamps. After the core is clamped, the movable beam is pulled to the outside to stretch and tension the honeycomb core. After being stretched in place, the size of the honeycomb core is positioned and the position is locked and maintained by the corrugated screw on the sliding seat. The clamping tooling structure is simple, the clamping and fixing of the honeycomb core is fixed with standard screws, and the clamping is convenient and fast; all components are ready-made standard items on the market, and the sliding of the movable beam is achieved by using round rods to guide rails and linear bearings. Completed, Tesco has been replaced, and the cost is lower.

Figure 202110782007

Description

Tool suitable for clamping honeycomb cores of various specifications and sizes
Technical Field
The invention belongs to the technical field of aerospace equipment, and particularly relates to a tool suitable for clamping honeycomb cores of various specifications and sizes.
Background
At present, the existing mechanism for pulling, tensioning and clamping the honeycomb core or the plate-shaped object has the defects of unique tool size, heavy equipment and higher cost, and is not suitable for the requirement of frequent operation and use on a production line. Therefore, it is necessary to design a tool suitable for clamping honeycomb cores of various specifications.
Disclosure of Invention
The invention aims to provide a tool suitable for clamping honeycomb cores of various specifications and sizes, the clamping tool is simple in structure, and the honeycomb cores are fixed by standard screws, so that the clamping is convenient and quick; all the components are standard articles existing in the market, and the sliding of the movable beam is completed by a round rod to a guide rail and a linear bearing, so that the movable beam is easy to purchase and replace and has lower cost. One set of frock system deals with the demand that honeycomb core of different specification and dimension carries out the clamping, and frock structure will be simple, light simultaneously, easy to operate and remove. The clamping device is mainly applied to the honeycomb core clamping operation in the aerospace field and the aviation field, and can also be applied to equipment and industries which have the requirements on stretching and clamping of plate-shaped objects with different specifications and sizes.
The technical scheme adopted by the invention is as follows: a tool suitable for clamping honeycomb cores of various specifications and sizes comprises an outer frame cross beam square tube, a fixed long cross beam, a fixed short cross beam, a movable long cross beam, a movable short cross beam, a honeycomb core, a long side honeycomb core clamping tool, a short side honeycomb core clamping tool, a movable sliding block set, a short round bar guide rail, a long round bar guide rail, a short side left fixed clamping seat and a short side right fixed clamping seat; the outer frame cross beam square tube is assembled into a frame through an L-shaped corner piece, and the long fixed cross beam and the short fixed cross beam are respectively arranged on two adjacent outer frame cross beam square tubes through screws; the movable long cross beam and the movable short cross beam are respectively provided with a movable sliding block set at two ends, each movable sliding block set comprises a mounting seat, a linear bearing, a bearing limiting left jackscrew, a bearing limiting right jackscrew and a corrugated screw, one end of the mounting seat is mounted at the end part of the cross beam through the screw, and the linear bearing is mounted in a round hole at the other end of the mounting seat; the linear bearings at the two ends of the movable long cross beam are sleeved on the long round bar guide rail, the linear bearings at the two ends of the movable short cross beam are sleeved on the short round bar guide rail, the short round bar guide rail is arranged on a short edge left fixed clamping seat and a short edge right fixed clamping seat which are fixed on the frame, and the long round bar guide rail is arranged on a short edge right fixed clamping seat which is fixed on the frame; a linear bearing is embedded in the movable sliding group, and the linear bearing and the round bar linear guide rail slide in a matched manner to adapt to the size of the honeycomb core; the long-side nest core tooling clamps are respectively arranged on the fixed long beam and the movable long beam, and the short-side nest core tooling clamps are respectively arranged on the fixed short beam and the movable short beam; the honeycomb core is installed on the tool through the long-edge honeycomb core tool clamp and the short-edge honeycomb core tool clamp.
Furthermore, the bearing limit left jackscrew and the bearing limit right jackscrew are installed at the top end of the installation seat, and the corrugated screw is installed on the side face of the installation seat.
Furthermore, long-edge fixing screws and short-edge fixing screws are arranged on the long-edge nest core tooling clamp and the short-edge nest core tooling clamp respectively.
Furthermore, the tool mainly comprises an outer frame, an inner frame, a honeycomb core clamping tool and the like, the structural form of the tool is that a beam with two edges is fixed, the beam with the other two edges can move, the movable beam can follow up according to the size of the honeycomb core during clamping, the movable honeycomb core clamping tool and the movable beam are both designed on the fixed beam and the movable beam, after the honeycomb core is clamped, the movable beam is pulled outwards to stretch and tension the honeycomb core, and after the honeycomb core is stretched in place, the size of the honeycomb core is positioned and the position of the honeycomb core is locked by corrugated screws on a sliding seat, and the honeycomb core is kept.
Further, when the clamping begins, place the honeycomb core in the frock internal frame earlier, the clamping of the fixed limit honeycomb core of processing frock earlier, with the honeycomb core stopper advance long limit honeycomb core frock clamp with the short side honeycomb core frock clamp after, pass the honeycomb core hole with long limit fixed screw and short side fixed screw and fix, the frock clamp is established and is counted as the up end and is the unthreaded hole, the terminal surface is the screw hole down, just so can be very simple completion frock clamp fixed with the clamping of honeycomb core, the frock structure is similar, but the size slightly differs, long limit honeycomb core frock clamp and short side honeycomb core frock clamp, its purpose is on same horizontal plane to ensure the installation face of honeycomb core. After the clamping of the honeycomb core workpiece is completed, the extending movable cross beam and the short movable cross beam need to be pulled outwards one by one to complete the tensioning and fixing of the honeycomb core tool, and after the honeycomb core workpiece is stretched in place, the position is fixed and locked by a corrugated screw in the sliding seat, so that the tensioning and clamping work of the honeycomb core is completed.
The invention has the beneficial effects that: the clamping tool is simple in structure, and clamping and fixing of the honeycomb cores are carried out by using standard screws, namely, the clamping is convenient and quick; all the components are standard articles existing in the market, and the sliding of the movable beam is completed by a round rod to a guide rail and a linear bearing, so that the movable beam is easy to purchase and replace and has lower cost. One set of frock system deals with the demand that honeycomb core of different specification and dimension carries out the clamping, and frock structure will be simple, light simultaneously, easy to operate and remove. The clamping device is mainly applied to the honeycomb core clamping operation in the aerospace field and the aviation field, and can also be applied to equipment and industries which have the requirements on stretching and clamping of plate-shaped objects with different specifications and sizes.
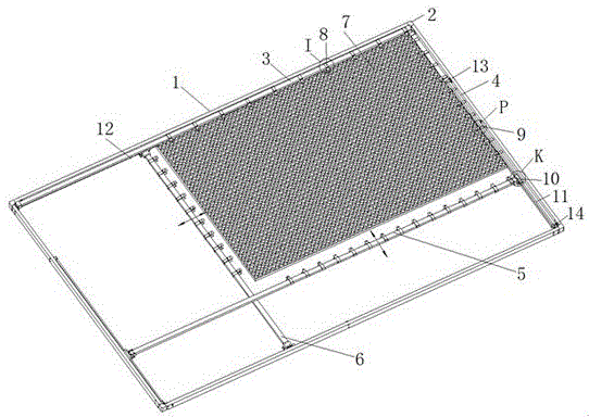
Description of the drawings:
FIG. 1 is a schematic structural diagram of the first embodiment;
FIG. 2 is an enlarged view of a portion of I of FIG. 1;
FIG. 3 is an enlarged view of a portion P of FIG. 1;
fig. 4 is a partial enlarged view of K in fig. 1.
The specific implementation mode is as follows:
example one
Referring to the figures, the tool suitable for clamping the honeycomb cores of various specifications and sizes comprises an outer frame cross beam square tube 1, a fixed long cross beam 3, a fixed short cross beam 4, a movable long cross beam 5, a movable short cross beam 6, a honeycomb core 7, a long edge honeycomb core tool clamp 8, a short edge honeycomb core tool clamp 9, a movable sliding block group 10, a short round bar guide rail 11, a long round bar guide rail 12, a short edge left fixed clamping seat 13 and a short edge right fixed clamping seat 14; the outer frame beam square tube 1 is assembled into a frame through L-shaped angle pieces 2, and the long fixed beam 3 and the short fixed beam 4 are respectively arranged on the two adjacent outer frame beam square tubes 1 through screws; two ends of the movable long cross beam 5 and the movable short cross beam 6 are respectively provided with a movable sliding block group 10, each movable sliding block group 10 comprises an installation seat 301, a linear bearing 302, a bearing limit left jackscrew 303, a bearing limit right jackscrew 304 and a corrugated screw 305, one end of the installation seat 301 is installed at the end part of the cross beam through the screw, and the linear bearing 302 is installed in a round hole at the other end of the installation seat 301; the linear bearings 302 at the two ends of the movable long beam 5 are sleeved on the long round bar guide rail 12, the linear bearings 302 at the two ends of the movable short beam 6 are sleeved on the short round bar guide rail 11, the short round bar guide rail 11 is arranged on a short-edge left fixed clamping seat 13 and a short-edge right fixed clamping seat 14 which are fixed on the frame, and the long round bar guide rail 12 is arranged on a short-edge right fixed clamping seat 14 which is fixed on the frame; the long-side nest core tooling clamps 8 are respectively arranged on the fixed long beam 3 and the movable long beam 5, and the short-side nest core tooling clamps 9 are respectively arranged on the fixed short beam 4 and the movable short beam 6; the honeycomb core 7 is arranged on a tool through a long-edge honeycomb core tool clamp 8 and a short-edge honeycomb core tool clamp 9; the bearing limit left jackscrew 303 and the bearing limit right jackscrew 304 are arranged at the top end of the mounting seat 301, and the corrugated screw 305 is arranged on the side surface of the mounting seat 301; and a long-edge fixing screw 201 and a short-edge fixing screw 202 are respectively arranged on the long-edge nest core tooling clamp 8 and the short-edge nest core tooling clamp 9.
In order to solve the problems of light weight and good rigidity of the honeycomb core clamping tool, aluminum alloy materials are selected when the materials of the whole tool system are selected. The peripheral frame of the tool is an aluminum alloy square tube with the thickness of 50 multiplied by 30 multiplied by 3mm, the connection between the square tubes is designed to be an L-shaped corner piece plug-in structure, the tool is convenient to disassemble and assemble, and the tool is made of aluminum alloy materials; the internal frame beam is an aluminum square tube with the diameter of 40 multiplied by 20 multiplied by 2mm, and a fixed mounting seat of the internal frame square tube is also processed by aluminum alloy; the honeycomb clamping tool clamp is formed by cutting an iron material with the thickness of 2mm in consideration of frequency and durability of use. The total weight is light, the control is within 10KG, and two people can easily operate.
For solving the demand that is applicable to different specification and dimension honeycomb core clamping, adopt the scheme that both sides are fixed, both sides are movable to adapt to the honeycomb core clamping demand of different sizes, simultaneously on fixed cross beam and movable cross beam, the honeycomb core frock clamp of design makes a round trip to stir in respective crossbeam, and the opening height of honeycomb core frock clamp is 30mm simultaneously, can be applicable to the honeycomb core clamping demand within 30mm of thickness.
When clamping the honeycomb core, firstly, clamping and fixing the honeycomb core of the side beam fixed by the fixture, and then, plugging the corresponding side of the honeycomb core into the honeycomb core fixture and fixing the honeycomb core by screws; then the fixing operation of the two movable edges is processed, the two movable cross beams are moved to positions close to the honeycomb core according to the size of the honeycomb core, then the honeycomb core is inserted into a tool clamp on the movable cross beams, and then the two movable cross beams are sequentially fixed by screws.
After the four sides of the honeycomb core are fixed, the movable cross beams are pulled outwards one by one, after the honeycomb core is stretched in place, the current position is fixed and locked by corrugated screws in the sliding seats, and the clamping of the honeycomb core is finished immediately.
The tool is mainly used for continuously optimizing, improving and perfecting the structure in terms of efficiency, cost and use frequency, and the size of a clamped maximum workpiece is 4000 multiplied by 2500 multiplied by 30 mm. From user's angle, when selecting whole frame material, adopt the aluminum alloy square tube to assemble and form, whole frock system's quality is no longer than 10KG, and the quality is light, the rigidity is good, and the workman can easily operate.

Claims (3)

1.一种能适用于多种规格尺寸蜂窝芯装夹的工装,其特征在于:所述工装包括外框架横梁方通(1)、固定长横梁(3)、固定短横梁(4)、活动长横梁(5)、活动短横梁(6)、蜂窝芯(7)、长边窝芯工装夹(8)、短边窝芯工装夹(9)、活动滑块组(10)、短圆棒导轨(11)、长圆棒导轨(12)、短边左固定卡座(13)和短边右固定卡座(14);所述外框架横梁方通(1)通过L形角件(2)组装成框架,所述长固定横梁(3)和短固定横梁(4)通过螺丝分别安装在相邻的两个外框架横梁方通(1)上;所述活动长横梁(5)和活动短横梁(6)的两端分别安装有活动滑块组(10),活动滑块组(10)包括安装座(301)、直线轴承(302)、轴承限位左顶丝(303)、轴承限位右顶丝(304)和波纹螺丝(305),安装座(301)的一端通过螺丝安装在横梁端部,直线轴承(302)安装在安装座(301)另一端的圆孔内;所述活动长横梁(5)两端的直线轴承(302)套装在长圆棒导轨(12)上,所述活动短横梁(6)两端的直线轴承(302)套装在短圆棒导轨(11)上,短圆棒导轨(11)安装在固定于框架上的短边左固定卡座(13)和短边右固定卡座(14)上,长圆棒导轨(12)安装在固定于框架的短边右固定卡座(14)上;所述长边窝芯工装夹(8)分别安装在固定长横梁(3)和活动长横梁(5)上,所述短边窝芯工装夹(9)分别安装在固定短横梁(4)和活动短横梁(6)上;所述蜂窝芯(7)通过长边窝芯工装夹(8)和短边窝芯工装夹(9)安装在工装上。1. A tooling that can be applied to the clamping of honeycomb cores of various sizes, is characterized in that: the tooling comprises an outer frame beam square pass (1), a fixed long beam (3), a fixed short beam (4), a movable beam Long beam (5), movable short beam (6), honeycomb core (7), long side socket core tooling clamp (8), short side socket core tooling clamp (9), movable slider group (10), short round bar The guide rail (11), the long round rod guide rail (12), the left fixed clip on the short side (13) and the right fixed clip on the short side (14); Assembled into a frame, the long fixed beam (3) and the short fixed beam (4) are respectively installed on the two adjacent outer frame beams (1) by screws; the movable long beam (5) and the movable short beam Both ends of the beam (6) are respectively installed with movable slider groups (10), and the movable slider group (10) includes a mounting seat (301), a linear bearing (302), a bearing limit left top wire (303), and a bearing limiter. Position the right top wire (304) and the corrugated screw (305), one end of the mounting seat (301) is mounted on the end of the beam through the screw, and the linear bearing (302) is mounted in the circular hole at the other end of the mounting seat (301); the The linear bearings (302) at both ends of the movable long beam (5) are set on the long round rod guide rail (12), and the linear bearings (302) at both ends of the movable short beam (6) are set on the short round rod guide rail (11). The round bar guide rail (11) is installed on the short-side left fixing bracket (13) and the short-side right fixing bracket (14) fixed on the frame, and the long round bar guide rail (12) is installed on the short-side right fixing bracket fixed on the frame. on the card seat (14); the long-side socket core tooling clips (8) are respectively installed on the fixed long beam (3) and the movable long beam (5), and the short-side socket core tooling clips (9) are respectively installed on On the fixed short beam (4) and the movable short beam (6); the honeycomb core (7) is installed on the tooling through the long-side socket core tooling clip (8) and the short-side socket core tooling clip (9). 2.根据权利要求1所述的一种能适用于多种规格尺寸蜂窝芯装夹的工装,其特征在于:所述轴承限位左顶丝(303)和轴承限位右顶丝(304)安装在安装座(301)的顶端,所述波纹螺丝(305)安装在安装座(301)的侧面。2. A tooling suitable for clamping honeycomb cores of various sizes according to claim 1, characterized in that: the bearing limit left top wire (303) and the bearing limit right top wire (304) Mounted on the top of the mounting seat (301), the corrugated screw (305) is mounted on the side of the mounting seat (301). 3.根据权利要求1所述的一种能适用于多种规格尺寸蜂窝芯装夹的工装,其特征在于:所述长边窝芯工装夹(8)和短边窝芯工装夹(9)上分别设有长边固定螺丝(201)和短边固定螺丝(202)。3. A tooling suitable for clamping honeycomb cores of various specifications and sizes according to claim 1, characterized in that: the long-side socket core fixture (8) and the short-side socket core fixture (9) A long side fixing screw (201) and a short side fixing screw (202) are respectively provided on the upper side.
CN202110782007.3A 2021-07-12 2021-07-12 Tool suitable for clamping honeycomb cores of various specifications and sizes Pending CN113579773A (en)

Priority Applications (1)

Application Number Priority Date Filing Date Title
CN202110782007.3A CN113579773A (en) 2021-07-12 2021-07-12 Tool suitable for clamping honeycomb cores of various specifications and sizes

Applications Claiming Priority (1)

Application Number Priority Date Filing Date Title
CN202110782007.3A CN113579773A (en) 2021-07-12 2021-07-12 Tool suitable for clamping honeycomb cores of various specifications and sizes

Publications (1)

Publication Number Publication Date
CN113579773A true CN113579773A (en) 2021-11-02

Family

ID=78246982

Family Applications (1)

Application Number Title Priority Date Filing Date
CN202110782007.3A Pending CN113579773A (en) 2021-07-12 2021-07-12 Tool suitable for clamping honeycomb cores of various specifications and sizes

Country Status (1)

Country Link
CN (1) CN113579773A (en)

Cited By (1)

* Cited by examiner, † Cited by third party
Publication number Priority date Publication date Assignee Title
CN113199097A (en) * 2021-04-29 2021-08-03 大连理工大学 Flexible fixing system and method for processing metal-based honeycomb material by linear cutting

Citations (16)

* Cited by examiner, † Cited by third party
Publication number Priority date Publication date Assignee Title
WO1997013617A1 (en) * 1995-10-10 1997-04-17 Götz GmbH Shaped clamping jaw for a clamping device
CN102581650A (en) * 2011-11-01 2012-07-18 成都飞机工业(集团)有限责任公司 Method for vacuum absorbing fixedly holding honeycomb part
CN202377941U (en) * 2011-12-12 2012-08-15 浪潮电子信息产业股份有限公司 Easily-adjusted and easily-positioned fixed clamp
CN202428217U (en) * 2011-11-01 2012-09-12 成都飞机工业(集团)有限责任公司 Tool for processing and fixedly holding honeycomb core parts
CN203343932U (en) * 2013-07-31 2013-12-18 佛山市顺德区银美精工五金科技有限公司 Vacuum absorption platform with honeycomb structure
CN104494276A (en) * 2014-12-18 2015-04-08 北京卫星制造厂 Honeycomb core end surface gridding sizing process method based on adhesive film thermal fracture
CN204366474U (en) * 2014-12-25 2015-06-03 福建省亿翔电力设备有限公司 A kind of sheet material positioner
CN206373640U (en) * 2016-12-20 2017-08-04 比亚迪股份有限公司 Plate grip
CN206500909U (en) * 2017-02-27 2017-09-19 广东海华拉链有限公司 A kind of fixture processed for zipper mould finishing impression
CN108705344A (en) * 2018-07-20 2018-10-26 贵州大学 A kind of adjustable board clamping device
CN208196021U (en) * 2018-04-11 2018-12-07 福州海恒水务设备有限公司 Pneumatic type fire resisting damper frame welding tooling
CN208945986U (en) * 2018-08-28 2019-06-07 深圳市鸿胜精工有限公司 One kind being used for the general patch jig of Precision Machining ultrahigh speed
CN110142464A (en) * 2019-06-14 2019-08-20 嘉善翔洲蜂窝制品有限公司 A shaped honeycomb core cutting device
CN209812159U (en) * 2019-04-29 2019-12-20 衢州泰特过滤器材有限公司 An air filter element assembly jig
CN210677929U (en) * 2019-08-07 2020-06-05 昆山圣宏群机械有限公司 Precision machining structure for stripper plate
CN212146145U (en) * 2020-03-27 2020-12-15 深圳市风行达科技有限公司 Improve frock clamp of honeycomb core assembly precision

Patent Citations (16)

* Cited by examiner, † Cited by third party
Publication number Priority date Publication date Assignee Title
WO1997013617A1 (en) * 1995-10-10 1997-04-17 Götz GmbH Shaped clamping jaw for a clamping device
CN102581650A (en) * 2011-11-01 2012-07-18 成都飞机工业(集团)有限责任公司 Method for vacuum absorbing fixedly holding honeycomb part
CN202428217U (en) * 2011-11-01 2012-09-12 成都飞机工业(集团)有限责任公司 Tool for processing and fixedly holding honeycomb core parts
CN202377941U (en) * 2011-12-12 2012-08-15 浪潮电子信息产业股份有限公司 Easily-adjusted and easily-positioned fixed clamp
CN203343932U (en) * 2013-07-31 2013-12-18 佛山市顺德区银美精工五金科技有限公司 Vacuum absorption platform with honeycomb structure
CN104494276A (en) * 2014-12-18 2015-04-08 北京卫星制造厂 Honeycomb core end surface gridding sizing process method based on adhesive film thermal fracture
CN204366474U (en) * 2014-12-25 2015-06-03 福建省亿翔电力设备有限公司 A kind of sheet material positioner
CN206373640U (en) * 2016-12-20 2017-08-04 比亚迪股份有限公司 Plate grip
CN206500909U (en) * 2017-02-27 2017-09-19 广东海华拉链有限公司 A kind of fixture processed for zipper mould finishing impression
CN208196021U (en) * 2018-04-11 2018-12-07 福州海恒水务设备有限公司 Pneumatic type fire resisting damper frame welding tooling
CN108705344A (en) * 2018-07-20 2018-10-26 贵州大学 A kind of adjustable board clamping device
CN208945986U (en) * 2018-08-28 2019-06-07 深圳市鸿胜精工有限公司 One kind being used for the general patch jig of Precision Machining ultrahigh speed
CN209812159U (en) * 2019-04-29 2019-12-20 衢州泰特过滤器材有限公司 An air filter element assembly jig
CN110142464A (en) * 2019-06-14 2019-08-20 嘉善翔洲蜂窝制品有限公司 A shaped honeycomb core cutting device
CN210677929U (en) * 2019-08-07 2020-06-05 昆山圣宏群机械有限公司 Precision machining structure for stripper plate
CN212146145U (en) * 2020-03-27 2020-12-15 深圳市风行达科技有限公司 Improve frock clamp of honeycomb core assembly precision

Cited By (1)

* Cited by examiner, † Cited by third party
Publication number Priority date Publication date Assignee Title
CN113199097A (en) * 2021-04-29 2021-08-03 大连理工大学 Flexible fixing system and method for processing metal-based honeycomb material by linear cutting

Similar Documents

Publication Publication Date Title
CN211360911U (en) A bevel cutting tool for compressive and anti-skid aluminum alloy frame profiles
WO2016045561A1 (en) Welding clamping device
CN105414217A (en) A centering guide device for steel strip processing
CN110814652A (en) Multifunctional clamp for sawing machine and manufacturing method thereof
CN113579773A (en) Tool suitable for clamping honeycomb cores of various specifications and sizes
CN204725160U (en) A kind of plate type part Quick clamping device
CN206216112U (en) Move freely clamped-in style friction welding frock
CN109604391B (en) Multipoint fixing device of thick metal plate bending machine
CN206316616U (en) A kind of welding tooling
CN212192790U (en) Clamp for electromechanical equipment
CN209647349U (en) A sheet metal forming device
CN108181166A (en) A kind of solder joint tensile property detection fixture of softer metals
CN106024368A (en) Adjustable transformer iron core lamination platform
CN219201203U (en) Crossbeam bending detection platform convenient to fix
CN110883868A (en) A device and processing technology for improving the precision of curved wood door panels
CN210849013U (en) Adjustable welding jig
CN209647962U (en) A kind of Multifunctional aluminium alloy template welding bench
CN219704250U (en) Electric motor car frame processing mounting fixture
CN209647946U (en) A kind of welder of same table installation frame
CN223418764U (en) A fixture for processing rack accessories
CN211466102U (en) Fixing clamp for marking pipe fitting
CN2938134Y (en) Quick clamping device for horn mutual inductor
CN209239319U (en) A kind of same table steel plate welder
CN203765220U (en) Fixture for welding
CN206394944U (en) Multistation laminator station positioning regulation platform

Legal Events

Date Code Title Description
PB01 Publication
PB01 Publication
SE01 Entry into force of request for substantive examination
SE01 Entry into force of request for substantive examination
RJ01 Rejection of invention patent application after publication
RJ01 Rejection of invention patent application after publication

Application publication date: 20211102