CN113560296A - Liquefied petroleum gas steel cylinder surface cleaning treatment device - Google Patents
Liquefied petroleum gas steel cylinder surface cleaning treatment device Download PDFInfo
- Publication number
- CN113560296A CN113560296A CN202111125859.1A CN202111125859A CN113560296A CN 113560296 A CN113560296 A CN 113560296A CN 202111125859 A CN202111125859 A CN 202111125859A CN 113560296 A CN113560296 A CN 113560296A
- Authority
- CN
- China
- Prior art keywords
- clamping
- cleaning
- seat
- ball screw
- block
- Prior art date
- Legal status (The legal status is an assumption and is not a legal conclusion. Google has not performed a legal analysis and makes no representation as to the accuracy of the status listed.)
- Granted
Links
- 238000004140 cleaning Methods 0.000 title claims abstract description 84
- 239000003915 liquefied petroleum gas Substances 0.000 title claims abstract description 21
- 229910000831 Steel Inorganic materials 0.000 title description 19
- 239000010959 steel Substances 0.000 title description 19
- 230000007246 mechanism Effects 0.000 claims abstract description 29
- 230000008878 coupling Effects 0.000 claims description 2
- 238000010168 coupling process Methods 0.000 claims description 2
- 238000005859 coupling reaction Methods 0.000 claims description 2
- 238000009434 installation Methods 0.000 claims 5
- 238000004381 surface treatment Methods 0.000 abstract description 2
- 238000007789 sealing Methods 0.000 description 6
- 238000000034 method Methods 0.000 description 5
- 230000008569 process Effects 0.000 description 4
- 238000010586 diagram Methods 0.000 description 3
- 230000009471 action Effects 0.000 description 2
- 239000012535 impurity Substances 0.000 description 2
- 238000004519 manufacturing process Methods 0.000 description 2
- 230000004048 modification Effects 0.000 description 2
- 238000012986 modification Methods 0.000 description 2
- 239000003973 paint Substances 0.000 description 2
- 239000004576 sand Substances 0.000 description 2
- 230000001360 synchronised effect Effects 0.000 description 2
- 241000251468 Actinopterygii Species 0.000 description 1
- 239000002253 acid Substances 0.000 description 1
- 238000005260 corrosion Methods 0.000 description 1
- 230000007797 corrosion Effects 0.000 description 1
- 230000000694 effects Effects 0.000 description 1
- 239000007789 gas Substances 0.000 description 1
- 230000006872 improvement Effects 0.000 description 1
- 239000000463 material Substances 0.000 description 1
- NJPPVKZQTLUDBO-UHFFFAOYSA-N novaluron Chemical group C1=C(Cl)C(OC(F)(F)C(OC(F)(F)F)F)=CC=C1NC(=O)NC(=O)C1=C(F)C=CC=C1F NJPPVKZQTLUDBO-UHFFFAOYSA-N 0.000 description 1
- 238000005507 spraying Methods 0.000 description 1
Images
Classifications
-
- B—PERFORMING OPERATIONS; TRANSPORTING
- B08—CLEANING
- B08B—CLEANING IN GENERAL; PREVENTION OF FOULING IN GENERAL
- B08B9/00—Cleaning hollow articles by methods or apparatus specially adapted thereto
- B08B9/08—Cleaning containers, e.g. tanks
- B08B9/20—Cleaning containers, e.g. tanks by using apparatus into or on to which containers, e.g. bottles, jars, cans are brought
- B08B9/36—Cleaning containers, e.g. tanks by using apparatus into or on to which containers, e.g. bottles, jars, cans are brought the apparatus cleaning by using brushes
-
- B—PERFORMING OPERATIONS; TRANSPORTING
- B08—CLEANING
- B08B—CLEANING IN GENERAL; PREVENTION OF FOULING IN GENERAL
- B08B13/00—Accessories or details of general applicability for machines or apparatus for cleaning
Landscapes
- Engineering & Computer Science (AREA)
- Mechanical Engineering (AREA)
- Cleaning In General (AREA)
Abstract
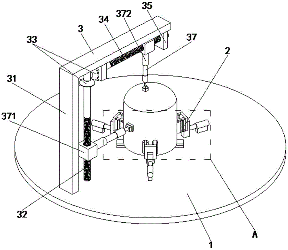
本发明涉及液化石油气钢瓶表面处理技术领域,具体涉及一种液化石油气钢瓶表面清洁处理装置,包括工作台、夹持机构以及清洁机构,所述的工作台上端设置有夹持机构和清洁机构,所述的夹持机构包括夹持座、齿圈、驱动齿轮、驱动电机、滑孔、支撑杆、夹持块、夹持支链以及辅助支链,所述的清洁机构包括L型架、一号滚珠丝杠、锥齿轮、二号滚珠丝杠、带座轴承、转动电机以及清洁支链。本发明可以对不同直径和不同高度的上封头以及下封头进行夹持固定,同时采用内外夹持固定确保上封头和下封头进行转动时保持平稳,本发明可以对上封头和下封头的外侧壁和底壁同时进行清洁,提高清洁效率。
The invention relates to the technical field of surface treatment of liquefied petroleum gas cylinders, in particular to a surface cleaning and treatment device of liquefied petroleum gas cylinders, comprising a workbench, a clamping mechanism and a cleaning mechanism, wherein the upper end of the workbench is provided with a clamping mechanism and a cleaning mechanism , the clamping mechanism includes a clamping seat, a ring gear, a driving gear, a driving motor, a sliding hole, a support rod, a clamping block, a clamping branch chain and an auxiliary branch chain, and the cleaning mechanism includes an L-shaped frame, Ball screw No. 1, bevel gear, ball screw No. 2, housed bearing, rotating motor and cleaning branch. The invention can clamp and fix the upper head and the lower head with different diameters and heights, and at the same time adopts the inner and outer clamping and fixation to ensure that the upper head and the lower head are kept stable when they rotate. The outer side wall and bottom wall of the lower head are cleaned at the same time to improve the cleaning efficiency.
Description
Claims (8)
Priority Applications (1)
| Application Number | Priority Date | Filing Date | Title |
|---|---|---|---|
| CN202111125859.1A CN113560296B (en) | 2021-09-26 | 2021-09-26 | Liquefied petroleum gas steel cylinder surface cleaning treatment device |
Applications Claiming Priority (1)
| Application Number | Priority Date | Filing Date | Title |
|---|---|---|---|
| CN202111125859.1A CN113560296B (en) | 2021-09-26 | 2021-09-26 | Liquefied petroleum gas steel cylinder surface cleaning treatment device |
Publications (2)
| Publication Number | Publication Date |
|---|---|
| CN113560296A true CN113560296A (en) | 2021-10-29 |
| CN113560296B CN113560296B (en) | 2021-12-07 |
Family
ID=78174497
Family Applications (1)
| Application Number | Title | Priority Date | Filing Date |
|---|---|---|---|
| CN202111125859.1A Active CN113560296B (en) | 2021-09-26 | 2021-09-26 | Liquefied petroleum gas steel cylinder surface cleaning treatment device |
Country Status (1)
| Country | Link |
|---|---|
| CN (1) | CN113560296B (en) |
Cited By (5)
| Publication number | Priority date | Publication date | Assignee | Title |
|---|---|---|---|---|
| CN113909422A (en) * | 2021-11-16 | 2022-01-11 | 无锡七机机床有限公司 | An assembly combination fixture for cylindrical gears |
| CN114054452A (en) * | 2021-11-19 | 2022-02-18 | 深圳安博信息科技有限公司 | Cleaning system for surface of steel cylinder |
| CN114098172A (en) * | 2021-12-20 | 2022-03-01 | 深圳市新云雾科技有限公司 | Atomizer production is with automatic oily equipment of irritating |
| CN114618848A (en) * | 2022-03-23 | 2022-06-14 | 北华大学 | Animal biochemical experiment glass instrument washing cleaning device |
| CN118023237A (en) * | 2024-04-11 | 2024-05-14 | 长寿花食品股份有限公司 | Treatment device for diglyceride storage facility |
Citations (9)
| Publication number | Priority date | Publication date | Assignee | Title |
|---|---|---|---|---|
| JP2003266040A (en) * | 2002-03-13 | 2003-09-24 | Nakanishi Mfg Co Ltd | Washing apparatus for square container |
| CN108941120A (en) * | 2018-06-24 | 2018-12-07 | 苏州盛迪通电子科技有限公司 | A kind of adjustable chemical barrel device for high-efficiency cleaning and method |
| CN109047220A (en) * | 2018-07-18 | 2018-12-21 | 张冉 | A kind of scuttlebutt inner wall cleaning equipment |
| CN212310351U (en) * | 2020-04-28 | 2021-01-08 | 肥东县千跃工程设备技术服务部 | Chemical barrel cleaning device for chemical field |
| CN212537149U (en) * | 2020-06-01 | 2021-02-12 | 刘华芳 | Chemical equipment heat preservation device |
| CN212760221U (en) * | 2020-07-21 | 2021-03-23 | 徐州工业职业技术学院 | A quick belt cleaning device for chemistry experiment equipment |
| CN213288023U (en) * | 2020-09-15 | 2021-05-28 | 许梦妮 | Cement bucket cleaning device |
| CN213530080U (en) * | 2020-10-26 | 2021-06-25 | 包头市锐金工业科技有限公司 | Hydraulic cylinder barrel cleaning workpiece |
| CN113108557A (en) * | 2021-03-29 | 2021-07-13 | 许云峰 | Auxiliary device for cold trap glass cover of freeze dryer |
-
2021
- 2021-09-26 CN CN202111125859.1A patent/CN113560296B/en active Active
Patent Citations (9)
| Publication number | Priority date | Publication date | Assignee | Title |
|---|---|---|---|---|
| JP2003266040A (en) * | 2002-03-13 | 2003-09-24 | Nakanishi Mfg Co Ltd | Washing apparatus for square container |
| CN108941120A (en) * | 2018-06-24 | 2018-12-07 | 苏州盛迪通电子科技有限公司 | A kind of adjustable chemical barrel device for high-efficiency cleaning and method |
| CN109047220A (en) * | 2018-07-18 | 2018-12-21 | 张冉 | A kind of scuttlebutt inner wall cleaning equipment |
| CN212310351U (en) * | 2020-04-28 | 2021-01-08 | 肥东县千跃工程设备技术服务部 | Chemical barrel cleaning device for chemical field |
| CN212537149U (en) * | 2020-06-01 | 2021-02-12 | 刘华芳 | Chemical equipment heat preservation device |
| CN212760221U (en) * | 2020-07-21 | 2021-03-23 | 徐州工业职业技术学院 | A quick belt cleaning device for chemistry experiment equipment |
| CN213288023U (en) * | 2020-09-15 | 2021-05-28 | 许梦妮 | Cement bucket cleaning device |
| CN213530080U (en) * | 2020-10-26 | 2021-06-25 | 包头市锐金工业科技有限公司 | Hydraulic cylinder barrel cleaning workpiece |
| CN113108557A (en) * | 2021-03-29 | 2021-07-13 | 许云峰 | Auxiliary device for cold trap glass cover of freeze dryer |
Cited By (5)
| Publication number | Priority date | Publication date | Assignee | Title |
|---|---|---|---|---|
| CN113909422A (en) * | 2021-11-16 | 2022-01-11 | 无锡七机机床有限公司 | An assembly combination fixture for cylindrical gears |
| CN114054452A (en) * | 2021-11-19 | 2022-02-18 | 深圳安博信息科技有限公司 | Cleaning system for surface of steel cylinder |
| CN114098172A (en) * | 2021-12-20 | 2022-03-01 | 深圳市新云雾科技有限公司 | Atomizer production is with automatic oily equipment of irritating |
| CN114618848A (en) * | 2022-03-23 | 2022-06-14 | 北华大学 | Animal biochemical experiment glass instrument washing cleaning device |
| CN118023237A (en) * | 2024-04-11 | 2024-05-14 | 长寿花食品股份有限公司 | Treatment device for diglyceride storage facility |
Also Published As
| Publication number | Publication date |
|---|---|
| CN113560296B (en) | 2021-12-07 |
Similar Documents
| Publication | Publication Date | Title |
|---|---|---|
| CN113560296B (en) | Liquefied petroleum gas steel cylinder surface cleaning treatment device | |
| CN205571806U (en) | Automobile axle shell presss from both sides tight rotary jig | |
| CN112059738A (en) | Fine treatment method for sealing packing graphite ring of compressor | |
| CN206982328U (en) | A kind of workpiece internal circle burr remover | |
| CN204160284U (en) | A kind of Dual-head edge grinding machine | |
| CN115179167B (en) | A metal pipe intelligent processing robot | |
| CN208132703U (en) | A kind of rotary workbench of grinding machine | |
| CN116276354A (en) | Polishing device | |
| CN204036203U (en) | A kind of wear-resistant ball surface automatically grinding device | |
| CN107378965B (en) | A terminal surface repair bionic robot for automobile transmission housing remanufacturing | |
| CN112454087B (en) | Diamond is polished and is used grinding apparatus | |
| CN220427633U (en) | Fixing device for irregular parts | |
| CN210938299U (en) | An easy-to-adjust hanging table structure | |
| CN116810518A (en) | A steel pipe grinding device | |
| CN216656525U (en) | Automobile parts cutting device | |
| CN216939874U (en) | Hardware surface burr cleaning device | |
| CN118123667A (en) | Steel pipe rust cleaning equipment for bridge construction | |
| CN208621809U (en) | A kind of adjustment of displacement structure of optical mirror slip | |
| CN108907975A (en) | Grinding device is used in a kind of manufacture of component of machine | |
| CN109834537A (en) | A kind of charging reducer gear burr remover certainly | |
| CN220533869U (en) | Numerical control punch shaft sleeve inner circle polishing device | |
| CN221818281U (en) | Cast steel production grinding device | |
| CN112140308B (en) | Glaze removing device | |
| CN221953051U (en) | Adjustable derusting machine | |
| CN222003008U (en) | Industrial pump body and part machining device |
Legal Events
| Date | Code | Title | Description |
|---|---|---|---|
| PB01 | Publication | ||
| PB01 | Publication | ||
| SE01 | Entry into force of request for substantive examination | ||
| SE01 | Entry into force of request for substantive examination | ||
| GR01 | Patent grant | ||
| GR01 | Patent grant | ||
| TR01 | Transfer of patent right | ||
| TR01 | Transfer of patent right |
Effective date of registration: 20221219 Address after: Room 320b, block a, software park, 228 Nanyi Road, Dongying District, Dongying City, Shandong Province 257000 Patentee after: Shandong Xinding Technology Co.,Ltd. Address before: 264000 room 2302, 23rd floor, yedazhi valley comprehensive center, No. 300, Changjiang Road, development zone, Yantai City, Shandong Province Patentee before: Yantai Youli Technology Co.,Ltd. |
|
| TR01 | Transfer of patent right | ||
| TR01 | Transfer of patent right |
Effective date of registration: 20230628 Address after: 264000 room 2302, 23rd floor, yedazhi valley comprehensive center, No. 300, Changjiang Road, development zone, Yantai City, Shandong Province Patentee after: Yantai Youli Technology Co.,Ltd. Address before: Room 320b, block a, software park, 228 Nanyi Road, Dongying District, Dongying City, Shandong Province 257000 Patentee before: Shandong Xinding Technology Co.,Ltd. |
|
| TR01 | Transfer of patent right | ||
| TR01 | Transfer of patent right |
Effective date of registration: 20241018 Address after: Room 212, Building B, Master's and Doctoral Entrepreneurship Park, Jinyang Science and Technology Industrial Park, National High tech Industrial Development Zone, Guiyang City, Guizhou Province, China 550081 Patentee after: GUIZHOU UINSHINE INFORMATION TECHNOLOGY CO.,LTD. Country or region after: China Address before: 264000 room 2302, 23rd floor, yedazhi valley comprehensive center, No. 300, Changjiang Road, development zone, Yantai City, Shandong Province Patentee before: Yantai Youli Technology Co.,Ltd. Country or region before: China |
