CN113558920A - Lifting device for inspection - Google Patents

Lifting device for inspection Download PDF

Info

Publication number
CN113558920A
CN113558920A CN202110865208.XA CN202110865208A CN113558920A CN 113558920 A CN113558920 A CN 113558920A CN 202110865208 A CN202110865208 A CN 202110865208A CN 113558920 A CN113558920 A CN 113558920A
Authority
CN
China
Prior art keywords
lifting device
lifting
support
hinged
platform
Prior art date
Legal status (The legal status is an assumption and is not a legal conclusion. Google has not performed a legal analysis and makes no representation as to the accuracy of the status listed.)
Granted
Application number
CN202110865208.XA
Other languages
Chinese (zh)
Other versions
CN113558920B (en
Inventor
李德全
袁钰
楚彦升
Current Assignee (The listed assignees may be inaccurate. Google has not performed a legal analysis and makes no representation or warranty as to the accuracy of the list.)
Yuan Yu
Original Assignee
Individual
Priority date (The priority date is an assumption and is not a legal conclusion. Google has not performed a legal analysis and makes no representation as to the accuracy of the date listed.)
Filing date
Publication date
Application filed by Individual filed Critical Individual
Priority to CN202110865208.XA priority Critical patent/CN113558920B/en
Publication of CN113558920A publication Critical patent/CN113558920A/en
Application granted granted Critical
Publication of CN113558920B publication Critical patent/CN113558920B/en
Active legal-status Critical Current
Anticipated expiration legal-status Critical

Links

Images

Classifications

    • AHUMAN NECESSITIES
    • A61MEDICAL OR VETERINARY SCIENCE; HYGIENE
    • A61GTRANSPORT, PERSONAL CONVEYANCES, OR ACCOMMODATION SPECIALLY ADAPTED FOR PATIENTS OR DISABLED PERSONS; OPERATING TABLES OR CHAIRS; CHAIRS FOR DENTISTRY; FUNERAL DEVICES
    • A61G13/00Operating tables; Auxiliary appliances therefor
    • A61G13/10Parts, details or accessories
    • A61G13/12Rests specially adapted therefor; Arrangements of patient-supporting surfaces
    • A61G13/126Rests specially adapted therefor; Arrangements of patient-supporting surfaces with specific supporting surface
    • AHUMAN NECESSITIES
    • A61MEDICAL OR VETERINARY SCIENCE; HYGIENE
    • A61GTRANSPORT, PERSONAL CONVEYANCES, OR ACCOMMODATION SPECIALLY ADAPTED FOR PATIENTS OR DISABLED PERSONS; OPERATING TABLES OR CHAIRS; CHAIRS FOR DENTISTRY; FUNERAL DEVICES
    • A61G13/00Operating tables; Auxiliary appliances therefor
    • A61G13/10Parts, details or accessories
    • A61G13/12Rests specially adapted therefor; Arrangements of patient-supporting surfaces
    • A61G13/128Rests specially adapted therefor; Arrangements of patient-supporting surfaces with mechanical surface adaptations
    • AHUMAN NECESSITIES
    • A61MEDICAL OR VETERINARY SCIENCE; HYGIENE
    • A61GTRANSPORT, PERSONAL CONVEYANCES, OR ACCOMMODATION SPECIALLY ADAPTED FOR PATIENTS OR DISABLED PERSONS; OPERATING TABLES OR CHAIRS; CHAIRS FOR DENTISTRY; FUNERAL DEVICES
    • A61G13/00Operating tables; Auxiliary appliances therefor
    • A61G13/10Parts, details or accessories
    • A61G13/12Rests specially adapted therefor; Arrangements of patient-supporting surfaces
    • A61G13/128Rests specially adapted therefor; Arrangements of patient-supporting surfaces with mechanical surface adaptations
    • A61G13/1285Rests specially adapted therefor; Arrangements of patient-supporting surfaces with mechanical surface adaptations having modular surface parts, e.g. being replaceable or turnable

Landscapes

  • Health & Medical Sciences (AREA)
  • Engineering & Computer Science (AREA)
  • Biomedical Technology (AREA)
  • Life Sciences & Earth Sciences (AREA)
  • Animal Behavior & Ethology (AREA)
  • General Health & Medical Sciences (AREA)
  • Public Health (AREA)
  • Veterinary Medicine (AREA)
  • Accommodation For Nursing Or Treatment Tables (AREA)

Abstract

一种检查用托举装置,涉及托举装置技术领域,包括支撑座,支撑座上沿竖向升降设有支撑台,支撑台上还摆动安装有沿其上方及侧方进行切换的延展平台。本发明解决了传统技术中的装置在非使用状态下,无法对其外表进行应用,占用了大的室内空间;对大体积物体托举时,需要利用多人及辅助设备进行辅助支撑,造成无法对大体积物体进行稳定托举;以及当只对身体单个部位,需对托举装置进行整体开启,不仅操作繁琐,并且托举装置得不到充分利用的问题。

Figure 202110865208

A lifting device for inspection relates to the technical field of lifting devices, and includes a support seat, a support platform is vertically lifted and lowered on the support seat, and an extension platform for switching along the top and side of the support platform is swayed and installed. The invention solves the problem that the device in the traditional technology cannot be applied to its appearance when it is not in use, and occupies a large indoor space; when lifting a large-volume object, it is necessary to use multiple people and auxiliary equipment for auxiliary support, resulting in inability to Stable lifting of large-volume objects; and when only a single part of the body needs to be opened as a whole, the lifting device is not only complicated to operate, but also the lifting device cannot be fully utilized.

Figure 202110865208

Description

Lifting device for inspection
Technical Field
The invention relates to the technical field of lifting devices, in particular to a lifting device for inspection.
Background
The department of neurology is mainly used for diagnosing and treating cerebrovascular diseases (cerebral infarction and cerebral hemorrhage), migraine, brain inflammatory diseases (encephalitis and meningitis), myelitis, epilepsy, dementia, nervous system degenerative diseases, metabolic diseases and genetic diseases, trigeminal neuralgia, sciatic neuropathy, peripheral neuropathy (numbness and weakness of limbs), myasthenia gravis and the like.
Clinically at department of neurology, patient insensitive to local nervous atrophy or local nerve stimulation, medical personnel will inspect disease department, need patient to fix both hands in health both sides sometimes, also need lift up both arms sometimes, fully expose patient pleuroperitoneal cavity, but most patient limbs activity is inconvenient, can not the free motion, need the supplementary cooperation of medical staff, make medical staff and patient all feel very tired, also inconvenient inspection operation.
The prior art discloses a patent with publication number CN211634154U, which comprises a base, wherein a supporting plate is arranged above the base, one end of the supporting plate is inclined upwards, a bed plate matched with the supporting plate is arranged above the supporting plate, and fixing devices are arranged on two sides of the supporting plate in a sliding manner; the fixing device comprises a fixing plate, a sliding block is arranged on one side, close to the supporting plate, of the fixing plate, a sliding groove matched with the sliding block is formed in the side face of the supporting plate, mounting holes matched with each other are formed in the fixing plate and the sliding groove, the depth of each mounting hole in the sliding groove is larger than that of the sliding groove, a detachable limiting column is arranged in each mounting hole, a U-shaped groove is rotatably formed above the fixing plate, and a plurality of groups of magic tapes are arranged in each U-shaped groove; the upward inclined end of the bed board is provided with an arch frame which is convenient to hold by hand, and the length of the arch frame is between 50 cm and 90cm, the utility model has the advantages that: the lifting effect is good, and the device is suitable for different inspection requirements.
However, the existing device gradually exposes the defects of the technology along with production and use:
first, the existing lifting device is composed of a plurality of lifting assemblies, so that the existing lifting device cannot be applied to the external surface of the existing lifting device in a non-use state, occupies a large indoor space, and affects the layout of the space.
Secondly, in the lifting inspection process, the large-size object is often required to be lifted, which is limited by the lifting platform of the device, and when the large-size object is lifted, a plurality of persons and auxiliary equipment are required to be used for auxiliary support, so that the large-size object cannot be stably lifted.
Thirdly, because the volume of the lifting device is large, when only a single part of the body, such as an arm, is lifted, the lifting device needs to be opened integrally, so that the operation is complex, the lifting device cannot be fully utilized, and the resources are wasted.
In view of the above, the prior art is obviously inconvenient and disadvantageous in practical use, and needs to be improved.
Disclosure of Invention
Aiming at the defects in the prior art, the invention provides a lifting device for inspection, which is used for solving the problems that the device in the prior art cannot be applied to the outer surface of the device in a non-use state, and occupies a large indoor space; when a large-volume object is lifted, a plurality of persons and auxiliary equipment are required to be used for auxiliary support, so that the large-volume object cannot be stably lifted; and when only a single part of the body is needed, the lifting device needs to be opened integrally, so that the operation is complicated, and the lifting device cannot be fully utilized.
In order to achieve the purpose, the invention provides the following technical scheme:
the utility model provides an inspection is with lifting device, includes the supporting seat, be equipped with a supporting bench along vertical lift on the supporting seat, it installs along its top and side extension platform that switches still to swing on the supporting bench.
As an optimized scheme, a positioning table in a swinging arrangement is hinged on the extension platform.
As an optimized scheme, the extension platform is hinged with two telescopic cylinders, the telescopic ends of the two telescopic cylinders are hinged with a driving block together, and the lower surface of the positioning table is provided with a driving groove for restraining the driving block.
As an optimized scheme, the upper surface of the extension platform is further provided with hidden grooves, and the cylinder body ends of the two telescopic cylinders are hinged in the hidden grooves.
As an optimized scheme, the supporting seat is further provided with an extension mechanism which is used for swinging to the position above the supporting table and forming the workbench.
As an optimized scheme, the extension mechanism comprises a side plate hinged to one side of the supporting seat, the upper end portion of the side plate is hinged to a cover plate, and when the cover plate swings to the position above the supporting table, the cover plate is supported on the extension platform.
As an optimized scheme, side plates are hinged to the side walls of the supporting seat in other three directions, and the supporting seat is coated with the four side plates and the cover plate.
As an optimized scheme, the upper surface of the positioning table is further uniformly provided with a plurality of supporting and lifting seats, and the lower surface of each supporting and lifting seat is fixedly connected with a plurality of compression springs in parallel between the upper surfaces of the positioning tables.
As an optimized scheme, two extension platforms are arranged in parallel and are hinged to two ends of the supporting platform through hinge pieces respectively.
As an optimized scheme, the articulated elements comprise vertical columns, the extension platform and the hinged end of the support platform are respectively vertically provided with hinged holes, the vertical columns penetrate through the hinged holes, and the extension platform and the end wall of the support platform close to the hinged end are further provided with guide inclined planes which are arranged in a relatively inclined mode.
As an optimized scheme, the supporting platform is installed on the supporting seat through a scissor type lifting frame.
As an optimized scheme, the bottom of the supporting seat is also provided with a movable wheel assembly.
As an optimized scheme, a partial bracket assembly is further arranged on the supporting seat in a vertically sliding mode.
As an optimized scheme, when the extension platform swings to the side of the support platform, the local lifting assembly further supports the extension platform through a conversion piece.
As an optimized scheme, the local bracket assembly comprises a lifting cylinder which is vertically fixed on the supporting seat, and a local supporting and lifting seat is arranged at the upper end part of the lifting cylinder in a swinging mode along the vertical direction to the horizontal direction.
Preferably, the conversion member includes a rotating sleeve rotatably mounted on an upper end portion of the lifting cylinder, and a hinge end of the partial lifting seat is hinged to an outer wall of the rotating sleeve.
Compared with the prior art, the invention has the beneficial effects that:
the device is coated by the side plates and the cover plate to form a box body when not in use, and objects can be placed or other operations can be carried out by using the top surface of the cover plate as a workbench, wherein the side plates and the cover plate coat the device and can also play a role in dust removal;
the support platform can be adjusted along the upper part and the side part of the support platform, so that the support platform is normally positioned above the support platform to carry out lifting work, and when a large-volume object needs to be supported, the large-volume object swings to the side part of the support platform, so that the support area of the support platform is expanded, the support surface is improved, and the large-volume object is conveniently and stably supported; and does not need to be operated by a plurality of people and auxiliary equipment; the operation is convenient;
when the local operation of the human body is needed, the lifting cylinder is used for lifting the local lifting seat; then the local lifting seat is swung to be in a horizontal state to support the local part of the human body, so that the operation of opening other parts of the lifting device is omitted, the operation is convenient and fast, and the full utilization of the lifting device is realized;
the stability in the working process is improved; the parts are few, the working procedure is simple and convenient, and the failure rate is low; the structure is simple, and the service life is long; simple and convenient operation and control, easy large-scale manufacture and installation and wide application range.
Drawings
In order to more clearly illustrate the detailed description of the invention or the technical solutions in the prior art, the drawings that are needed in the detailed description of the invention or the prior art will be briefly described below. Throughout the drawings, like elements or portions are generally identified by like reference numerals. In the drawings, elements or portions are not necessarily drawn to scale.
FIG. 1 is a schematic structural view of the present invention;
FIG. 2 is a schematic structural view of the extension platform of the present invention in a side view;
FIG. 3 is a schematic structural view of the working condition of the partial bracket assembly of the present invention;
FIG. 4 is a schematic view of the spreading mechanism of the present invention in a spread state;
FIG. 5 is a schematic structural diagram of the present invention in an unused state.
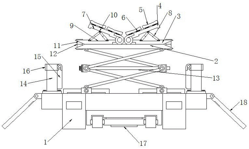
In the figure: 1-a support seat; 2-supporting the table; 3-extending the platform; 4-a positioning table; 5-lifting seat; 6-compression spring; 7-a drive slot; 8-a telescopic cylinder; 9-hidden groove; 10-a drive block; 11-vertical posts; 12-a guide ramp; 13-a scissor-fork type lifting frame; 14-a lifting cylinder; 15-local lifting seat; 16-a rotating sleeve; 17-a moving wheel assembly; 18-side plate; 19-cover plate.
Detailed Description
Embodiments of the present invention will be described in detail below with reference to the accompanying drawings. The following examples are only for illustrating the technical solutions of the present invention more clearly, and therefore are only examples, and the protection scope of the present invention is not limited thereby.
As shown in fig. 1 to 5, the lifting device for inspection comprises a supporting base 1, a supporting base 2 is arranged on the supporting base 1 along the vertical lifting, and an extension platform 3 which is switched along the upper part and the side part of the supporting base 2 is also installed on the supporting base in a swinging mode.
The extending platform 3 is also hinged with a positioning table 4 which is arranged in a swinging way.
The extension platform 3 is hinged with two telescopic cylinders 8, the telescopic ends of the two telescopic cylinders 8 are hinged with a driving block 10, and the lower surface of the positioning table 4 is provided with a driving groove 7 for restraining the driving block 10.
The upper surface of the extension platform 3 is also provided with a hidden groove 9, and the cylinder body ends of the two telescopic cylinders 8 are hinged in the hidden groove 9.
The supporting base 1 is also provided with an extension mechanism which is used for swinging to the upper part of the supporting base 2 and forming a workbench.
The extension mechanism comprises a side plate 18 hinged to one side of the supporting seat 1, a cover plate 19 is hinged to the upper end portion of the side plate 18, and when the cover plate 19 swings to the position above the supporting platform 2, the cover plate 19 is supported on the extension platform 3.
The side walls of the supporting seat 1 located in other three directions are also respectively hinged with a side plate 18, and the four side plates 18 and the cover plate 19 cover the supporting seat 1.
The four side plates 18 and the supporting seat 1 are detachably mounted, and when the detachable structure is used, the four side plates 18 are detached after being opened, which is common in daily life, for example, the shaft is inserted from one end of the shaft sleeve, and therefore, the detachable structure is common knowledge of those skilled in the art, and therefore, the detailed description thereof is omitted.
A plurality of lifting seats 5 are uniformly distributed on the upper surface of the positioning table 4, and a plurality of compression springs 6 are fixedly connected between the lower surface of the lifting seat 5 and the upper surface of the positioning table 4 in parallel.
The extension platforms 3 are arranged in parallel and are respectively hinged at two ends of the support platform 2 through hinges.
The articulated elements includes the upstand 11, and the hinge end of extension platform 3 and brace table 2 has seted up the hinge hole along vertical respectively, and the upstand 11 runs through two hinge holes, still sets up the direction inclined plane 12 that relative slope set up on extension platform 3 and the end wall that brace table 2 is close to the hinge end.
The support platform 2 is arranged on the support base 1 through a scissor type lifting frame 13.
The bottom of the support base 1 is also provided with a moving wheel assembly 17.
Remove wheel subassembly 17 including removing the base, remove and be equipped with between base and the supporting seat 1 and lift, for example telescopic cylinder 8, realize when needs remove, will remove base and ground contact, make supporting seat 1 break away from the contact with ground.
A local bracket assembly is arranged on the supporting seat 1 along the vertical sliding.
When the extension platform 3 swings to the side of the support platform 2, the local lifting assembly also supports the extension platform 3 through the conversion piece.
The local bracket component comprises a lifting cylinder 14 which is vertically fixed on the supporting base 1, and a local lifting seat 15 is arranged at the upper end part of the lifting cylinder 14 in a swinging mode along the vertical direction to the horizontal direction.
The conversion member includes a rotary sleeve 16 rotatably mounted on the upper end of the lifting cylinder 14, and the hinged end of the partial lifting base 15 is hinged to the outer wall of the rotary sleeve 16.
A positioning structure is provided between the hinged end of the local lifting seat 15 and the rotating sleeve 16, so that the local lifting seat can be supported in a horizontal state to prevent falling, for example, a fixing manner of connecting a stop knob on the hinged portion by screw threads is adopted, and the positioning structure is common in daily life and is common in the common knowledge of the skilled person, so that the detailed description is omitted.
Finally, it should be noted that: the above embodiments are only used to illustrate the technical solution of the present invention, and not to limit the same; while the invention has been described in detail and with reference to the foregoing embodiments, it will be understood by those skilled in the art that: the technical solutions described in the foregoing embodiments may still be modified, or some or all of the technical features may be equivalently replaced; such modifications and substitutions do not depart from the spirit and scope of the present invention, and they should be construed as being included in the following claims and description.

Claims (10)

1.一种检查用托举装置,其特征在于:包括支撑座(1),所述支撑座(1)上沿竖向升降设有支撑台(2),所述支撑台(2)上还摆动安装有沿其上方及侧方进行切换的延展平台(3)。1. A lifting device for inspection, characterized in that: it comprises a support seat (1), and a support table (2) is provided on the support seat (1) along the vertical lift, and the support table (2) is also provided with a support table (2). The swinging installation is provided with an extension platform (3) which is switched along its upper and side sides. 2.根据权利要求1所述的一种检查用托举装置,其特征在于:所述延展平台(3)上还铰接有摆动设置的定位台(4)。2 . The lifting device for inspection according to claim 1 , characterized in that: the extension platform ( 3 ) is also hinged with a positioning platform ( 4 ) arranged to swing. 3 . 3.根据权利要求2所述的一种检查用托举装置,其特征在于:所述延展平台(3)上铰接有两个伸缩缸(8),两个所述伸缩缸(8)的伸缩端共同铰接有驱动块(10),所述定位台(4)的下表面开设有约束所述驱动块(10)的驱动槽(7)。3. The lifting device for inspection according to claim 2, characterized in that: the extension platform (3) is hinged with two telescopic cylinders (8), and the two telescopic cylinders (8) are telescopic A driving block (10) is jointly hinged at the ends, and a driving groove (7) for constraining the driving block (10) is opened on the lower surface of the positioning table (4). 4.根据权利要求1所述的一种检查用托举装置,其特征在于:所述支撑座(1)上还设有用以摆动至所述支撑台(2)上方,并形成工作台的延展机构。4 . The lifting device for inspection according to claim 1 , wherein the support base ( 1 ) is further provided with a device for swinging to the top of the support table ( 2 ) and forming an extension of the work table. 5 . mechanism. 5.根据权利要求4所述的一种检查用托举装置,其特征在于:所述延展机构包括铰接于所述支撑座(1)一侧的侧板(18),所述侧板(18)的上端部铰接有盖板(19),所述盖板(19)摆动至所述支撑台(2)上方时,所述盖板(19)支撑于所述延展平台(3)上。5. An inspection lifting device according to claim 4, characterized in that: the extension mechanism comprises a side plate (18) hinged on one side of the support base (1), the side plate (18) The upper end of the ) is hinged with a cover plate (19), when the cover plate (19) swings above the support table (2), the cover plate (19) is supported on the extension platform (3). 6.根据权利要求2所述的一种检查用托举装置,其特征在于:所述定位台(4)的上表面还均布有若干个托举座(5),所述托举座(5)的下表面与所述定位台(4)的上表面之间并列固接有若干个压缩弹簧(6)。6. The lifting device for inspection according to claim 2, characterized in that: the upper surface of the positioning table (4) is also evenly distributed with a plurality of lifting seats (5), the lifting seats (5). A plurality of compression springs (6) are fixed in parallel between the lower surface of 5) and the upper surface of the positioning table (4). 7.根据权利要求1所述的一种检查用托举装置,其特征在于:所述延展平台(3)并列设有两个,且分别通过铰接件铰接于所述支撑台(2)的两端。7 . The lifting device for inspection according to claim 1 , wherein two extension platforms ( 3 ) are arranged side by side, and are respectively hinged to the two sides of the support platform ( 2 ) through hinges. 8 . end. 8.根据权利要求1所述的一种检查用托举装置,其特征在于:所述支撑座(1)上还沿竖向滑动设有局部托架组件。8 . The lifting device for inspection according to claim 1 , characterized in that: the support base ( 1 ) is further provided with a partial bracket assembly slidably along the vertical direction. 9 . 9.根据权利要求8所述的一种检查用托举装置,其特征在于:所述延展平台(3)摆动至所述支撑台(2)的侧方时,所述局部托举组件还通过转换件支撑所述延展平台(3)。9 . The lifting device for inspection according to claim 8 , wherein: when the extension platform (3) swings to the side of the support table (2), the partial lifting assembly also passes through the The transition piece supports the extension platform (3). 10.根据权利要求8所述的一种检查用托举装置,其特征在于:所述局部托架组件包括沿竖向固定于所述支撑座(1)上的举升缸(14),所述举升缸(14)的上端部沿竖向至水平方向摆动安装有局部托举座(15)。10 . The lifting device for inspection according to claim 8 , wherein the partial bracket assembly comprises a lifting cylinder ( 14 ) vertically fixed on the support base ( 1 ). 10 . A partial lift seat (15) is installed on the upper end of the lift cylinder (14) to swing from vertical to horizontal direction.
CN202110865208.XA 2021-07-29 2021-07-29 A lifting device for inspection Active CN113558920B (en)

Priority Applications (1)

Application Number Priority Date Filing Date Title
CN202110865208.XA CN113558920B (en) 2021-07-29 2021-07-29 A lifting device for inspection

Applications Claiming Priority (1)

Application Number Priority Date Filing Date Title
CN202110865208.XA CN113558920B (en) 2021-07-29 2021-07-29 A lifting device for inspection

Publications (2)

Publication Number Publication Date
CN113558920A true CN113558920A (en) 2021-10-29
CN113558920B CN113558920B (en) 2023-10-10

Family

ID=78169076

Family Applications (1)

Application Number Title Priority Date Filing Date
CN202110865208.XA Active CN113558920B (en) 2021-07-29 2021-07-29 A lifting device for inspection

Country Status (1)

Country Link
CN (1) CN113558920B (en)

Citations (10)

* Cited by examiner, † Cited by third party
Publication number Priority date Publication date Assignee Title
KR101626504B1 (en) * 2015-03-24 2016-06-01 인제대학교 산학협력단 Patient lift and transport station of side approach type
CN108553250A (en) * 2018-01-11 2018-09-21 李娜 A kind of surgery table
DE102017106245A1 (en) * 2017-03-23 2018-09-27 Karl Herga Device for storing and positioning an arm of a patient and modular arrangement
CN208876588U (en) * 2018-05-15 2019-05-21 马斌 Height-adjustable is lifted in a kind of ultrasonic examination
CN210354659U (en) * 2019-04-29 2020-04-21 青岛市市南区人民医院 Neurology examination lifting device
CN210812274U (en) * 2019-09-02 2020-06-23 董传占 Neurology examination lifting device
CN112245208A (en) * 2020-11-05 2021-01-22 黄长迎 Lifting device for neurology examination
CN112353507A (en) * 2020-11-10 2021-02-12 淄博市中心医院 Lifting device for neurology examination
CN213157351U (en) * 2020-05-29 2021-05-11 黄丽祯 Neurology examination lifting device
CN213465849U (en) * 2020-08-07 2021-06-18 上海市杨浦区市东医院 Hollow-out pacemaker operation headstock capable of being turned over

Patent Citations (10)

* Cited by examiner, † Cited by third party
Publication number Priority date Publication date Assignee Title
KR101626504B1 (en) * 2015-03-24 2016-06-01 인제대학교 산학협력단 Patient lift and transport station of side approach type
DE102017106245A1 (en) * 2017-03-23 2018-09-27 Karl Herga Device for storing and positioning an arm of a patient and modular arrangement
CN108553250A (en) * 2018-01-11 2018-09-21 李娜 A kind of surgery table
CN208876588U (en) * 2018-05-15 2019-05-21 马斌 Height-adjustable is lifted in a kind of ultrasonic examination
CN210354659U (en) * 2019-04-29 2020-04-21 青岛市市南区人民医院 Neurology examination lifting device
CN210812274U (en) * 2019-09-02 2020-06-23 董传占 Neurology examination lifting device
CN213157351U (en) * 2020-05-29 2021-05-11 黄丽祯 Neurology examination lifting device
CN213465849U (en) * 2020-08-07 2021-06-18 上海市杨浦区市东医院 Hollow-out pacemaker operation headstock capable of being turned over
CN112245208A (en) * 2020-11-05 2021-01-22 黄长迎 Lifting device for neurology examination
CN112353507A (en) * 2020-11-10 2021-02-12 淄博市中心医院 Lifting device for neurology examination

Also Published As

Publication number Publication date
CN113558920B (en) 2023-10-10

Similar Documents

Publication Publication Date Title
CN113558920A (en) Lifting device for inspection
CN108622831A (en) A kind of architectural decoration hoistable platform
CN104908020A (en) Operational maintenance device for information computer room
CN221004437U (en) Industrial robot virtual debugging platform
CN203099261U (en) Rocker lifting device of color Doppler ultrasound display
KR20130003787U (en) Roll-around worktable for overhead working
CN207687585U (en) It is a kind of can multi-angle regulation mobile phone produce assembly fixing device
CN215603896U (en) Workstation is used in software research and development convenient to adjust local height
CN116588871A (en) A regulating device for electric power maintenance work
CN222181692U (en) A follow-up rotating safety support device
CN212187073U (en) Operating table with lifting structure
CN223550196U (en) A lifting and flipping base for a display screen
CN207861816U (en) A kind of construction lifting device
CN222149361U (en) A multifunctional desk
CN108523484B (en) A kind of Multifunctional desk
CN210930459U (en) Back rubbing bed convenient for height adjustment for shower room
CN207532164U (en) A kind of institutional combo bench minor structure
CN223489347U (en) Teaching workstation convenient to remove
CN114321659B (en) Adjustable scenic spot explanation screen
CN222031907U (en) Drawing frame for architectural design
CN214679356U (en) Adjustable supporting device for pathology test
CN220727786U (en) Computer machine case supporting mechanism
CN221766219U (en) Adjustable instructor console
CN222465042U (en) A new communication cabinet
CN219885572U (en) Truss is carried with adjustable structure of lifting

Legal Events

Date Code Title Description
PB01 Publication
PB01 Publication
SE01 Entry into force of request for substantive examination
SE01 Entry into force of request for substantive examination
GR01 Patent grant
GR01 Patent grant
TR01 Transfer of patent right

Effective date of registration: 20250811

Address after: 262100 Shandong Province Weifang City Anqiu City Jiankang Road 259 Building 3 Unit 6 Room 312

Patentee after: Yuan Yu

Country or region after: China

Address before: 262100 Anqiu City, Shandong Province Health Road, No. 259, No.

Patentee before: Li Dequan

Country or region before: China

TR01 Transfer of patent right