CN113547562B - Herbal pieces-production is with wasing screening device - Google Patents
Herbal pieces-production is with wasing screening device Download PDFInfo
- Publication number
- CN113547562B CN113547562B CN202110709590.5A CN202110709590A CN113547562B CN 113547562 B CN113547562 B CN 113547562B CN 202110709590 A CN202110709590 A CN 202110709590A CN 113547562 B CN113547562 B CN 113547562B
- Authority
- CN
- China
- Prior art keywords
- drum
- fixedly connected
- rotary drum
- material receiving
- rotary
- Prior art date
- Legal status (The legal status is an assumption and is not a legal conclusion. Google has not performed a legal analysis and makes no representation as to the accuracy of the status listed.)
- Active
Links
- 238000012216 screening Methods 0.000 title claims abstract description 16
- 238000004519 manufacturing process Methods 0.000 title claims abstract description 13
- 239000000463 material Substances 0.000 claims abstract description 33
- XLYOFNOQVPJJNP-UHFFFAOYSA-N water Substances O XLYOFNOQVPJJNP-UHFFFAOYSA-N 0.000 claims abstract description 28
- 230000007246 mechanism Effects 0.000 claims abstract description 25
- 238000004140 cleaning Methods 0.000 claims abstract description 17
- 238000005520 cutting process Methods 0.000 claims abstract description 16
- 238000007599 discharging Methods 0.000 claims abstract description 13
- 230000005540 biological transmission Effects 0.000 claims description 6
- 239000003814 drug Substances 0.000 abstract description 39
- 238000000034 method Methods 0.000 abstract description 9
- 229940126680 traditional chinese medicines Drugs 0.000 abstract description 8
- 230000008569 process Effects 0.000 abstract description 6
- 235000017166 Bambusa arundinacea Nutrition 0.000 description 20
- 235000017491 Bambusa tulda Nutrition 0.000 description 20
- 241001330002 Bambuseae Species 0.000 description 20
- 235000015334 Phyllostachys viridis Nutrition 0.000 description 20
- 239000011425 bamboo Substances 0.000 description 20
- 238000012546 transfer Methods 0.000 description 4
- 230000000694 effects Effects 0.000 description 3
- 230000009471 action Effects 0.000 description 2
- 230000000903 blocking effect Effects 0.000 description 1
- 238000004891 communication Methods 0.000 description 1
- 230000007547 defect Effects 0.000 description 1
- 238000010586 diagram Methods 0.000 description 1
- 235000013305 food Nutrition 0.000 description 1
- 230000036541 health Effects 0.000 description 1
- 238000012986 modification Methods 0.000 description 1
- 230000004048 modification Effects 0.000 description 1
- 238000002360 preparation method Methods 0.000 description 1
- 230000003252 repetitive effect Effects 0.000 description 1
- 230000003068 static effect Effects 0.000 description 1
- 238000002560 therapeutic procedure Methods 0.000 description 1
Images
Classifications
-
- B—PERFORMING OPERATIONS; TRANSPORTING
- B26—HAND CUTTING TOOLS; CUTTING; SEVERING
- B26D—CUTTING; DETAILS COMMON TO MACHINES FOR PERFORATING, PUNCHING, CUTTING-OUT, STAMPING-OUT OR SEVERING
- B26D1/00—Cutting through work characterised by the nature or movement of the cutting member or particular materials not otherwise provided for; Apparatus or machines therefor; Cutting members therefor
- B26D1/01—Cutting through work characterised by the nature or movement of the cutting member or particular materials not otherwise provided for; Apparatus or machines therefor; Cutting members therefor involving a cutting member which does not travel with the work
- B26D1/12—Cutting through work characterised by the nature or movement of the cutting member or particular materials not otherwise provided for; Apparatus or machines therefor; Cutting members therefor involving a cutting member which does not travel with the work having a cutting member moving about an axis
- B26D1/25—Cutting through work characterised by the nature or movement of the cutting member or particular materials not otherwise provided for; Apparatus or machines therefor; Cutting members therefor involving a cutting member which does not travel with the work having a cutting member moving about an axis with a non-circular cutting member
-
- A—HUMAN NECESSITIES
- A61—MEDICAL OR VETERINARY SCIENCE; HYGIENE
- A61J—CONTAINERS SPECIALLY ADAPTED FOR MEDICAL OR PHARMACEUTICAL PURPOSES; DEVICES OR METHODS SPECIALLY ADAPTED FOR BRINGING PHARMACEUTICAL PRODUCTS INTO PARTICULAR PHYSICAL OR ADMINISTERING FORMS; DEVICES FOR ADMINISTERING FOOD OR MEDICINES ORALLY; BABY COMFORTERS; DEVICES FOR RECEIVING SPITTLE
- A61J3/00—Devices or methods specially adapted for bringing pharmaceutical products into particular physical or administering forms
-
- B—PERFORMING OPERATIONS; TRANSPORTING
- B07—SEPARATING SOLIDS FROM SOLIDS; SORTING
- B07B—SEPARATING SOLIDS FROM SOLIDS BY SIEVING, SCREENING, SIFTING OR BY USING GAS CURRENTS; SEPARATING BY OTHER DRY METHODS APPLICABLE TO BULK MATERIAL, e.g. LOOSE ARTICLES FIT TO BE HANDLED LIKE BULK MATERIAL
- B07B1/00—Sieving, screening, sifting, or sorting solid materials using networks, gratings, grids, or the like
- B07B1/18—Drum screens
- B07B1/22—Revolving drums
-
- B—PERFORMING OPERATIONS; TRANSPORTING
- B08—CLEANING
- B08B—CLEANING IN GENERAL; PREVENTION OF FOULING IN GENERAL
- B08B13/00—Accessories or details of general applicability for machines or apparatus for cleaning
-
- B—PERFORMING OPERATIONS; TRANSPORTING
- B08—CLEANING
- B08B—CLEANING IN GENERAL; PREVENTION OF FOULING IN GENERAL
- B08B3/00—Cleaning by methods involving the use or presence of liquid or steam
- B08B3/04—Cleaning involving contact with liquid
- B08B3/10—Cleaning involving contact with liquid with additional treatment of the liquid or of the object being cleaned, e.g. by heat, by electricity or by vibration
-
- B—PERFORMING OPERATIONS; TRANSPORTING
- B26—HAND CUTTING TOOLS; CUTTING; SEVERING
- B26D—CUTTING; DETAILS COMMON TO MACHINES FOR PERFORATING, PUNCHING, CUTTING-OUT, STAMPING-OUT OR SEVERING
- B26D7/00—Details of apparatus for cutting, cutting-out, stamping-out, punching, perforating, or severing by means other than cutting
- B26D7/01—Means for holding or positioning work
- B26D7/02—Means for holding or positioning work with clamping means
-
- B—PERFORMING OPERATIONS; TRANSPORTING
- B26—HAND CUTTING TOOLS; CUTTING; SEVERING
- B26D—CUTTING; DETAILS COMMON TO MACHINES FOR PERFORATING, PUNCHING, CUTTING-OUT, STAMPING-OUT OR SEVERING
- B26D7/00—Details of apparatus for cutting, cutting-out, stamping-out, punching, perforating, or severing by means other than cutting
- B26D7/06—Arrangements for feeding or delivering work of other than sheet, web, or filamentary form
- B26D7/0608—Arrangements for feeding or delivering work of other than sheet, web, or filamentary form by pushers
-
- B—PERFORMING OPERATIONS; TRANSPORTING
- B26—HAND CUTTING TOOLS; CUTTING; SEVERING
- B26D—CUTTING; DETAILS COMMON TO MACHINES FOR PERFORATING, PUNCHING, CUTTING-OUT, STAMPING-OUT OR SEVERING
- B26D7/00—Details of apparatus for cutting, cutting-out, stamping-out, punching, perforating, or severing by means other than cutting
- B26D7/27—Means for performing other operations combined with cutting
Landscapes
- Life Sciences & Earth Sciences (AREA)
- Forests & Forestry (AREA)
- Engineering & Computer Science (AREA)
- Mechanical Engineering (AREA)
- Health & Medical Sciences (AREA)
- Chemical & Material Sciences (AREA)
- Medicinal Chemistry (AREA)
- Pharmacology & Pharmacy (AREA)
- Animal Behavior & Ethology (AREA)
- General Health & Medical Sciences (AREA)
- Public Health (AREA)
- Veterinary Medicine (AREA)
- Apparatuses For Bulk Treatment Of Fruits And Vegetables And Apparatuses For Preparing Feeds (AREA)
Abstract
The invention discloses a cleaning and screening device for production of traditional Chinese medicine decoction pieces, and particularly relates to the technical field of traditional Chinese medicine decoction pieces. According to the automatic feeding device, the actuating mechanism, the water pump and the driving mechanism are arranged, the rotary drum can be driven to swing through the rotation of the material receiving disc, the purpose of automatic feeding of traditional Chinese medicines is achieved in the swinging process of the rotary drum, the traditional Chinese medicines can be cut off through the cutting knife, crushed materials, miscellaneous leaves and the like can be screened out through gaps among the material receiving discs, and the purposes of efficient cleaning and automatic discharging are achieved through the swinging of the rotary drum.
Description
Technical Field
The invention relates to the technical field of traditional Chinese medicine decoction pieces, in particular to a cleaning and screening device for production of traditional Chinese medicine decoction pieces.
Background
The traditional Chinese medicine decoction pieces are prepared from traditional Chinese medicines according to a traditional Chinese medicine theory and a traditional Chinese medicine preparation method, can be directly used for traditional Chinese medicine clinical treatment, and comprise traditional Chinese medicine slices, original-shape traditional Chinese medicine decoction pieces and decoction pieces which are cut and prepared, and are mostly used by doctor prescriptions or are selected by patients for health care and food therapy.
However, the traditional production equipment cannot integrate slicing, screening and cleaning of the traditional Chinese medicine decoction pieces, and a large amount of time is wasted due to the transfer of the traditional Chinese medicine in the production process.
The above information disclosed in this background section is only for enhancement of understanding of the background of the disclosure and therefore it may contain information that does not constitute prior art that is already known to a person of ordinary skill in the art.
Disclosure of Invention
In order to overcome the above defects in the prior art, the embodiment of the invention provides a cleaning and screening device for producing herbal pieces, and the invention aims to solve the technical problems that: the traditional production equipment can not slice, screen and clean the traditional Chinese medicine decoction pieces into a whole, and a large amount of time is wasted due to the transfer of the traditional Chinese medicine in the production process.
In order to achieve the purpose, the invention provides the following technical scheme:
a cleaning and screening device for production of traditional Chinese medicine decoction pieces comprises a rack, wherein an executing mechanism is arranged inside the rack, the executing mechanism comprises a rotary drum, two ends of the rotary drum are rotatably connected with the rack, a discharging part is arranged at the bottom of the rotary drum, the bottom of the discharging part is rotatably connected with an end cover through a torsional spring, a pin shaft is fixedly connected with the bottom of the end cover, rotary tables are arranged at two ends of the rotary drum, a plurality of driving connecting shafts are arranged between the two rotary tables and the end part of the rotary drum, the rotary drum is fixedly connected with the rotary tables through the driving connecting shafts, the driving connecting shafts are distributed circumferentially around the axis of the rotary drum, internal threads are arranged on the inner side walls of the two rotary tables, and a water inlet is formed in the upper end of the rotary drum;
two one side that the rotary drum was kept away from to the carousel all is provided with the support section of thick bamboo with frame fixed mounting, the middle part of supporting a section of thick bamboo is provided with the inclined plane, the middle part of supporting a section of thick bamboo is provided with a feeding section of thick bamboo, the lateral wall of a feeding section of thick bamboo is provided with the external screw thread, the spacing groove has been seted up along the axis direction to the lateral wall of a feeding section of thick bamboo, a feeding section of thick bamboo passes through the external screw thread and the internal thread is connected with the carousel, the inside fixedly connected with stopper that a supporting section of thick bamboo is close to carousel one end, the one end of stopper extends to the inside of spacing groove, the lateral wall activity that a carousel one end was kept away from to a feeding section of thick bamboo is pegged graft and is had the feed rod, the outside cover of feed rod is equipped with the spring, the both ends of spring respectively with the upper end of feed rod and the lateral wall pressfitting of a feeding section of thick bamboo:
a receiving disc is arranged right below the rotary drum and is rotationally connected with the frame, an inner ring is fixedly connected inside the receiving disc, driving columns with the number equal to that of driving connecting shafts at one end of the rotary drum are fixedly connected in the circumferential direction of the upper end of the receiving disc, cutting knives are fixedly connected at the upper ends of a plurality of driving columns, the driving columns drive the rotary drum to swing by pushing one end, close to the rotary disc, of the driving connecting shafts, a conical drum is fixedly connected inside the supporting drum, far away from one end of the rotary disc, and the conical drum is made of rubber;
the device comprises a rotating drum, and is characterized in that an inverted Y-shaped pipe is arranged at a position, located at the water inlet, of the upper end of the rotating drum, the upper end of the inverted Y-shaped pipe is fixedly connected with a rack, the bottom of the inverted Y-shaped pipe is attached to the outer side wall of the rotating drum, the two ends of the bottom of the inverted Y-shaped pipe correspond to the water inlet, a water pump is fixedly connected to one side of the rack, a water outlet of the water pump is communicated with the upper end of the inverted Y-shaped pipe, a driving mechanism is arranged on one side of the rack, and the driving mechanism is in transmission connection with a material receiving disc.
Preferably, the driving connecting shaft is in a zigzag shape, and one end of the two ends of the driving connecting shaft, which is close to the turntable, is the end farthest away from the axis of the turntable.
Preferably, material receiving barrels are arranged between the two ends of the rotary drum and the two rotary discs and are fixedly connected with the middle parts of the plurality of driving connecting shafts.
Preferably, a plurality of connecting rods are fixedly connected to the circumferential direction of one end of the material receiving barrel close to the rotary drum, and one end of each connecting rod far away from the material receiving barrel is fixedly connected with the end wall of the rotary drum.
Preferably, the drive connecting shaft, the drive column and the cutting knife are all provided with five.
Preferably, actuating mechanism includes servo motor, outer ring gear and gear, servo motor and frame fixed mounting, the fixed cover of outer ring gear is established in the outside of take-up (stock) pan, servo motor's output shaft and gear cooperation are connected, gear and outer ring gear meshing transmission.
The invention has the technical effects and advantages that:
1. according to the automatic feeding device, the actuating mechanism, the water pump and the driving mechanism are arranged, the rotary drum can be driven to swing through the rotation of the material receiving disc, the purpose of automatic feeding of traditional Chinese medicines is achieved in the swinging process of the rotary drum, the traditional Chinese medicines can be cut off through the cutting knife, crushed aggregates, miscellaneous leaves and the like can be screened out through gaps among the material receiving discs, and the purposes of efficient cleaning and automatic discharging are achieved through the swinging of the rotary drum;
2. the automatic feeding, slicing, screening, cleaning and discharging integrated machine has the advantages that the automatic feeding, slicing, screening, cleaning and discharging are integrated, so that the production efficiency is greatly improved, and a large amount of time wasted due to the transfer of traditional Chinese medicines is reduced.
Drawings
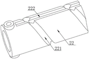
Fig. 1 is a schematic view of the overall structure of the present invention.
Fig. 2 is a schematic structural diagram of an actuating mechanism and a driving mechanism of the invention.
Fig. 3 is a front view of fig. 2 of the present invention.
Fig. 4 is a top view of fig. 2 of the present invention.
Fig. 5 is a cross-sectional view at B-B of fig. 4 in accordance with the present invention.
FIG. 6 is a partial schematic view of FIG. 5 according to the present invention.
Fig. 7 is a cross-sectional view taken at a-a of fig. 3 in accordance with the present invention.
FIG. 8 is a schematic view of the structure of the drum of the present invention.
Fig. 9 is a schematic structural view of the feed cylinder of the present invention.
Fig. 10 is a schematic structural view of the take-up pan of the present invention.
FIG. 11 is a schematic view of the structure of the material receiving barrel of the present invention.
The reference signs are:
1 machine frame, 2 actuating mechanisms, 20 rotary drums, 201 discharging parts, 202 end covers, 203 pin shafts, 204 rotary discs, 205 driving connecting shafts, 206 internal threads, 207 water inlets, 21 supporting drums, 211 inclined planes, 22 feeding drums, 221 external threads, 222 limiting grooves, 23 limiting blocks, 24 feeding rods, 241 springs, 25 material receiving discs, 26 inner rings, 27 driving columns, 271 cutting knives, 28 inverted Y-shaped pipes, 29 conical pipes, 291 material receiving pipes, 292 connecting rods, 3 water pumps, 4 driving mechanisms, 41 servo motors, 42 outer gear rings, 43 gears and 100 traditional Chinese medicines.
Detailed Description
Example embodiments will now be described more fully with reference to the accompanying drawings. Example embodiments may, however, be embodied in many different forms and should not be construed as limited to the examples set forth herein; rather, these example embodiments are provided so that this disclosure will be thorough and complete, and will fully convey the concept of example embodiments to those skilled in the art. The drawings are merely schematic illustrations of the present disclosure and are not necessarily drawn to scale. The same reference numerals in the drawings denote the same or similar parts, and thus their repetitive description will be omitted.
Furthermore, the described features, structures, or characteristics may be combined in any suitable manner in one or more example embodiments. In the following description, numerous specific details are provided to give a thorough understanding of example embodiments of the disclosure. One skilled in the relevant art will recognize, however, that the embodiments of the present disclosure can be practiced without one or more of the specific details, or with other methods, components, steps, etc. In other instances, well-known structures, methods, implementations, or operations are not shown or described in detail to avoid obscuring aspects of the disclosure.
The invention provides a cleaning and screening device for production of traditional Chinese medicine decoction pieces, which comprises the following steps:
the rotary drum type water heater comprises a frame, an actuating mechanism is arranged inside the frame, the actuating mechanism comprises a rotary drum, two ends of the rotary drum are rotatably connected with the frame, a discharging part is arranged at the bottom of the rotary drum, an end cover is rotatably connected to the bottom of the discharging part through a torsional spring, a pin shaft is fixedly connected to the bottom of the end cover, rotary tables are arranged at two ends of the rotary drum, a plurality of driving connecting shafts are arranged between the two rotary tables and the end part of the rotary drum, the rotary drum is fixedly connected with the rotary tables through the driving connecting shafts, the plurality of driving connecting shafts are distributed circumferentially around the axis of the rotary drum, internal threads are arranged on the inner side walls of the two rotary tables, and a water inlet is formed in the upper end of the rotary drum;
two one side that the rotary drum was kept away from to the carousel all is provided with the support section of thick bamboo with frame fixed mounting, the middle part of supporting a section of thick bamboo is provided with the inclined plane, the middle part of supporting a section of thick bamboo is provided with a feeding section of thick bamboo, the lateral wall of a feeding section of thick bamboo is provided with the external screw thread, the lateral wall of a feeding section of thick bamboo has seted up the spacing groove along the axis direction, a feeding section of thick bamboo passes through the external screw thread and the internal thread is connected with the carousel, the inside fixedly connected with stopper that a supporting section of thick bamboo is close to carousel one end, the one end of stopper extends to the inside of spacing groove, the lateral wall activity that carousel one end was kept away from to a feeding section of thick bamboo is pegged graft and is had the feeding pole, the outside cover of feeding pole is equipped with the spring, the both ends of spring respectively with the upper end of feeding pole and the lateral wall pressfitting of a feeding section of thick bamboo:
a receiving disc is arranged right below the rotary drum and is rotationally connected with the frame, an inner ring is fixedly connected inside the receiving disc, driving columns with the number equal to that of driving connecting shafts at one end of the rotary drum are fixedly connected to the circumferential direction of the upper end of the receiving disc, cutting knives are fixedly connected to the upper ends of a plurality of driving columns, the driving columns drive the rotary drum to swing by pushing one end, close to the rotary disc, of the driving connecting shafts, a conical drum is fixedly connected to the inside, far away from one end of the rotary disc, of the supporting drum, and the conical drum is made of rubber;
the device comprises a rotating drum, and is characterized in that an inverted Y-shaped pipe is arranged at a position, located at the water inlet, of the upper end of the rotating drum, the upper end of the inverted Y-shaped pipe is fixedly connected with a rack, the bottom of the inverted Y-shaped pipe is attached to the outer side wall of the rotating drum, the two ends of the bottom of the inverted Y-shaped pipe correspond to the water inlet, a water pump is fixedly connected to one side of the rack, a water outlet of the water pump is communicated with the upper end of the inverted Y-shaped pipe, a driving mechanism is arranged on one side of the rack, and the driving mechanism is in transmission connection with a material receiving disc.
As shown in fig. 1-10, the servo motor 41 drives the receiving tray 25 to rotate through the gear 43 and the outer ring gear 42, and the receiving tray 25 drives the driving column 27 thereon to rotate clockwise (in the direction of fig. 4) together with the cutting knife 271:
in the process (as shown in fig. 4 and fig. 2), after the driving column 27 and the cutting knife 271 contact the left driving connecting shaft 205, the driving connecting shaft 205 is pushed to rotate, so that the turntable 204 and the drum 20 rotate together, and after the left driving column 27 and the cutting knife 271 leave the driving connecting shaft 205, the right driving column 27 just contacts the driving connecting shaft 205 on the side and pushes the driving connecting shaft 205 to rotate, so that the turntable 204 and the drum 20 rotate together, but twice before and after, the rotating directions of the drum 20, the driving connecting shaft 205 and the turntable 204 are opposite, so that the movement of the drum 20 swings back and forth during the continuous rotation of the receiving tray 25;
in the process (as shown in fig. 4 and fig. 2), the turntable 204 is rotated back and forth, when the driving column 27 pushes the left driving connecting shaft 205, because the limiting block 23 extends to the inner side of the limiting groove 222, so as to play a limiting role, the internal thread 206 and the external thread 221 can drive the feeding cylinders 22 on both sides to move to the right, that is, the left feeding cylinder 22 moves to the side close to the rotating cylinder 20, and the right feeding cylinder 22 moves to the side away from the rotating cylinder 20, similarly, when the driving column 27 pushes the right driving connecting shaft 205, the feeding cylinders 22 on both sides move to the left, that is, the left feeding cylinder 22 moves to the side away from the rotating cylinder 20, and the right feeding cylinder 22 moves to the side close to the rotating cylinder 20;
in use, the traditional Chinese medicine 100 is inserted into the feeding cylinders 22 at two sides, and then the following operations can be carried out:
when the feed cylinders 22 on both sides move to the right: the feeding rod 24 on the left feeding cylinder 22 passes through the external thread 221, so that the feeding rod 24 can be pushed towards the middle direction of the feeding cylinder 22, the feeding rod 24 clamps the traditional Chinese medicine 100, the traditional Chinese medicine 100 moves towards the right side together, and at the moment, when the cutting knife 271 passes through, the traditional Chinese medicine 100 is cut off; when the right feeding cylinder 22 moves, even if the feeding rod 24 clamps the traditional Chinese medicine 100, the cone 29 can clamp the traditional Chinese medicine 100, so that the traditional Chinese medicine 100 cannot move, namely, the right feeding cylinder 22 moves to the right, the traditional Chinese medicine 100 keeps static, when the feeding cylinders 22 on the two sides move to the left, the actions on the two sides are just exchanged, and the purpose of automatic feeding is achieved;
when the cut traditional Chinese medicine 100 passes through the material receiving disc 25, the gaps are formed among the material receiving discs 25, so that crushed aggregates, miscellaneous leaves and the like on the traditional Chinese medicine can be screened out, then the cut traditional Chinese medicine 100 enters the interior of the rotary drum 20, the water inlet 207 can be continuously communicated with two ends of the inverted Y-shaped pipe 28 in the process of back-and-forth swing of the rotary drum 20, the water pump 3 pumps water into the interior of the rotary drum 20 through the inverted Y-shaped pipe 28 and the water inlet 207, and the cut traditional Chinese medicine 100 can be cleaned while the rotary drum 20 swings;
when the rotary drum 20 swings back and forth to two ends, the pin shaft 203 contacts with the inner ring 26, so that the limit block 23 can be pushed due to the blocking of the inner ring 26, the end cover 202 rotates to open the bottom end of the discharge part 201, the cleaned cut traditional Chinese medicine 100 can fall into the receiving tray 25 and finally fall from the bottom of the receiving tray 25, a collecting device such as a collecting cylinder with a filter screen can be arranged at the bottom of the receiving tray 25 for collection, when the rotary drum 20 swings back, the pin shaft 203 returns to the original position due to the action of a torsion spring, and the end cover 202 closes the bottom of the discharge part 201;
that is, through the arrangement of the actuating mechanism 2, the water pump 3 and the driving mechanism 4, the rotary drum 20 can be driven to swing through the rotation of the material receiving disc 25, in the swinging process of the rotary drum 20, the automatic feeding purpose of the traditional Chinese medicine 100 is realized, the traditional Chinese medicine 100 can be cut off through the cutting knife 271, crushed aggregates, miscellaneous leaves and the like can be screened out through gaps among the material receiving discs 25, and the high-efficiency cleaning and automatic discharging purposes are also realized through the swinging of the rotary drum 20; the automatic feeding, slicing, screening, cleaning and discharging are integrated, so that the production efficiency is greatly improved, and a large amount of time wasted due to the transfer of traditional Chinese medicines is reduced;
as shown in fig. 2, 5 and 8:
the driving connecting shaft is Z-shaped, and one end of the two ends of the driving connecting shaft, which is close to the turntable, is the end farthest away from the axis of the turntable.
Through the arrangement of the driving connecting shaft 205, the driving of the driving connecting shaft 205 and the cutting of the traditional Chinese medicine 100 by the driving column 27 and the cutting knife 271 can be facilitated, the distance between the material receiving discs 25 at the positions close to the rotary drum 20 is small, and the problem that the cut traditional Chinese medicine 100 falls out can be prevented;
as shown in fig. 5 and 11:
and material receiving barrels are arranged between the two ends of the rotary drum and the two rotary discs and are fixedly connected with the middle parts of the plurality of driving connecting shafts.
After the traditional Chinese medicine 100 is cut off, the cut traditional Chinese medicine 100 can fall into the material receiving barrel 291 to prevent the traditional Chinese medicine 100 from falling from the cut part;
as shown in fig. 5 and 11:
the material receiving barrel is fixedly connected with a plurality of connecting rods in the circumferential direction at one end close to the rotary drum, and one end of each connecting rod far away from the material receiving barrel is fixedly connected with the end wall of the rotary drum.
The traditional Chinese medicine 100 falling into the material receiving barrel 291 can enter the interior of the rotary drum 20 through the connecting rod 292, crushed materials, miscellaneous leaves and the like can be screened out when the traditional Chinese medicine passes through the connecting rod 292, and gaps among the material receiving trays 25 are reduced due to the arrangement of the connecting rod 292, so that the problem that the cut traditional Chinese medicine 100 falls out is further avoided;
as shown in fig. 2-5:
the drive connecting shaft, the drive column and the cutting knife are all provided with five.
Actuating mechanism includes servo motor, outer ring gear and gear, servo motor and frame fixed mounting, the fixed cover of outer ring gear is established in the outside of take-up (stock) pan, servo motor's output shaft is connected with the gear cooperation, gear and outer ring gear meshing transmission.
The points to be finally explained are: first, in the description of the present application, it should be noted that, unless otherwise specified and limited, the terms "mounted," "connected," and "connected" should be understood broadly, and may be a mechanical connection or an electrical connection, or a communication between two elements, and may be a direct connection, and "upper," "lower," "left," and "right" are only used to indicate a relative positional relationship, and when the absolute position of the object to be described is changed, the relative positional relationship may be changed;
secondly, the method comprises the following steps: in the drawings of the disclosed embodiments of the invention, only the structures related to the disclosed embodiments are referred to, other structures can refer to common designs, and the same embodiment and different embodiments of the invention can be combined with each other without conflict;
and finally: the above description is only for the purpose of illustrating the preferred embodiments of the present invention and is not to be construed as limiting the invention, and any modifications, equivalents, improvements and the like that are within the spirit and principle of the present invention are intended to be included in the scope of the present invention.
Claims (6)
1. The utility model provides a herbal pieces-production is with wasing screening device, includes frame (1), its characterized in that: the automatic feeding device is characterized in that an executing mechanism (2) is arranged inside the rack (1), the executing mechanism (2) comprises a rotating drum (20), two ends of the rotating drum (20) are rotatably connected with the rack (1), a discharging part (201) is arranged at the bottom of the rotating drum (20), an end cover (202) is rotatably connected to the bottom of the discharging part (201) through a torsion spring, a pin shaft (203) is fixedly connected to the bottom of the end cover (202), rotating discs (204) are arranged at two ends of the rotating drum (20), a plurality of driving connecting shafts (205) are arranged between the two rotating discs (204) and the end part of the rotating drum (20), the rotating drum (20) is fixedly connected with the rotating discs (204) through the driving connecting shafts (205), the plurality of driving connecting shafts (205) are circumferentially distributed around the axis of the rotating drum (20), and internal threads (206) are arranged on the inner side walls of the two rotating discs (204), a water inlet (207) is formed in the upper end of the rotary drum (20);
one side, far away from the rotating drum (20), of each of the two rotating discs (204) is provided with a supporting cylinder (21) fixedly mounted with the frame (1), the middle of each supporting cylinder (21) is provided with an inclined surface (211), the middle of each supporting cylinder (21) is provided with a feeding cylinder (22), the outer side wall of each feeding cylinder (22) is provided with an external thread (221), the outer side wall of each feeding cylinder (22) is provided with a limiting groove (222) along the axis direction, each feeding cylinder (22) is connected with the corresponding rotating disc (204) through the external thread (221) and the internal thread (206), the inner part, close to one end of each rotating disc (204), of each supporting cylinder (21) is fixedly connected with a limiting block (23), one end of each limiting block (23) extends into the corresponding limiting groove (222), the side wall, far away from one end of each rotating disc (204), of each feeding cylinder (22) is movably inserted with a feeding rod (24), and the outer side of each feeding rod (24) is sleeved with a spring (241), the both ends of spring (241) respectively with the upper end of feed rod (24) and the lateral wall pressfitting of feed cylinder (22):
a material receiving disc (25) is arranged right below the rotary drum (20), the material receiving disc (25) is rotatably connected with the rack (1), an inner ring (26) is fixedly connected inside the material receiving disc (25), driving columns (27) with the number equal to that of the driving connecting shafts (205) at one end of the rotary drum (20) are fixedly connected to the circumferential direction of the upper end of the material receiving disc (25), cutting knives (271) are fixedly connected to the upper ends of the driving columns (27), the driving columns (27) drive the rotary drum (20) to swing by pushing one end, close to the rotary disc (204), of the driving connecting shafts (205), a conical drum (29) is fixedly connected to the inside of one end, far away from the rotary disc (204), of the supporting drum (21), and the conical drum (29) is made of rubber;
the utility model discloses a water receiving tray, including frame (1), the position department that the upper end of rotary drum (20) is located water inlet (207) is provided with inversion Y type pipe (28), the upper end and frame (1) fixed connection of inversion Y type pipe (28), the bottom of inversion Y type pipe (28) is laminated with the lateral wall of rotary drum (20), the both ends of inversion Y type pipe (28) bottom correspond with water inlet (207), one side fixedly connected with water pump (3) of frame (1), the delivery port of water pump (3) and the upper end intercommunication of inversion Y type pipe (28), one side of frame (1) is provided with actuating mechanism (4), actuating mechanism (4) are connected with take-up (25) transmission.
2. The cleaning and screening device for producing herbal pieces-according to claim 1, wherein: the driving connecting shaft (205) is Z-shaped, and one end of the two ends of the driving connecting shaft (205), which is close to the turntable (204), is the end farthest away from the axis of the turntable (204).
3. The cleaning and screening device for producing herbal pieces-according to claim 1, wherein: a material receiving barrel (291) is arranged between the two ends of the rotary drum (20) and the two rotary discs (204), and the material receiving barrel (291) is fixedly connected with the middle parts of the plurality of driving connecting shafts (205).
4. The cleaning and screening device for producing herbal pieces-according to claim 3, wherein: the circumferential direction of one end of the material receiving barrel (291) close to the rotary barrel (20) is fixedly connected with a plurality of connecting rods (292), and one end of each connecting rod (292) far away from the material receiving barrel (291) is fixedly connected with the end wall of the rotary barrel (20).
5. The cleaning and screening device for producing herbal pieces-according to claim 1, wherein: the driving connecting shaft (205), the driving column (27) and the cutting knife (271) are all provided with five.
6. The cleaning and screening device for producing herbal pieces-according to claim 1, wherein: actuating mechanism (4) include servo motor (41), outer ring gear (42) and gear (43), servo motor (41) and frame (1) fixed mounting, the outside at take-up (25) is established to outer ring gear (42) fixed cover, the output shaft and the gear (43) cooperation of servo motor (41) are connected, gear (43) and outer ring gear (42) meshing transmission.
Priority Applications (1)
| Application Number | Priority Date | Filing Date | Title |
|---|---|---|---|
| CN202110709590.5A CN113547562B (en) | 2021-06-25 | 2021-06-25 | Herbal pieces-production is with wasing screening device |
Applications Claiming Priority (1)
| Application Number | Priority Date | Filing Date | Title |
|---|---|---|---|
| CN202110709590.5A CN113547562B (en) | 2021-06-25 | 2021-06-25 | Herbal pieces-production is with wasing screening device |
Publications (2)
| Publication Number | Publication Date |
|---|---|
| CN113547562A CN113547562A (en) | 2021-10-26 |
| CN113547562B true CN113547562B (en) | 2022-07-26 |
Family
ID=78102390
Family Applications (1)
| Application Number | Title | Priority Date | Filing Date |
|---|---|---|---|
| CN202110709590.5A Active CN113547562B (en) | 2021-06-25 | 2021-06-25 | Herbal pieces-production is with wasing screening device |
Country Status (1)
| Country | Link |
|---|---|
| CN (1) | CN113547562B (en) |
Families Citing this family (2)
| Publication number | Priority date | Publication date | Assignee | Title |
|---|---|---|---|---|
| CN114011716B (en) * | 2021-11-05 | 2022-09-02 | 常德十美堂万华农产品开发有限公司 | A ghost screening remove device for sesame oil processing |
| CN115193687B (en) * | 2022-09-16 | 2023-06-20 | 泗洪星耀制造有限公司 | Screening device for valve fitting machining |
Citations (8)
| Publication number | Priority date | Publication date | Assignee | Title |
|---|---|---|---|---|
| CN205969182U (en) * | 2016-07-29 | 2017-02-22 | 屈丁楠 | Controllable traditional chinese medicine medicinal material cutting device of feeding convenient to wash |
| CN206937436U (en) * | 2017-06-14 | 2018-01-30 | 赵建东 | A kind of equal length Chinese medicine production cutting cleaning equipment |
| CN108687019A (en) * | 2018-05-02 | 2018-10-23 | 山丹县宏胜科技信息咨询有限责任公司 | A kind of Chinese medicine process equipment |
| CN209349167U (en) * | 2018-11-08 | 2019-09-06 | 上海汇济药业芜湖有限公司 | A kind of recirculated water cleaning screening plant for Chinese medicine |
| CN211412970U (en) * | 2019-12-19 | 2020-09-04 | 江西心众农业发展有限公司 | A cutting washs integrated device for traditional chinese medicine production |
| CN211679063U (en) * | 2019-12-28 | 2020-10-16 | 安国市昌达中药材饮片有限公司 | Herbal pieces-preparation is with upset washing medicine machine |
| CN112354949A (en) * | 2020-12-02 | 2021-02-12 | 禹州臻琦生物科技有限公司 | Circulating water belt cleaning device is used in herbal pieces-production |
| CN213378186U (en) * | 2020-09-30 | 2021-06-08 | 云南晟招制药有限公司 | Device is concocted to herbal pieces- |
Family Cites Families (1)
| Publication number | Priority date | Publication date | Assignee | Title |
|---|---|---|---|---|
| US10391675B2 (en) * | 2016-04-22 | 2019-08-27 | Millco Product Solutions Llc | Convertible recycling apparatus for synthetic resin materials |
-
2021
- 2021-06-25 CN CN202110709590.5A patent/CN113547562B/en active Active
Patent Citations (8)
| Publication number | Priority date | Publication date | Assignee | Title |
|---|---|---|---|---|
| CN205969182U (en) * | 2016-07-29 | 2017-02-22 | 屈丁楠 | Controllable traditional chinese medicine medicinal material cutting device of feeding convenient to wash |
| CN206937436U (en) * | 2017-06-14 | 2018-01-30 | 赵建东 | A kind of equal length Chinese medicine production cutting cleaning equipment |
| CN108687019A (en) * | 2018-05-02 | 2018-10-23 | 山丹县宏胜科技信息咨询有限责任公司 | A kind of Chinese medicine process equipment |
| CN209349167U (en) * | 2018-11-08 | 2019-09-06 | 上海汇济药业芜湖有限公司 | A kind of recirculated water cleaning screening plant for Chinese medicine |
| CN211412970U (en) * | 2019-12-19 | 2020-09-04 | 江西心众农业发展有限公司 | A cutting washs integrated device for traditional chinese medicine production |
| CN211679063U (en) * | 2019-12-28 | 2020-10-16 | 安国市昌达中药材饮片有限公司 | Herbal pieces-preparation is with upset washing medicine machine |
| CN213378186U (en) * | 2020-09-30 | 2021-06-08 | 云南晟招制药有限公司 | Device is concocted to herbal pieces- |
| CN112354949A (en) * | 2020-12-02 | 2021-02-12 | 禹州臻琦生物科技有限公司 | Circulating water belt cleaning device is used in herbal pieces-production |
Also Published As
| Publication number | Publication date |
|---|---|
| CN113547562A (en) | 2021-10-26 |
Similar Documents
| Publication | Publication Date | Title |
|---|---|---|
| CN113547562B (en) | Herbal pieces-production is with wasing screening device | |
| CN109772686A (en) | A kind of agricultural production screening installation | |
| CN110663754B (en) | Live fresh scallop meat-taking processing machine | |
| CN107928469A (en) | A kind of automatic the yellow and white separator to shell of beating eggs | |
| CN211244619U (en) | Medicine heating device for traditional Chinese medicine nursing | |
| CN213466833U (en) | Bio-pharmaceuticals extract filter equipment who easily fully stirs and grind | |
| CN207613142U (en) | A kind of automatic eggbeater for food production processing | |
| CN215574097U (en) | A soil sample detection and crushing pre-processing device | |
| CN111887702B (en) | Pomegranate juice extractor | |
| CN215189302U (en) | Bean hull cold-removing, polishing and dust-removing equipment | |
| CN116851249A (en) | Production and processing device for traditional Chinese medicine decoction pieces | |
| CN216149174U (en) | Be provided with filter equipment's feed arrangement for watermelon juice production | |
| CN111014014A (en) | A sieving mechanism for herbal pieces-production | |
| CN210161236U (en) | An automatic slicing device for peony roots | |
| CN108465408B (en) | Mixing apparatus is used in production of chinese mugwort heart moon cake | |
| CN208574906U (en) | A kind of prepared slices of Chinese crude drugs screening plant | |
| CN219332540U (en) | Herbal pieces-fry medicine device | |
| CN219132460U (en) | Processing device for producing traditional Chinese medicine decoction pieces | |
| CN220572849U (en) | Polypeptide preparation facilities convenient to edulcoration | |
| CN111994313A (en) | Improved quantitative racking machine for grain and rice production | |
| CN221472778U (en) | Raw material cleaning device for soymilk processing | |
| CN220513530U (en) | Edible oil filter | |
| CN222828852U (en) | A sterilization device for processing Chinese herbal medicines | |
| CN219982000U (en) | Twisting machine for tea processing | |
| CN217189794U (en) | Milling equipment is used in flavouring production |
Legal Events
| Date | Code | Title | Description |
|---|---|---|---|
| PB01 | Publication | ||
| PB01 | Publication | ||
| SE01 | Entry into force of request for substantive examination | ||
| SE01 | Entry into force of request for substantive examination | ||
| GR01 | Patent grant | ||
| GR01 | Patent grant |