CN113533380A - A test device for moisture content of recycled cement stabilized crushed stone mixture - Google Patents

A test device for moisture content of recycled cement stabilized crushed stone mixture Download PDF

Info

Publication number
CN113533380A
CN113533380A CN202110854172.5A CN202110854172A CN113533380A CN 113533380 A CN113533380 A CN 113533380A CN 202110854172 A CN202110854172 A CN 202110854172A CN 113533380 A CN113533380 A CN 113533380A
Authority
CN
China
Prior art keywords
box
fixedly connected
frame body
test device
moisture content
Prior art date
Legal status (The legal status is an assumption and is not a legal conclusion. Google has not performed a legal analysis and makes no representation as to the accuracy of the status listed.)
Pending
Application number
CN202110854172.5A
Other languages
Chinese (zh)
Inventor
胡健
佘兆宇
卞加前
Current Assignee (The listed assignees may be inaccurate. Google has not performed a legal analysis and makes no representation or warranty as to the accuracy of the list.)
Jiangsu Modern Engineering Detection Co ltd
Original Assignee
Jiangsu Modern Engineering Detection Co ltd
Priority date (The priority date is an assumption and is not a legal conclusion. Google has not performed a legal analysis and makes no representation as to the accuracy of the date listed.)
Filing date
Publication date
Application filed by Jiangsu Modern Engineering Detection Co ltd filed Critical Jiangsu Modern Engineering Detection Co ltd
Priority to CN202110854172.5A priority Critical patent/CN113533380A/en
Publication of CN113533380A publication Critical patent/CN113533380A/en
Pending legal-status Critical Current

Links

Images

Classifications

    • GPHYSICS
    • G01MEASURING; TESTING
    • G01NINVESTIGATING OR ANALYSING MATERIALS BY DETERMINING THEIR CHEMICAL OR PHYSICAL PROPERTIES
    • G01N22/00Investigating or analysing materials by the use of microwaves or radio waves, i.e. electromagnetic waves with a wavelength of one millimetre or more
    • G01N22/04Investigating moisture content

Landscapes

  • Physics & Mathematics (AREA)
  • Electromagnetism (AREA)
  • Health & Medical Sciences (AREA)
  • Life Sciences & Earth Sciences (AREA)
  • Chemical & Material Sciences (AREA)
  • Analytical Chemistry (AREA)
  • Biochemistry (AREA)
  • General Health & Medical Sciences (AREA)
  • General Physics & Mathematics (AREA)
  • Immunology (AREA)
  • Pathology (AREA)
  • Devices For Post-Treatments, Processing, Supply, Discharge, And Other Processes (AREA)

Abstract

本发明涉及道路工程施工试验检测设备技术领域,具体涉及一种旧料再生水泥稳定碎石混合料含水率试验装置;门板与保护箱铰接,并位于保护箱的外侧壁,每组移动组件分别与保护箱固定连接,并均位于保护箱的下方,拉杆与保护箱固定连接,并位于保护箱的外侧壁,放置框与保护箱固定连接,并位于保护箱的外侧壁,放置盒与保护箱固定连接,并位于保护箱的外侧壁,真空微波干燥箱设置于保护箱的内部,试样盘与放置框拆卸连接,并位于放置框内,电子天平与放置盒拆卸连接,并位于放置盒内,通过上述结构的设置实现便于操作人员移动,降低操作人员负担,避免影响工作效率。

Figure 202110854172

The invention relates to the technical field of road engineering construction test and detection equipment, in particular to a moisture content test device for recycled cement stabilized crushed stone mixture; The protective box is fixedly connected and is located under the protective box, the pull rod is fixedly connected to the protective box and is located on the outer side wall of the protective box, the placing frame is fixedly connected to the protective box and is located on the outer side wall of the protective box, and the placing box is fixed to the protective box It is connected and located on the outer side wall of the protective box. The vacuum microwave drying box is set inside the protective box. The sample tray is detachably connected to the placing frame and is located in the placing frame. The electronic balance is detached and connected to the placing box and is located in the placing box. Through the arrangement of the above structure, it is convenient for the operator to move, the burden on the operator is reduced, and the work efficiency is avoided.

Figure 202110854172

Description

Old material regeneration cement stabilized macadam mixture moisture content test device
Technical Field
The invention relates to the technical field of road engineering construction test detection equipment, in particular to a test device for the water content of an old material recycled cement stabilized macadam mixture.
Background
In order to implement an economic system of green low-carbon circulation, an ecological friendly, intensive and efficient development idea, methods and measures such as old material regeneration, waste utilization and the like are adopted in project engineering construction so as to save material resources.
At present, more waste materials are generated by road engineering reconstruction, expansion and maintenance, the types are different and the specifications are different, when a water content ratio test of a mixture is carried out, a drying box is used for drying the mixture, about 30 percent of asphalt mixed materials are doped into reclaimed materials, the traditional drying test technology is adopted, asphalt is softened and is easy to adhere to a container, the test is difficult to be accurate, the undisturbed structure of the mixture is damaged, the subsequent test parameter distortion and other problems are caused, if the temperature is reduced to 60 ℃ for testing, the drying test time is over 10 hours, a vacuum microwave drying box is used for testing, the test accuracy and the timeliness are improved, the construction is guided by the test, but the drying box is huge in size and heavy in weight, when an operator transports the drying box from one place to another place, the drying box is not convenient to move, so that the operator is increased, affecting the work efficiency.
Disclosure of Invention
The invention aims to provide a device for testing the water content of an old material regeneration cement stabilized macadam mixture, and aims to solve the technical problems that in the prior art, when an operator transports a drying box from one place to another place, the operator is not convenient to move the drying box, so that the burden of the operator is increased, and the working efficiency is influenced.
In order to achieve the purpose, the water content test device for the old material regeneration cement stabilized macadam mixture comprises a protection box, a door plate, moving assemblies, pull rods, a placing frame, a placing box, a vacuum microwave drying box, a sample disc and an electronic balance, wherein the door plate is hinged with the protection box and is positioned on the outer side wall of the protection box, the number of the moving assemblies is multiple, each moving assembly is fixedly connected with the protection box and is positioned below the protection box, the pull rods are fixedly connected with the protection box and are positioned on the outer side wall of the protection box, the placing frame is fixedly connected with the protection box and is positioned on the outer side wall of the protection box, the placing box is fixedly connected with the protection box and is positioned on the outer side wall of the protection box, the vacuum microwave drying box is arranged in the protection box, the sample tray is detachably connected with the placing frame and is positioned in the placing frame, and the electronic balance is detachably connected with the placing box and is positioned in the placing box.
Wherein, place the frame and include first framework, second framework, attaching plate and first pull ring, first framework with guard box fixed connection, and be located the lateral wall of guard box, the second framework with first framework sliding connection, and be located in the first framework, attaching plate with second framework fixed connection, and be located the lateral wall of second framework, first pull ring with attaching plate fixed connection, and be located attaching plate's lateral wall, the sample dish set up in the second framework.
The device for testing the water content of the old material recycled cement stabilized macadam mixture further comprises a rail and a roller, the rail is fixedly connected with the first frame body and embedded in the first frame body, the roller is rotatably connected with the second frame body, and the roller is matched with the rail.
The device for testing the water content of the old material recycled cement stabilized macadam mixture further comprises a limiting rod, a moving groove is formed in the first frame body, and the limiting rod is fixedly connected with the second frame body and located in the moving groove.
The device for testing the water content of the old material recycled cement stabilized macadam mixture further comprises a friction ring, wherein the friction ring is fixedly connected with the attaching plate and located on the outer side wall of the attaching plate.
The box comprises a first half box, a second half box, a hinge and a second pull ring, wherein the first half box is fixedly connected with the protection box and positioned on the outer side wall of the protection box, one end of the hinge is fixedly connected with the first half box, the other end of the hinge is fixedly connected with the second half box, and the second pull ring is fixedly connected with the second half box and positioned on the outer side wall of the second half box.
The movable assembly comprises a movable rod and a movable wheel, one end of the movable rod is fixedly connected with the protection box, and the movable wheel is rotatably connected with the other end of the movable rod.
The invention relates to a test device for the water content of an old material regenerated cement stabilized macadam mixture, which transmits energy through microwave radiation by a vacuum microwave drying box, has short test period, the temperature precision of +/-0.5 ℃, the diameter of a sample plate of about 300mm and the height of 30-50 mm, the measuring range of an electronic balance of not less than 4000g and the sensing quantity of 0.1g, is beneficial to analyzing the gradation and the grain size shape of the mixture, the dehydration quantity of about 800g/h is calculated by the water content of 5 percent of 2000g of the mixture, the dehydration and the drying can be carried out in 3-5 min, the mixture is placed in the sample plate in the process of stabilizing the water content of the macadam mixture by the old material regenerated cement, the sample plate is placed in the vacuum microwave drying box for testing, the vacuum microwave drying box adopts low-temperature dehydration, the water content test temperature is not higher than 60 ℃, the phenomenon that asphalt cementing materials existing in the regenerated old material adhere to the sample plate is avoided while the original structure of the mixture is not damaged, ensuring the testing precision; when operating personnel removed when old material regeneration cement stabilized macadam mixture moisture content test device, close the door plant makes the guard box seals, and operating personnel can hand this moment the pull rod to exert the pulling force, it is a plurality of under the cooperation of removal subassembly, will the guard box pulling, so that operating personnel removes old material regeneration cement stabilized macadam mixture moisture content test device has realized the operating personnel of being convenient for and has removed, reduces operating personnel burden, avoids influencing work efficiency.
Drawings
In order to more clearly illustrate the embodiments of the present invention or the technical solutions in the prior art, the drawings used in the description of the embodiments or the prior art will be briefly described below, it is obvious that the drawings in the following description are only some embodiments of the present invention, and for those skilled in the art, other drawings can be obtained according to the drawings without creative efforts.
FIG. 1 is a schematic structural diagram of a test device for the water content of an old material regenerated cement stabilized macadam mixture.
FIG. 2 is a front view of the test device for the water content of the old material recycled cement stabilized macadam mixture.
Fig. 3 is a cross-sectional view of the a-a line structure of fig. 2 of the present invention.
Fig. 4 is a cross-sectional view of the B-B line structure of fig. 2 of the present invention.
Fig. 5 is a cross-sectional view of the C-C line structure of fig. 2 of the present invention.
Fig. 6 is an enlarged view of a portion of the structure of fig. 5 according to the present invention.
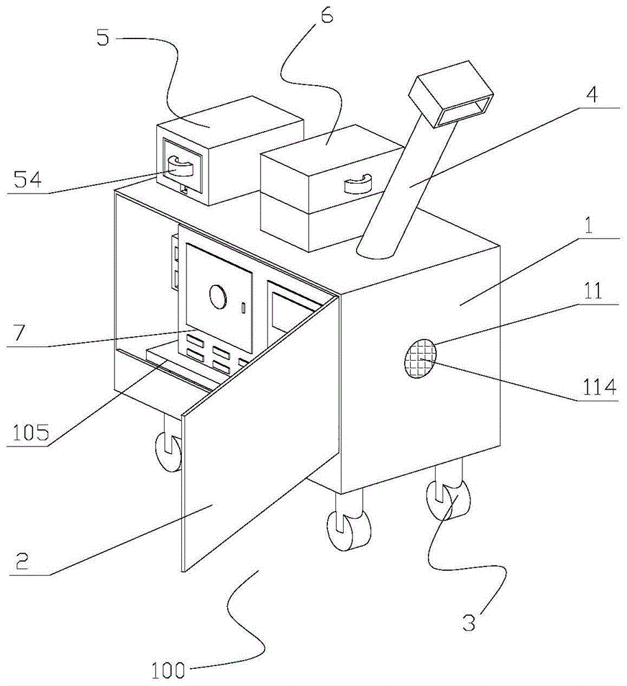
100-old material recycled cement stabilized macadam mixture water content test device, 1-protection box, 2-door panel, 3-moving assembly, 4-pull rod, 5-placing frame, 6-placing box, 7-vacuum microwave drying box, 8-sample tray, 9-electronic balance, 11-air inlet, 12-heat dissipation hole, 31-moving rod, 32-moving wheel, 51-first frame, 52-second frame, 53-attaching plate, 54-first pull ring, 61-first half box, 62-second half box, 63-hinge, 64-second pull ring, 101-track, 102-roller, 103-limiting rod, 104-friction ring, 105-placing plate, 106-damping spring, 107-outer barrel, 108-inner rod, 106-damping spring, 109-connecting rod, 110-rotating motor, 111-speed reducer, 112-fan blade, 113-protective frame, 114-protective net and 511-moving groove.
Detailed Description
Reference will now be made in detail to embodiments of the present invention, examples of which are illustrated in the accompanying drawings, wherein like or similar reference numerals refer to the same or similar elements or elements having the same or similar function throughout. The embodiments described below with reference to the drawings are illustrative and intended to be illustrative of the invention and are not to be construed as limiting the invention.
In the description of the present invention, it is to be understood that the terms "length", "width", "upper", "lower", "front", "rear", "left", "right", "vertical", "horizontal", "top", "bottom", "inner", "outer", and the like, indicate orientations or positional relationships based on the orientations or positional relationships illustrated in the drawings, and are used merely for convenience in describing the present invention and for simplicity in description, and do not indicate or imply that the devices or elements referred to must have a particular orientation, be constructed in a particular orientation, and be operated, and thus, are not to be construed as limiting the present invention. Further, in the description of the present invention, "a plurality" means two or more unless specifically defined otherwise.
Referring to fig. 1 to 6, the invention provides a water content test device 100 for an old material regeneration cement stabilized macadam mixture, the water content test device 100 for the old material regeneration cement stabilized macadam mixture comprises a protection box 1, a door panel 2, a plurality of groups of moving assemblies 3, a pull rod 4, a placing frame 5, a placing box 6, a vacuum microwave drying box 7, a sample tray 8 and an electronic balance 9, the door panel 2 is hinged with the protection box 1 and is positioned on the outer side wall of the protection box 1, the number of the moving assemblies 3 is multiple, each group of the moving assemblies 3 is respectively fixedly connected with the protection box 1 and is positioned below the protection box 1, the pull rod 4 is fixedly connected with the protection box 1 and is positioned on the outer side wall of the protection box 1, the placing frame 5 is fixedly connected with the protection box 1 and is positioned on the outer side wall of the protection box 1, the placing box 6 is fixedly connected with the protection box 1, the vacuum microwave drying box 7 is arranged inside the protection box 1, the sample tray 8 is detachably connected with the placing frame 5 and is positioned in the placing frame 5, and the electronic balance 9 is detachably connected with the placing box 6 and is positioned in the placing box 6.
In the embodiment, the vacuum microwave drying box 7 is used for transmitting energy by microwave radiation, the test period is short, the temperature precision is +/-0.5 ℃, the diameter of the sample plate 8 is about 300mm, the height is 30-50 mm, the range of the electronic balance 9 is not less than 4000g, the sensing quantity is 0.1g, the analysis of the mixture gradation and the particle size shape is facilitated, the dehydration quantity is about 800g/h, the dehydration quantity is calculated by the water content of 5% of 2000g of the mixture, dehydration and drying can be carried out within 3-5 min, the mixture is placed in the sample plate 8 in the process of stabilizing the water content of the mixture crushed stone for the test old material recycled cement, the sample plate 8 is placed in the vacuum microwave drying box 7 for testing, the vacuum microwave drying box 7 adopts low-temperature dehydration, the water content test temperature is not higher than 60 ℃, the phenomenon that the asphalt cementing material existing in the recycled old material adheres to the sample plate 8 is avoided while the original structure of the mixture is not damaged, ensuring the testing precision; when operating personnel removed during old material regeneration cement stabilized macadam mixture moisture content test device 100, close door plant 2 makes guard box 1 seals, and operating personnel can hand this moment pull rod 4 to exert the pulling force, it is a plurality of under the cooperation of removal subassembly 3, will guard box 1 pulling, so that operating personnel removes old material regeneration cement stabilized macadam mixture moisture content test device 100 has realized the operating personnel of being convenient for and has removed, reduces operating personnel burden, avoids influencing work efficiency.
Further, the placement frame 5 includes a first frame body 51, a second frame body 52, a fitting plate 53 and a first pull ring 54, the first frame body 51 is fixedly connected to the protection box 1 and located on an outer side wall of the protection box 1, the second frame body 52 is slidably connected to the first frame body 51 and located in the first frame body 51, the fitting plate 53 is fixedly connected to the second frame body 52 and located on an outer side wall of the second frame body 52, the first pull ring 54 is fixedly connected to the fitting plate 53 and located on an outer side wall of the fitting plate 53, and the sample tray 8 is disposed in the second frame body 52.
In this embodiment, the sample disk 8 is placed in the second frame 52, and when an operator uses the sample disk 8, the operator holds the first pull ring 54 with his hand and applies a pulling force to move the attachment plate 53, so that the second frame 52 slides in the first frame 51 until the sample disk 8 is exposed, and at this time, the operator can take out the sample disk 8 and perform a test.
Further, the test device 100 for the water content of the old material recycled cement stabilized macadam mixture further comprises a rail 101 and a roller 102, the rail 101 is fixedly connected with the first frame body 51 and embedded in the first frame body 51, the roller 102 is rotatably connected with the second frame body 52, and the roller 102 is matched with the rail 101.
In the present embodiment, when the second housing 52 slides in the first housing 51, the roller 102 rotates in the rail 101, so that the second housing 52 slides in the first housing 51.
Further, the device 100 for testing the water content of the old material recycled cement stabilized macadam mixture further comprises a limiting rod 103, a moving groove 511 is formed in the first frame body 51, and the limiting rod 103 is fixedly connected with the second frame body 52 and is located in the moving groove 511.
In the present embodiment, when the second frame body 52 slides in the first frame body 51 until the sample disk 8 is exposed, the stopper rod 103 moves in the moving groove 511, the stopper rod 103 moves from one end of the moving groove 511 to the other end of the moving groove 511 and is stopped by the first frame body 51, the stopper rod 103 restricts the sliding distance of the second frame body 52, and the second frame body 52 is prevented from falling off from the first frame body 51 when an operator slides the second frame body 52, and the sample disk 8 falls on the ground and is damaged.
Further, old material regeneration cement stabilized macadam mixture moisture content test device 100 still includes friction ring 104, friction ring 104 with attaching plate 53 fixed connection, and be located attaching plate 53's lateral wall.
In the present embodiment, the friction ring 104 increases the friction between the attachment plate 53 and the first frame 51, and prevents the attachment plate 53 from falling off the first frame 51 and the sample tray 8 from falling on the ground and being damaged when the used recycled cement-stabilized macadam mixture water content test apparatus 100 is moved.
Further, it includes first half box 61, second half box 62, hinge 63 and second pull ring 64 to place box 6, first half box 61 with guard box 1 fixed connection, and be located the lateral wall of guard box 1, the one end of hinge 63 with first half box 61 fixed connection, the other end of hinge 63 with second half box 62 fixed connection, second pull ring 64 with second half box 62 fixed connection, and be located the lateral wall of second half box 62.
In this embodiment, the electronic balance 9 is placed in the first half case 61, and when the operator uses the electronic balance 9, the operator holds the second pull ring 64 and rotates the second half case 62, and the electronic balance 9 is exposed by the hinge 63, and at this time, the operator can take out the electronic balance 9 and use it.
Further, the moving assembly 3 comprises a moving rod 31 and a moving wheel 32, one end of the moving rod 31 is fixedly connected with the protection box 1, and the moving wheel 32 is rotatably connected with the other end of the moving rod 31.
In this embodiment, when the operator moves the old material recycled cement stabilized macadam mixture water content test device 100, the door panel 2 is closed to seal the protection box 1, the operator can hold the pull rod 4 by hand and apply a pulling force, the movable wheel 32 rotates on the movable rod 31, and the movable wheels 32 are matched to move the protection box 1.
Further, old material regeneration cement stabilized macadam mixture moisture content test device 100 still includes places board 105, damping spring 106, urceolus 107 and interior pole 108, damping spring 106's one end with guard box 1 fixed connection, and be located the inside of guard box 1, damping spring 106's the other end with place board 105 fixed connection, urceolus 107 with guard box 1 fixed connection, interior pole 108's one end with urceolus 107 sliding connection, interior pole 108 the other end with place board 105 fixed connection, just damping spring 106 encloses respectively in urceolus 107 with the lateral wall of interior pole 108, vacuum microwave drying cabinet 7 with place board 105 fixed connection, and be located place the top of board 105.
In this embodiment, the vacuum microwave drying box 7 is fixed on the placing plate 105, when the operator moves the old material recycled cement stabilized macadam mixture water content testing apparatus 100, the protection box 1 swings to cause the placing plate 105 to receive vibration, at this time, the damping spring 106 absorbs the vibration received by the placing plate 105 to prevent the placing plate 105 from swinging, the inner rod 108 and the outer cylinder 107 are matched to increase the stability of the damping spring 106, so as to achieve the damping effect.
Further, old material regeneration cement stabilized macadam mixture moisture content test device 100 still includes connecting rod 109, rotation motor 110, speed reducer 111, flabellum 112, fender bracket 113 and protection network 114, the last fresh air inlet 11 and the louvre 12 of having of guard box 1, fender bracket 113 with 1 fixed connection of guard box, and be located in the guard box 1, connecting rod 109 with 1 fixed connection of guard box, and be located in the louvre 12, rotation motor 110 with connecting rod 109 fixed connection, and be located the lateral wall of connecting rod 109, speed reducer 111 with the output fixed connection of rotation motor 110, flabellum 112 with the output fixed connection of speed reducer 111, fresh air inlet 11 with all be provided with in the louvre 12 the protection network 114.
In this embodiment, when vacuum microwave drying cabinet 7 operates, the production of heat makes temperature rises in protection box 1, for avoiding vacuum microwave drying cabinet 7 is in under the high temperature environment for a long time, and operating personnel controls rotation motor 110 operates, rotate motor 110 with speed reducer 111 cooperatees, the drive flabellum 112 rotates, fresh air inlet 11 gets into the air, louvre 12 exhaust steam, so that reach the radiating effect, flabellum 112 is located in protection frame 113, avoid operating personnel to contact flabellum 112 in the rotation carelessly, thereby lead to being injured, fresh air inlet 11 with all be provided with in the louvre 12 protection network 114, protection network 114 places the foreign matter and passes through fresh air inlet 11 or louvre 12 gets into to in the protection box 1.
While the invention has been described with reference to a preferred embodiment, it will be understood by those skilled in the art that various changes in form and detail may be made therein without departing from the spirit and scope of the invention as defined by the appended claims.

Claims (7)

1.一种旧料再生水泥稳定碎石混合料含水率试验装置,其特征在于,1. an old material regeneration cement stabilized crushed stone mixture moisture content test device, is characterized in that, 所述旧料再生水泥稳定碎石混合料含水率试验装置包括保护箱、门板、移动组件、拉杆、放置框、放置盒、真空微波干燥箱、试样盘和电子天平,所述门板与所述保护箱铰接,并位于所述保护箱的外侧壁,所述移动组件的数量为多组,每组所述移动组件分别与所述保护箱固定连接,并均位于所述保护箱的下方,所述拉杆与所述保护箱固定连接,并位于所述保护箱的外侧壁,所述放置框与所述保护箱固定连接,并位于所述保护箱的外侧壁,所述放置盒与所述保护箱固定连接,并位于所述保护箱的外侧壁,所述真空微波干燥箱设置于所述保护箱的内部,所述试样盘与所述放置框拆卸连接,并位于所述放置框内,所述电子天平与所述放置盒拆卸连接,并位于所述放置盒内。The old material recycled cement stabilized crushed stone mixture moisture content test device includes a protective box, a door panel, a moving component, a pull rod, a placement frame, a placement box, a vacuum microwave drying oven, a sample tray and an electronic balance. The protective box is hinged and is located on the outer side wall of the protective box. The number of the moving components is a plurality of groups. The pull rod is fixedly connected with the protection box and is located on the outer side wall of the protection box, the placing frame is fixedly connected with the protection box and is located on the outer side wall of the protection box, and the placing box is connected with the protection box. The box is fixedly connected and located on the outer side wall of the protective box, the vacuum microwave drying box is arranged inside the protective box, the sample tray is detachably connected to the placing frame, and is located in the placing frame, The electronic balance is detachably connected to the placing box, and is located in the placing box. 2.如权利要求1所述的旧料再生水泥稳定碎石混合料含水率试验装置,其特征在于,2. the old material regeneration cement stabilized crushed stone mixture moisture content test device as claimed in claim 1, is characterized in that, 所述放置框包括第一框体、第二框体、贴合板和第一拉环,所述第一框体与所述保护箱固定连接,并位于所述保护箱的外侧壁,所述第二框体与所述第一框体滑动连接,并位于所述第一框体内,所述贴合板与所述第二框体固定连接,并位于所述第二框体的外侧壁,所述第一拉环与所述贴合板固定连接,并位于所述贴合板的外侧壁,所述试样盘设置于所述第二框体内。The placing frame includes a first frame body, a second frame body, a lamination plate and a first pull ring. The first frame body is fixedly connected to the protection box and is located on the outer side wall of the protection box. The second frame body is slidably connected to the first frame body and is located in the first frame body. The first pull ring is fixedly connected to the adhering board and is located on the outer side wall of the adhering board, and the sample tray is arranged in the second frame. 3.如权利要求2所述的旧料再生水泥稳定碎石混合料含水率试验装置,其特征在于,3. old material regeneration cement stabilized crushed stone mixture moisture content test device as claimed in claim 2, is characterized in that, 所述旧料再生水泥稳定碎石混合料含水率试验装置还包括轨道和滚轮,所述轨道与所述第一框体固定连接,并嵌合于所述第一框体内,所述滚轮与所述第二框体转动连接,且所述滚轮与所述轨道相适配。The old material recycled cement stabilized crushed stone mixture moisture content test device also includes a track and a roller, the track is fixedly connected with the first frame body, and is embedded in the first frame body, and the roller is connected to the first frame body. The second frame body is rotatably connected, and the roller is adapted to the track. 4.如权利要求2所述的旧料再生水泥稳定碎石混合料含水率试验装置,其特征在于,4. the old material regeneration cement stabilized crushed stone mixture moisture content test device as claimed in claim 2, is characterized in that, 所述旧料再生水泥稳定碎石混合料含水率试验装置还包括限位杆,所述第一框体上具有移动槽,所述限位杆与所述第二框体固定连接,并位于所述移动槽内。The old material recycled cement stabilized crushed stone mixture moisture content test device also includes a limit rod, the first frame body has a moving groove, the limit rod is fixedly connected with the second frame body, and is located in the second frame body. inside the moving slot. 5.如权利要求2所述的旧料再生水泥稳定碎石混合料含水率试验装置,其特征在于,5. the old material regeneration cement stabilized crushed stone mixture moisture content test device as claimed in claim 2, is characterized in that, 所述旧料再生水泥稳定碎石混合料含水率试验装置还包括摩擦环,所述摩擦环与所述贴合板固定连接,并位于所述贴合板的外侧壁。The apparatus for testing the moisture content of the old-material recycled cement-stabilized crushed stone mixture further includes a friction ring, which is fixedly connected to the adhering board and is located on the outer side wall of the adhering board. 6.如权利要求1所述的旧料再生水泥稳定碎石混合料含水率试验装置,其特征在于,6. old material regeneration cement stabilized crushed stone mixture moisture content test device as claimed in claim 1, is characterized in that, 所述放置盒包括第一半盒、第二半盒、合页和第二拉环,所述第一半盒与所述保护箱固定连接,并位于所述保护箱的外侧壁,所述合页的一端与所述第一半盒固定连接,所述合页的另一端与所述第二半盒固定连接,所述第二拉环与所述第二半盒固定连接,并位于所述第二半盒的外侧壁。The placing box includes a first half box, a second half box, a hinge and a second pull ring, the first half box is fixedly connected with the protective box, and is located on the outer side wall of the protective box, and the hinge One end of the page is fixedly connected with the first half box, the other end of the hinge is fixedly connected with the second half box, the second pull ring is fixedly connected with the second half box, and is located in the The outer side wall of the second box half. 7.如权利要求1所述的旧料再生水泥稳定碎石混合料含水率试验装置,其特征在于,7. old material regeneration cement stabilized crushed stone mixture moisture content test device as claimed in claim 1, is characterized in that, 所述移动组件包括移动杆和移动轮,所述移动杆的一端与所述保护箱固定连接,所述移动轮与所述移动杆的另一端转动连接。The moving assembly includes a moving rod and a moving wheel, one end of the moving rod is fixedly connected with the protective box, and the moving wheel is rotatably connected with the other end of the moving rod.
CN202110854172.5A 2021-07-28 2021-07-28 A test device for moisture content of recycled cement stabilized crushed stone mixture Pending CN113533380A (en)

Priority Applications (1)

Application Number Priority Date Filing Date Title
CN202110854172.5A CN113533380A (en) 2021-07-28 2021-07-28 A test device for moisture content of recycled cement stabilized crushed stone mixture

Applications Claiming Priority (1)

Application Number Priority Date Filing Date Title
CN202110854172.5A CN113533380A (en) 2021-07-28 2021-07-28 A test device for moisture content of recycled cement stabilized crushed stone mixture

Publications (1)

Publication Number Publication Date
CN113533380A true CN113533380A (en) 2021-10-22

Family

ID=78121081

Family Applications (1)

Application Number Title Priority Date Filing Date
CN202110854172.5A Pending CN113533380A (en) 2021-07-28 2021-07-28 A test device for moisture content of recycled cement stabilized crushed stone mixture

Country Status (1)

Country Link
CN (1) CN113533380A (en)

Citations (15)

* Cited by examiner, † Cited by third party
Publication number Priority date Publication date Assignee Title
CN105823716A (en) * 2016-03-24 2016-08-03 华北水利水电大学 Experimental device for real-time observation of rock and soil cracks under the condition of suction force measurement
CN106908346A (en) * 2017-02-23 2017-06-30 中国地质大学(武汉) The quick in situ tester for testing and method of a kind of soil moisture content
CN206628729U (en) * 2017-03-22 2017-11-10 国网湖北省电力公司十堰供电公司 A kind of high-tension switch cabinet with excellent heat dispersion performance
CN206773601U (en) * 2017-04-27 2017-12-19 山东协和学院 A kind of main frame of available energy heating
CN210663641U (en) * 2019-08-09 2020-06-02 瑞鹏医疗器械成都有限公司 Portable combined type electric heating constant-temperature drying box
CN210729590U (en) * 2019-10-10 2020-06-12 高英杰 Building material detects laboratory and uses rack
CN211108949U (en) * 2019-11-12 2020-07-28 贵州师范大学 Portable environment-friendly plastic box for storing karst test pieces
CN211263068U (en) * 2019-09-26 2020-08-14 广州市祥利仪器有限公司 Moisture content tester
CN211655350U (en) * 2020-01-13 2020-10-09 诸暨涵杰机械配件有限公司 Intelligent power distribution cabinet with automatic heat dissipation function
RU2734580C1 (en) * 2020-01-23 2020-10-20 Автономная некоммерческая образовательная организация высшего образования "Сколковский институт науки и технологий" Method for laboratory determination of water content and device for implementation thereof
CN211860878U (en) * 2019-11-26 2020-11-03 易签链(深圳)科技有限公司 Block chain operation equipment
CN212059967U (en) * 2020-04-15 2020-12-01 中交四航工程研究院有限公司 Cement stabilized mixture moisture content monitoring devices
CN112320031A (en) * 2020-11-30 2021-02-05 湖南省喜华门农业科技发展有限公司 Walnut cake gift box convenient to storage
CN213335245U (en) * 2020-10-09 2021-06-01 厦门神石多彩节能科技有限公司 Constant temperature drying cabinet convenient to remove
CN213811514U (en) * 2020-08-10 2021-07-27 陈外平 Multifunctional environment-friendly drying oven for infrared sample preparation

Patent Citations (15)

* Cited by examiner, † Cited by third party
Publication number Priority date Publication date Assignee Title
CN105823716A (en) * 2016-03-24 2016-08-03 华北水利水电大学 Experimental device for real-time observation of rock and soil cracks under the condition of suction force measurement
CN106908346A (en) * 2017-02-23 2017-06-30 中国地质大学(武汉) The quick in situ tester for testing and method of a kind of soil moisture content
CN206628729U (en) * 2017-03-22 2017-11-10 国网湖北省电力公司十堰供电公司 A kind of high-tension switch cabinet with excellent heat dispersion performance
CN206773601U (en) * 2017-04-27 2017-12-19 山东协和学院 A kind of main frame of available energy heating
CN210663641U (en) * 2019-08-09 2020-06-02 瑞鹏医疗器械成都有限公司 Portable combined type electric heating constant-temperature drying box
CN211263068U (en) * 2019-09-26 2020-08-14 广州市祥利仪器有限公司 Moisture content tester
CN210729590U (en) * 2019-10-10 2020-06-12 高英杰 Building material detects laboratory and uses rack
CN211108949U (en) * 2019-11-12 2020-07-28 贵州师范大学 Portable environment-friendly plastic box for storing karst test pieces
CN211860878U (en) * 2019-11-26 2020-11-03 易签链(深圳)科技有限公司 Block chain operation equipment
CN211655350U (en) * 2020-01-13 2020-10-09 诸暨涵杰机械配件有限公司 Intelligent power distribution cabinet with automatic heat dissipation function
RU2734580C1 (en) * 2020-01-23 2020-10-20 Автономная некоммерческая образовательная организация высшего образования "Сколковский институт науки и технологий" Method for laboratory determination of water content and device for implementation thereof
CN212059967U (en) * 2020-04-15 2020-12-01 中交四航工程研究院有限公司 Cement stabilized mixture moisture content monitoring devices
CN213811514U (en) * 2020-08-10 2021-07-27 陈外平 Multifunctional environment-friendly drying oven for infrared sample preparation
CN213335245U (en) * 2020-10-09 2021-06-01 厦门神石多彩节能科技有限公司 Constant temperature drying cabinet convenient to remove
CN112320031A (en) * 2020-11-30 2021-02-05 湖南省喜华门农业科技发展有限公司 Walnut cake gift box convenient to storage

Similar Documents

Publication Publication Date Title
CN103134915B (en) Sealed-type asphalt fume research device
CN116448484A (en) Soil heavy metal detection system and detection method thereof
CN113533380A (en) A test device for moisture content of recycled cement stabilized crushed stone mixture
CN119125506A (en) A centrifugal model test device for expansive soil roadbed and its test method
CN116558874A (en) Agricultural contaminated site soil detection robot
CN118857975B (en) A concrete strength testing device for highway bridge construction
CN106525534B (en) A water absorption device and test method for cold regeneration test of gyratory compactor
CN108310928A (en) A kind of communication device with functions/drying for underground pipe gallery monitoring system
CN219499347U (en) A comprehensive test device for measuring the loss of power generation of photovoltaic modules
CN209784319U (en) Atmospheric quality detector for environment detection
CN208999284U (en) A kind of road construction asphalt adhesive force checking device
CN203479676U (en) Artificial pollution characteristic test system
CN113085032B (en) A device for cutting rock standard core specimens and a method of using the same
CN207092669U (en) A kind of communication steel tower with automatic windproof rainproof function
CN216621825U (en) Road surface compactness detection device for highway engineering supervision
CN206428624U (en) A kind of adjustable wiper mechanism for road sound barrier in position
CN205374261U (en) Jumbo size carbonization pond convenient to transport sample
CN210443857U (en) A kind of equipment box for power communication
CN221199340U (en) Concrete abrasion resistance test device
CN115023106A (en) A cloud computing-based smart digital village management device and using method thereof
CN221069304U (en) Waste water monitoring sampling device
CN217924988U (en) Large-scale concrete maintenance cover
CN215441338U (en) Energy-saving detection device for highway engineering construction
CN220352909U (en) Tower foundation monitoring device of pole tower
CN207793975U (en) Collect leaf cleaning plant in a kind of ground gully

Legal Events

Date Code Title Description
PB01 Publication
PB01 Publication
SE01 Entry into force of request for substantive examination
SE01 Entry into force of request for substantive examination
RJ01 Rejection of invention patent application after publication

Application publication date: 20211022

RJ01 Rejection of invention patent application after publication