CN113459424A - Injection mold - Google Patents

Injection mold Download PDF

Info

Publication number
CN113459424A
CN113459424A CN202110926609.1A CN202110926609A CN113459424A CN 113459424 A CN113459424 A CN 113459424A CN 202110926609 A CN202110926609 A CN 202110926609A CN 113459424 A CN113459424 A CN 113459424A
Authority
CN
China
Prior art keywords
mold
injection
plate
rear mold
core
Prior art date
Legal status (The legal status is an assumption and is not a legal conclusion. Google has not performed a legal analysis and makes no representation as to the accuracy of the status listed.)
Pending
Application number
CN202110926609.1A
Other languages
Chinese (zh)
Inventor
刘焕牢
张子林
王宇林
孔繁伟
Current Assignee (The listed assignees may be inaccurate. Google has not performed a legal analysis and makes no representation or warranty as to the accuracy of the list.)
Guangdong Ocean University
Original Assignee
Guangdong Ocean University
Priority date (The priority date is an assumption and is not a legal conclusion. Google has not performed a legal analysis and makes no representation as to the accuracy of the date listed.)
Filing date
Publication date
Application filed by Guangdong Ocean University filed Critical Guangdong Ocean University
Priority to CN202110926609.1A priority Critical patent/CN113459424A/en
Publication of CN113459424A publication Critical patent/CN113459424A/en
Priority to PCT/CN2022/100815 priority patent/WO2022199720A1/en
Priority to ZA2022/08025A priority patent/ZA202208025B/en
Pending legal-status Critical Current

Links

Images

Classifications

    • BPERFORMING OPERATIONS; TRANSPORTING
    • B29WORKING OF PLASTICS; WORKING OF SUBSTANCES IN A PLASTIC STATE IN GENERAL
    • B29CSHAPING OR JOINING OF PLASTICS; SHAPING OF MATERIAL IN A PLASTIC STATE, NOT OTHERWISE PROVIDED FOR; AFTER-TREATMENT OF THE SHAPED PRODUCTS, e.g. REPAIRING
    • B29C45/00Injection moulding, i.e. forcing the required volume of moulding material through a nozzle into a closed mould; Apparatus therefor
    • B29C45/0025Preventing defects on the moulded article, e.g. weld lines, shrinkage marks
    • BPERFORMING OPERATIONS; TRANSPORTING
    • B29WORKING OF PLASTICS; WORKING OF SUBSTANCES IN A PLASTIC STATE IN GENERAL
    • B29CSHAPING OR JOINING OF PLASTICS; SHAPING OF MATERIAL IN A PLASTIC STATE, NOT OTHERWISE PROVIDED FOR; AFTER-TREATMENT OF THE SHAPED PRODUCTS, e.g. REPAIRING
    • B29C45/00Injection moulding, i.e. forcing the required volume of moulding material through a nozzle into a closed mould; Apparatus therefor
    • B29C45/17Component parts, details or accessories; Auxiliary operations
    • B29C45/26Moulds
    • B29C45/27Sprue channels ; Runner channels or runner nozzles
    • BPERFORMING OPERATIONS; TRANSPORTING
    • B29WORKING OF PLASTICS; WORKING OF SUBSTANCES IN A PLASTIC STATE IN GENERAL
    • B29CSHAPING OR JOINING OF PLASTICS; SHAPING OF MATERIAL IN A PLASTIC STATE, NOT OTHERWISE PROVIDED FOR; AFTER-TREATMENT OF THE SHAPED PRODUCTS, e.g. REPAIRING
    • B29C45/00Injection moulding, i.e. forcing the required volume of moulding material through a nozzle into a closed mould; Apparatus therefor
    • B29C45/17Component parts, details or accessories; Auxiliary operations
    • B29C45/40Removing or ejecting moulded articles
    • B29C45/4005Ejector constructions; Ejector operating mechanisms

Landscapes

  • Engineering & Computer Science (AREA)
  • Manufacturing & Machinery (AREA)
  • Mechanical Engineering (AREA)
  • Moulds For Moulding Plastics Or The Like (AREA)

Abstract

本发明公开了一种注塑模具,包括注塑模具前模及注塑模具后模,所述注塑模具前模及注塑模具后模以上、下设置方式相互配合连接,所述注塑模具前模中从上往下径直设有流道,所述流道上端连通进胶口,下端连通热嘴,流道的直径由进胶口至热嘴逐渐增大,其形状呈圆锥形,所述注塑模具前模中还设有可升降活动的前模模芯,前模模芯的中部设有前模腔,所述流道通过热嘴与前模腔连通;所述注塑模具后模中设有后模模芯,后模模芯设有后模腔,所述后模腔与前模腔相互连通并接合从而形成产品的成型腔。本发明解决了胶料由于注塑压力与流速过大造成注塑产品出现色纹、冲印问题,同时解决了胶料温度受影响进入型腔可能会出现凝固的问题,提高了产品的质量和合格率。

Figure 202110926609

The invention discloses an injection mold, comprising a front mold of the injection mold and a rear mold of the injection mold. The front mold of the injection mold and the rear mold of the injection mold are arranged in an upper and lower manner to be connected with each other, and the front mold of the injection mold is arranged from top to bottom. The lower diameter is provided with a flow channel, the upper end of the flow channel is connected to the glue inlet, and the lower end is connected to the hot nozzle. The diameter of the flow channel gradually increases from the glue inlet to the hot nozzle, and its shape is conical. There is also a front mold core that can move up and down, the middle of the front mold core is provided with a front mold cavity, and the flow channel is communicated with the front mold cavity through a hot nozzle; the rear mold of the injection mold is provided with a rear mold core. , the rear mold core is provided with a rear mold cavity, and the rear mold cavity and the front mold cavity communicate with each other and are joined to form a molding cavity of the product. The invention solves the problem of color streaks and printing on injection products caused by excessive injection pressure and flow rate of the sizing material, and at the same time solves the problem that the sizing material may solidify when entering the cavity due to the influence of the temperature, thereby improving the quality and qualification rate of the products.

Figure 202110926609

Description

Injection mold
Technical Field
The invention relates to the technical field of injection molding, in particular to an injection mold.
Background
The mold, known as the "industrial parent", is a specialized tool that assists in the formation of metallic or non-metallic materials. There are many methods for plastic molding, and injection molding is the most commonly used plastic molding technique and one of the most common processing methods in the plastic industry at present, and can mold plastic products with complex shapes and structures at one time. The injection mold consists of a movable mold and a fixed mold, the movable mold is arranged on a movable template of the injection molding machine, and the fixed mold is arranged on a fixed template of the injection molding machine. And the movable and fixed die are closed to form a pouring system and a cavity during injection molding, and the plastic product is taken out by means of an ejection mechanism after the movable and fixed die are separated after injection molding is finished.
In the existing injection mold, single-cavity mold injection is carried out, when a plastic melt passes through a straight runner, the diameter of the runner is unchanged, so that the flow rate and the pressure are overlarge, and finally, an injection molding product may generate color lines and stamping traces to influence the injection molding effect. When molten rubber passes through a runner with a long diameter, the temperature of the rubber entering a cavity may be affected, so that some rubber is solidified, and the product quality is affected.
Disclosure of Invention
The invention aims to provide an injection mold, which solves the problems of color lines and printing of an injection product caused by overlarge injection pressure and flow rate of a sizing material and the problem that the sizing material possibly solidifies after entering a cavity due to the influence of the temperature of the sizing material.
In order to achieve the purpose, the invention adopts the following technical scheme:
an injection mold comprises an injection mold front mold and an injection mold rear mold which are mutually matched and connected in an upper and lower arrangement mode,
the front mold of the injection mold is directly provided with a runner from top to bottom, the upper end of the runner is communicated with a glue inlet, the lower end of the runner is communicated with a hot nozzle, the diameter of the runner is gradually increased from the glue inlet to the hot nozzle, the runner is conical in shape, a front mold core capable of moving up and down is further arranged in the front mold of the injection mold, a front mold cavity is arranged in the middle of the front mold core, and the runner is communicated with the front mold cavity through the hot nozzle;
the rear mould of the injection mould is provided with a rear mould core, the rear mould core is provided with a rear mould cavity, and the rear mould cavity is communicated with the front mould cavity and is jointed with the front mould cavity so as to form a forming cavity of a product;
the injection mold is characterized in that the rear mold of the injection mold is also provided with an ejection device, the ejection device is arranged at the bottom of the rear mold core, the ejection device can eject the front mold core through a reset rod to separate the front mold core from the rear mold core, and an ejector pin is used for ejecting a formed product to separate the product from a rear mold cavity of the rear mold core.
Preferably, the injection mold front mold comprises a positioning ring, a front mold fixing plate and a front mold core, the positioning ring is arranged in the front mold fixing plate, the front mold core is arranged on the bottom side of the front mold fixing plate through a reset rod, the reset rod is telescopically arranged in the rear mold base plate, and a front mold cavity of the front mold core is connected with a rubber inlet arranged on the positioning ring through a flow channel.
Preferably, the rear mold of the injection mold comprises a rear mold fixing plate, a rear mold seat plate, a rear mold core, a rear mold cushion block and an ejection device, wherein the rear mold cushion block is arranged on each of two sides of the rear mold fixing plate, the ejection device is arranged in the middle of the rear mold cushion block, the rear mold seat plate is arranged on the top side of the ejection device through the rear mold cushion block, and the rear mold core is arranged in the rear mold seat plate.
Preferably, ejecting device includes thimble, release link, ejecting backing plate and liftout plate, ejecting backing plate establishes the top side at back mould fixed plate, ejecting backing plate passes through the release link scalability and runs through in liftout plate and back mould bedplate and is connected with the front mould mold core, the release link includes first release link and second release link, and first release link runs through in the liftout plate and is connected with the second release link that runs through back mould bedplate, and the second release link is connected with the front mould mold core, the thimble is established in back mould fixed plate, the thimble passes ejecting backing plate, liftout plate, back mould bedplate and back mould core and product contact in proper order.
Preferably, the injection mold front mold further comprises a guide mechanism, wherein the guide mechanism is a guide pin, and the guide pin penetrates through and is fixed in guide holes of the front mold fixing plate and the rear mold seat plate.
Preferably, an injection guide pin is arranged between the front die fixing plate and the rear die base plate and corresponds to injection guide holes formed in the front die fixing plate and the rear die base plate respectively, the injection guide pins are arranged in the injection guide holes, six injection guide holes are formed, and included angles between two adjacent injection guide holes are 60 degrees.
Preferably, the injection mold rear mold further comprises a positioning piece, wherein the positioning piece is a positioning pin, and the positioning pin penetrates through the rear mold cushion block and the rear mold seat plate to enable the rear mold cushion block and the rear mold seat plate to be fixedly connected with the rear mold fixing plate.
Preferably, the rear mold of the injection mold further comprises a rear mold supporting rod, the rear mold supporting rod is arranged between the rear mold fixing plate and the rear mold seat plate, and the rear mold supporting rod and the rear mold cushion block jointly support the weight of the rear mold seat plate.
Preferably, the injection mold rear mold further comprises backing plate fixing rods, and the backing plate fixing rods are arranged on two sides of the rear mold fixing plate and used for fixing the ejection backing plate and the ejection plate.
Preferably, the injection mold further comprises a cooling device, the cooling device comprises a water inlet and a water outlet and a cooling water channel, the cooling water channel is respectively arranged inside the front mold core and the rear mold core, and the water inlet and the water outlet are respectively arranged on the right sides of the front mold core and the rear mold core and are respectively communicated with the cooling water channel.
The invention has the advantages that: through the injection mold front mould and the injection mold rear mould that set up, injection mold front mould and injection mold rear mould cooperate and form the die cavity, at the injection molding sizing material in-process, through changing the taper that the runner diameter is crescent to change the sizing material velocity of flow, thereby improve the sizing material and produce the phenomenon of colored line, stamp to the injection moulding product, and be favorable to the sizing material to freeze and break away from the runner after the solidification. The hot nozzle is arranged, so that the phenomenon that the molten rubber material is solidified in the injection molding process is prevented; the simple ejection mechanism is arranged, the product can be easily ejected out after the product is cooled, and the production efficiency of the product is further improved.
Drawings
FIG. 1 is a schematic structural view of an injection mold of the present invention;
FIG. 2 is an exploded view of the injection mold of the present invention;
FIG. 3 is another exploded view of the injection mold of the present invention;
FIG. 4 is a cross-sectional view of an injection mold of the present invention;
FIG. 5 is a schematic structural view of a thimble of the injection mold of the present invention;
FIG. 6 is a schematic view of the front and back cavities of the injection mold of the present invention.
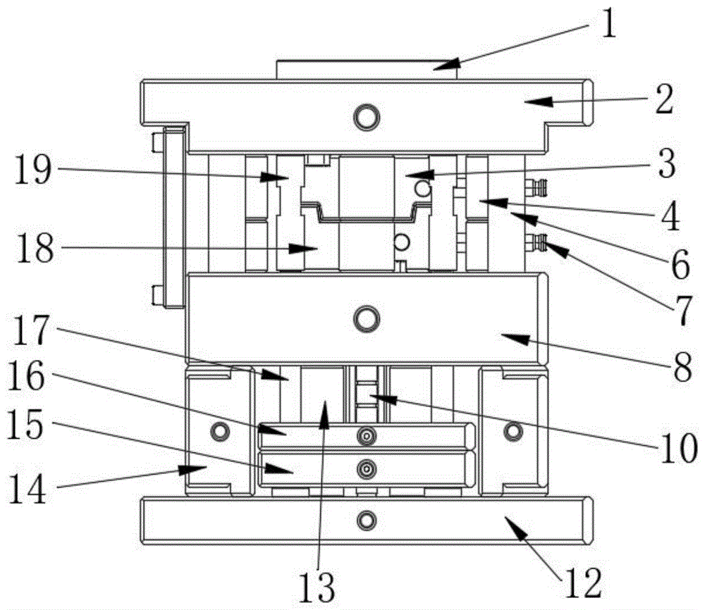
The reference numerals in the specification are as follows:
1. positioning rings; 2. a front mold fixing plate; 3. a front mold core; 4. an injection guide pin; 5. producing a product; 6. a guide pin; 7. a water inlet and outlet; 8. a rear mold base plate; 9. a thimble; 10. a base plate fixing rod; 11. positioning pins; 12. a rear mold fixing plate; 13. a rear mold support bar; 14. a rear mold cushion block; 15. ejecting the backing plate; 16. ejecting the plate; 17. a first restoring rod; 18. a rear mold core; 19. a second restoring rod; 20. a glue inlet; 21. a flow channel; 22. a hot nozzle; 23. a cooling water channel; 24. a front mold cavity; 25. and (4) forming a rear mold cavity.
Detailed Description
To facilitate an understanding of the invention, the invention is described more fully below with reference to the accompanying drawings. Preferred embodiments of the present invention are shown in the drawings. This invention may, however, be embodied in many different forms and should not be construed as limited to the embodiments set forth herein. Rather, these embodiments are provided so that this disclosure will be thorough and complete.
In order to better explain the above injection mold so as to better understand the concept of the above injection mold, as shown in fig. 1, an injection mold includes: the injection mold comprises an injection mold front mold and an injection mold rear mold, wherein the injection mold front mold is used for being attached to the injection mold rear mold.
It should be noted that: the front mold and the rear mold of the injection mold are matched to form a forming cavity, the diameter of the runner is gradually increased from the glue inlet 20 to the hot nozzle 22 in the injection molding process, so that the molten glue keeps a uniform pressure gradient in the runner, the flowing of the glue is facilitated, the injection molding pressure is reduced, the phenomenon that the glue generates stamping marks on products is improved, and the section of the runner is conical in shape, so that the glue can be separated from the runner after being solidified by cooling. The hot nozzle 22 is arranged to prevent the molten rubber material from solidifying in the injection molding process; the ejector pins 9 are simple, so that the product 5 can be easily ejected out after the product is cooled, and the production efficiency of the product is further improved.
As shown in fig. 2, 4 and 6, the front mold of the injection mold comprises a front mold fixing plate 2, a positioning ring 1, a glue inlet 20, a front mold core 3, a runner 21 and a hot nozzle 22, the positioning ring 1 is arranged on the front mold fixing plate 2, the glue inlet 20 is communicated with the positioning ring 1, the front mold core 3 is arranged below the front mold fixing plate 2, a front mold cavity 24 is formed in the front mold core 3, the runner 21 penetrates through the front mold fixing plate 2 and the front mold core 3, the runner 21 is communicated with the glue inlet 20 and the front mold cavity 24, and the diameter of the runner 21 at the end of the front mold cavity 24 is larger than the diameter of the runner 21 at the end of the glue inlet 20. The rear mold of the injection mold comprises a rear mold fixing plate 12, an ejection cushion plate 15, an ejection plate 16, a rear mold base plate 8, a rear mold core 18 and two rear mold cushion blocks 14, wherein the two rear mold cushion blocks 14 are respectively arranged at two ends of the rear mold fixing plate 12, the ejection cushion plate 15 is arranged on the rear mold fixing plate 12, the ejection plate 16 is arranged on the ejection cushion plate 15, the ejection plate 16 and the ejection cushion plate 15 are both arranged between the two rear mold cushion blocks 14, two ends of the rear mold base plate 8 are respectively arranged on the two rear mold cushion blocks 14, the rear mold base plate 8 is provided with the rear mold core 18, the rear mold core 18 is provided with a rear mold cavity 25, the front mold core 3 is attached to the rear mold core 18, and the front mold cavity 24 is communicated with the rear mold cavity 25 to form a product forming cavity.
As shown in fig. 1, 2, 3 and 6, after the front mold core 3 and the rear mold core 18 are attached to each other, the front mold cavity 24 is communicated with the rear mold cavity 25 to form a product cavity, and after the glue is injected from the glue inlet 20, the glue enters the cavity through the flow channel 21 and the hot nozzle 22, and is cooled and shaped to form the product 5.
It should be further noted that when the rubber enters the flow channel 21 from the rubber inlet 20, the diameter of the flow channel gradually increases from the rubber inlet 20 to the hot nozzle 22, so that the flow rate and pressure of the rubber are reduced, the phenomenon that the rubber generates stamping marks on the product 5 is improved, and the section of the flow channel 21 is conical, which is beneficial to the separation of the rubber from the flow channel 21 after the rubber is solidified by cooling. The hot nozzle 22 is arranged to prevent the molten rubber material from solidifying in the injection molding process; the ejector pins 9 of the simple ejection mechanism can easily eject the product after the product is cooled, and the production efficiency of the product is further improved.
In the process of attaching the front mold core 3 to the rear mold core 18, for example, the front mold of the injection mold further comprises a guide mechanism, the guide mechanism comprises four guide pins 6, and the four guide pins 6 are respectively arranged at four end angle positions of the front mold fixing plate 2; four guide holes matched with the guide pins 6 are formed in the rear mold base plate 8, and the four guide pins 6 penetrate through the four guide holes respectively; the injection mold front mold and the injection mold rear mold respectively comprise six injection guide pins 4, and the injection guide pins 4 are respectively arranged on the front mold fixing plate 2 and the rear mold seat plate 8; six injection guide holes matched with the injection guide pins 4 are respectively formed in the front mold fixing plate 2 and the rear mold base plate 8, and the included angle between every two adjacent injection guide holes is 60 degrees; the injection mold rear mold also comprises a positioning piece, the positioning piece comprises four positioning pins 11, and the four positioning pins 11 are respectively arranged at four end corner positions of a rear mold fixing plate 12; four positioning holes are respectively formed in the rear mold fixing plate 12, the rear mold base plate 8 and the two rear mold cushion blocks 14, and the four positioning pins 11 respectively correspond to the four positioning holes, namely the four positioning pins 11 penetrate through the two rear mold cushion blocks 14 to connect the rear mold fixing plate 12 and the rear mold base plate 8; the injection mold back mould also comprises two backing plate fixing rods 10, and the two backing plate fixing rods 10 are arranged on two sides of the back mould fixing plate 12 and used for fixing an ejection backing plate 15 and an ejection plate 16.
As shown in fig. 2, 4 and 5, in order to eject the formed product from the rear mold cavity 25, the injection mold further includes an ejection device, the ejection device includes an ejector pin 9, a first reset rod 17 and a second reset rod 19, the first reset rod 17 and the second reset rod 19 are respectively disposed at four corners of the ejection pad 15, and the ejector pin 9 is disposed at the center of the rear mold fixing plate 12; the injection mold further comprises a cooling device, the cooling device comprises a water inlet and outlet 7 and a cooling water channel 23, the cooling water channel 23 is respectively arranged inside the front mold core 3 and the rear mold core 18, and the water inlet and outlet 7 is respectively arranged on the right sides of the front mold core 3 and the rear mold core 18 and is communicated with the cooling water channel 23; in this manner, by raising the ejector shim plate 15, the reset rod 17 is raised to raise the reset rod 19, so that the front mold core 3 is separated from the rear mold core 18, and then the product is ejected from the rear mold cavity 25 through the ejector pins 9.
According to the injection mold, the front injection mold and the rear injection mold are matched to form the cavity, the diameter of the straight runner 21 is changed to change the flow speed of the rubber material during the rubber material injection process, so that the phenomena of color lines and stamping of the rubber material on an injection molded product are improved, and the section of the runner 21 is conical, so that the rubber material can be separated from the runner after being solidified by cooling. The hot nozzle 22 is arranged to prevent the molten rubber material from solidifying in the injection molding process; the ejector pins 9 of the simple ejection mechanism can easily eject the product after the product is cooled, and the production efficiency of the product is further improved.
The above-mentioned embodiments only express several embodiments of the present invention, and the description thereof is more specific and detailed, but not construed as limiting the scope of the invention. It should be noted that, for a person skilled in the art, several variations and modifications can be made without departing from the inventive concept, which falls within the scope of the present invention. Therefore, the protection scope of the present invention should be subject to the appended claims.

Claims (10)

1.一种注塑模具,包括注塑模具前模及注塑模具后模,所述注塑模具前模及注塑模具后模以上、下设置方式相互配合连接,其特征在于:1. an injection mold, comprising an injection mold front mold and an injection mold rear mold, the upper and lower setting modes of the injection mold front mold and the injection mold rear mold are mutually matched and connected, it is characterized in that: 所述注塑模具前模中从上往下径直设有流道(21),所述流道(21)上端连通进胶口(20),下端连通热嘴(22),流道(21)的直径由进胶口(20)至热嘴(22)逐渐增大,其形状呈圆锥形,所述注塑模具前模中还设有可升降活动的前模模芯(3),前模模芯(3)的中部设有前模腔(24),所述流道(21)通过热嘴(22)与前模腔(24)连通;The front mold of the injection mold is provided with a flow channel (21) from top to bottom, the upper end of the flow channel (21) is connected with the glue inlet (20), the lower end is connected with the hot nozzle (22), and the The diameter gradually increases from the glue inlet (20) to the hot nozzle (22), and its shape is conical. The front mold of the injection mold is also provided with a front mold core (3) that can move up and down. The middle part of (3) is provided with a front mold cavity (24), and the flow channel (21) communicates with the front mold cavity (24) through the hot nozzle (22); 所述注塑模具后模中设有后模模芯(18),后模模芯(18)设有后模腔(25),所述后模腔(25)与前模腔(24)相互连通并接合从而形成产品(5)的成型腔;The rear mold of the injection mold is provided with a rear mold core (18), the rear mold core (18) is provided with a rear mold cavity (25), and the rear mold cavity (25) and the front mold cavity (24) communicate with each other and join together to form the molding cavity of the product (5); 所述注塑模具后模中还设有顶出装置,所述顶出装置设在后模模芯(18)的底则,所述顶出装置通过复位杆可将前模模芯(3)顶开使之分离于后模模芯(18),并通过顶针(9)将成型的产品(5)顶出,使产品(5)脱离于后模模芯(18)的后模腔(25)。The rear mold of the injection mold is also provided with an ejector device, the ejector device is arranged at the bottom of the rear mold core (18), and the ejector device can eject the front mold core (3) through a reset rod. Open and separate it from the back mold core (18), and push out the molded product (5) through the ejector pin (9), so that the product (5) is separated from the back mold cavity (25) of the back mold core (18). . 2.根据权利要求1所述的注塑模具,其特征在于:所述注塑模具前模,包括定位圈(1)、前模固定板(2)及前模模芯(3),所述定位圈(1)设在前模固定板(2)中,前模固定板(2)的底侧通过复位杆设有前模模芯(3),所述复位杆可伸缩性设在后模座板(8)中,所述前模模芯(3)的前模腔(24)通过流道(21)与定位圈(1)上所设的进胶口(20)连接。2. The injection mold according to claim 1, characterized in that: the front mold of the injection mold comprises a positioning ring (1), a front mold fixing plate (2) and a front mold core (3), and the positioning ring (1) It is arranged in the front mold fixing plate (2), and the bottom side of the front mold fixing plate (2) is provided with a front mold core (3) through a reset rod, and the reset rod is flexibly arranged on the rear mold base plate. In (8), the front mold cavity (24) of the front mold core (3) is connected to the glue inlet (20) provided on the positioning ring (1) through the flow channel (21). 3.根据权利要求1所述的注塑模具,其特征在于:所述注塑模具后模,包括后模固定板(12)、后模座板(8)、后模模芯(18)、后模垫块(14)和顶出装置,所述后模固定板(12)的两侧分别设有后模垫块(14),所述后模垫块(14)的中间位置设有顶出装置,所述顶出装置的顶侧通过后模垫块(14)设有后模座板(8),后模座板(8)中设有后模模芯(18)。3. The injection mold according to claim 1, characterized in that: the back mold of the injection mold comprises a back mold fixing plate (12), a back mold seat plate (8), a back mold core (18), a back mold A spacer (14) and an ejecting device, both sides of the rear mold fixing plate (12) are respectively provided with a rear mold spacer (14), and an ejecting device is provided in the middle position of the rear mold spacer (14) The top side of the ejecting device is provided with a rear mold seat plate (8) through a rear mold spacer (14), and a rear mold core (18) is arranged in the rear mold seat plate (8). 4.根据权利要求1或3所述的注塑模具,其特征在于:所述顶出装置包括顶针(9)、复位杆、顶出垫板(15)及顶出板(16),所述顶出垫板(15)设在后模固定板(12)的顶侧,所述顶出垫板(15)通过复位杆可伸缩性贯穿于顶出板(16)和后模座板(8)与前模模芯(3)连接,所述复位杆包括第一复位杆(17)及第二复位杆(19),第一复位杆(17)贯穿于顶出板(16)与贯穿后模座板(8)的第二复位杆(19)连接,第二复位杆(19)与前模模芯(3)连接,所述顶针(9)设在后模固定板(12)中,所述顶针(9)依次穿过顶出垫板(15)、顶出板(16)、后模座板(8)和后模模芯(18)与产品(5)接触。4. The injection mold according to claim 1 or 3, wherein the ejection device comprises an ejector pin (9), a reset rod, an ejector backing plate (15) and an ejector plate (16), and the ejector The ejector plate (15) is arranged on the top side of the rear mold fixing plate (12), and the ejector plate (15) extends through the ejector plate (16) and the rear mold base plate (8) through the retractable return rod Connected with the front mold core (3), the reset rod includes a first reset rod (17) and a second reset rod (19), and the first reset rod (17) penetrates through the ejector plate (16) and penetrates through the rear mold The second reset rod (19) of the seat plate (8) is connected, the second reset rod (19) is connected with the front mold core (3), and the ejector pin (9) is arranged in the rear mold fixing plate (12), so The ejector pin (9) passes through the ejector backing plate (15), the ejector plate (16), the rear mold seat plate (8) and the rear mold core (18) in sequence to contact the product (5). 5.根据权利要求1所述的注塑模具,其特征在于:所述注塑模具前模还包括导向机构,所述导向机构为导向销(6),导向销(6)贯穿并固定于前模固定板(2)和后模座板(8)的导向孔内。5. The injection mold according to claim 1, characterized in that: the front mold of the injection mold further comprises a guide mechanism, and the guide mechanism is a guide pin (6), and the guide pin (6) penetrates and is fixed to the front mold. inside the guide holes of the plate (2) and the rear die seat plate (8). 6.根据权利要求2或5所述的注塑模具,其特征在于:所述前模固定板(2)和后模座板(8)之间设有引射导向销(4),引射导向销(4)与前模固定板(2)和后模座板(8)分别开设的引射导向孔相对应,所述引射导向销(4)设在引射导向孔中,所述引射导向孔设有六个,两个相邻的引射导向孔之间夹角均呈60°分布。6. The injection mold according to claim 2 or 5, characterized in that: an ejection guide pin (4) is provided between the front mold fixing plate (2) and the rear mold base plate (8), and the ejection guide The pins (4) correspond to the ejection guide holes respectively opened in the front mold fixing plate (2) and the rear mold base plate (8), and the ejection guide pins (4) are arranged in the ejection guide holes. There are six ejection guide holes, and the included angles between two adjacent ejection guide holes are distributed at 60°. 7.根据权利要求1所述的注塑模具,其特征在于:所述注塑模具后模还包括定位件,所述定位件为定位销(11),所述定位销(11)贯穿于后模垫块(14)及后模座板(8),使后模垫块(14)及后模座板(8)与后模固定板(12)连接固定。7. The injection mold according to claim 1, characterized in that: the rear mold of the injection mold further comprises a positioning member, and the positioning member is a positioning pin (11), and the positioning pin (11) penetrates through the rear mold pad The block (14) and the rear mold base plate (8) are connected and fixed with the rear mold fixing plate (12). 8.根据权利要求1所述的注塑模具,其特征在于:所述注塑模具后模还包括后模支承杆(13),后模支承杆(13)设在后模固定板(12)与后模座板(8)之间,所述后模支承杆(13)与后模垫块(14)共同支承所述后模座板(8)的重量。8. The injection mold according to claim 1, wherein the rear mold of the injection mold further comprises a rear mold support rod (13), and the rear mold support rod (13) is arranged between the rear mold fixing plate (12) and the rear mold support rod (13). Between the die base plates (8), the rear die support rod (13) and the rear die spacer block (14) jointly support the weight of the rear die base plate (8). 9.根据权利要求1所述的注塑模具,其特征在于:所述注塑模具后模还包括垫板固定杆(10),所述垫板固定杆(10)设在后模固定板(12)两边,用来固定顶出垫板(15)与顶出板(16)。9. The injection mold according to claim 1, characterized in that: the back mold of the injection mold further comprises a backing plate fixing rod (10), and the backing plate fixing rod (10) is arranged on the back mold fixing plate (12) The two sides are used to fix the ejector backing plate (15) and the ejector plate (16). 10.根据权利要求1所述的注塑模具,其特征在于:所述注塑模具还包括冷却装置,所述冷却装置包括进出水口(7)及冷却水道(23),所述冷却水道(23)分别设置于前模模芯(3)及后模模芯(18)内部,所述进出水口(7)分别设置于前模模芯(3)及后模模芯(18)的右侧,并分别与所述冷却水道(23)连通。10. The injection mold according to claim 1, characterized in that: the injection mold further comprises a cooling device, and the cooling device comprises a water inlet and outlet (7) and a cooling water channel (23), and the cooling water channel (23) is respectively The water inlet and outlet (7) are respectively arranged on the right side of the front mold core (3) and the rear mold core (18), and respectively communicate with the cooling water channel (23).
CN202110926609.1A 2021-08-12 2021-08-12 Injection mold Pending CN113459424A (en)

Priority Applications (3)

Application Number Priority Date Filing Date Title
CN202110926609.1A CN113459424A (en) 2021-08-12 2021-08-12 Injection mold
PCT/CN2022/100815 WO2022199720A1 (en) 2021-08-12 2022-06-23 Injection mold
ZA2022/08025A ZA202208025B (en) 2021-08-12 2022-07-19 An injection mold

Applications Claiming Priority (1)

Application Number Priority Date Filing Date Title
CN202110926609.1A CN113459424A (en) 2021-08-12 2021-08-12 Injection mold

Publications (1)

Publication Number Publication Date
CN113459424A true CN113459424A (en) 2021-10-01

Family

ID=77866568

Family Applications (1)

Application Number Title Priority Date Filing Date
CN202110926609.1A Pending CN113459424A (en) 2021-08-12 2021-08-12 Injection mold

Country Status (3)

Country Link
CN (1) CN113459424A (en)
WO (1) WO2022199720A1 (en)
ZA (1) ZA202208025B (en)

Cited By (2)

* Cited by examiner, † Cited by third party
Publication number Priority date Publication date Assignee Title
CN113799336A (en) * 2021-10-28 2021-12-17 嘉兴市翊盛电子科技有限公司 A kind of high temperature injection mould and temperature control method
WO2022199720A1 (en) * 2021-08-12 2022-09-29 广东海洋大学 Injection mold

Families Citing this family (14)

* Cited by examiner, † Cited by third party
Publication number Priority date Publication date Assignee Title
CN115592888B (en) * 2022-10-25 2025-07-25 德仕科技(深圳)有限公司 Automatic injection molding device and method for door ring of washing machine
CN115503190B (en) * 2022-10-28 2025-11-28 湘潭大学 Injection mold for quick mold change
CN115782060B (en) * 2022-11-07 2023-10-10 扬中市华龙橡塑电器有限公司 Rubber seal ring forming device
CN116118118B (en) * 2023-02-23 2025-10-21 宁波方正汽车模具股份有限公司 Automotive trim injection molds
CN116533440A (en) * 2023-04-04 2023-08-04 孝感华工高理电子有限公司 Automatic continuous injection mold structure for sensor packaging shell and use method of automatic continuous injection mold structure
CN116945499B (en) * 2023-07-10 2025-09-05 广东博力威科技股份有限公司 Front mold, mold assembly and production equipment for producing battery covers
CN117183233A (en) * 2023-09-21 2023-12-08 青岛佳友模具科技有限公司 A laminated mold for injection molding on the edge of refrigerator glass partitions
CN117549407A (en) * 2023-12-29 2024-02-13 昆明理工大学 An adjustable honeycomb configuration prefabricated body extrusion mold and its molding method and application
CN118163303B (en) * 2024-05-13 2024-07-12 赣州溢联科技有限公司 Helmet injection mold with blank deburring function
CN118617674A (en) * 2024-05-24 2024-09-10 江苏水源智能制造有限公司 A high-precision two-color injection mold and injection molding process
CN118990933B (en) * 2024-07-17 2025-11-21 浙江天能精工科技有限公司 Injection mold for producing negative pressure exhaust pipe
CN120056383B (en) * 2025-04-25 2025-07-04 珠海市瀚威注塑科技有限公司 A liquid silicone injection mold that is easy to control glue quantity
CN120363412B (en) * 2025-06-20 2025-09-09 深圳市博硕科技股份有限公司 A FPC circuit board implant injection molding exposed part sealing mold
CN120606494B (en) * 2025-07-18 2026-01-09 广州毅远塑胶五金模具有限公司 Integrated injection polishing mold for car lamp shell and variable-temperature forming process

Citations (2)

* Cited by examiner, † Cited by third party
Publication number Priority date Publication date Assignee Title
CN109291372A (en) * 2018-10-12 2019-02-01 深圳市丽福科技有限责任公司 Injection mold and injection molding forming method
CN216068483U (en) * 2021-08-12 2022-03-18 广东海洋大学 Injection mold

Family Cites Families (4)

* Cited by examiner, † Cited by third party
Publication number Priority date Publication date Assignee Title
KR20080010049A (en) * 2006-07-25 2008-01-30 삼성전자주식회사 Manufacturing method and injection mold of injection mold
KR20090093042A (en) * 2008-02-28 2009-09-02 유완영 Injection mold having helical or screw type runner
CN105397988A (en) * 2015-12-08 2016-03-16 苏州源硕精密模具有限公司 Temperature-controllable injection mold
CN113459424A (en) * 2021-08-12 2021-10-01 广东海洋大学 Injection mold

Patent Citations (2)

* Cited by examiner, † Cited by third party
Publication number Priority date Publication date Assignee Title
CN109291372A (en) * 2018-10-12 2019-02-01 深圳市丽福科技有限责任公司 Injection mold and injection molding forming method
CN216068483U (en) * 2021-08-12 2022-03-18 广东海洋大学 Injection mold

Cited By (2)

* Cited by examiner, † Cited by third party
Publication number Priority date Publication date Assignee Title
WO2022199720A1 (en) * 2021-08-12 2022-09-29 广东海洋大学 Injection mold
CN113799336A (en) * 2021-10-28 2021-12-17 嘉兴市翊盛电子科技有限公司 A kind of high temperature injection mould and temperature control method

Also Published As

Publication number Publication date
ZA202208025B (en) 2022-08-31
WO2022199720A1 (en) 2022-09-29

Similar Documents

Publication Publication Date Title
CN113459424A (en) Injection mold
CN207841924U (en) Upside-down injection mold with a 3D printed conformal waterway
CN216068483U (en) Injection mold
CN205767257U (en) Injection mold for a double-deck clothes hanger
CN208118343U (en) A kind of hot runner plastic injection mould
CN111409238B (en) Integrated cup and forming die for three-dimensional patterns on cup
CN220638764U (en) Quick injection mold of plastic goods
CN212352756U (en) A lens barrel forming mold
CN210126248U (en) But injection mold for batch production
CN206124136U (en) Mould of oblique slider product in straight slider area
CN212554868U (en) Integrated cup and forming die for three-dimensional patterns on cup
CN215614850U (en) Pouring device for strong feeding of front suspension casting
CN211591117U (en) Production mold for automotive upholstery
CN213972371U (en) Transparent thick-wall variable-cavity injection mold
CN102738681A (en) Mould of low frequency point connector used for aerospace
CN112757583A (en) Injection mold for ejecting injection molding piece and operation method
CN221022116U (en) High-precision positioning injection mold for inner cup of cosmetic pencil
CN207448992U (en) A kind of differential pressure pickup plastic shell injection mold
CN205929318U (en) Paste preparation mould of board in skin anastomat
CN222245906U (en) An injection mold
CN119078121B (en) Injection molding device with anti-accumulation function
CN218593519U (en) Double-color plastic product forming die for side suspension patterns
CN206186254U (en) Injection mold
CN221518628U (en) Injection mold of air conditioner accessory
CN222451221U (en) Forming die with automatic water gap cutting mechanism

Legal Events

Date Code Title Description
PB01 Publication
PB01 Publication
SE01 Entry into force of request for substantive examination
SE01 Entry into force of request for substantive examination
RJ01 Rejection of invention patent application after publication
RJ01 Rejection of invention patent application after publication

Application publication date: 20211001