CN113431091B - 一种检查井砌铺装置 - Google Patents
一种检查井砌铺装置 Download PDFInfo
- Publication number
- CN113431091B CN113431091B CN202110724697.7A CN202110724697A CN113431091B CN 113431091 B CN113431091 B CN 113431091B CN 202110724697 A CN202110724697 A CN 202110724697A CN 113431091 B CN113431091 B CN 113431091B
- Authority
- CN
- China
- Prior art keywords
- cylinder
- cylinders
- communicated
- fixed
- hose
- Prior art date
- Legal status (The legal status is an assumption and is not a legal conclusion. Google has not performed a legal analysis and makes no representation as to the accuracy of the status listed.)
- Active
Links
- 238000007689 inspection Methods 0.000 title claims abstract description 11
- 239000011449 brick Substances 0.000 abstract description 32
- 238000000034 method Methods 0.000 abstract description 13
- 238000009434 installation Methods 0.000 description 2
- 230000000670 limiting effect Effects 0.000 description 2
- 238000009435 building construction Methods 0.000 description 1
- 239000011083 cement mortar Substances 0.000 description 1
- 230000007547 defect Effects 0.000 description 1
- 239000003973 paint Substances 0.000 description 1
- 230000003252 repetitive effect Effects 0.000 description 1
- 238000007711 solidification Methods 0.000 description 1
- 230000008023 solidification Effects 0.000 description 1
Images
Classifications
-
- E—FIXED CONSTRUCTIONS
- E02—HYDRAULIC ENGINEERING; FOUNDATIONS; SOIL SHIFTING
- E02D—FOUNDATIONS; EXCAVATIONS; EMBANKMENTS; UNDERGROUND OR UNDERWATER STRUCTURES
- E02D29/00—Independent underground or underwater structures; Retaining walls
- E02D29/12—Manhole shafts; Other inspection or access chambers; Accessories therefor
- E02D29/125—Manhole shafts; Other inspection or access chambers; Accessories therefor characterised by the lining of the shaft
-
- E—FIXED CONSTRUCTIONS
- E03—WATER SUPPLY; SEWERAGE
- E03F—SEWERS; CESSPOOLS
- E03F5/00—Sewerage structures
- E03F5/02—Manhole shafts or other inspection chambers; Snow-filling openings; accessories
Landscapes
- Engineering & Computer Science (AREA)
- Life Sciences & Earth Sciences (AREA)
- Environmental & Geological Engineering (AREA)
- Hydrology & Water Resources (AREA)
- Public Health (AREA)
- Water Supply & Treatment (AREA)
- Health & Medical Sciences (AREA)
- General Life Sciences & Earth Sciences (AREA)
- Mining & Mineral Resources (AREA)
- Paleontology (AREA)
- Civil Engineering (AREA)
- General Engineering & Computer Science (AREA)
- Structural Engineering (AREA)
- Furnace Housings, Linings, Walls, And Ceilings (AREA)
Abstract
本发明涉及一种检查井砌铺装置,有效的解决了现有竖井在砌铺过程中由于砖摆放误差大而造成的重复返工的现象所产生的竖井砌铺过程中效率低和难度大的问题;其解决的技术方案包括多组左右间隔布置的夹紧单元,每个夹紧单元包括一个气缸,气缸的缸体底部固定有一个第一夹板,相临的两个第一夹板端部相互铰接,气缸的活塞杆上有第二夹板,气缸上有第一弹簧,每个气缸的底部设有一个支杆,相邻的两个支杆之间设有一个缸筒,每个缸筒的两个活塞杆分别铰接在对应的支杆,每个缸筒的两个活塞杆上套装有第二弹簧,本装置经高压气瓶供气驱动,高压气瓶向气缸供气时气缸上的第一夹板第二夹板张开,高压气瓶向缸筒供气时,多个气缸有平行状态转变成扇形状态。
Description
技术领域
本发明涉及房建施工设备领域,特别是一种检查井砌铺装置。
背景技术
检查井是房建排水系统中不可或缺的重要组成部分,现阶段的检查井多采用砖人工铺设的方式,工人将多个砖摆放成一个圆环状,并涂抹水泥砂浆进行灌缝使其固化,这样多个圆环层叠起来就形成一个竖井,但在具体操作过程中经常出现由于砖之间的摆放存在一定的误差,这些误差在多个砖的叠加下不断增大,使得摆放好的圆环不圆从而造成最后一块砖放不进去,此时工人需要对多个砖进行位置的调整,从而辅助将最后一块砖放入,此过程中往往需要重复的返工,这样不仅造成竖井砌铺过程中效率低且难度大而且对工人的熟练程度要求高人工成本大。
发明内容
针对上述情况,为克服现有技术之缺陷,本发明提供一种检查井砌铺装置,有效的解决了现有竖井在砌铺过程中由于砖摆放误差大而造成的重复返工的现象所产生的竖井砌铺过程中效率低和难度大的问题。
其解决问题的技术方案包括多组左右间隔布置的夹紧单元,每个夹紧单元包括一个轴线水平的气缸,气缸的缸体底部固定有一个与其轴线垂直的第一夹板,相临的两个第一夹板的相互靠近的端部相互铰接,气缸的活塞杆端部固定有与第一夹板对应的第二夹板,气缸的活塞杆上套装有可使其活塞杆回缩复位的第一弹簧,每个气缸的底部同轴设有一个支杆,相邻的两个支杆之间设有一个两端开口的缸筒,缸筒内滑动贴合安装有两个活塞杆,每个缸筒的两个活塞杆的伸出端分别铰接在对应的支杆端部,每个缸筒的两个活塞杆上套装有可使其向缸筒内复位的第二弹簧,位于中间的夹紧单元的上方固定有一个手柄,手柄外侧设有一个高压气瓶,多个气缸经第一软管连通,多个缸筒经第二软管连通,第一软管和第二软管分别与高压气瓶连通,第一软管上设有第一气阀,第一气阀可使多个气缸与高压气瓶连通,也可使多个气缸与外界连通,第二软管上设有第二气阀,第二气阀可使多个缸筒与高压气瓶连通,也可使多个缸筒与外界连通。
优选的,所述第一弹簧的一端固定在气缸的缸体上,另一端固定在气缸活塞杆的端部。
优选的,所述第二弹簧的一端固定在缸筒上,另一端固定在缸筒活塞杆伸出端的端部。
优选的,所述第一气阀使气缸与外界连通时,高压气瓶被第一气阀封堵不漏气,所述第二气阀使缸筒与外界连通时,高压气瓶被第二气阀封堵不漏气。
本装置对比传统设备有以下好处:
1、在向本装置装填砖时只需要将砖横向摆放,而工地上砖都是成垛码放的因此平铺砖非常容易操作,因此在装填砖时,减少了工人的劳动强度,提高了工作效率,且装填过程仅需要手持手柄上下移动匹配即可,操作便捷,在完成状态时通过缸筒驱动气缸转动实现将平行的砖,转动成圆弧状,此时使得多个砖之间的间隔各角度几乎无误差,使得砖的砌铺更加精确减少后期来回返工调整。
2、装置的定位过程通过第二夹板的相互接触实现多个气缸转动成平行时的限位,通过第二弹簧复位使得缸筒的活塞杆完全复位实现多个气缸转动成弧形状态下的限位,整个限位部件准确且可靠使得本装置在变形过程中能够达到夹持和砌铺时的角度要求。
3、本装置通过一个高压气瓶提供动力源,使得本装置的使用范围更加宽泛,同时高压气源为动力使得读个气缸和多个缸筒在实施过程联动性更高,更容易控制和操作。
附图说明
图1为本发明多个气缸平行时的俯视图。
图2为本发明多个气缸转动成弧形时的俯视图。
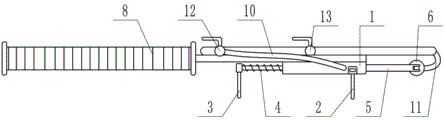
图3为本发明左视图。
图4为本发明气阀的截面剖视图。
具体实施方式
以下结合附图对本发明的具体实施方式作进一步详细说明。
由图1至图4可知,本发明包括多组左右间隔布置的夹紧单元,每个夹紧单元包括一个轴线水平的气缸1,气缸1的缸体底部固定有一个与其轴线垂直的第一夹板2,相临的两个第一夹板2的相互靠近的端部相互铰接,气缸1的活塞杆端部固定有与第一夹板2对应的第二夹板3,气缸1的活塞杆上套装有可使其活塞杆回缩复位的第一弹簧4,每个气缸1的底部同轴设有一个支杆5,相邻的两个支杆5之间设有一个两端开口的缸筒6,缸筒6内滑动贴合安装有两个活塞杆,每个缸筒6的两个活塞杆的伸出端分别铰接在对应的支杆5端部,每个缸筒6的两个活塞杆上套装有可使其向缸筒6内复位的第二弹簧7,位于中间的夹紧单元的上方固定有一个手柄8,手柄8外侧设有一个高压气瓶9,多个气缸1经第一软管10连通,多个缸筒6经第二软管11连通,第一软管10和第二软管11分别与高压气瓶9连通,第一软管10上设有第一气阀12,第一气阀12可使多个气缸1与高压气瓶9连通,也可使多个气缸1与外界连通,第二软管11上设有第二气阀13,第二气阀13可使多个缸筒6与高压气瓶9连通,也可使多个缸筒6与外界连通。
为了实现第一弹簧4的安装,所述第一弹簧4的一端固定在气缸1的缸体上,另一端固定在气缸1活塞杆的端部。
为了实现第二弹簧7的安装,所述第二弹簧7的一端固定在缸筒6上,另一端固定在缸筒6活塞杆伸出端的端部。
所述第一气阀12使气缸1与外界连通时,高压气瓶9被第一气阀12封堵不漏气,所述第二气阀13使缸筒6与外界连通时,高压气瓶9被第二气阀13封堵不漏气。
本发明的具体工作过程:本装置在使用时需先进行砖的装填,先将砖左右横向平铺,通过第二气阀13实现高压气瓶9与多个缸筒6的连通,此时高压气体将缸筒6内的活塞杆推出,第二弹簧7被拉伸蓄力,此时多个气缸1在第二挡板的限位作用下使得气缸1呈平行状态排列,此时打开第一气阀12使得高压气瓶9内气体进入到多个气缸1内,使得气缸1活塞杆伸出,此时第一拉簧被拉伸,每个气缸1上的第一挡板与第二挡板之间的间隔增大,此时将多个气缸1与多个砖对应,通过将第一气阀12旋拧至与外界连通,实现气缸1内的气体排出,并在第一弹簧4复位作用下实现第一夹板2与第二夹板3将对应砖夹持,此时通过旋拧第二气阀13实现多个缸筒6与外界连通,在第二弹簧7的复位作用下实现缸筒6上的活塞杆复位,此过程中原本平行的气缸1在第二弹簧7的复位作用下带动砖转动成圆弧状,此时工人手持手柄8将变换成圆弧状的多个砖放置在竖井壁上。
工人调整多个组成圆弧状的砖使得与竖井同轴,此时通过旋拧第一气阀12使得高压气瓶9内的高压气体再次进入到多个气缸1内,此时第一弹簧4再次被拉伸,第一夹板2与第二夹板3之间间隔增大,砖可脱离两个夹板并放置在竖井壁上,完成后工人将本装置取走,再次通过第二气阀13向缸筒6内供气使得转动成弧形的多个气缸1重新复位成相互平行状态,此时再次对平铺好的砖进行夹持,即可进行重复作业。
本发明构思新颖,结构巧妙,实用性强,通过先将砖平铺排列,在通过本装置的变形实现将平铺的砖进行夹持,完成夹持后将横向排列的砖转动成与竖井壁匹配的圆弧,并将圆弧状排列的砖放置在竖井壁上,代替人工单独一一放置,减少了单个砖之间的摆放误差,同时在调整成弧形状态下的砖更加更方便,使得竖井砌铺更加高效快捷且降低了工人的劳动强度和技术性要求。
Claims (4)
1.一种检查井砌铺装置,其特征在于,包括多组左右间隔布置的夹紧单元,每个夹紧单元包括一个轴线水平的气缸(1),气缸(1)的缸体底部固定有一个与其轴线垂直的第一夹板(2),相临的两个第一夹板(2)的相互靠近的端部相互铰接,气缸(1)的活塞杆端部固定有与第一夹板(2)对应的第二夹板(3),气缸(1)的活塞杆上套装有可使其活塞杆回缩复位的第一弹簧(4),每个气缸(1)的底部同轴设有一个支杆(5),相邻的两个支杆(5)之间设有一个两端开口的缸筒(6),缸筒(6)内滑动贴合安装有两个活塞杆,每个缸筒(6)的两个活塞杆的伸出端分别铰接在对应的支杆(5)端部,每个缸筒(6)的两个活塞杆上套装有可使其向缸筒(6)内复位的第二弹簧(7),位于中间的夹紧单元的上方固定有一个手柄(8),手柄(8)外侧设有一个高压气瓶(9),多个气缸(1)经第一软管(10)连通,多个缸筒(6)经第二软管(11)连通,第一软管(10)和第二软管(11)分别与高压气瓶(9)连通,第一软管(10)上设有第一气阀(12),第一气阀(12)可使多个气缸(1)与高压气瓶(9)连通,也可使多个气缸(1)与外界连通,第二软管(11)上设有第二气阀(13),第二气阀(13)可使多个缸筒(6)与高压气瓶(9)连通,也可使多个缸筒(6)与外界连通。
2.根据权利要求1所述的一种检查井砌铺装置,其特征在于,所述第一弹簧(4)的一端固定在气缸(1)的缸体上,另一端固定在气缸(1)活塞杆的端部。
3.根据权利要求1所述的一种检查井砌铺装置,其特征在于,所述第二弹簧(7)的一端固定在缸筒(6)上,另一端固定在缸筒(6)活塞杆伸出端的端部。
4.根据权利要求1所述的一种检查井砌铺装置,其特征在于,所述第一气阀(12)使气缸(1)与外界连通时,高压气瓶(9)被第一气阀(12)封堵不漏气,所述第二气阀(13)使缸筒(6)与外界连通时,高压气瓶(9)被第二气阀(13)封堵不漏气。
Priority Applications (1)
| Application Number | Priority Date | Filing Date | Title |
|---|---|---|---|
| CN202110724697.7A CN113431091B (zh) | 2021-06-29 | 2021-06-29 | 一种检查井砌铺装置 |
Applications Claiming Priority (1)
| Application Number | Priority Date | Filing Date | Title |
|---|---|---|---|
| CN202110724697.7A CN113431091B (zh) | 2021-06-29 | 2021-06-29 | 一种检查井砌铺装置 |
Publications (2)
| Publication Number | Publication Date |
|---|---|
| CN113431091A CN113431091A (zh) | 2021-09-24 |
| CN113431091B true CN113431091B (zh) | 2022-03-11 |
Family
ID=77757563
Family Applications (1)
| Application Number | Title | Priority Date | Filing Date |
|---|---|---|---|
| CN202110724697.7A Active CN113431091B (zh) | 2021-06-29 | 2021-06-29 | 一种检查井砌铺装置 |
Country Status (1)
| Country | Link |
|---|---|
| CN (1) | CN113431091B (zh) |
Families Citing this family (1)
| Publication number | Priority date | Publication date | Assignee | Title |
|---|---|---|---|---|
| CN118061139B (zh) * | 2024-04-24 | 2024-07-16 | 常州市道铖传动科技有限公司 | 一种异型传动轴加工用多用型定位工装结构 |
Citations (8)
| Publication number | Priority date | Publication date | Assignee | Title |
|---|---|---|---|---|
| US3177621A (en) * | 1961-02-20 | 1965-04-13 | Demarest Machines Inc | Bricklaying machine |
| BR8502489A (pt) * | 1985-05-20 | 1986-12-30 | Mario Shiguehiro Hidaka | Maquina para assentamento de tijolos,pisos e correlatos,rebocar paredes e afins |
| CN200982821Y (zh) * | 2006-12-15 | 2007-11-28 | 饶庆波 | 移动可调式气动砌砖机 |
| CN206844678U (zh) * | 2017-03-17 | 2018-01-05 | 北京农业职业学院 | 一种可调节取砖装置 |
| CN107642247A (zh) * | 2017-10-25 | 2018-01-30 | 厦门华蔚物联网科技有限公司 | 一种可砌顶皮砖的夹具、砌砖机器人及其控制方法 |
| CN209620639U (zh) * | 2019-01-04 | 2019-11-12 | 厦门华蔚物联网科技有限公司 | 具有横向紧实砂浆功能的双气缸砌砖夹具 |
| CN110453926A (zh) * | 2019-07-20 | 2019-11-15 | 深圳中物智建科技有限公司 | 一种砌墙机器人 |
| CN112878714A (zh) * | 2021-01-20 | 2021-06-01 | 嘉兴瑞达建设有限公司 | 一种自动化建筑工程用砌砖机 |
-
2021
- 2021-06-29 CN CN202110724697.7A patent/CN113431091B/zh active Active
Patent Citations (8)
| Publication number | Priority date | Publication date | Assignee | Title |
|---|---|---|---|---|
| US3177621A (en) * | 1961-02-20 | 1965-04-13 | Demarest Machines Inc | Bricklaying machine |
| BR8502489A (pt) * | 1985-05-20 | 1986-12-30 | Mario Shiguehiro Hidaka | Maquina para assentamento de tijolos,pisos e correlatos,rebocar paredes e afins |
| CN200982821Y (zh) * | 2006-12-15 | 2007-11-28 | 饶庆波 | 移动可调式气动砌砖机 |
| CN206844678U (zh) * | 2017-03-17 | 2018-01-05 | 北京农业职业学院 | 一种可调节取砖装置 |
| CN107642247A (zh) * | 2017-10-25 | 2018-01-30 | 厦门华蔚物联网科技有限公司 | 一种可砌顶皮砖的夹具、砌砖机器人及其控制方法 |
| CN209620639U (zh) * | 2019-01-04 | 2019-11-12 | 厦门华蔚物联网科技有限公司 | 具有横向紧实砂浆功能的双气缸砌砖夹具 |
| CN110453926A (zh) * | 2019-07-20 | 2019-11-15 | 深圳中物智建科技有限公司 | 一种砌墙机器人 |
| CN112878714A (zh) * | 2021-01-20 | 2021-06-01 | 嘉兴瑞达建设有限公司 | 一种自动化建筑工程用砌砖机 |
Also Published As
| Publication number | Publication date |
|---|---|
| CN113431091A (zh) | 2021-09-24 |
Similar Documents
| Publication | Publication Date | Title |
|---|---|---|
| CN113431091B (zh) | 一种检查井砌铺装置 | |
| CN207043363U (zh) | 气缸式夹持机构 | |
| CN206357246U (zh) | 多功能架拱凿岩台车全能机械手 | |
| CN202428437U (zh) | 一种更换挡渣闸阀机构的机械手 | |
| CN104929544B (zh) | 一种石油钻井管具夹爪 | |
| CN110130935B (zh) | 一种用于隧道二衬的混凝土分配器 | |
| CN115432429B (zh) | 一种隧道用多功能夹取装置及其控制系统和控制方法 | |
| CN214116902U (zh) | 一种市政排水管非开挖修复用管道内壁扩张设备 | |
| CN113356272A (zh) | 一种市政施工用竖井铺砖用摆砖装置 | |
| CN210208748U (zh) | 一种建筑工程管件钻孔固定夹持工装 | |
| CN215926856U (zh) | 一种大体积混凝土渗水裂缝的灌浆装置 | |
| CN218619066U (zh) | 一种钢管接头自动上下料装置 | |
| CN113605449B (zh) | 一种便捷的竖井铺砖工具 | |
| CN105414971A (zh) | 指示板加工设备 | |
| CN212428172U (zh) | 一种节能环保的砖砌墙体修缮构造 | |
| CN113373981A (zh) | 一种市政用竖井快速铺砖装置 | |
| CN210239686U (zh) | 一种用于隧道二衬的混凝土分配器 | |
| CN220568621U (zh) | 混凝土试块的抗渗仪 | |
| CN109047389B (zh) | 一种多位点矫形工装 | |
| CN210210058U (zh) | 一种夹持力度强的台钳 | |
| CN215164493U (zh) | 一种防水型高分子聚合物地坪修复用清理注浆装置 | |
| CN221524298U (zh) | 一种砖块辅助定位装置 | |
| CN214603765U (zh) | 一种法兰内壁抛光用夹具 | |
| CN219442323U (zh) | 一种铺砖喷胶罐体结构 | |
| CN110253477B (zh) | 一种矿用风炮移动装置及其使用方法 |
Legal Events
| Date | Code | Title | Description |
|---|---|---|---|
| PB01 | Publication | ||
| PB01 | Publication | ||
| SE01 | Entry into force of request for substantive examination | ||
| SE01 | Entry into force of request for substantive examination | ||
| GR01 | Patent grant | ||
| GR01 | Patent grant |