CN113425200A - 一种智能家居多用途电动拖把 - Google Patents
一种智能家居多用途电动拖把 Download PDFInfo
- Publication number
- CN113425200A CN113425200A CN202110669300.9A CN202110669300A CN113425200A CN 113425200 A CN113425200 A CN 113425200A CN 202110669300 A CN202110669300 A CN 202110669300A CN 113425200 A CN113425200 A CN 113425200A
- Authority
- CN
- China
- Prior art keywords
- mop
- fixed
- roller
- scraper
- shell
- Prior art date
- Legal status (The legal status is an assumption and is not a legal conclusion. Google has not performed a legal analysis and makes no representation as to the accuracy of the status listed.)
- Granted
Links
- 238000003860 storage Methods 0.000 claims abstract description 23
- 239000000853 adhesive Substances 0.000 claims abstract description 7
- 230000001070 adhesive effect Effects 0.000 claims abstract description 7
- 230000005540 biological transmission Effects 0.000 claims description 14
- 239000000463 material Substances 0.000 claims description 6
- 229920006351 engineering plastic Polymers 0.000 claims description 3
- 239000002657 fibrous material Substances 0.000 claims description 3
- 229910001220 stainless steel Inorganic materials 0.000 claims description 3
- 239000010935 stainless steel Substances 0.000 claims description 3
- 239000011248 coating agent Substances 0.000 claims 1
- 238000000576 coating method Methods 0.000 claims 1
- 239000000428 dust Substances 0.000 abstract description 16
- 238000004140 cleaning Methods 0.000 abstract description 10
- 230000000694 effects Effects 0.000 description 4
- 238000004026 adhesive bonding Methods 0.000 description 3
- 230000000903 blocking effect Effects 0.000 description 3
- 238000005253 cladding Methods 0.000 description 3
- 238000007790 scraping Methods 0.000 description 2
- 230000004075 alteration Effects 0.000 description 1
- 238000010586 diagram Methods 0.000 description 1
- 238000005516 engineering process Methods 0.000 description 1
- 239000004744 fabric Substances 0.000 description 1
- 239000003292 glue Substances 0.000 description 1
- 238000000034 method Methods 0.000 description 1
- 238000012986 modification Methods 0.000 description 1
- 230000004048 modification Effects 0.000 description 1
- 239000002245 particle Substances 0.000 description 1
- 238000006467 substitution reaction Methods 0.000 description 1
Images
Classifications
-
- A—HUMAN NECESSITIES
- A47—FURNITURE; DOMESTIC ARTICLES OR APPLIANCES; COFFEE MILLS; SPICE MILLS; SUCTION CLEANERS IN GENERAL
- A47L—DOMESTIC WASHING OR CLEANING; SUCTION CLEANERS IN GENERAL
- A47L11/00—Machines for cleaning floors, carpets, furniture, walls, or wall coverings
- A47L11/28—Floor-scrubbing machines, motor-driven
- A47L11/282—Floor-scrubbing machines, motor-driven having rotary tools
-
- A—HUMAN NECESSITIES
- A47—FURNITURE; DOMESTIC ARTICLES OR APPLIANCES; COFFEE MILLS; SPICE MILLS; SUCTION CLEANERS IN GENERAL
- A47L—DOMESTIC WASHING OR CLEANING; SUCTION CLEANERS IN GENERAL
- A47L11/00—Machines for cleaning floors, carpets, furniture, walls, or wall coverings
- A47L11/40—Parts or details of machines not provided for in groups A47L11/02 - A47L11/38, or not restricted to one of these groups, e.g. handles, arrangements of switches, skirts, buffers, levers
-
- A—HUMAN NECESSITIES
- A47—FURNITURE; DOMESTIC ARTICLES OR APPLIANCES; COFFEE MILLS; SPICE MILLS; SUCTION CLEANERS IN GENERAL
- A47L—DOMESTIC WASHING OR CLEANING; SUCTION CLEANERS IN GENERAL
- A47L11/00—Machines for cleaning floors, carpets, furniture, walls, or wall coverings
- A47L11/40—Parts or details of machines not provided for in groups A47L11/02 - A47L11/38, or not restricted to one of these groups, e.g. handles, arrangements of switches, skirts, buffers, levers
- A47L11/4013—Contaminants collecting devices, i.e. hoppers, tanks or the like
-
- A—HUMAN NECESSITIES
- A47—FURNITURE; DOMESTIC ARTICLES OR APPLIANCES; COFFEE MILLS; SPICE MILLS; SUCTION CLEANERS IN GENERAL
- A47L—DOMESTIC WASHING OR CLEANING; SUCTION CLEANERS IN GENERAL
- A47L11/00—Machines for cleaning floors, carpets, furniture, walls, or wall coverings
- A47L11/40—Parts or details of machines not provided for in groups A47L11/02 - A47L11/38, or not restricted to one of these groups, e.g. handles, arrangements of switches, skirts, buffers, levers
- A47L11/4036—Parts or details of the surface treating tools
- A47L11/4041—Roll shaped surface treating tools
-
- A—HUMAN NECESSITIES
- A47—FURNITURE; DOMESTIC ARTICLES OR APPLIANCES; COFFEE MILLS; SPICE MILLS; SUCTION CLEANERS IN GENERAL
- A47L—DOMESTIC WASHING OR CLEANING; SUCTION CLEANERS IN GENERAL
- A47L11/00—Machines for cleaning floors, carpets, furniture, walls, or wall coverings
- A47L11/40—Parts or details of machines not provided for in groups A47L11/02 - A47L11/38, or not restricted to one of these groups, e.g. handles, arrangements of switches, skirts, buffers, levers
- A47L11/4063—Driving means; Transmission means therefor
- A47L11/4069—Driving or transmission means for the cleaning tools
Landscapes
- Nozzles For Electric Vacuum Cleaners (AREA)
Abstract
本发明涉及一种智能家居多用途电动拖把,包括拖把杆、拖把头、微型电机、控制旋钮,所述拖把头固定在拖把杆的底端,所述微型电机固定在拖把杆的底端侧面和微型电机固定在拖把头的顶侧,且微型电机连接拖把头,所述控制旋钮设在拖把杆的上,且控制旋钮连接控制微型电机,所述拖把头由固定外壳、拖辊结构、储灰盒、盒盖组成。本发明优化了传统拖把的设置,改变现有的电动拖把,改进为一种具备收集、正反双向转动的一种拖把,在使用的时候,可以利用粘覆辊套的逆时针转动,吸附地面的灰尘和细小垃圾,前侧设置可以粘覆辊套倒转吸收灰尘的刮板,减少清洗时的负担,单独的储灰盒防止灰尘乱溅,设备的结构简单,使用方式简单,宜推广使用。
Description
技术领域
本发明涉及生活居家工具领域,尤其涉及一种智能家居多用途电动拖把。
背景技术
拖把是对地面进行清洁的一种工具,拖把不仅仅有清刷地面的功能,还可以对地板保养的时候使用,所以拖把是我们最常用的一种家务工具,传统的拖把是墩布式的拖把,后来发展到板式拖把和吸水海绵拖把,随着科技的发展,现在已经发展成扫地机器人、扫地电动拖把的存在,现存的电动拖把结构设计上存在不合理,会让很多的大颗粒垃圾吸进拖把的储灰盒,造成了储灰盒的堵塞,还需要手动的清理,为了解决上述问题,特此设计一种智能家居多用途电动拖把。
发明内容
本发明的目的在于提供一种智能家居多用途电动拖把,以解决上述技术问题,为实现上述目的本发明采用以下技术方案:
一种智能家居多用途电动拖把,包括拖把杆、拖把头、微型电机、控制旋钮,所述拖把头固定在拖把杆的底端,所述微型电机固定在拖把杆的底端侧面和微型电机固定在拖把头的顶侧,且微型电机连接拖把头,所述控制旋钮设在拖把杆的上,且控制旋钮连接控制微型电机,所述拖把头由固定外壳、拖辊结构、储灰盒、盒盖组成,所述储灰盒固定在固定外壳的顶面后侧,所述盒盖连接在储灰盒的顶面,所述拖辊结构设在固定外壳的底侧,且拖辊结构的两端通过螺帽-固定在固定外壳的两端,所述拖辊结构可在固定外壳底侧转动,所述拖辊结构通过连接链条连接在微型电机的底侧,所述微型电机拖把杆固定在固定外壳拖把杆的顶侧,所述拖把杆固定在固定外壳拖把杆的顶面。
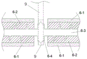
在上述技术方案基础上,所述拖辊结构由粘覆辊套、辊体壳、辊轴、传动齿盘组成,所述传动齿盘设在辊轴的中段外侧,且辊轴与传动齿盘一体成型,所述辊体壳呈对称设置在传动齿盘的两侧,且辊体壳固定在辊轴的外侧,所述粘覆辊套设在辊体壳的外侧,所述辊轴的两端分别通过螺帽固定在固定外壳的两端,所述传动齿盘通过连接链条连接微型电机。
在上述技术方案基础上,所述固定外壳的侧端开设有连接轴承孔,所述连接轴承孔内侧设有固定轴承、转动轴承,所述转动轴承设在固定轴承内,且转动轴承可在固定轴承内转动,所述固定轴承设在连接轴承孔内,所述辊轴的侧端穿过转动轴承,且辊轴的侧端固定在转动轴承上,所述固定外壳的内侧设置有防阻塞剔除板、一号刮板、二号刮板,所述防阻塞剔除板、一号刮板顺时针倾斜设置,所述二号刮板逆时针倾斜设置,所述防阻塞剔除板设在固定外壳的内后侧,所述一号刮板设在固定外壳的后顶侧,所述一号刮板设置在防阻塞剔除板的逆时针侧,所述二号刮板设置在固定外壳的前顶侧,所述一号刮板的顺时针侧设置有一号进灰口,所述二号刮板的逆时针侧设置有二号进灰口,所述防阻塞剔除板、一号刮板、二号刮板与固定外壳一体成型,所述一号刮板和二号刮板紧贴在粘覆辊套的外侧面,所述储灰盒通过一号进灰口和二号进灰口连通固定外壳内部。
在上述技术方案基础上,所述储灰盒、盒盖、固定外壳、固定轴承、转动轴承、防阻塞剔除板、一号刮板、二号刮板、辊轴、传动齿盘均由不锈钢材料制成。所述粘覆辊套由超细纤维材料制成,所述辊体壳由工程塑料制成。
与现有技术相比,本发明具有以下优点:本发明优化了传统拖把的设置,改变现有的电动拖把,改进为一种具备收集、正反双向转动的一种拖把,在使用的时候,可以利用粘覆辊套的逆时针转动,吸附地面的灰尘和细小垃圾,前侧设置可以粘覆辊套倒转吸收灰尘的刮板,减少清洗时的负担,单独的储灰盒防止灰尘乱溅,设备的结构简单,使用方式简单,宜推广使用。
附图说明
图1为本发明外观状态图。
图2为本发明拖把头示意图。
图3为本发明拖辊结构示意图。
图4为本发明拖辊结构侧面连接示意图。
图5为本发明拖把头侧平面剖视示意图。
图中:拖把杆1、拖把头2、微型电机3、控制旋钮4、固定外壳5、连接轴承孔5-1、固定轴承5-2、转动轴承5-3、防阻塞剔除板5-4、一号刮板5-5、二号刮板5-6、一号进灰口5-7、二号进灰口5-8、
拖辊结构6、粘覆辊套6-1、辊体壳6-2、辊轴6-3、传动齿盘6-4、螺帽6-5、储灰盒7、盒盖8、连接链条9。
具体实施方式
下面结合附图和具体实施对本发明作进一步详细阐述。
一种智能家居多用途电动拖把,包括拖把杆1、拖把头2、微型电机3、控制旋钮4,所述拖把头2固定在拖把杆1的底端,所述微型电机3固定在拖把杆1的底端侧面和微型电机3固定在拖把头2的顶侧,且微型电机3连接拖把头2,所述控制旋钮4设在拖把杆1的上,且控制旋钮4连接控制微型电机3,所述拖把头2由固定外壳5、拖辊结构6、储灰盒7、盒盖8组成,所述储灰盒7固定在固定外壳5的顶面后侧,所述盒盖8连接在储灰盒7的顶面,所述拖辊结构6设在固定外壳5的底侧,且拖辊结构6的两端通过螺帽6-5固定在固定外壳5的两端,所述拖辊结构6可在固定外壳5底侧转动,所述拖辊结构6通过连接链条9连接在微型电机3的底侧,所述微型电机拖把杆1固定在固定外壳拖把杆1的顶侧,所述拖把杆1固定在固定外壳拖把杆1的顶面。
所述拖辊结构6由粘覆辊套6-1、辊体壳6-2、辊轴6-3、传动齿盘6-4组成,所述传动齿盘6-4设在辊轴6-3的中段外侧,且辊轴6-3与传动齿盘6-4一体成型,所述辊体壳6-2呈对称设置在传动齿盘6-4的两侧,且辊体壳6-2固定在辊轴6-3的外侧,所述粘覆辊套6-1设在辊体壳6-2的外侧,所述辊轴6-3的两端分别通过螺帽6-5固定在固定外壳5的两端,所述传动齿盘6-4通过连接链条9连接微型电机3。
所述固定外壳5的侧端开设有连接轴承孔5-1,所述连接轴承孔5-1内侧设有固定轴承5-2、转动轴承5-3,所述转动轴承5-3设在固定轴承5-2内,且转动轴承5-3可在固定轴承5-2内转动,所述固定轴承5-2设在连接轴承孔5-1内,所述辊轴6-3的侧端穿过转动轴承5-3,且辊轴6-3的侧端固定在转动轴承5-3上,所述固定外壳5的内侧设置有防阻塞剔除板5-4、一号刮板5-5、二号刮板5-6,所述防阻塞剔除板5-4、一号刮板5-5顺时针倾斜设置,所述二号刮板5-6逆时针倾斜设置,所述防阻塞剔除板5-4设在固定外壳5的内后侧,所述一号刮板5-5设在固定外壳5的后顶侧,所述一号刮板5-5设置在防阻塞剔除板5-4的逆时针侧,所述二号刮板5-6设置在固定外壳5的前顶侧,所述一号刮板5-5的顺时针侧设置有一号进灰口5-7,所述二号刮板5-6的逆时针侧设置有二号进灰口5-8,所述防阻塞剔除板5-4、一号刮板5-5、二号刮板5-6与固定外壳5一体成型,所述一号刮板5-5和二号刮板5-6紧贴在粘覆辊套6-1的外侧面,所述储灰盒7通过一号进灰口5-7和二号进灰口5-8连通固定外壳5内部。
所述储灰盒7、盒盖8、固定外壳5、固定轴承5-2、转动轴承5-3、防阻塞剔除板5-4、一号刮板5-5、二号刮板5-6、辊轴6-3、传动齿盘6-4均由不锈钢材料制成。所述粘覆辊套6-1由超细纤维材料制成,所述辊体壳6-2由工程塑料制成。
本发明工作原理:本设备的使用方式简单,手动打开和调整控制旋钮,来控制微型电机的运转速度和运转方向,通过连接链条的作用下,将动能通过传动齿盘传输到整个拖辊结构上,使其拖辊结构转动,进而拖辊转动形成的清扫,当拖辊结构逆时针转动是清扫工作,清扫过程是粘覆辊套上的灰尘和垃圾通过一号刮板的作用下,通过一号进灰口进入到储灰盒内,防阻塞剔除板的作用就是将较大的物质进行阻挡,防止堵塞一号进灰口,当拖辊结构顺时针转动是反转剔除粘覆辊套上的脏物质和吸附的灰尘,通过二号刮板的作用下,将粘覆辊套上的灰尘和脏物质通过二号进灰口存放在储灰盒内。
以上所述为本发明较佳实施例,对于本领域的普通技术人员而言,根据本发明的教导,在不脱离本发明的原理与精神的情况下,对实施方式所进行的改变、修改、替换和变型仍落入本发明的保护范围之内。
Claims (4)
1.一种智能家居多用途电动拖把,其特征在于,包括拖把杆(1)、拖把头(2)、微型电机(3)、控制旋钮(4),所述拖把头(2)固定在拖把杆(1)的底端,所述微型电机(3)固定在拖把杆(1)的底端侧面和微型电机(3)固定在拖把头(2)的顶侧,且微型电机(3)连接拖把头(2),所述控制旋钮(4)设在拖把杆(1)的上,且控制旋钮(4)连接控制微型电机(3),所述拖把头(2)由固定外壳(5)、拖辊结构(6)、储灰盒(7)、盒盖(8)组成,所述储灰盒(7)固定在固定外壳(5)的顶面后侧,所述盒盖(8)连接在储灰盒(7)的顶面,所述拖辊结构(6)设在固定外壳(5)的底侧,且拖辊结构(6)的两端通过螺帽(6-5)固定在固定外壳(5)的两端,所述拖辊结构(6)可在固定外壳(5)底侧转动,所述拖辊结构(6)通过连接链条(9)连接在微型电机(3)的底侧,所述微型电机拖把杆(1)固定在固定外壳拖把杆(1)的顶侧,所述拖把杆(1)固定在固定外壳拖把杆(1)的顶面。
2.根据权利要求1所述的一种智能家居多用途电动拖把,其特征在于,所述拖辊结构(6)由粘覆辊套(6-1)、辊体壳(6-2)、辊轴(6-3)、传动齿盘(6-4)组成,所述传动齿盘(6-4)设在辊轴(6-3)的中段外侧,且辊轴(6-3)与传动齿盘(6-4)一体成型,所述辊体壳(6-2)呈对称设置在传动齿盘(6-4)的两侧,且辊体壳(6-2)固定在辊轴(6-3)的外侧,所述粘覆辊套(6-1)设在辊体壳(6-2)的外侧,所述辊轴(6-3)的两端分别通过螺帽(6-5)固定在固定外壳(5)的两端,所述传动齿盘(6-4)通过连接链条(9)连接微型电机(3)。
3.根据权利要求1所述的一种智能家居多用途电动拖把,其特征在于,所述固定外壳(5)的侧端开设有连接轴承孔(5-1),所述连接轴承孔(5-1)内侧设有固定轴承(5-2)、转动轴承(5-3),所述转动轴承(5-3)设在固定轴承(5-2)内,且转动轴承(5-3)可在固定轴承(5-2)内转动,所述固定轴承(5-2)设在连接轴承孔(5-1)内,所述辊轴(6-3)的侧端穿过转动轴承(5-3),且辊轴(6-3)的侧端固定在转动轴承(5-3)上,所述固定外壳(5)的内侧设置有防阻塞剔除板(5-4)、一号刮板(5-5)、二号刮板(5-6),所述防阻塞剔除板(5-4)、一号刮板(5-5)顺时针倾斜设置,所述二号刮板(5-6)逆时针倾斜设置,所述防阻塞剔除板(5-4)设在固定外壳(5)的内后侧,所述一号刮板(5-5)设在固定外壳(5)的后顶侧,所述一号刮板(5-5)设置在防阻塞剔除板(5-4)的逆时针侧,所述二号刮板(5-6)设置在固定外壳(5)的前顶侧,所述一号刮板(5-5)的顺时针侧设置有一号进灰口(5-7),所述二号刮板(5-6)的逆时针侧设置有二号进灰口(5-8),所述防阻塞剔除板(5-4)、一号刮板(5-5)、二号刮板(5-6)与固定外壳(5)一体成型,所述一号刮板(5-5)和二号刮板(5-6)紧贴在粘覆辊套(6-1)的外侧面,所述储灰盒(7)通过一号进灰口(5-7)和二号进灰口(5-8)连通固定外壳(5)内部。
4.根据权利要求1所述的一种智能家居多用途电动拖把,其特征在于,所述储灰盒(7)、盒盖(8)、固定外壳(5)、固定轴承(5-2)、转动轴承(5-3)、防阻塞剔除板(5-4)、一号刮板(5-5)、二号刮板(5-6)、辊轴(6-3)、传动齿盘(6-4)均由不锈钢材料制成,所述粘覆辊套(6-1)由超细纤维材料制成,所述辊体壳(6-2)由工程塑料制成。
Priority Applications (1)
| Application Number | Priority Date | Filing Date | Title |
|---|---|---|---|
| CN202110669300.9A CN113425200B (zh) | 2021-06-17 | 2021-06-17 | 一种智能家居多用途电动拖把 |
Applications Claiming Priority (1)
| Application Number | Priority Date | Filing Date | Title |
|---|---|---|---|
| CN202110669300.9A CN113425200B (zh) | 2021-06-17 | 2021-06-17 | 一种智能家居多用途电动拖把 |
Publications (2)
| Publication Number | Publication Date |
|---|---|
| CN113425200A true CN113425200A (zh) | 2021-09-24 |
| CN113425200B CN113425200B (zh) | 2022-05-13 |
Family
ID=77756428
Family Applications (1)
| Application Number | Title | Priority Date | Filing Date |
|---|---|---|---|
| CN202110669300.9A Active CN113425200B (zh) | 2021-06-17 | 2021-06-17 | 一种智能家居多用途电动拖把 |
Country Status (1)
| Country | Link |
|---|---|
| CN (1) | CN113425200B (zh) |
Cited By (2)
| Publication number | Priority date | Publication date | Assignee | Title |
|---|---|---|---|---|
| CN116035472A (zh) * | 2023-01-16 | 2023-05-02 | 江南造船(集团)有限责任公司 | 一种磁吸清扫小车及其使用方法 |
| CN116570184A (zh) * | 2023-03-24 | 2023-08-11 | 珠海市禧上千禧科技有限公司 | 一种清洗装置及扫地机 |
Citations (9)
| Publication number | Priority date | Publication date | Assignee | Title |
|---|---|---|---|---|
| SE8302899D0 (sv) * | 1983-05-24 | 1983-05-24 | Postonen Arne Johannes | Maskin for rengoring av foretredesvis harda underlag |
| CN2424735Y (zh) * | 2000-05-23 | 2001-03-28 | 戴良芳 | 无电除尘器 |
| CN1411781A (zh) * | 2001-10-18 | 2003-04-23 | 花王株式会社 | 粘性辊除尘器 |
| CN2753278Y (zh) * | 2004-11-26 | 2006-01-25 | 刘卫东 | 手动、电动多功能一净地面清洁器 |
| WO2006130216A1 (en) * | 2005-05-31 | 2006-12-07 | S.C. Johnson & Son, Inc. | Fabric sweeper |
| CN203074654U (zh) * | 2012-12-31 | 2013-07-24 | 杨胡源 | 书桌清洁桶 |
| CN203244353U (zh) * | 2013-05-12 | 2013-10-23 | 胡正义 | 一种带刮板的拖把头 |
| JP5747097B1 (ja) * | 2014-03-14 | 2015-07-08 | シャープ株式会社 | 掃除ユニット及びそれを利用した掃除機 |
| WO2020171435A1 (ko) * | 2019-02-21 | 2020-08-27 | 박현숙 | 전동식 롤러형 물걸레 청소기 |
-
2021
- 2021-06-17 CN CN202110669300.9A patent/CN113425200B/zh active Active
Patent Citations (9)
| Publication number | Priority date | Publication date | Assignee | Title |
|---|---|---|---|---|
| SE8302899D0 (sv) * | 1983-05-24 | 1983-05-24 | Postonen Arne Johannes | Maskin for rengoring av foretredesvis harda underlag |
| CN2424735Y (zh) * | 2000-05-23 | 2001-03-28 | 戴良芳 | 无电除尘器 |
| CN1411781A (zh) * | 2001-10-18 | 2003-04-23 | 花王株式会社 | 粘性辊除尘器 |
| CN2753278Y (zh) * | 2004-11-26 | 2006-01-25 | 刘卫东 | 手动、电动多功能一净地面清洁器 |
| WO2006130216A1 (en) * | 2005-05-31 | 2006-12-07 | S.C. Johnson & Son, Inc. | Fabric sweeper |
| CN203074654U (zh) * | 2012-12-31 | 2013-07-24 | 杨胡源 | 书桌清洁桶 |
| CN203244353U (zh) * | 2013-05-12 | 2013-10-23 | 胡正义 | 一种带刮板的拖把头 |
| JP5747097B1 (ja) * | 2014-03-14 | 2015-07-08 | シャープ株式会社 | 掃除ユニット及びそれを利用した掃除機 |
| WO2020171435A1 (ko) * | 2019-02-21 | 2020-08-27 | 박현숙 | 전동식 롤러형 물걸레 청소기 |
Cited By (2)
| Publication number | Priority date | Publication date | Assignee | Title |
|---|---|---|---|---|
| CN116035472A (zh) * | 2023-01-16 | 2023-05-02 | 江南造船(集团)有限责任公司 | 一种磁吸清扫小车及其使用方法 |
| CN116570184A (zh) * | 2023-03-24 | 2023-08-11 | 珠海市禧上千禧科技有限公司 | 一种清洗装置及扫地机 |
Also Published As
| Publication number | Publication date |
|---|---|
| CN113425200B (zh) | 2022-05-13 |
Similar Documents
| Publication | Publication Date | Title |
|---|---|---|
| CN208301596U (zh) | 一种自清洁式扫地拖地一体机 | |
| CN207640328U (zh) | 一种智能清洁机器人 | |
| CN113425200B (zh) | 一种智能家居多用途电动拖把 | |
| CN206761643U (zh) | 清洁机器人 | |
| CN107049159B (zh) | 拖擦件和清洁机器人系统 | |
| CN214048686U (zh) | 清洁设备及滚筒组件 | |
| CN201019678Y (zh) | 一种多用手推清扫刷 | |
| CN201529090U (zh) | 家用自动清洁器 | |
| CN208995967U (zh) | 一种园林专用地面清理装置 | |
| CN206239343U (zh) | 一种电动吸尘拖把 | |
| CN211883617U (zh) | 一种具有扫地和拖地功能的机器人 | |
| CN111907981A (zh) | 一种环保垃圾桶 | |
| CN208542617U (zh) | 一种服装加工用废料回收装置 | |
| CN209605374U (zh) | 一种用于空调滤网的清理装置 | |
| CN201143183Y (zh) | 一种改进的扫地机 | |
| CN215424444U (zh) | 一种清洁动力装置及其清洁机 | |
| CN112244695B (zh) | 一种自动清洁墙角以及踢脚线的清洁家用电器 | |
| CN106388718A (zh) | 一种高效清洁装置 | |
| CN211511622U (zh) | 用于吸尘器的地刷组件和吸尘器 | |
| CN201409884Y (zh) | 多功能清洁工具 | |
| CN202699050U (zh) | 室内扫地机 | |
| CN204500546U (zh) | 滚动拖地两段式智能扫地机 | |
| CN208286961U (zh) | 一种电动拖把 | |
| CN206333854U (zh) | 全自动擦窗器 | |
| CN215584037U (zh) | 一种扫地机器人用过滤机构 |
Legal Events
| Date | Code | Title | Description |
|---|---|---|---|
| PB01 | Publication | ||
| PB01 | Publication | ||
| SE01 | Entry into force of request for substantive examination | ||
| SE01 | Entry into force of request for substantive examination | ||
| TA01 | Transfer of patent application right |
Effective date of registration: 20220421 Address after: 528300 Shapu Village Committee, Jun'an Town, Shunde District, Foshan City, Guangdong Province Applicant after: FOSHAN SHUNDE ZHAOZHIHONG ELECTRIC APPLIANCE Co.,Ltd. Address before: 430000 No. 1, 19 / F, unit 1, phase I, No. 108, Gongnong Road, Qiaokou District, Wuhan City, Hubei Province Applicant before: Wuhan Huizhi Qiming Technology Co.,Ltd. |
|
| TA01 | Transfer of patent application right | ||
| GR01 | Patent grant | ||
| GR01 | Patent grant |