CN113389250A - Household water-saving system - Google Patents
Household water-saving system Download PDFInfo
- Publication number
- CN113389250A CN113389250A CN202110785939.3A CN202110785939A CN113389250A CN 113389250 A CN113389250 A CN 113389250A CN 202110785939 A CN202110785939 A CN 202110785939A CN 113389250 A CN113389250 A CN 113389250A
- Authority
- CN
- China
- Prior art keywords
- water
- tank
- pipe
- mouth
- reposition
- Prior art date
- Legal status (The legal status is an assumption and is not a legal conclusion. Google has not performed a legal analysis and makes no representation as to the accuracy of the status listed.)
- Pending
Links
- XLYOFNOQVPJJNP-UHFFFAOYSA-N water Substances O XLYOFNOQVPJJNP-UHFFFAOYSA-N 0.000 claims abstract description 187
- 238000005406 washing Methods 0.000 claims description 32
- XEEYBQQBJWHFJM-UHFFFAOYSA-N Iron Chemical compound [Fe] XEEYBQQBJWHFJM-UHFFFAOYSA-N 0.000 claims description 12
- 238000001914 filtration Methods 0.000 claims description 9
- 229910052742 iron Inorganic materials 0.000 claims description 6
- 239000010865 sewage Substances 0.000 claims description 6
- 230000007306 turnover Effects 0.000 claims description 4
- 239000012780 transparent material Substances 0.000 claims description 3
- 239000002351 wastewater Substances 0.000 description 9
- 238000005192 partition Methods 0.000 description 7
- 238000003825 pressing Methods 0.000 description 5
- 239000007788 liquid Substances 0.000 description 4
- 238000010586 diagram Methods 0.000 description 3
- 238000007789 sealing Methods 0.000 description 3
- 235000013311 vegetables Nutrition 0.000 description 3
- 230000000694 effects Effects 0.000 description 2
- 238000007667 floating Methods 0.000 description 2
- 238000005086 pumping Methods 0.000 description 2
- 239000008237 rinsing water Substances 0.000 description 2
- 239000013589 supplement Substances 0.000 description 2
- 239000008399 tap water Substances 0.000 description 2
- 235000020679 tap water Nutrition 0.000 description 2
- 238000010521 absorption reaction Methods 0.000 description 1
- 230000009471 action Effects 0.000 description 1
- 230000009286 beneficial effect Effects 0.000 description 1
- 238000004891 communication Methods 0.000 description 1
- 238000004851 dishwashing Methods 0.000 description 1
- 230000005611 electricity Effects 0.000 description 1
- 238000009434 installation Methods 0.000 description 1
- 230000003993 interaction Effects 0.000 description 1
- 238000004519 manufacturing process Methods 0.000 description 1
- 238000000034 method Methods 0.000 description 1
- 238000005065 mining Methods 0.000 description 1
- 238000012986 modification Methods 0.000 description 1
- 230000004048 modification Effects 0.000 description 1
- 230000003020 moisturizing effect Effects 0.000 description 1
- 238000004064 recycling Methods 0.000 description 1
Images
Classifications
-
- E—FIXED CONSTRUCTIONS
- E03—WATER SUPPLY; SEWERAGE
- E03C—DOMESTIC PLUMBING INSTALLATIONS FOR FRESH WATER OR WASTE WATER; SINKS
- E03C1/00—Domestic plumbing installations for fresh water or waste water; Sinks
- E03C1/12—Plumbing installations for waste water; Basins or fountains connected thereto; Sinks
-
- E—FIXED CONSTRUCTIONS
- E03—WATER SUPPLY; SEWERAGE
- E03B—INSTALLATIONS OR METHODS FOR OBTAINING, COLLECTING, OR DISTRIBUTING WATER
- E03B1/00—Methods or layout of installations for water supply
- E03B1/04—Methods or layout of installations for water supply for domestic or like local supply
- E03B1/041—Greywater supply systems
-
- E—FIXED CONSTRUCTIONS
- E03—WATER SUPPLY; SEWERAGE
- E03B—INSTALLATIONS OR METHODS FOR OBTAINING, COLLECTING, OR DISTRIBUTING WATER
- E03B1/00—Methods or layout of installations for water supply
- E03B1/04—Methods or layout of installations for water supply for domestic or like local supply
- E03B1/041—Greywater supply systems
- E03B1/042—Details thereof, e.g. valves or pumps
-
- E—FIXED CONSTRUCTIONS
- E03—WATER SUPPLY; SEWERAGE
- E03B—INSTALLATIONS OR METHODS FOR OBTAINING, COLLECTING, OR DISTRIBUTING WATER
- E03B11/00—Arrangements or adaptations of tanks for water supply
-
- E—FIXED CONSTRUCTIONS
- E03—WATER SUPPLY; SEWERAGE
- E03C—DOMESTIC PLUMBING INSTALLATIONS FOR FRESH WATER OR WASTE WATER; SINKS
- E03C1/00—Domestic plumbing installations for fresh water or waste water; Sinks
- E03C1/02—Plumbing installations for fresh water
-
- E—FIXED CONSTRUCTIONS
- E03—WATER SUPPLY; SEWERAGE
- E03C—DOMESTIC PLUMBING INSTALLATIONS FOR FRESH WATER OR WASTE WATER; SINKS
- E03C1/00—Domestic plumbing installations for fresh water or waste water; Sinks
- E03C1/12—Plumbing installations for waste water; Basins or fountains connected thereto; Sinks
- E03C1/122—Pipe-line systems for waste water in building
-
- E—FIXED CONSTRUCTIONS
- E03—WATER SUPPLY; SEWERAGE
- E03C—DOMESTIC PLUMBING INSTALLATIONS FOR FRESH WATER OR WASTE WATER; SINKS
- E03C1/00—Domestic plumbing installations for fresh water or waste water; Sinks
- E03C1/12—Plumbing installations for waste water; Basins or fountains connected thereto; Sinks
- E03C1/18—Sinks, whether or not connected to the waste-pipe
- E03C1/182—Sinks, whether or not connected to the waste-pipe connected to the waste-pipe
-
- E—FIXED CONSTRUCTIONS
- E03—WATER SUPPLY; SEWERAGE
- E03C—DOMESTIC PLUMBING INSTALLATIONS FOR FRESH WATER OR WASTE WATER; SINKS
- E03C1/00—Domestic plumbing installations for fresh water or waste water; Sinks
- E03C1/12—Plumbing installations for waste water; Basins or fountains connected thereto; Sinks
- E03C1/26—Object-catching inserts or similar devices for waste pipes or outlets
- E03C1/264—Separate sieves or similar object-catching inserts
-
- E—FIXED CONSTRUCTIONS
- E03—WATER SUPPLY; SEWERAGE
- E03D—WATER-CLOSETS OR URINALS WITH FLUSHING DEVICES; FLUSHING VALVES THEREFOR
- E03D1/00—Water flushing devices with cisterns ; Setting up a range of flushing devices or water-closets; Combinations of several flushing devices
-
- E—FIXED CONSTRUCTIONS
- E03—WATER SUPPLY; SEWERAGE
- E03D—WATER-CLOSETS OR URINALS WITH FLUSHING DEVICES; FLUSHING VALVES THEREFOR
- E03D1/00—Water flushing devices with cisterns ; Setting up a range of flushing devices or water-closets; Combinations of several flushing devices
- E03D1/003—Cisterns in combination with wash-basins, urinals, or the like
-
- E—FIXED CONSTRUCTIONS
- E03—WATER SUPPLY; SEWERAGE
- E03B—INSTALLATIONS OR METHODS FOR OBTAINING, COLLECTING, OR DISTRIBUTING WATER
- E03B1/00—Methods or layout of installations for water supply
- E03B1/04—Methods or layout of installations for water supply for domestic or like local supply
- E03B1/041—Greywater supply systems
- E03B2001/045—Greywater supply systems using household water
Landscapes
- Engineering & Computer Science (AREA)
- Health & Medical Sciences (AREA)
- Life Sciences & Earth Sciences (AREA)
- Hydrology & Water Resources (AREA)
- Public Health (AREA)
- Water Supply & Treatment (AREA)
- Environmental & Geological Engineering (AREA)
- Structural Engineering (AREA)
- Sanitary Device For Flush Toilet (AREA)
Abstract
The invention provides a household water-saving system, which belongs to the technical field of water-saving systems and comprises a toilet water tank, a wash basin and a kitchen wash basin, wherein a high-level water tank is arranged above the toilet water tank, a double-waterway angle valve is arranged on a communicating pipe between the toilet water tank and the high-level water tank, a water level switch is arranged in the high-level water tank, the high-level water tank is connected with a micro water pump in a water collecting tank through a water pipe, the micro water pump is electrically connected with the water level switch, the wash basin and the kitchen wash basin are both communicated with the water collecting tank, a second water-saving valve is arranged between the wash basin and the water collecting tank, and a third water-saving valve is arranged between the; the invention can effectively play a role in saving water and realize the secondary utilization of household daily water.
Description
Technical Field
The invention relates to the technical field of water saving systems, in particular to a household water saving system.
Background
Water is one of the essential conditions for life existence and is a precious resource for human life, at present, the global water resource is continuously reduced, and the water conservation is an obligation of everyone in order to maintain our living environment.
At present, many towns in China face a serious problem of water resource shortage, and due to the shortage of water resources in China, the shortage of water supply for urban production and domestic water supply, and 'water conservation' becomes social consensus. Because of the regulation and control of the current national policy, some large factory and mining enterprises bring sewage treatment and water recycling into a agenda, domestic water such as vegetable washing water, face washing water, clothes washing water and the like cannot be reused and is directly discharged into a sewer, so that water is wasted, the phenomenon is caused by various reasons, in addition, no special wastewater containing container is provided, the temporary searching of other containers for containing wastewater is inconvenient, and the purpose of wastewater reutilization is not easy to realize.
Disclosure of Invention
In view of this, the invention provides a household water-saving system, which can effectively achieve a water-saving effect and realize the secondary utilization of household daily water.
In order to solve the technical problems, the invention provides a household water saving system which comprises a toilet water tank, a washing basin and a kitchen washing basin, wherein a high-level water tank is arranged above the toilet water tank, a double-waterway angle valve is arranged on a communicating pipe between the toilet water tank and the high-level water tank, a water level switch is arranged in the high-level water tank, the high-level water tank is connected with a micro water pump in a water collecting tank through a water pipe, the micro water pump is electrically connected with the water level switch, the washing basin and the kitchen washing basin are both communicated with the water collecting tank, a second water saving valve is arranged between the washing basin and the water collecting tank, and a third water saving valve is arranged between the kitchen washing basin and the water collecting tank.
Furthermore, the top end of the water collecting tank is provided with an overflow pipe opening.
Further, second water-saving valve and third water-saving valve all include the flow divider, the flow divider includes hourglass hopper-shaped flow divider, the flow divider bottom is equipped with the drain pipe, one side of drain pipe is equipped with the backward flow mouth of pipe with the header tank intercommunication, the opposite side of drain pipe is equipped with the sewage pipe mouth of pipe, be equipped with the reposition of redundant personnel baffle in the flow divider, the branch of pipe mouth of pipe, backward flow mouth of pipe divides in the reposition of redundant personnel baffle both sides, the top port department of flow divider is equipped with spacing platform, be equipped with the reposition of redundant personnel stopper on the flow divider.
Further, the reposition of redundant personnel stopper is including setting up in the filtration frame of the both sides of reposition of redundant personnel baffle in the reposition of redundant personnel mouth and the semicylindrical of dismantling out, the last port department of filtering the frame is equipped with spacing flank, spacing flank is placed on spacing bench, the last port department of filtering the frame is equipped with the detachable apron, the upper surface of apron is equipped with the handle.
Further, the reposition of redundant personnel stopper is including setting up the hinge on the top of reposition of redundant personnel baffle in the reposition of redundant personnel mouth, the both sides of hinge all are equipped with turns over the board, the board that turns over of hinge one side is embedded to have the magnet piece, the board that turns over of hinge opposite side is embedded to have the iron plate that corresponds with the magnet piece.
Further, the bottom of drain pipe is equipped with detachable collection thing bottle, the port department of the one end that backward flow mouth of pipe, the blowdown mouth of pipe and drain pipe are connected all is equipped with the filter screen.
Furthermore, the collection bottle is made of transparent materials, and the upper port of the collection bottle is connected with the bottom end of the drain pipe in a threaded fit mode.
Furthermore, the water collecting tank is communicated with a drain pipe of the washing machine, and a first water-saving valve is arranged between the water collecting tank and the washing machine.
Further, the first water saving valve is a second double waterway angle valve.
The technical scheme of the invention has the following beneficial effects:
1. according to the invention, water which cannot be reused, such as vegetable washing water, face washing water, clothes washing water and the like, is collected through the water collection tank, is input into the high-level water tank through the micro water pump in the water collection tank, and automatic water supplement into the toilet water tank is realized through the water level difference between the high-level water tank and the toilet water tank, wherein the high-level water tank is internally provided with a floating ball level controller which controls automatic water pumping and water cut-off of the micro water pump; the overflow pipe mouth on the water collecting tank is connected with the lower drainage channel.
2. In the invention, the pipelines for communicating the washing machine, the wash basin, the kitchen wash basin and the water collecting tank are respectively provided with the shunting control structures, thereby facilitating the realization of shunting discharge.
3. A detachable transparent collection bottle is installed to the bottom of the flow divider for washing basin, and when the washing basin is used, valuables such as jewelry are prevented from being washed away, and in addition, the blockage can be prevented.
Drawings
FIG. 1 is a schematic view of the structure of a household water saving system according to the present invention;
FIG. 2 is a schematic view of the diverter valve of the present invention;
FIG. 3 is a schematic structural diagram of a third water-saving valve according to the present invention;
FIG. 4 is one of the schematic structural diagrams of a second water saving valve in the present invention;
FIG. 5 is a second schematic diagram of the second water saving valve of the present invention;
FIG. 6 is a front view of the push type water stopper of the present invention;
fig. 7 is a top view of a fish-type plate-like diverter plug according to the present invention.
1. A toilet water tank 11 and a double-water-path angle valve;
2. a high-level water tank; 21. a water level switch;
3. a water collection tank; 31. a micro water pump; 32. an overflow pipe opening;
4. a washing machine; 41. a first water saving valve;
5. a wash basin; 51. a second water saving valve; 501. a hinge; 502. turning over a plate; 503. a magnet block; 504. an iron block; 52. a press type water plug; 521. pressing the sealing cover; 522. a seal mounting structure; 53. a fish-shaped plate; 531. a second hinge; 532. a handle side wing;
6. a kitchen sink; 61. a third water-saving valve; 62. a filter frame; 63. a limiting side wing; 64. a cover plate; 65. a handle;
7. a flow divider valve; 71. a shunt port; 72. a flow dividing partition plate; 73. a drain pipe; 74. a return pipe orifice; 75. a sewage pipe orifice; 76. a limiting table;
8. and (4) collecting bottles.
Detailed Description
In order to make the objects, technical solutions and advantages of the embodiments of the present invention clearer, the technical solutions of the embodiments of the present invention will be clearly and completely described below with reference to fig. 1 to 5 of the embodiments of the present invention. It is to be understood that the embodiments described are only a few embodiments of the present invention, and not all embodiments. All other embodiments, which can be derived by a person skilled in the art from the described embodiments of the invention, are within the scope of the invention.
As shown in fig. 1-5:
the utility model provides a domestic water saving system, includes toilet tank 1, washstand 5, kitchen wash basin 6, toilet tank 1's top is equipped with high flush tank 2, be equipped with two water route angle valves 11 on communicating pipe between toilet tank 1 and the high flush tank 2, be equipped with water level switch 21 in the high flush tank 2, high flush tank 2 leads to pipe and is connected with miniature pump 31 in the header tank 3, miniature pump 31 is connected with water level switch 21 electricity, wash basin 5, kitchen wash basin 6 all communicate with header tank 3, be equipped with second water-saving valve 51 between wash basin 5 and the header tank 3, be equipped with third water-saving valve 61 between kitchen wash basin 6 and the header tank 3.
The second water saving valve 51 is installed at the center of the bottom end of the wash basin 5, and the third water saving valve 61 is installed at the center of the bottom end of the kitchen wash basin 6.
Wherein, water level switch 21 specifically can be the floater liquid level controller of control micro water pump 31 work, and when the lack of water in high flush tank 2, floater liquid level controller control micro water pump 31 opened work, to 2 moisturizing of high flush tank, and when the water level was higher, floater liquid level controller control micro water pump 31 stop work, and high flush tank 2 sets up in toilet tank 1 top, is formed with the difference in height between high flush tank 2 and the toilet tank 1, forms water pressure, can realize to 1 interior automatic water supply of toilet tank.
When the water collecting tank 3 and the high-level water tank 2 are lack of water, the normal water supply pipeline is communicated through the double-water-way angle valve 11, and water is supplied to the toilet water tank 1 through tap water.
According to one embodiment of the present invention, as shown in figure 1,
wherein, the top end of the water collecting tank 3 is provided with an overflow pipe mouth 32.
The overflow pipe 32 is connected to the sewer pipe, and when the water in the water collecting tank 3 is full, the surplus water is drained from the overflow pipe 32 into the sewer.
According to another embodiment of the present invention, as shown in figure 2,
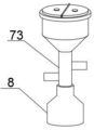
wherein, second water-saving valve 51 and third water-saving valve 61 all include flow divider 7, flow divider 7 includes funnel-shaped diffluence pass 71, diffluence pass 71 bottom is equipped with drain pipe 73, one side of drain pipe 73 is equipped with the return pipe mouth 74 with header tank 3 intercommunication, the opposite side of drain pipe 73 is equipped with blowdown pipe mouth 75, be equipped with reposition of redundant personnel baffle 72 in the flow divider 7, blowdown pipe mouth 75, return pipe mouth 74 branch house reposition of redundant personnel baffle 72 both sides, the top end port department of flow divider 71 is equipped with spacing platform 76, be equipped with the reposition of redundant personnel stopper on the flow divider 71.
The water is discharged in a shunting way through the cooperation of the shunting valve 7 and the shunting plug.
The diversion port 71 is hermetically installed at the center of the bottom surface of the wash basin 5 or the kitchen wash basin 6.
In one embodiment of the present invention, as shown in figure 3,
the shunting plug comprises a semicircular column type filtering frame 62 which is arranged on two sides of a shunting partition plate 72 in a shunting port 71 and can be detached, a limiting side wing 63 is arranged at the upper port of the filtering frame 62, the limiting side wing 63 is placed on a limiting table 76, a detachable cover plate 64 is arranged at the upper port of the filtering frame 62, and a handle 65 is arranged on the upper surface of the cover plate 64.
The reposition of redundant personnel stopper of this structure is used for kitchen sink 6 cooperation to use, and for third water saving valve 61, the dish washing washes the dishes etc. and filters through filter frame 62, and waste water that can not the reutilization can be discharged through the blowdown mouth of pipe 75 of reposition of redundant personnel baffle 72 one side, and waste water that can utilize, if the secondary is washed the dish water etc. and is discharged into header tank 3 through the backward flow mouth of pipe 74 of reposition of redundant personnel baffle 72 opposite side.
In another embodiment of the present invention, as shown in figure 4,
the shunting plug comprises a hinge 501 arranged at the top end of the shunting partition plate 72 in the shunting port 71, turning plates 502 are arranged on two sides of the hinge 501, a magnet block 503 is embedded in the turning plate 502 on one side of the hinge 501, and an iron block 504 corresponding to the magnet block 503 is embedded in the turning plate 502 on the other side of the hinge 501.
The shunting plug of the structure is used for the wash basin 5, namely the second water-saving valve 51, realizes shunting through the left and right two turnover covers, and waste water which can not be reused in the same way can be discharged through the sewage pipe opening 75 on one side of the shunting partition plate 72, and the waste water which can be utilized is discharged into the water collecting tank 3 through the backflow pipe opening 74 on the other side of the shunting partition plate 72.
In another embodiment of the present invention, as shown in figure 7,
the shunting plug for the wash basin 5 can also be two fish-shaped plates 53 which are centrosymmetric, each fish-shaped plate 53 is provided with a second hinge 531 positioned at the top end of the shunting partition plate 72, two parts of the fish-shaped plate 53, which are positioned at two sides of the second hinge 531, are respectively independent, a magnet block 503 positioned at one side of the second hinge 531 is embedded in the fish-shaped plate 53, and an iron block 504 positioned at the other side of the second hinge 531 and corresponding to the magnet block 503 is embedded in the fish-shaped plate 53.
The edge of the head end of the fish-shaped plate 53 is provided with a handle side wing 532. The bottom of fish-shaped plate 53 is in spacing platform 76, and the upper surface exceeds reposition of redundant personnel mouth 71 top, overturns through hand action in handle flank 532, makes magnet piece 503 and iron plate 504 correspond the absorption with the head end upset of fish-shaped plate 53, and two fish-shaped plates 53 realize the reposition of redundant personnel drainage.
In another embodiment of the present invention, as shown in figure 5,
wherein, the bottom of drain pipe 73 is equipped with detachable collection thing bottle 8, the port department of the one end that return pipe mouth 74, blowdown mouth of pipe 75 and drain pipe 73 are connected all is equipped with the filter screen.
Wherein, the collection bottle 8 is made of transparent material, and the upper end opening of the collection bottle 8 is connected with the bottom end of the drain pipe 73 through thread matching.
A detachable transparent collecting bottle 8 is arranged at the bottom end of a flow divider 7 used for the wash basin 5, so that valuables such as jewelry and the like are prevented from being washed away when the wash basin 5 is used, and in addition, blockage can be avoided.
In another embodiment of the present invention, as shown in figure 6,
the flow dividing plug for the wash basin 5 can also be a pressing type water plug 52 arranged at two sides of the flow dividing partition plate 72 in the flow dividing port 71, the pressing type water plug 52 adopts the existing structure, and the pressing type water plug 52 comprises a pressing sealing cover 521 and a sealing installation structure 522 which are in a semicircular shape matched with the flow dividing port 71.
In another embodiment of the present invention, as shown in figure 1,
the water collecting tank 3 is communicated with a drain pipe of the washing machine 4, and a first water-saving valve 41 is arranged between the water collecting tank 3 and the washing machine 4.
Wherein, the first water saving valve 41 is a second double waterway angle valve.
The water for the washing machine is controlled to be discharged in a split way by the second double-waterway angle valve, the washing water is discharged, and the rinsing water is discharged into the water collecting tank 3.
The working method of the invention comprises the following steps: the water which cannot be reused, such as vegetable washing water, face washing water, clothes washing water and the like, is collected through the water collection tank 3, is input into the high-level water tank 2 through the micro water pump 31 in the water collection tank 3, automatic water supplement is realized into the toilet water tank 1 through the water level difference between the high-level water tank 2 and the toilet water tank 1, wherein a floating ball liquid level controller is arranged in the high-level water tank 2 and controls automatic water pumping and water cut-off of the micro water pump 31; the overflow pipe port 32 on the water collecting tank 3 is connected with a lower drainage channel, when the water in the water collecting tank 3 and the water in the high-level water tank 2 are lack of water, the normal water supply pipeline is communicated through the double-water-path angle valve 11, and the water is supplied to the toilet water tank 1 through tap water; the washing basin 5 is used for realizing the split discharge of the return water and the waste water through the second water-saving valve 51, the kitchen washing basin 6 is used for realizing the split discharge of the return water and the waste water through the third water-saving valve 61, the water for the washing machine is used for controlling the split discharge of the water for the washing machine 4 through the second double-waterway angle valve, the washing water is discharged, and the rinsing water is discharged into the water collecting tank 3, so that the water-saving effect is effectively realized, and the secondary utilization of the household daily water is realized.
In the present invention, unless otherwise explicitly specified or limited, for example, it may be fixedly attached, detachably attached, or integrated; can be mechanically or electrically connected; the terms may be directly connected or indirectly connected through an intermediate, and may be communication between two elements or interaction relationship between two elements, unless otherwise specifically limited, and the specific meaning of the terms in the present invention will be understood by those skilled in the art according to specific situations.
While the foregoing is directed to the preferred embodiment of the present invention, it will be understood by those skilled in the art that various changes and modifications may be made without departing from the spirit and scope of the invention as defined in the appended claims.
Claims (9)
1. Domestic water saving system, including toilet tank (1), wash basin (5), kitchen sink (6), its characterized in that: the toilet bowl is characterized in that a high-level water tank (2) is arranged above the toilet bowl water tank (1), a double-waterway angle valve (11) is arranged on a communicating pipe between the toilet bowl water tank (1) and the high-level water tank (2), a water level switch (21) is arranged in the high-level water tank (2), the high-level water tank (2) is connected with a micro water pump (31) in a water collecting tank (3) through a water pipe, the micro water pump (31) is electrically connected with the water level switch (21), a wash basin (5) and a kitchen wash basin (6) are communicated with the water collecting tank (3), a second water saving valve (51) is arranged between the wash basin (5) and the water collecting tank (3), and a third water saving valve (61) is arranged between the kitchen wash basin (6) and the water collecting tank (3).
2. A domestic water saving system according to claim 1 wherein: the top end of the water collecting tank (3) is provided with an overflow pipe opening (32).
3. A domestic water saving system according to claim 1 wherein: second water-saving valve (51) and third water-saving valve (61) all include flow divider (7), flow divider (7) are including leaking hopper-shaped diffluent mouth (71), diffluent mouth (71) bottom is equipped with drain pipe (73), one side of drain pipe (73) is equipped with return pipe mouth (74) with header tank (3) intercommunication, the opposite side of drain pipe (73) is equipped with sewage pipe mouth (75), be equipped with reposition of redundant personnel baffle (72) in flow divider (7), sewage pipe mouth 75, return pipe mouth 74 branch are in the branch baffle 72 both sides, the top end port department of flow divider (71) is equipped with spacing platform (76), be equipped with the reposition of redundant personnel stopper on flow divider (71).
4. A domestic water saving system according to claim 3, wherein: the reposition of redundant personnel stopper is including setting up in reposition of redundant personnel mouth (71) the both sides of reposition of redundant personnel baffle (72) and the filtration frame (62) of the semicylindrical of dismantling out, the last port department of filtering frame (62) is equipped with spacing flank (63), place on spacing platform (76) spacing flank (63), the last port department of filtering frame (62) is equipped with detachable apron (64), the upper surface of apron (64) is equipped with handle (65).
5. A domestic water saving system according to claim 3, wherein: the reposition of redundant personnel stopper is including setting up hinge (501) on the top of reposition of redundant personnel baffle (72) in reposition of redundant personnel mouth (71), the both sides of hinge (501) all are equipped with and turn over board (502), turn over board (502) of hinge (501) one side are embedded to have magnet piece (503), turn over board (502) of hinge (501) opposite side are embedded to have iron plate (504) that correspond with magnet piece (503).
6. A domestic water saving system according to claim 5, wherein: the bottom of drain pipe (73) is equipped with detachable collection thing bottle (8), the port department of the one end that backward flow mouth of pipe (74), blowdown mouth of pipe (75) and drain pipe (73) are connected all is equipped with the filter screen.
7. A domestic water saving system according to claim 6, wherein: the collection bottle (8) is made of transparent materials, and the upper end opening of the collection bottle (8) is connected with the bottom end of the drain pipe (73) in a threaded fit mode.
8. A domestic water saving system according to any one of claims 1 to 7 wherein: the water collecting tank (3) is communicated with a drain pipe of the washing machine (4), and a first water-saving valve (41) is arranged between the water collecting tank (3) and the washing machine (4).
9. A domestic water saving system according to claim 8 wherein: the first water-saving valve (41) is a second double waterway angle valve.
Priority Applications (1)
| Application Number | Priority Date | Filing Date | Title |
|---|---|---|---|
| CN202110785939.3A CN113389250A (en) | 2021-07-12 | 2021-07-12 | Household water-saving system |
Applications Claiming Priority (1)
| Application Number | Priority Date | Filing Date | Title |
|---|---|---|---|
| CN202110785939.3A CN113389250A (en) | 2021-07-12 | 2021-07-12 | Household water-saving system |
Publications (1)
| Publication Number | Publication Date |
|---|---|
| CN113389250A true CN113389250A (en) | 2021-09-14 |
Family
ID=77625871
Family Applications (1)
| Application Number | Title | Priority Date | Filing Date |
|---|---|---|---|
| CN202110785939.3A Pending CN113389250A (en) | 2021-07-12 | 2021-07-12 | Household water-saving system |
Country Status (1)
| Country | Link |
|---|---|
| CN (1) | CN113389250A (en) |
Citations (5)
| Publication number | Priority date | Publication date | Assignee | Title |
|---|---|---|---|---|
| CN202202370U (en) * | 2011-08-30 | 2012-04-25 | 孙鸣亮 | Home life domestic sewage recycle device |
| WO2016140417A1 (en) * | 2015-03-04 | 2016-09-09 | 주식회사 에코시스 | Water saving system for public facilities |
| CN108678084A (en) * | 2018-06-11 | 2018-10-19 | 郑州梦朵蓝节能设备有限公司 | A kind of domestic water saving system |
| CN208578109U (en) * | 2018-08-01 | 2019-03-05 | 李笃和 | Basin water-saving flow divider |
| CN211285861U (en) * | 2019-11-21 | 2020-08-18 | 西安理工大学 | A kind of rural household sewage separation device |
-
2021
- 2021-07-12 CN CN202110785939.3A patent/CN113389250A/en active Pending
Patent Citations (5)
| Publication number | Priority date | Publication date | Assignee | Title |
|---|---|---|---|---|
| CN202202370U (en) * | 2011-08-30 | 2012-04-25 | 孙鸣亮 | Home life domestic sewage recycle device |
| WO2016140417A1 (en) * | 2015-03-04 | 2016-09-09 | 주식회사 에코시스 | Water saving system for public facilities |
| CN108678084A (en) * | 2018-06-11 | 2018-10-19 | 郑州梦朵蓝节能设备有限公司 | A kind of domestic water saving system |
| CN208578109U (en) * | 2018-08-01 | 2019-03-05 | 李笃和 | Basin water-saving flow divider |
| CN211285861U (en) * | 2019-11-21 | 2020-08-18 | 西安理工大学 | A kind of rural household sewage separation device |
Similar Documents
| Publication | Publication Date | Title |
|---|---|---|
| CN102787629A (en) | Novel household wastewater recycling device | |
| CN202519751U (en) | Cross-layer drainage flushing system | |
| CN106351285A (en) | Household multifunctional comprehensive water-saving device | |
| CN106400902A (en) | Comprehensive water saving device | |
| CN206328823U (en) | Water-saving device of wash basin | |
| CN204849933U (en) | Automatic modularization drainage reuse of reclaimed water device | |
| CN113389250A (en) | Household water-saving system | |
| CN202187395U (en) | Water-saving device for kitchens and toilets | |
| CN104895154A (en) | Environment-friendly household water-saving complete device | |
| CN2918551Y (en) | Water-saving device | |
| CN201512830U (en) | Multifunctional kitchen and bathroom water saving device | |
| CN204185912U (en) | Building water-saving and water recycling device | |
| CN205296315U (en) | Domestic wastewater reutilization device | |
| CN203594085U (en) | Multi-water tank water saving toilet seat | |
| CN201367624Y (en) | Household water saving hand sink | |
| CN202530523U (en) | Novel environment-friendly and water-saving intelligent control system for house wastewater reuse | |
| CN105951938A (en) | Domestic water secondary utilization energy-saving system | |
| CN205444295U (en) | External water reuse system of residential building | |
| CN202273305U (en) | Water closet | |
| CN202850137U (en) | Same floor waste water recycling water-saving system integrated with table cabinet | |
| CN2549053Y (en) | Civil water-saving device | |
| CN218371904U (en) | House reclaimed water collecting, treating and recycling system | |
| CN200939112Y (en) | Washing cabinet with sewage purifying apparatus | |
| CN201901910U (en) | Sanitary wastewater reutilization device | |
| CN203080620U (en) | Household water saving device |
Legal Events
| Date | Code | Title | Description |
|---|---|---|---|
| PB01 | Publication | ||
| PB01 | Publication | ||
| SE01 | Entry into force of request for substantive examination | ||
| SE01 | Entry into force of request for substantive examination | ||
| RJ01 | Rejection of invention patent application after publication |
Application publication date: 20210914 |
|
| RJ01 | Rejection of invention patent application after publication |