CN113374037A - Garbage processor - Google Patents

Garbage processor Download PDF

Info

Publication number
CN113374037A
CN113374037A CN202010115338.7A CN202010115338A CN113374037A CN 113374037 A CN113374037 A CN 113374037A CN 202010115338 A CN202010115338 A CN 202010115338A CN 113374037 A CN113374037 A CN 113374037A
Authority
CN
China
Prior art keywords
drainage groove
bottom wall
inner bottom
garbage disposer
grinding
Prior art date
Legal status (The legal status is an assumption and is not a legal conclusion. Google has not performed a legal analysis and makes no representation as to the accuracy of the status listed.)
Pending
Application number
CN202010115338.7A
Other languages
Chinese (zh)
Inventor
王涛
马强
Current Assignee (The listed assignees may be inaccurate. Google has not performed a legal analysis and makes no representation or warranty as to the accuracy of the list.)
Qingdao Haier Intelligent Cooking Appliances Co Ltd
Haier Smart Home Co Ltd
Original Assignee
Qingdao Haier Intelligent Cooking Appliances Co Ltd
Haier Smart Home Co Ltd
Priority date (The priority date is an assumption and is not a legal conclusion. Google has not performed a legal analysis and makes no representation as to the accuracy of the date listed.)
Filing date
Publication date
Application filed by Qingdao Haier Intelligent Cooking Appliances Co Ltd, Haier Smart Home Co Ltd filed Critical Qingdao Haier Intelligent Cooking Appliances Co Ltd
Priority to CN202010115338.7A priority Critical patent/CN113374037A/en
Publication of CN113374037A publication Critical patent/CN113374037A/en
Pending legal-status Critical Current

Links

Images

Classifications

    • EFIXED CONSTRUCTIONS
    • E03WATER SUPPLY; SEWERAGE
    • E03CDOMESTIC PLUMBING INSTALLATIONS FOR FRESH WATER OR WASTE WATER; SINKS
    • E03C1/00Domestic plumbing installations for fresh water or waste water; Sinks
    • E03C1/12Plumbing installations for waste water; Basins or fountains connected thereto; Sinks
    • E03C1/26Object-catching inserts or similar devices for waste pipes or outlets
    • E03C1/266Arrangement of disintegrating apparatus in waste pipes or outlets; Disintegrating apparatus specially adapted for installation in waste pipes or outlets
    • E03C1/2665Disintegrating apparatus specially adapted for installation in waste pipes or outlets

Landscapes

  • Engineering & Computer Science (AREA)
  • Environmental & Geological Engineering (AREA)
  • Health & Medical Sciences (AREA)
  • Life Sciences & Earth Sciences (AREA)
  • Hydrology & Water Resources (AREA)
  • Public Health (AREA)
  • Water Supply & Treatment (AREA)
  • Crushing And Pulverization Processes (AREA)
  • Sink And Installation For Waste Water (AREA)

Abstract

本发明公开了一种垃圾处理器,包括研磨腔室和设于研磨腔室下方、与研磨腔室上下相通的排水槽,所述排水槽的内部底壁高度沿圆周方向顺时针或逆时针渐低。所述排水槽内部底壁的高度沿径向方向自中间部分向外周边缘部分渐低。本发明通过将垃圾处理器排水槽的内部底壁设置为沿圆周方向顺时针或逆时针渐低,当排水槽的研磨组件旋转时,由排水槽内部底壁的高度差带来的势能转换为水流动能,以增大排水槽内的水流冲击力度,使排污压力增大,有效减少食物垃圾残渣的残留量并增大排污压力,加快食物垃圾的排出速度,防止食物垃圾残渣及污水残留在排水槽内。

Figure 202010115338

The invention discloses a garbage disposer, comprising a grinding chamber and a drainage groove which is arranged below the grinding chamber and communicates with the grinding chamber up and down. Low. The height of the inner bottom wall of the drainage groove gradually decreases from the middle portion to the outer peripheral edge portion in the radial direction. In the present invention, the inner bottom wall of the drainage groove of the garbage disposal is arranged to be gradually lowered clockwise or counterclockwise along the circumferential direction. When the grinding component of the drainage groove rotates, the potential energy brought by the height difference of the inner bottom wall of the drainage groove is converted into The water flow energy can increase the impact force of the water flow in the drainage tank, increase the sewage pressure, effectively reduce the residual amount of food waste residue and increase the sewage pressure, speed up the discharge speed of food waste, and prevent food waste residue and sewage from remaining in the in the drain.

Figure 202010115338

Description

Garbage processor
Technical Field
The invention belongs to the field of garbage treatment, and particularly relates to a garbage disposer.
Background
Along with the improvement of living standard, the food types are more and more abundant, the generated kitchen waste is gradually increased, and the garbage disposer is more and more popular as a kitchen appliance capable of disposing the kitchen waste. When the garbage disposer works, food garbage and water enter the water storage tank of the garbage disposer together, the food garbage is ground into crushed slag through mutual collision and friction of the grinding components such as the cutter head, the grinding hammer and the toothed ring, then the crushed slag and the water enter the water drainage tank together, and the crushed slag and the water are drained into a sewer pipeline through a drain outlet in the water drainage tank. Current garbage disposer water drainage tank is the bottom plane, and the junction with the drain is a segment slope structure, and food waste disintegrating slag and sewage discharge speed are slower, and the food waste residue after the processing remains in the water drainage tank easily.
The present invention has been made in view of this situation.
Disclosure of Invention
The invention aims to overcome the defects of the prior art and provide a garbage disposer.
In order to solve the technical problems, the invention adopts the technical scheme that: the utility model provides a garbage disposer, including grinding the cavity and locate grinding cavity below, with grind communicating water drainage tank from top to bottom of cavity, water drainage tank's inside diapire height is along the clockwise or anticlockwise gradually low of circumferencial direction.
Set up to clockwise or anticlockwise gradually lowly along the circumferencial direction through the inside diapire with refuse processor water drainage tank, when water drainage tank's grinding component was rotatory, the potential energy that brings by the difference in height of the inside diapire of water drainage tank was converted into rivers ability to increase the rivers impact force in the water drainage tank, make blowdown pressure increase, effectively reduce the volume of residue of food waste residue and increase blowdown pressure, accelerate food waste's discharge rate, prevent that food waste residue and sewage from remaining in water drainage tank.
Further, the height of the inner bottom wall of the drain tank is gradually lowered from the intermediate portion toward the outer peripheral edge portion in the radial direction. When the inside diapire of water drainage tank is along the clockwise or anticlockwise gradually low of circumferencial direction, gradually low along radial outside by the center, food waste is discharged along with the rivers when this structure more does benefit to the blowdown.
Furthermore, the included angle between the height of the bottom wall of the inner part of the water drainage groove and the horizontal plane along the radial direction is alpha, and alpha is more than 0 and less than or equal to 30 degrees.
Further, the height difference of the bottom wall of the inner part of the drainage groove gradually decreases along the circumferential direction is 2-25 mm.
Further, the peripheral edge of the inner bottom wall of the drainage groove is in smooth transition connection with the side wall of the drainage groove.
Through with the neighboring of the inside diapire of water drainage tank with the lateral wall of water drainage tank sets up to smooth transition connection, avoids the neighboring of the inside diapire of water drainage tank with the lateral wall junction of water drainage tank forms the dead angle, can prevent that food waste from piling up the inside diapire of water drainage tank with the junction of water drainage tank lateral wall can not discharge.
Further, garbage disposer still includes the drain, the drain sets up on the lateral wall of water drainage tank, the drain with the inside diapire intercommunication of water drainage tank, water drainage tank certainly clockwise or anticlockwise gradually hang down along the circumferencial direction in one side of drain.
Further, one side that the inside diapire of water drainage tank corresponds the drain is equipped with the breakwater, the breakwater by the diapire is along the difference in height section of highest and lowest department when the circumferencial direction gradually low change forms.
The waterwall can block the flow of rivers in the circumferencial direction, and increase rivers are to food waste's scouring force, simultaneously the waterwall sets up one side that the inside diapire of water drainage tank corresponds the drain can block food waste and guide food waste to get into the drain, conveniently discharges food waste residue.
Furthermore, the grinding chamber is provided with a grinding assembly, the grinding assembly is arranged above the water drainage groove, and the height of the bottom wall of the water drainage groove is gradually reduced along the rotation direction of the grinding assembly;
preferably, the bottom wall of the drainage groove is gradually lowered along the rotation direction of the grinding assembly by taking the center of the bottom wall as a circle center. Further, the grinding assembly includes a cutter head having a radially disposed impeller extending in a direction toward the drain channel.
Further, the impeller of the grinding assembly is formed by radially disposed ribs or water-repelling vanes.
Because the blade disc has along the impeller of radial setting, this structure not only does benefit to the drainage when, food waste's discharge, still does benefit to when grinding assembly rotary grinding, drives rivers and erodees the food waste who probably remains in the water drainage tank.
After the technical scheme is adopted, compared with the prior art, the invention has the following beneficial effects.
(1) Set up to clockwise or anticlockwise gradually lowly along the circumferencial direction through the inside diapire with refuse processor water drainage tank, when water drainage tank's grinding component was rotatory, the potential energy that brings by the difference in height of the inside diapire of water drainage tank was converted into rivers ability to increase the rivers impact force in the water drainage tank, make blowdown pressure increase, effectively reduce the volume of residue of food waste residue and increase blowdown pressure, accelerate food waste's discharge rate, prevent that food waste residue and sewage from remaining in water drainage tank.
(2) Through with the neighboring of the inside diapire of water drainage tank with the lateral wall of water drainage tank sets up to smooth transition connection, avoids the neighboring of the inside diapire of water drainage tank with the lateral wall junction of water drainage tank forms the dead angle, can prevent that food waste from piling up the inside diapire of water drainage tank with the junction of water drainage tank lateral wall can not discharge.
(3) The waterwall can block the flow of rivers in the circumferencial direction, and increase rivers are to food waste's scouring force, simultaneously the waterwall sets up one side that the inside diapire of water drainage tank corresponds the drain can block food waste and guide food waste to get into the drain, conveniently discharges food waste residue.
The following describes embodiments of the present invention in further detail with reference to the accompanying drawings.
Drawings
The accompanying drawings, which are included to provide a further understanding of the invention, are incorporated in and constitute a part of this specification, illustrate embodiments of the invention and together with the description serve to explain the invention without limiting the invention to the right. It is obvious that the drawings in the following description are only some embodiments, and that for a person skilled in the art, other drawings can be derived from them without inventive effort. In the drawings:
FIG. 1 is a schematic view of a garbage disposer embodying the present invention;
figure 2 is a schematic view of the waste disposer drain trough of the present invention.
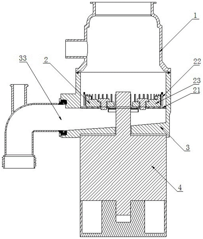
In the figure: 1. a water storage tank; 2. grinding assembly, 21, cutter head, 22, toothed ring, 23 and grinding hammer; 3. a drainage groove 31, an inner bottom wall 311, a water retaining wall 312, a mounting hole 32, a drainage groove side wall 33 and a sewage outlet; 4. an electric motor.
It should be noted that the drawings and the description are not intended to limit the scope of the inventive concept in any way, but to illustrate it by a person skilled in the art with reference to specific embodiments.
Detailed Description
In order to make the objects, technical solutions and advantages of the embodiments of the present invention clearer, the technical solutions in the embodiments will be clearly and completely described below with reference to the drawings in the embodiments of the present invention, and the following embodiments are used for illustrating the present invention and are not intended to limit the scope of the present invention.
In the description of the present invention, it should be noted that the terms "upper", "lower", "front", "rear", "left", "right", "vertical", "inner", "outer", etc., indicate orientations or positional relationships based on the orientations or positional relationships shown in the drawings, and are only for convenience of description and simplicity of description, but do not indicate or imply that the device or element being referred to must have a particular orientation, be constructed and operated in a particular orientation, and thus, should not be construed as limiting the present invention.
In the description of the present invention, it should be noted that, unless otherwise explicitly specified or limited, the terms "mounted," "connected," and "connected" are to be construed broadly, e.g., as meaning either a fixed connection, a removable connection, or an integral connection; can be mechanically or electrically connected; may be directly connected or indirectly connected through an intermediate. The specific meanings of the above terms in the present invention can be understood in specific cases to those skilled in the art.
As shown in fig. 1 to 2, the garbage disposer of the present invention includes a grinding chamber and a water discharge tank 3 disposed below the grinding chamber and vertically communicated with the grinding chamber, wherein the height of an inner bottom wall 31 of the water discharge tank 3 is gradually lowered clockwise or counterclockwise along a circumferential direction. The inner bottom wall 31 of the drain tank 3 is of a conical structure with a high center and a low periphery. The direction in which the inner bottom wall 31 of the drainage channel tapers is related to the direction in which the grinding assembly rotates, and preferably, the direction in which the inner bottom wall 31 of the drainage channel tapers is the same as the direction in which the grinding assembly rotates.
When the garbage disposer works, food garbage and water enter a water storage tank 1 of the garbage disposer together, a grinding component 2 is arranged in the water storage tank 1 and comprises a cutter head 31, a toothed ring 32 and a grinding hammer 33, the motor 4 drives the cutter head 31 to rotate, so that the food garbage and the cutter 31, the grinding hammer 33 and the toothed ring 32 collide and rub with each other, the food garbage is ground into broken garbage and slag, then the broken garbage and the water enter a water drainage tank 3 together, and the broken garbage and the water enter a sewer pipe through a sewage outlet 33 of the water drainage tank 3.
Current garbage disposer water drainage tank is the bottom plane, and sewage discharge outlet department has the structure on one section little slope, and this kind of structure relies on the gravity of water and the centrifugal force of carousel completely when garbage disposer drainage to discharge water and food waste, does not have the effect of extra pressurization power, can cause food waste to remain in garbage disposer and the garbage waste discharge speed scheduling problem slowly.
According to the invention, the inner bottom wall 31 of the drainage groove 3 of the garbage disposer is set to be gradually lowered clockwise or anticlockwise along the circumferential direction, when the grinding component of the drainage groove rotates, potential energy caused by the height difference of the inner bottom wall 31 of the drainage groove is converted into water flow energy, so that the impact force of water flow in the drainage groove 3 is increased, the sewage discharge pressure is increased, the residual quantity of food garbage residues is effectively reduced, the sewage discharge pressure is increased, the discharge speed of food garbage is accelerated, and the food garbage residues and sewage are prevented from remaining in the drainage groove.
Further, the height of the drain tank inner bottom wall 31 is gradually lowered from the intermediate portion toward the outer peripheral edge portion in the radial direction. The structure is more advantageous for discharging food waste with water flow when discharging dirt, while the inside bottom wall 31 of the drainage channel is gradually lowered clockwise or counterclockwise along the circumferential direction and is gradually lowered from the center to the outside along the radial direction.
The height of the bottom wall 31 in the drainage groove along the radial direction forms an included angle alpha with the horizontal plane, and alpha is more than 0 and less than or equal to 30 degrees.
The height difference of the inner bottom wall 31 of the drainage channel gradually decreases along the circumferential direction is 2-25 mm. The inclined area of the inner bottom wall 31 of the drainage channel is an annular area, and the radial width L, namely the difference between the outer radius and the inner radius of the annular area, and the radius R of the inner bottom wall 31 of the drainage channel satisfy the following relation: r/5 is more than L and less than R.
As shown in fig. 2, the peripheral edge of the inner bottom wall 31 of the gutter is in circular arc transition connection with the side wall 32 of the gutter. Through with the peripheral edge of the inside diapire 31 of water drainage tank with the lateral wall 32 of water drainage tank sets up to smooth transition connection, can be circular arc connection or slash transitional coupling, can avoid the peripheral edge of the inside diapire 31 of water drainage tank with the lateral wall junction of water drainage tank forms the dead angle, prevents that food waste from piling up the inside diapire 31 of water drainage tank with the junction of water drainage tank lateral wall 32 prevents that food waste from piling up and can not discharge in the water drainage tank.
Further, garbage disposer still includes drain 33, drain 33 sets up on water drainage tank's lateral wall 32, drain 33 with the inside diapire 31 intercommunication of water drainage tank, water drainage tank 3 certainly clockwise or anticlockwise gradually low extremely in one side of drain 33 along the circumferencial direction the opposite side of drain, then by the opposite side of drain 33 continues to gradually low extremely along the circumferencial direction drain one side, the highest point of the inside diapire of water drainage tank promptly. Or the area between the sewage draining exit and the center of the water draining groove is a slope structure which is inclined downwards from the center of the water draining groove to the sewage draining exit 33, and the slope structure is connected with the highest part and the lowest part of the bottom of the water draining groove in the circumferential direction in a smooth transition mode.
One side of the inside diapire 31 of water drainage tank corresponding to the drain outlet 33 is provided with a water retaining wall 311, the water retaining wall 311 is formed by the height difference section of the highest and lowest position when the inside diapire 31 is gradually lowered and changed along the circumferential direction. The waterwall 311 can block the flow of water flow in the circumferential direction, the scouring force of water flow to food residues is increased, and meanwhile, the waterwall 311 is arranged on the bottom wall 31 in the drainage channel corresponding to one side of the drain outlet 33, so that the food residues can be blocked and guided to enter the drain outlet, and the food waste residues are discharged. The water retaining wall 311 smoothly transitions with the inner bottom wall 31 of the drain tank, so that food residue can be prevented from remaining and accumulating near the drain outlet 33.
Further, the grinding chamber is provided with a grinding assembly 2, the grinding assembly 2 is arranged above the water drainage groove 3, and the height of the inner bottom wall 31 of the water drainage groove is gradually reduced along the rotating direction of the grinding assembly 2. Preferably, the water-retaining wall 311 is disposed on the side of the inner bottom wall 31 of the drainage channel corresponding to the sewage outlet 33, which gradually decreases from the rotating direction of the grinding assembly 2, that is, the water-retaining wall 311 is formed by the height difference section of the highest and lowest positions when the inner bottom wall 31 gradually decreases and changes along the rotating direction of the grinding assembly 2.
Generally, the direction of rotation of the grinding assembly 2 of the existing garbage disposer is clockwise, so the height of the bottom wall 31 inside the drainage channel is gradually lowered clockwise, the sewage outlet 33 is connected with the lowest part of the bottom wall 31 inside the drainage channel, and one side of the sewage outlet 33 is adjacent to the highest part of the bottom wall 31 inside the drainage channel which is gradually lowered clockwise.
According to the invention, the height of the inner bottom wall 31 of the drainage groove 3 of the garbage disposer is gradually reduced along the circumferential direction clockwise or anticlockwise, when the grinding component 2 rotates, the inner bottom wall 31 of the drainage groove is matched with the grinding component 2, so that the water flow pressure in the drainage groove 3 is increased, the drainage pressure at a sewage discharge port is increased, the residual quantity of food garbage residues is effectively reduced, the drainage pressure at the sewage discharge port is increased, and the discharge speed of food garbage is accelerated.
Preferably, the drain tank bottom wall 31 is circular ring, and the drain tank inner bottom wall 31 is gradually lowered along the rotating direction of the grinding assembly 2 by taking the bottom wall center as the circle center. Drainage tank 3 is the tubbiness structure, the centre of the inside diapire 31 of drainage tank is equipped with mounting hole 312, motor 4 sets up drainage tank 3's below, the drive shaft of motor 4 passes drainage tank 3's mounting hole 312, with grinding component 2 coupling, for grinding component 2 provides power, drives grinding component 2 is rotatory to be ground food waste.
The grinding unit 2 comprises a cutter disc 21, which cutter disc 21 is provided with radially arranged impellers (not shown in the figure) extending in the direction of the water discharge channel 3. Since the cutter head 21 has the impeller arranged along the radial direction, the structure is favorable for discharging food residues during water discharging, and the impeller drives water flow to wash away the food residues possibly remained in the water discharging groove 3 when the grinding assembly 2 rotates for grinding.
After food waste enters the water storage tank 1, the food waste is ground by the grinding assembly 2 to become residues, and the residues enter the water drainage tank through the leak holes in the cutter head of the grinding assembly, the water level becomes low after water drainage, and the food residues can be clamped in the gap between the cutter head and the water drainage tank and can fall off in the water drainage tank due to the rotation of the cutter head.
Further, the impeller of the grinding assembly 3 is formed by radially arranged ribs or water-repelling vanes. Or may be formed by other structures forming radial projections.
In a more preferred embodiment, a recessed annular water channel (not shown) is formed at an outer peripheral edge of the inner bottom wall 31 of the drain tank adjacent to the side wall 32 of the drain tank along a circumferential direction, and the drain outlet 33 is formed in the side wall 32 of the drain tank and is communicated with the annular water channel.
Furthermore, the depth of the annular water channel gradually decreases clockwise or anticlockwise along the circumferential direction, the gradually decreasing direction is consistent with the rotating direction of the grinding assembly, the water outlet 6 is arranged on the side wall of the water drainage groove and is connected with the lowest position of the annular water channel 12, and one side of the water drainage groove is adjacent to the shallowest position of the annular water channel; and/or the width of the annular water channel is gradually widened clockwise or anticlockwise along the circumferential direction, the changing direction is consistent with the rotating direction of the grinding assembly, the sewage discharge port 33 is arranged at the widest position of the annular water channel, and one side of the sewage discharge port is adjacent to the narrowest position of the annular water channel.
The annular water channel can be formed by matching the central direction of the bottom wall 31 inside the drainage groove with the side wall 32 of the drainage groove, and the annular water channel is inclined downwards from the central direction of the bottom wall to the side wall 32 of the drainage groove.
The above embodiments are only preferred embodiments of the present invention, and not intended to limit the present invention in any way, and although the present invention has been disclosed by the preferred embodiments, it is not intended to limit the present invention, and those skilled in the art can make various changes and modifications to the equivalent embodiments by using the technical contents disclosed above without departing from the technical scope of the present invention, and the embodiments in the above embodiments can be further combined or replaced, but any simple modification, equivalent change and modification made to the above embodiments according to the technical spirit of the present invention still fall within the technical scope of the present invention.

Claims (10)

1.一种垃圾处理器,包括研磨腔室和设于研磨腔室下方、与研磨腔室上下相通的排水槽,其特征在于:所述排水槽的内部底壁高度沿圆周方向顺时针或逆时针渐低。1. A garbage disposer, comprising a grinding chamber and a drainage groove that is arranged below the grinding chamber and communicates up and down with the grinding chamber, characterized in that: the height of the inner bottom wall of the drainage groove is clockwise or counterclockwise in the circumferential direction. The hour hand goes down. 2.根据权利要求1所述的一种垃圾处理器,其特征在于:所述排水槽内部底壁的高度沿径向方向自中间部分向外周边缘部分渐低。2 . The garbage disposer according to claim 1 , wherein the height of the inner bottom wall of the drainage groove gradually decreases from the middle portion to the outer peripheral edge portion along the radial direction. 3 . 3.根据权利要求2所述的一种垃圾处理器,其特征在于:所述排水槽内部底壁的高度沿径向方向与水平面的夹角为α,0<α≤30°。3 . The garbage disposer according to claim 2 , wherein the included angle between the height of the inner bottom wall of the drainage groove and the horizontal plane along the radial direction is α, 0<α≤30°. 4 . 4.根据权利要求3所述的一种垃圾处理器,其特征在于:所述排水槽内部底壁沿圆周方向渐低的高度差为2-25mm。4 . The garbage disposer according to claim 3 , wherein the height difference of the inner bottom wall of the drainage groove gradually decreasing along the circumferential direction is 2-25 mm. 5 . 5.根据权利要求1-4任一所述的一种垃圾处理器,其特征在于:所述排水槽内部底壁的外周边缘与所述排水槽的侧壁平滑过渡连接。5. The garbage disposer according to any one of claims 1-4, wherein the outer peripheral edge of the inner bottom wall of the drainage groove is smoothly connected with the side wall of the drainage groove. 6.根据权利要求1-5任一所述的一种垃圾处理器,其特征在于:所述垃圾处理器还包括排污口,所述排污口设置在所述排水槽的侧壁上,所述排污口与所述排水槽内部底壁连通,所述排水槽自所述排污口的一侧沿圆周方向顺时针或逆时针渐低。6. The garbage disposer according to any one of claims 1-5, characterized in that: the garbage disposer further comprises a sewage outlet, and the sewage outlet is arranged on the side wall of the drainage groove, and the The sewage outlet is communicated with the inner bottom wall of the drainage groove, and the drainage groove gradually decreases clockwise or counterclockwise from one side of the sewage outlet along the circumferential direction. 7.根据权利要求6所述的一种垃圾处理器,其特征在于:所述排水槽内部底壁对应排污口的一侧设有挡水墙,所述挡水墙由所述底壁沿圆周方向渐低变化时最高和最低处的高度差断面形成。7 . The garbage disposer according to claim 6 , wherein a side of the inner bottom wall of the drainage groove corresponding to the sewage outlet is provided with a water retaining wall, and the water retaining wall is formed by the bottom wall along the circumference. 8 . The height difference section between the highest and lowest points is formed when the direction is gradually lowered. 8.根据权利要求1-7任一所述的一种垃圾处理器,其特征在于:所述研磨腔室设有研磨组件,所述研磨组件设于所述排水槽的上方,所述排水槽的内部底壁高度沿所述研磨组件旋转的方向渐低;8. The garbage disposer according to any one of claims 1-7, wherein the grinding chamber is provided with a grinding component, and the grinding component is arranged above the drainage groove, and the drainage groove The height of the inner bottom wall gradually decreases along the rotation direction of the grinding assembly; 优选的,所述排水槽内部底壁以底壁中心为圆心,沿所述研磨组件的转动方向渐低。Preferably, the inner bottom wall of the drainage groove takes the center of the bottom wall as the center of the circle, and gradually lowers along the rotation direction of the grinding assembly. 9.根据权利要求8所述的一种垃圾处理器,其特征在于:所述研磨组件包括刀盘,所述刀盘具有向所述排水槽方向延伸的、沿径向设置的叶轮。9 . The garbage disposer according to claim 8 , wherein the grinding assembly comprises a cutter head, and the cutter head has an impeller arranged radially extending toward the drainage groove. 10 . 10.根据权利要求9所述的一种垃圾处理器,其特征在于:所述研磨组件的叶轮由径向设置的凸筋或拨水叶形成。10 . The garbage disposer according to claim 9 , wherein the impeller of the grinding assembly is formed by radially arranged ribs or water-repelling leaves. 11 .
CN202010115338.7A 2020-02-25 2020-02-25 Garbage processor Pending CN113374037A (en)

Priority Applications (1)

Application Number Priority Date Filing Date Title
CN202010115338.7A CN113374037A (en) 2020-02-25 2020-02-25 Garbage processor

Applications Claiming Priority (1)

Application Number Priority Date Filing Date Title
CN202010115338.7A CN113374037A (en) 2020-02-25 2020-02-25 Garbage processor

Publications (1)

Publication Number Publication Date
CN113374037A true CN113374037A (en) 2021-09-10

Family

ID=77568454

Family Applications (1)

Application Number Title Priority Date Filing Date
CN202010115338.7A Pending CN113374037A (en) 2020-02-25 2020-02-25 Garbage processor

Country Status (1)

Country Link
CN (1) CN113374037A (en)

Cited By (2)

* Cited by examiner, † Cited by third party
Publication number Priority date Publication date Assignee Title
CN116770945A (en) * 2023-05-16 2023-09-19 厦门大卫科技有限公司 Garbage disposer
CN117516991A (en) * 2023-11-16 2024-02-06 广东鑫港湾供应链管理有限公司 Supply chain delivery unit detection terminal

Citations (7)

* Cited by examiner, † Cited by third party
Publication number Priority date Publication date Assignee Title
JP2000084430A (en) * 1998-09-09 2000-03-28 Matsushita Electric Ind Co Ltd Crushing processing equipment
CN202627112U (en) * 2012-06-20 2012-12-26 郑福联 Cleaning-free food garbage processor
CN203939099U (en) * 2011-01-28 2014-11-12 艾默生电气公司 Promote the mobile food waste processor of slurries
CN205742422U (en) * 2016-06-30 2016-11-30 杭州丽宣环保科技有限公司 A kind of food refuse disposer with scroll casing type pollution discharge structure
CN108187845A (en) * 2017-12-29 2018-06-22 天佑电器(苏州)有限公司 Food refuse disposer
CN208293693U (en) * 2018-05-21 2018-12-28 佛山市顺德区美的洗涤电器制造有限公司 The grinding shell and food refuse disposer of food refuse disposer
CN208293692U (en) * 2018-05-21 2018-12-28 佛山市顺德区美的洗涤电器制造有限公司 The grinding shell and food refuse disposer of food refuse disposer

Patent Citations (7)

* Cited by examiner, † Cited by third party
Publication number Priority date Publication date Assignee Title
JP2000084430A (en) * 1998-09-09 2000-03-28 Matsushita Electric Ind Co Ltd Crushing processing equipment
CN203939099U (en) * 2011-01-28 2014-11-12 艾默生电气公司 Promote the mobile food waste processor of slurries
CN202627112U (en) * 2012-06-20 2012-12-26 郑福联 Cleaning-free food garbage processor
CN205742422U (en) * 2016-06-30 2016-11-30 杭州丽宣环保科技有限公司 A kind of food refuse disposer with scroll casing type pollution discharge structure
CN108187845A (en) * 2017-12-29 2018-06-22 天佑电器(苏州)有限公司 Food refuse disposer
CN208293693U (en) * 2018-05-21 2018-12-28 佛山市顺德区美的洗涤电器制造有限公司 The grinding shell and food refuse disposer of food refuse disposer
CN208293692U (en) * 2018-05-21 2018-12-28 佛山市顺德区美的洗涤电器制造有限公司 The grinding shell and food refuse disposer of food refuse disposer

Cited By (3)

* Cited by examiner, † Cited by third party
Publication number Priority date Publication date Assignee Title
CN116770945A (en) * 2023-05-16 2023-09-19 厦门大卫科技有限公司 Garbage disposer
CN117516991A (en) * 2023-11-16 2024-02-06 广东鑫港湾供应链管理有限公司 Supply chain delivery unit detection terminal
CN117516991B (en) * 2023-11-16 2024-05-28 广东鑫港湾供应链管理有限公司 Supply chain delivery unit detection terminal

Similar Documents

Publication Publication Date Title
CN106592714B (en) Self-cleaning water-saving block-resistant sink
KR20110029860A (en) Disposer with multi-fixed grinding blades
CN104814705A (en) Disintegrating slag self-cleaning and filtering system for dish washing machine and dish washing machine
CN113374037A (en) Garbage processor
CN110387661B (en) Impeller and washing machine
KR20110034957A (en) Food waste shredder for sink
CN113250280A (en) Food waste disposer and integrated kitchen appliance
CN207582606U (en) A kind of use in dishwasher garbage disposer
CN210658564U (en) Garbage disposer with multistage grinding
CN207949757U (en) A kind of dish-washing machine with anti-clogging water trap free of cleaning
CN209873980U (en) Garbage disposer for kitchen
CN212576459U (en) Household garbage disposer
CN214143958U (en) Food waste disposer&#39;s multistage chopping grinder
CN112878446A (en) Garbage disposer with multistage grinding
CN208958048U (en) A special food waste disposal device for dishwashers
CN212261197U (en) Easy-to-clean food processing machine
CN218562492U (en) Kitchen garbage processor
CN207575119U (en) A kind of anticlogging water trap of use in dishwasher
CN216446112U (en) Splash guard
CN109440883B (en) Water-cooled energy-saving food waste disposer
CN108283475B (en) Method and device for improving deslagging and deslagging efficiency of dish washing machine
CN221144778U (en) A drainage pump capable of discharging sediment particles
CN218933331U (en) Grinding assembly and kitchen waste processor
CN218283154U (en) Anti-blocking kitchen waste disposer
CN113006216B (en) Splash guard

Legal Events

Date Code Title Description
PB01 Publication
PB01 Publication
SE01 Entry into force of request for substantive examination
SE01 Entry into force of request for substantive examination