CN113350002A - Spinal medical device - Google Patents

Spinal medical device Download PDF

Info

Publication number
CN113350002A
CN113350002A CN202110806259.5A CN202110806259A CN113350002A CN 113350002 A CN113350002 A CN 113350002A CN 202110806259 A CN202110806259 A CN 202110806259A CN 113350002 A CN113350002 A CN 113350002A
Authority
CN
China
Prior art keywords
massage
fixedly installed
sitting posture
frame
rod
Prior art date
Legal status (The legal status is an assumption and is not a legal conclusion. Google has not performed a legal analysis and makes no representation as to the accuracy of the status listed.)
Granted
Application number
CN202110806259.5A
Other languages
Chinese (zh)
Other versions
CN113350002B (en
Inventor
王益民
李启伟
李�瑞
虞文武
Current Assignee (The listed assignees may be inaccurate. Google has not performed a legal analysis and makes no representation or warranty as to the accuracy of the list.)
Changzhou Vocational Institute of Mechatronic Technology
First Peoples Hospital of Changzhou
Original Assignee
Changzhou Vocational Institute of Mechatronic Technology
First Peoples Hospital of Changzhou
Priority date (The priority date is an assumption and is not a legal conclusion. Google has not performed a legal analysis and makes no representation as to the accuracy of the date listed.)
Filing date
Publication date
Application filed by Changzhou Vocational Institute of Mechatronic Technology, First Peoples Hospital of Changzhou filed Critical Changzhou Vocational Institute of Mechatronic Technology
Priority to CN202110806259.5A priority Critical patent/CN113350002B/en
Publication of CN113350002A publication Critical patent/CN113350002A/en
Application granted granted Critical
Publication of CN113350002B publication Critical patent/CN113350002B/en
Active legal-status Critical Current
Anticipated expiration legal-status Critical

Links

Images

Classifications

    • AHUMAN NECESSITIES
    • A61MEDICAL OR VETERINARY SCIENCE; HYGIENE
    • A61FFILTERS IMPLANTABLE INTO BLOOD VESSELS; PROSTHESES; DEVICES PROVIDING PATENCY TO, OR PREVENTING COLLAPSING OF, TUBULAR STRUCTURES OF THE BODY, e.g. STENTS; ORTHOPAEDIC, NURSING OR CONTRACEPTIVE DEVICES; FOMENTATION; TREATMENT OR PROTECTION OF EYES OR EARS; BANDAGES, DRESSINGS OR ABSORBENT PADS; FIRST-AID KITS
    • A61F5/00Orthopaedic methods or devices for non-surgical treatment of bones or joints; Nursing devices ; Anti-rape devices
    • A61F5/01Orthopaedic devices, e.g. long-term immobilising or pressure directing devices for treating broken or deformed bones such as splints, casts or braces
    • A61F5/0102Orthopaedic devices, e.g. long-term immobilising or pressure directing devices for treating broken or deformed bones such as splints, casts or braces specially adapted for correcting deformities of the limbs or for supporting them; Ortheses, e.g. with articulations
    • A61F5/0104Orthopaedic devices, e.g. long-term immobilising or pressure directing devices for treating broken or deformed bones such as splints, casts or braces specially adapted for correcting deformities of the limbs or for supporting them; Ortheses, e.g. with articulations without articulation
    • AHUMAN NECESSITIES
    • A61MEDICAL OR VETERINARY SCIENCE; HYGIENE
    • A61HPHYSICAL THERAPY APPARATUS, e.g. DEVICES FOR LOCATING OR STIMULATING REFLEX POINTS IN THE BODY; ARTIFICIAL RESPIRATION; MASSAGE; BATHING DEVICES FOR SPECIAL THERAPEUTIC OR HYGIENIC PURPOSES OR SPECIFIC PARTS OF THE BODY
    • A61H23/00Percussion or vibration massage, e.g. using supersonic vibration; Suction-vibration massage; Massage with moving diaphragms
    • A61H23/006Percussion or tapping massage
    • AHUMAN NECESSITIES
    • A61MEDICAL OR VETERINARY SCIENCE; HYGIENE
    • A61HPHYSICAL THERAPY APPARATUS, e.g. DEVICES FOR LOCATING OR STIMULATING REFLEX POINTS IN THE BODY; ARTIFICIAL RESPIRATION; MASSAGE; BATHING DEVICES FOR SPECIAL THERAPEUTIC OR HYGIENIC PURPOSES OR SPECIFIC PARTS OF THE BODY
    • A61H23/00Percussion or vibration massage, e.g. using supersonic vibration; Suction-vibration massage; Massage with moving diaphragms
    • A61H23/02Percussion or vibration massage, e.g. using supersonic vibration; Suction-vibration massage; Massage with moving diaphragms with electric or magnetic drive
    • AHUMAN NECESSITIES
    • A61MEDICAL OR VETERINARY SCIENCE; HYGIENE
    • A61HPHYSICAL THERAPY APPARATUS, e.g. DEVICES FOR LOCATING OR STIMULATING REFLEX POINTS IN THE BODY; ARTIFICIAL RESPIRATION; MASSAGE; BATHING DEVICES FOR SPECIAL THERAPEUTIC OR HYGIENIC PURPOSES OR SPECIFIC PARTS OF THE BODY
    • A61H2201/00Characteristics of apparatus not provided for in the preceding codes
    • A61H2201/01Constructive details
    • A61H2201/0119Support for the device
    • A61H2201/0138Support for the device incorporated in furniture
    • A61H2201/0149Seat or chair
    • AHUMAN NECESSITIES
    • A61MEDICAL OR VETERINARY SCIENCE; HYGIENE
    • A61HPHYSICAL THERAPY APPARATUS, e.g. DEVICES FOR LOCATING OR STIMULATING REFLEX POINTS IN THE BODY; ARTIFICIAL RESPIRATION; MASSAGE; BATHING DEVICES FOR SPECIAL THERAPEUTIC OR HYGIENIC PURPOSES OR SPECIFIC PARTS OF THE BODY
    • A61H2201/00Characteristics of apparatus not provided for in the preceding codes
    • A61H2201/12Driving means
    • A61H2201/1207Driving means with electric or magnetic drive
    • AHUMAN NECESSITIES
    • A61MEDICAL OR VETERINARY SCIENCE; HYGIENE
    • A61HPHYSICAL THERAPY APPARATUS, e.g. DEVICES FOR LOCATING OR STIMULATING REFLEX POINTS IN THE BODY; ARTIFICIAL RESPIRATION; MASSAGE; BATHING DEVICES FOR SPECIAL THERAPEUTIC OR HYGIENIC PURPOSES OR SPECIFIC PARTS OF THE BODY
    • A61H2205/00Devices for specific parts of the body
    • A61H2205/08Trunk
    • A61H2205/081Back

Landscapes

  • Health & Medical Sciences (AREA)
  • Animal Behavior & Ethology (AREA)
  • Veterinary Medicine (AREA)
  • Public Health (AREA)
  • General Health & Medical Sciences (AREA)
  • Life Sciences & Earth Sciences (AREA)
  • Rehabilitation Therapy (AREA)
  • Physical Education & Sports Medicine (AREA)
  • Pain & Pain Management (AREA)
  • Epidemiology (AREA)
  • Nursing (AREA)
  • Orthopedic Medicine & Surgery (AREA)
  • Engineering & Computer Science (AREA)
  • Biomedical Technology (AREA)
  • Heart & Thoracic Surgery (AREA)
  • Vascular Medicine (AREA)
  • Massaging Devices (AREA)

Abstract

本发明公开了一种脊柱医疗装置,涉及到脊柱矫正技术领域,包括支撑腿、矫正坐姿机构、背靠舒适调整机构和辅助按摩机构,多个所述支撑腿的顶部均固定连接有座椅板,所述座椅板的一端表面固定连接有靠背框。本发明通过矫正坐姿机构完成人座在座椅板上,进行调整坐姿的效果,通过背靠舒适调整机构完成坐姿调整后控制气囊的表面挤压背部,防止背部没有着力点而产生酸痛的效果,通过辅助按摩机构完成背部坐姿调整后,背部进行按摩,增强背部的舒适的,防止一段时间调整坐姿背部不舒适,增强坐姿调整的效果,以及通过控制矫正的时间,防止忘记矫正的时间一直矫正,造成伤害的效果。

Figure 202110806259

The invention discloses a spinal medical device, which relates to the technical field of spinal correction, and includes a support leg, a sitting posture correction mechanism, a backrest comfort adjustment mechanism and an auxiliary massage mechanism. and a backrest frame is fixedly connected to one end surface of the seat board. The present invention completes the effect of sitting on the seat board and adjusts the sitting posture through the correcting sitting posture mechanism, and controls the surface of the airbag to squeeze the back after the sitting posture adjustment is completed by the backrest comfort adjusting mechanism, so as to prevent the back from having the effect of soreness due to lack of focus. After the adjustment of the sitting posture of the back is completed by the auxiliary massage mechanism, the back is massaged to enhance the comfort of the back, prevent the discomfort of the back from adjusting the sitting posture for a period of time, and enhance the effect of the adjustment of the sitting posture. The effect of inflicting damage.

Figure 202110806259

Description

Spinal medical device
Technical Field
The invention relates to the technical field of spinal correction, in particular to a spinal medical device.
Background
The spine is the pillar of the body, is located in the middle of the back, with the upper end connected to the skull and the lower end reaching the tip of the coccyx. The spine is divided into five sections of neck, chest, waist, sacrum and tail, the upper part is long and can move, and the spine is similar to a bracket and is hung on the chest wall and the abdominal wall; the lower part is short and is fixed. The weight of the body and the shocks received thereby are transmitted to the lower limbs. The spine is composed of vertebrae and intervertebral discs, and is a relatively flexible and mobile structure. The shape of the spine can vary considerably with the kinematic loading of the body. The movement of the spine depends on the integrity of the intervertebral discs and the harmony between the articular processes of the relevant vertebrae. The length of the spine, 3/4, is made up of vertebral bodies and 1/4 is made up of intervertebral discs.
In orthopedic medical treatment, the problem of kyphosis is critical, most of kyphosis are caused by long-term bad postures, so the kyphosis is also called postural kyphosis, the posture can be improved as long as the postural kyphosis is noticed by oneself, the postural kyphosis can be corrected before the age of 35, the younger the postural kyphosis is, the easier the correction is, and the better the effect is. At present, no seat combination exists, the posture can be adjusted during the use process, the posture correction for a long time is not reasonable, and the correction time should be controlled.
Therefore, it is desirable to develop a spinal medical device to solve the above problems.
Disclosure of Invention
The present invention is directed to a spinal medical device that solves the problems set forth above in the background.
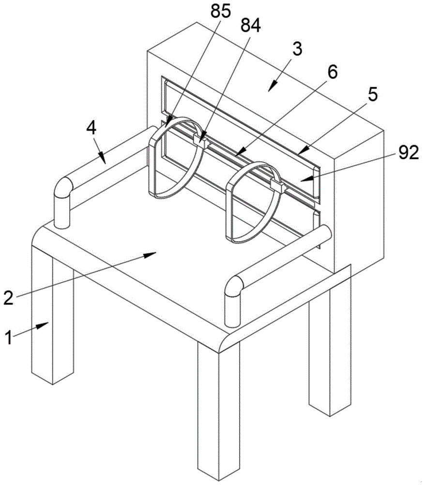
In order to achieve the purpose, the invention provides the following technical scheme: a spine medical device comprises supporting legs, a sitting posture correcting mechanism, a backrest comfort adjusting mechanism and an auxiliary massage mechanism, wherein the tops of the supporting legs are fixedly connected with a seat plate, one end surface of the seat plate is fixedly connected with a backrest frame, one side surface of the backrest frame and one side of the top of the seat plate are fixedly connected with a protective rod, the sitting posture correcting mechanism is located inside the backrest frame, and the sitting posture correcting mechanism is used for adjusting a sitting posture spine;
the back rest comfort adjusting mechanism is respectively positioned above and below the sitting posture correcting mechanism, the back rest comfort adjusting mechanism adjusts the stress of the back, the auxiliary massage mechanism is positioned inside the back rest comfort adjusting mechanism, the auxiliary massage mechanism adjusts the back part for massage in a sitting posture mode, an auxiliary massage groove and a sitting posture adjusting groove are respectively formed in the surface of one side of the back rest frame, and a timing module is fixedly installed on the inner bottom wall of the back rest frame;
furthermore, a timing module is arranged to control the correction time, and the effect of preventing long-time correction forgetting time and causing injury is reminded to control.
Preferably, the sitting posture correcting mechanism is composed of a first driving motor, a rotating rod fixedly installed on an output shaft of the first driving motor through a coupler, a left moving seat and a right moving seat respectively connected with arc surfaces at two ends of the rotating rod through threads, a sliding block fixedly installed on the surface of one side of the left moving seat and the surface of one side of the right moving seat, and a bandage fixedly installed on the surface of the sliding block, wherein the timing module is electrically connected with the first driving motor;
furthermore, through the sitting posture correcting mechanism, a person sits on the seat board, the shoulders on the two sides are sleeved with bandages, when the first driving motor works, the two sliding blocks are driven to move inwards, the bandages are driven to be tightened, and therefore the shoulders are controlled to move backwards, and the sitting posture of the person is adjusted.
Preferably, the mounting surface of the first driving motor is fixedly mounted on the inner wall of one side of the backrest frame, the arc surfaces of the two ends of the rotating rod are respectively provided with a left-handed thread and a right-handed thread, and the surface of the sliding block is in sliding insertion connection with the inner wall of the sitting posture adjusting groove;
further, set up left-handed screw and right-handed screw and reached the dwang and rotated, control left side and remove the seat and remove the effect that the seat inwards moved or reverse motion simultaneously with the right side.
Preferably, the inner wall of the backrest frame is fixedly connected with a bearing seat, and a bearing inner ring of the bearing seat is fixedly connected with the arc surface of the rotating rod.
Preferably, the backrest comfort adjusting mechanism consists of an air pump, an air pipe fixedly arranged at the air outlet end of the air pump and an air bag fixedly arranged at one end of the air pipe;
furthermore, the air pump is used for inflating the air bag, so that after the sitting posture of the seat of a person is adjusted on the seat board, the air bag is expanded to contact the back, and the back is placed without force points and is sore.
Preferably, the mounting surface of the air pump is fixedly mounted with the inner wall of one end of the backrest frame, the two side surfaces of the air bag are fixedly connected with the inner walls of the two sides of the auxiliary massage groove, the material of one end of the air bag, which is connected with the air pipe, and the material of the peripheral surface of the air bag are both hard materials, the material of the front end of the air bag is soft material, and the surface of the air bag is extruded with the back;
further, the arrangement of the hard material and the soft material controls the effect that the expansion of the balloon can only be expanded from the soft surface to contact the back.
Preferably, the auxiliary massage mechanism is composed of a guide rail, a guide block inserted on the surface of the guide rail in a sliding manner, a connecting rod fixedly installed on the surface of the guide block, a massage frame fixedly installed at one end of the two connecting rods opposite to each other, a rotating shaft rotatably connected with the inner walls of the two sides of the massage frame through bearings, a cam fixedly installed on the surface of the rotating shaft, a massage rod inserted on the surface of one side of the massage frame in a sliding manner, an extrusion piece fixedly installed at the bottom end of the massage rod and a spring movably sleeved on the arc surface of the massage rod;
furthermore, after the sitting posture is adjusted, the auxiliary massage mechanism controls the massage rods to move outwards to massage, so that the fatigue is reduced, and the uncomfortable effect is avoided when the sitting posture is adjusted for a long time.
Preferably, the mounting surfaces of the two guide rails are respectively fixedly mounted with the inner walls of the two sides of the air bag, the surface of the extrusion sheet is in sliding insertion connection with the surface of the cam, one end of the spring is fixedly mounted with the surface of one side of the extrusion sheet, and the other end of the spring is in sliding insertion connection with the inner wall of one side of the massage frame;
furthermore, when the salient points of the cam leave the surface of the extrusion sheet, the spring is arranged to control the reset effect of the massage rod through the elasticity of the spring.
Preferably, the surfaces of the cams are installed on the arc surface of the rotating shaft in a staggered mode, the inner wall of one end of the backrest frame is fixedly connected with an access door, the surface of the access door is fixedly provided with an electric telescopic rod, the telescopic end of the electric telescopic rod is fixedly installed on the outer surface of the massage frame, and the timing module is electrically connected with the electric telescopic rod;
furthermore, the electric telescopic rod is arranged, so that the distance between the massage rods and the back massage can be conveniently adjusted, and the massage effect is enhanced.
Preferably, a second driving motor is fixedly mounted on the inner wall of one side of the massage frame, a gear shaft is fixedly mounted on an output shaft of the second driving motor through a coupler, a first gear is fixedly mounted at one end of the gear shaft, a second gear is fixedly mounted on the arc surface of one end of the rotating shaft, a tooth groove of the second gear is meshed with a tooth groove of the first gear, and the second driving motor is electrically connected with the timing module;
furthermore, the effect that the second driving motor works to drive the rotating shaft to rotate to work is achieved.
The invention has the technical effects and advantages that:
1. according to the invention, the sitting posture adjusting effect of sitting on the seat plate is achieved through the sitting posture correcting mechanism, the surface of the air bag is controlled to extrude the back after the sitting posture adjustment is achieved through the back-rest comfortable adjusting mechanism, the back is prevented from having a force point to generate a sore effect, the back is massaged after the back sitting posture adjustment is achieved through the auxiliary massage mechanism, the comfort of the back is enhanced, the discomfort of the back after the sitting posture is adjusted for a period of time is prevented, the sitting posture adjusting effect is enhanced, and the effect of injury caused by the fact that the correction time is forgotten to correct all the time is prevented by controlling the correction time;
2. the arrangement of the hard material and the soft material controls the effect that the expansion of the air bag can only be expanded from the soft surface to be contacted with the back;
3. when the salient points of the cam leave the surface of the extrusion sheet, the spring is arranged, and the reset effect of the massage rod is controlled by the elasticity of the spring;
4. the electric telescopic rod is arranged, so that the distance between the plurality of massage rods and the back massage can be conveniently adjusted, and the massage effect is enhanced.
Drawings
Fig. 1 is a front view of the overall structure of the present invention.
Fig. 2 is a rear view of the overall structure of the present invention.
Fig. 3 is a front view of the sitting posture correcting mechanism of the invention.
Fig. 4 is a front view of the auxiliary massage mechanism of the present invention.
Fig. 5 is a perspective view of the cam structure of the present invention.
In the figure: 1. supporting legs; 2. a seat plate; 3. a backrest frame; 4. a guard bar; 5. an auxiliary massage groove; 6. a sitting posture adjusting groove; 7. a timing module; 8. a first drive motor; 81. rotating the rod; 82. a left moving seat; 83. a right movable seat; 84. a slider; 85. a bandage; 86. left-handed threads; 87. right-hand threads; 88. a bearing seat; 9. an air pump; 91. an air tube; 92. an air bag; 10. a guide rail; 101. a guide block; 102. a connecting rod; 103. a massage frame; 104. a rotating shaft; 105. a cam; 106. a massage rod; 107. extruding the sheet; 108. a spring; 109. an electric telescopic rod; 1010. a second drive motor; 1011. a gear shaft; 1012. a first gear; 1013. a second gear; 11. an access door.
Detailed Description
The technical solutions in the embodiments of the present invention will be clearly and completely described below with reference to the drawings in the embodiments of the present invention, and it is obvious that the described embodiments are only a part of the embodiments of the present invention, and not all of the embodiments. All other embodiments, which can be derived by a person skilled in the art from the embodiments given herein without making any creative effort, shall fall within the protection scope of the present invention.
The invention provides a spine medical device as shown in figures 1-5, which comprises supporting legs 1 as shown in figures 1-2, wherein the tops of a plurality of supporting legs 1 are fixedly connected with a seat plate 2, one end surface of the seat plate 2 is fixedly connected with a backrest frame 3, one side surface of the backrest frame 3 and one side of the top of the seat plate 2 are fixedly connected with a protective rod 4, a sitting posture correcting mechanism is arranged in the backrest frame 3 and used for adjusting a sitting posture spine, and an auxiliary massage groove 5 and a sitting posture adjusting groove 6 are respectively formed in one side surface of the backrest frame 3;
as shown in fig. 1 to 3, the sitting posture correcting mechanism includes a first driving motor 8, an output shaft of the first driving motor 8 is fixedly installed with a rotating rod 81 through a coupler, circular arc surfaces at two ends of the rotating rod 81 are respectively connected with a left moving seat 82 and a right moving seat 83 in a threaded manner, a sliding block 84 is fixedly installed on one side surface of the left moving seat 82 and one side surface of the right moving seat 83, a bandage 85 is fixedly installed on the surface of the sliding block 84, and the timing module 7 is electrically connected with the first driving motor 8; further, through a sitting posture correcting mechanism, a person sits on the seat plate 2, the two shoulders are sleeved with bandages 85, when the first driving motor 8 works, the two sliding blocks 84 are driven to move inwards, the bandages 85 are driven to be tightened, and therefore the shoulders are controlled to move backwards, and the sitting posture of the person is adjusted;
the mounting surface of the first driving motor 8 is fixedly mounted with the inner wall of one side of the backrest frame 3, the arc surfaces of the two ends of the rotating rod 81 are respectively provided with a left-handed thread 86 and a right-handed thread 87, and the surface of the sliding block 84 is in sliding insertion connection with the inner wall of the sitting posture adjusting groove 6; the inner wall of the backrest frame 3 is fixedly connected with a bearing seat 88, and the inner bearing ring of the bearing seat 88 is fixedly connected with the arc surface of the rotating rod 81; further, the left-handed thread 86 and the right-handed thread 87 are arranged to achieve the effect that the rotating rod 81 rotates to control the left moving seat 82 and the right moving seat 83 to simultaneously move inwards or simultaneously move reversely;
as shown in fig. 3, back-rest comfort adjusting mechanisms are respectively arranged inside the two auxiliary massage grooves 5, the back-rest comfort adjusting mechanisms adjust the stress on the back, each back-rest comfort adjusting mechanism comprises an air pump 9, an air pipe 91 is fixedly arranged at the air outlet end of the air pump 9, and an air bag 92 is fixedly arranged at one end of the air pipe 91; further, the air pump 9 is used for inflating the air bag 92 when working, so that after a person sits on the seat plate 2 to adjust the sitting posture, the air bag 92 is expanded to contact the back, and the effect of soreness caused by no force points when the back is placed is achieved; the mounting surface of the air pump 9 is fixedly mounted with the inner wall of one end of the backrest frame 3, the surfaces of the two sides of the air bag 92 are fixedly connected with the inner walls of the two sides of the auxiliary massage groove 5, the material of the end of the air bag 92 connected close to the air pipe 91 and the material of the surface around the air bag 92 are both hard materials, the material of the front end of the air bag 92 is soft material, and the surface and the back are extruded; further, the arrangement of the hard material and the soft material controls the effect that the air bag 92 can only expand from the soft surface to contact with the back;
as shown in fig. 4-5, an auxiliary massage mechanism is disposed inside the air bag 92, the auxiliary massage mechanism performs back massage for sitting posture adjustment, the auxiliary massage mechanism includes a guide rail 10, a guide block 101 is inserted on the surface of the guide rail 10 in a sliding manner, a connecting rod 102 is fixedly mounted on the surface of the guide block 101, a massage frame 103 is fixedly mounted at the opposite end of the two connecting rods 102, the inner walls of the two sides of the massage frame 103 are rotatably connected with a rotating shaft 104 through bearings, a cam 105 is fixedly mounted on the surface of the rotating shaft 104, a massage rod 106 is inserted on the surface of one side of the massage frame 103 in a sliding manner, an extrusion piece 107 is fixedly mounted at the bottom end of the massage rod 106, and a spring 108 is movably sleeved on the arc surface of the massage rod 106; further, after the sitting posture is adjusted, the auxiliary massage mechanism controls the massage rods 106 to move outwards to achieve the massage effect, so that the fatigue is reduced, and the uncomfortable effect caused by long-time sitting posture adjustment is avoided;
as shown in fig. 5, the mounting surfaces of the two guide rails 10 are fixedly mounted with the inner walls of the two sides of the air bag 92, respectively, the surface of the pressing piece 107 is slidably inserted with the surface of the cam 105, one end of the spring 108 is fixedly mounted with the surface of one side of the pressing piece 107, and the other end of the spring 108 is slidably inserted with the inner wall of one side of the massage frame 103; further, a spring 108 is provided to control the return effect of the massage rod 106 by the elastic force of the spring 108 when the convex point of the cam 105 is away from the surface of the pressing piece 107;
as shown in fig. 2, the surfaces of the plurality of cams 105 are installed on the arc surface of the rotating shaft 104 in a staggered manner, the inner wall of one end of the backrest frame 3 is fixedly connected with an access door 11, the surface of the access door 11 is fixedly provided with an electric telescopic rod 109, the telescopic end of the electric telescopic rod 109 is fixedly installed on the outer surface of the massage frame 103, and the timing module 7 is electrically connected with the electric telescopic rod 109; furthermore, the arrangement of the electric telescopic rod 109 facilitates the adjustment of the distance between the plurality of massage rods 106 and the back massage, thereby enhancing the massage effect;
a second driving motor 1010 is fixedly installed on the inner wall of one side of the massage frame 103, a gear shaft 1011 is fixedly installed on an output shaft of the second driving motor 1010 through a coupler, a first gear 1012 is fixedly installed at one end of the gear shaft 1011, a second gear 1013 is fixedly installed on the arc surface of one end of the rotating shaft 104, the tooth spaces of the second gear 1013 are meshed with the tooth spaces of the first gear 1012, and the second driving motor 1010 is electrically connected with the timing module 7; furthermore, the effect that the second driving motor 1010 works to drive the rotating shaft 104 to rotate and work is achieved
The inner bottom wall fixed mounting of back frame 3 has timing module 7, and further, sets up timing module 7 and controls the time of correcting, reminds control to prevent to correct for a long time and forgets the time and cause the effect of injury.
The working principle of the invention is as follows:
the sitting posture adjusting device completes the sitting posture adjusting effect of a person sitting on the seat plate 2 through the sitting posture correcting mechanism, controls the surface of the air bag 92 to extrude the back after the sitting posture adjusting is completed through the back-rest comfortable adjusting mechanism, prevents the back from having the effect of generating ache due to no force point, and massages the back after the back sitting posture adjusting is completed through the auxiliary massage mechanism, so that the comfort of the back is enhanced, the discomfort of the back after the sitting posture is adjusted for a period of time is prevented, the sitting posture adjusting effect is enhanced, and the effect of preventing injury caused by the fact that the correction time is forgotten to correct all the time is prevented by controlling the correction time; the arrangement of the hard material and the soft material controls the effect that the air bag 92 can only expand from the soft surface to contact with the back; the invention sets the spring 108 to control the reset effect of the massage rod 106 through the elastic force of the spring 108 when the salient point of the cam 105 leaves the surface of the extrusion sheet 107; the electric telescopic rod 109 is arranged, so that the distance between the plurality of massage rods 106 and the back massage can be conveniently adjusted, and the massage effect is enhanced.
The specific operation is as follows:
firstly, a person seat needing to adjust the sitting posture is arranged above the seat plate 2, the shoulders on the two sides are controlled to be sleeved with bandages 85, the first driving motor 8 is controlled to rotate forwardly to drive the rotating rod 81 to rotate, so that the left moving seat 82 and the right moving seat 83 are driven to move inwards at the same time, the sliding block 84 is driven to slide so as to drive the bandages 85 to move inwards, and the bandages 85 are driven to pull the shoulders to swing backwards so as to adjust the sitting posture;
when the back is prevented from having no force point after the sitting posture is adjusted, the air pump 9 is controlled to work, the air bag 92 is inflated, the soft surface of the air bag 92 is controlled to expand outwards, and the back is extruded to enable the back to have the force point;
after the expansion of the air bag 92 is finished, the electric telescopic rod 109 is controlled to work and extend, the massage frame 103 is controlled to move forwards, and the massage rod 106 is controlled to contact the back;
after the adjustment is finished, the second driving motor 1010 is controlled to work to drive the gear shaft 1011 to rotate, so that the first gear 1012 is driven to rotate, the second gear 1013 is controlled to rotate through meshing to drive the rotating shaft 104 to rotate, the rotating shaft 104 rotates to drive the cam 105 to rotate, the massage rods 106 are pushed to move outwards through the surface of the cam 105, the back of the body is hammered, and the plurality of cams 105 are arranged in a staggered manner, so that the plurality of cams 105 are controlled to rotate to drive the plurality of massage rods 106 to move outwards in a staggered manner for massage;
after one end of operation time, the parameters set by the timing module 7 are reached, the timing module 7 controls the second driving motor 1010 to stop working, the electric telescopic rod 109 retracts and resets to drive the massage frame 103 to move inwards, meanwhile, the first driving motor 8 rotates reversely to control the two sliding blocks 84 to move reversely, so that the two bandages 85 move towards two sides to be detached, and a person leaves the seat plate 2 to rest to wait for the next operation.
Finally, it should be noted that: although the present invention has been described in detail with reference to the foregoing embodiments, it will be apparent to those skilled in the art that modifications may be made to the embodiments or portions thereof without departing from the spirit and scope of the invention.

Claims (10)

1.一种脊柱医疗装置,包括支撑腿(1)、矫正坐姿机构、背靠舒适调整机构和辅助按摩机构,其特征在于:多个所述支撑腿(1)的顶部均固定连接有座椅板(2),所述座椅板(2)的一端表面固定连接有靠背框(3),所述靠背框(3)的一侧表面与座椅板(2)的顶部一侧均固定连接有防护杆(4),所述矫正坐姿机构位于靠背框(3)的内部,所述矫正坐姿机构进行调节坐姿脊柱;1. A spinal medical device, comprising a support leg (1), a sitting posture correction mechanism, a backrest comfort adjustment mechanism and an auxiliary massage mechanism, characterized in that: the tops of a plurality of the support legs (1) are fixedly connected with a seat A board (2), one end surface of the seat board (2) is fixedly connected with a backrest frame (3), and one side surface of the backrest frame (3) is fixedly connected to one side of the top of the seat board (2) There is a protective rod (4), the sitting posture correcting mechanism is located inside the backrest frame (3), and the sitting posture correcting mechanism adjusts the sitting posture spine; 所述背靠舒适调整机构分别位于矫正坐姿机构的上方和下方,所述背靠舒适调整机构进行调整背部受力,所述辅助按摩机构位于背部舒适调节机构的内部,所述辅助按摩机构进行坐姿调整后背部按摩,所述靠背框(3)的一侧表面分别开设有辅助按摩槽(5)和调节坐姿槽(6),所述靠背框(3)的内底壁固定安装有计时模块(7)。The backrest comfort adjustment mechanism is located above and below the sitting posture correction mechanism, the backrest comfort adjustment mechanism adjusts the back force, the auxiliary massage mechanism is located inside the back comfort adjustment mechanism, and the auxiliary massage mechanism adjusts the sitting posture. After adjusting the back massage, one side surface of the back frame (3) is respectively provided with an auxiliary massage groove (5) and a seat adjustment groove (6), and the inner bottom wall of the back frame (3) is fixedly installed with a timing module ( 7). 2.根据权利要求1所述的一种脊柱医疗装置,其特征在于:所述矫正坐姿机构由第一驱动电机(8)、第一驱动电机(8)的输出轴通过联轴器固定安装的转动杆(81)、转动杆(81)两端圆弧表面分别螺纹连接的左移动座(82)和右移动座(83)、左移动座(82)一侧表面和右移动座(83)一侧表面均固定安装的滑块(84)和滑块(84)表面固定安装的绷带(85)构成,所述计时模块(7)与第一驱动电机(8)电性连接。2 . A spinal medical device according to claim 1 , wherein the sitting posture correction mechanism is fixedly installed by a first drive motor ( 8 ) and an output shaft of the first drive motor ( 8 ) through a coupling. 3 . The rotation rod (81), the left movable seat (82) and the right movable seat (83), the one side surface of the left movable seat (82) and the right movable seat (83) respectively threadedly connected with the arc surfaces at both ends of the rotation rod (81) A slider (84) fixedly installed on one surface of the slider (84) and a bandage (85) fixedly installed on the surface of the slider (84) are formed, and the timing module (7) is electrically connected to the first drive motor (8). 3.根据权利要求2所述的一种脊柱医疗装置,其特征在于:所述第一驱动电机(8)的安装表面与靠背框(3)的一侧内壁固定安装,所述转动杆(81)的两端圆弧表面分别设置有左旋螺纹(86)和右旋螺纹(87),所述滑块(84)的表面与调节坐姿槽(6)的内壁滑动插接。3. A spinal medical device according to claim 2, characterized in that: the mounting surface of the first drive motor (8) is fixedly mounted on one side of the inner wall of the back frame (3), and the rotating rod (81) ) are respectively provided with left-handed threads (86) and right-handed threads (87) on the arc surfaces at both ends, and the surface of the slider (84) is slidably inserted into the inner wall of the adjusting seat groove (6). 4.根据权利要求2所述的一种脊柱医疗装置,其特征在于:所述靠背框(3)的内壁固定连接有轴承座(88),所述轴承座(88)的轴承内圈与转动杆(81)的圆弧表面固定连接。4. A spinal medical device according to claim 2, characterized in that a bearing seat (88) is fixedly connected to the inner wall of the backrest frame (3), and the bearing inner ring of the bearing seat (88) is connected to the rotating The arc surface of the rod (81) is fixedly connected. 5.根据权利要求1所述的一种脊柱医疗装置,其特征在于:所述背靠舒适调整机构由气泵(9)、气泵(9)出气端固定安装的气管(91)和气管(91)一端固定安装的气囊(92)构成。5. A spinal medical device according to claim 1, characterized in that: the backrest comfort adjustment mechanism is composed of an air pump (9), a trachea (91) and a trachea (91) fixedly installed at the air outlet end of the air pump (9). An airbag (92) fixedly installed at one end is formed. 6.根据权利要求5所述的一种脊柱医疗装置,其特征在于:所述气泵(9)的安装表面与靠背框(3)的一端内壁固定安装,所述气囊(92)的两侧表面与辅助按摩槽(5)的两侧内壁固定连接,所述气囊(92)靠近气管(91)连接的一端材质和气囊(92)的四周表面材质均为硬性材料,所述气囊(92)的前端材质为软性材料,且表面与背部挤压。6. A spinal medical device according to claim 5, characterized in that: the installation surface of the air pump (9) is fixedly installed with the inner wall of one end of the back frame (3), and the two side surfaces of the air bag (92) are fixedly installed. It is fixedly connected with the inner walls on both sides of the auxiliary massage tank (5). The front end material is a soft material, and the surface and the back are extruded. 7.根据权利要求5所述的一种脊柱医疗装置,其特征在于:所述辅助按摩机构由导轨(10)、导轨(10)表面滑动插接的导块(101)、导块(101)表面固定安装的连接杆(102)、两个连接杆(102)相对一端固定安装的按摩框(103)、按摩框(103)两侧内壁通过轴承转动连接的转轴(104)、转轴(104)表面固定安装的凸轮(105)、按摩框(103)一侧表面滑动插接的按摩杆(106)、按摩杆(106)底端固定安装的挤压片(107)和按摩杆(106)圆弧表面活动套接的弹簧(108)构成。7 . The spinal medical device according to claim 5 , wherein the auxiliary massage mechanism is composed of a guide rail ( 10 ), a guide block ( 101 ) and a guide block ( 101 ) that are slidably inserted on the surface of the guide rail ( 10 ). 8 . A connecting rod (102) fixedly installed on the surface, a massage frame (103) fixedly installed at opposite ends of the two connecting rods (102), a rotating shaft (104) and a rotating shaft (104) whose inner walls on both sides of the massage frame (103) are rotatably connected by bearings A cam (105) fixedly installed on the surface, a massage rod (106) slidably inserted on one side of the massage frame (103), an extruding sheet (107) fixedly installed at the bottom end of the massage rod (106), and a massage rod (106) circle A spring (108) that is movably socketed on the arc surface is formed. 8.根据权利要求7所述的一种脊柱医疗装置,其特征在于:两个所述导轨(10)的安装表面分别与气囊(92)的两侧内壁固定安装,所述挤压片(107)的表面与凸轮(105)的表面滑动插接,所述弹簧(108)的一端与挤压片(107)的一侧表面固定安装,所述弹簧(108)的另一端与按摩框(103)的一侧内壁滑动插接。8. A spinal medical device according to claim 7, characterized in that: the mounting surfaces of the two guide rails (10) are respectively fixedly mounted on the inner walls of the two sides of the airbag (92), and the extruded sheet (107) The surface of the spring (108) is slidably inserted with the surface of the cam (105), one end of the spring (108) is fixedly installed with one side surface of the pressing sheet (107), and the other end of the spring (108) is connected to the massage frame (103). ) on one side of the inner wall to slide and insert. 9.根据权利要求7所述的一种脊柱医疗装置,其特征在于:多个所述凸轮(105)的表面均在转轴(104)的圆弧表面错位安装,所述靠背框(3)的一端内壁固定连接有检修门(11),所述检修门(11)的表面固定安装有电动伸缩杆(109),所述电动伸缩杆(109)的伸缩端与按摩框(103)的外表面固定安装,所述计时模块(7)与电动伸缩杆(109)电性连接。9 . The spinal medical device according to claim 7 , wherein the surfaces of the plurality of cams ( 105 ) are installed in dislocation on the arc surface of the rotating shaft ( 104 ), and the backrest frame ( 3 ) has a An inspection door (11) is fixedly connected to the inner wall of one end, an electric telescopic rod (109) is fixedly installed on the surface of the inspection door (11), and the telescopic end of the electric telescopic rod (109) is connected to the outer surface of the massage frame (103). Fixed installation, the timing module (7) is electrically connected with the electric telescopic rod (109). 10.根据权利要求7所述的一种脊柱医疗装置,其特征在于:所述按摩框(103)的一侧内壁固定安装有第二驱动电机(1010),所述第二驱动电机(1010)的输出轴通过联轴器固定安装有齿轮轴(1011),所述齿轮轴(1011)的一端固定安装有第一齿轮(1012),所述转轴(104)的一端圆弧表面固定安装有第二齿轮(1013),所述第二齿轮(1013)的齿槽与第一齿轮(1012)的齿槽啮合,所述第二驱动电机(1010)与计时模块(7)电性连接。10. The spinal medical device according to claim 7, wherein a second drive motor (1010) is fixedly installed on one inner wall of the massage frame (103), and the second drive motor (1010) The output shaft of the shaft (1011) is fixedly installed with a gear shaft (1011) through a coupling, a first gear (1012) is fixedly installed at one end of the gear shaft (1011), and a first gear (1012) is fixedly installed at one end of the rotating shaft (104) Two gears (1013), the tooth slots of the second gear (1013) mesh with the tooth slots of the first gear (1012), and the second drive motor (1010) is electrically connected to the timing module (7).
CN202110806259.5A 2021-07-16 2021-07-16 Spinal medical device Active CN113350002B (en)

Priority Applications (1)

Application Number Priority Date Filing Date Title
CN202110806259.5A CN113350002B (en) 2021-07-16 2021-07-16 Spinal medical device

Applications Claiming Priority (1)

Application Number Priority Date Filing Date Title
CN202110806259.5A CN113350002B (en) 2021-07-16 2021-07-16 Spinal medical device

Publications (2)

Publication Number Publication Date
CN113350002A true CN113350002A (en) 2021-09-07
CN113350002B CN113350002B (en) 2022-06-03

Family

ID=77539832

Family Applications (1)

Application Number Title Priority Date Filing Date
CN202110806259.5A Active CN113350002B (en) 2021-07-16 2021-07-16 Spinal medical device

Country Status (1)

Country Link
CN (1) CN113350002B (en)

Cited By (2)

* Cited by examiner, † Cited by third party
Publication number Priority date Publication date Assignee Title
CN114145596A (en) * 2021-11-11 2022-03-08 苏州永合益科技有限公司 Intelligent seat design optimization integrated management system
CN117885624B (en) * 2024-03-14 2024-06-04 江苏恩迪汽车系统股份有限公司 Automobile seat with massage structure

Citations (19)

* Cited by examiner, † Cited by third party
Publication number Priority date Publication date Assignee Title
TW484414U (en) * 2001-08-08 2002-04-21 Kuang Yu Metal Working Co Ltd Composite massage chair
CN202069831U (en) * 2008-09-13 2011-12-14 发美利株式会社 Chair-shaped massager
CN204092521U (en) * 2014-09-12 2015-01-14 罗莉 Novel whole-body massage armchair is used in nursing
CN207574880U (en) * 2017-05-02 2018-07-06 佛山市中瑞家具有限公司 A kind of waist massaging, working swivel chair
CN108379049A (en) * 2018-03-30 2018-08-10 华建海 A kind of medical adjustable back massage apparatus
CN108378970A (en) * 2018-04-04 2018-08-10 绍兴集知汇信息科技有限公司 A kind of human body waist special medical rehabilitation equipment
CN108392391A (en) * 2018-05-08 2018-08-14 安吉亿和家具有限公司 It is a kind of can the massage armchair that carries out of multi-faceted branch
CN109009650A (en) * 2018-08-24 2018-12-18 漯河医学高等专科学校 A kind of inflatable lumbar vertebrae guidance device for rehabilitation
CN109124847A (en) * 2018-07-23 2019-01-04 河南省中医院(河南中医药大学第二附属医院) Multifunctional trainer for spinal column and limbs
CN110448861A (en) * 2019-08-19 2019-11-15 安徽工贸职业技术学院 A kind of callisthenics body intelligent correction training device
CN110623783A (en) * 2019-11-08 2019-12-31 陆岩 A medical traction correction treatment device
CN210433062U (en) * 2019-02-01 2020-05-01 陈雅婷 Children writing posture correction equipment
CN210810091U (en) * 2019-12-05 2020-06-23 戚倍凡 High school student is with chair of supplementary position of sitting correction
CN210932106U (en) * 2019-09-02 2020-07-07 程海廷 Orthopedic vertebra correcting device
CN112006821A (en) * 2020-10-09 2020-12-01 东莞威保运动器材有限公司 Posture corrector for humpback
CN212630320U (en) * 2020-06-01 2021-03-02 陈思 Music relaxing chair for mental health
CN112603087A (en) * 2020-12-22 2021-04-06 虞家宝 Office chair capable of massaging back
CN213076498U (en) * 2020-06-23 2021-04-30 郑州大学第二附属医院 A kind of nursing and soothing device after cardiovascular surgery
CN113040995A (en) * 2021-03-22 2021-06-29 上海理工大学 Adjustable shoulder and back orthopedic supporting device

Patent Citations (19)

* Cited by examiner, † Cited by third party
Publication number Priority date Publication date Assignee Title
TW484414U (en) * 2001-08-08 2002-04-21 Kuang Yu Metal Working Co Ltd Composite massage chair
CN202069831U (en) * 2008-09-13 2011-12-14 发美利株式会社 Chair-shaped massager
CN204092521U (en) * 2014-09-12 2015-01-14 罗莉 Novel whole-body massage armchair is used in nursing
CN207574880U (en) * 2017-05-02 2018-07-06 佛山市中瑞家具有限公司 A kind of waist massaging, working swivel chair
CN108379049A (en) * 2018-03-30 2018-08-10 华建海 A kind of medical adjustable back massage apparatus
CN108378970A (en) * 2018-04-04 2018-08-10 绍兴集知汇信息科技有限公司 A kind of human body waist special medical rehabilitation equipment
CN108392391A (en) * 2018-05-08 2018-08-14 安吉亿和家具有限公司 It is a kind of can the massage armchair that carries out of multi-faceted branch
CN109124847A (en) * 2018-07-23 2019-01-04 河南省中医院(河南中医药大学第二附属医院) Multifunctional trainer for spinal column and limbs
CN109009650A (en) * 2018-08-24 2018-12-18 漯河医学高等专科学校 A kind of inflatable lumbar vertebrae guidance device for rehabilitation
CN210433062U (en) * 2019-02-01 2020-05-01 陈雅婷 Children writing posture correction equipment
CN110448861A (en) * 2019-08-19 2019-11-15 安徽工贸职业技术学院 A kind of callisthenics body intelligent correction training device
CN210932106U (en) * 2019-09-02 2020-07-07 程海廷 Orthopedic vertebra correcting device
CN110623783A (en) * 2019-11-08 2019-12-31 陆岩 A medical traction correction treatment device
CN210810091U (en) * 2019-12-05 2020-06-23 戚倍凡 High school student is with chair of supplementary position of sitting correction
CN212630320U (en) * 2020-06-01 2021-03-02 陈思 Music relaxing chair for mental health
CN213076498U (en) * 2020-06-23 2021-04-30 郑州大学第二附属医院 A kind of nursing and soothing device after cardiovascular surgery
CN112006821A (en) * 2020-10-09 2020-12-01 东莞威保运动器材有限公司 Posture corrector for humpback
CN112603087A (en) * 2020-12-22 2021-04-06 虞家宝 Office chair capable of massaging back
CN113040995A (en) * 2021-03-22 2021-06-29 上海理工大学 Adjustable shoulder and back orthopedic supporting device

Cited By (2)

* Cited by examiner, † Cited by third party
Publication number Priority date Publication date Assignee Title
CN114145596A (en) * 2021-11-11 2022-03-08 苏州永合益科技有限公司 Intelligent seat design optimization integrated management system
CN117885624B (en) * 2024-03-14 2024-06-04 江苏恩迪汽车系统股份有限公司 Automobile seat with massage structure

Also Published As

Publication number Publication date
CN113350002B (en) 2022-06-03

Similar Documents

Publication Publication Date Title
CN201076538Y (en) Sliding type scoliosis traction bed
CN108836594B (en) Leg deformity correction device
CN113350002A (en) Spinal medical device
CN212187147U (en) Massage chair for medical care
KR100763474B1 (en) Chair with posture correction, traction therapy and massage
KR100768480B1 (en) Chair with posture correction, traction therapy and massage
CN109157040A (en) Multi-functional PICC catheter maintenance seat
CN215081811U (en) Shank resumes exercise equipment for orthopedics
CN111616849A (en) A device for preventing spine curvature deformation for human body
CN213250114U (en) Spinal surgery correction treatment device
CN210044385U (en) Waist treatment rehabilitation chair
CN108294854B (en) A surgical chiropractic device
CN108721055B (en) A medical neck rehabilitation nursing device
CN210842309U (en) Neck and waist health care chair for office
CN215080370U (en) A foldable child sitting posture corrector
CN207604682U (en) Massage armchair
CN214858877U (en) ICU rehabilitation exercise chair
CN215606644U (en) Intelligent domestic scoliosis straightening machine
CN211300897U (en) Gastrointestinal flatulence treatment device for digestive system patient
CN222129772U (en) A posture training cushion
CN115177466A (en) Device that sore emergence is pressed in prevention of intestines and stomach postoperative patient drainage position
CN215021973U (en) Rheumatism immunity nursing is with massage device
CN222195352U (en) Adjustable support for clinical nursing
CN222467233U (en) A medical bed cervical traction auxiliary rehabilitation mechanism
CN219354654U (en) Moxibustion stool

Legal Events

Date Code Title Description
PB01 Publication
PB01 Publication
SE01 Entry into force of request for substantive examination
SE01 Entry into force of request for substantive examination
GR01 Patent grant
GR01 Patent grant