CN113348895B - Trimmer is used to gardens sanitation - Google Patents
Trimmer is used to gardens sanitation Download PDFInfo
- Publication number
- CN113348895B CN113348895B CN202110727416.3A CN202110727416A CN113348895B CN 113348895 B CN113348895 B CN 113348895B CN 202110727416 A CN202110727416 A CN 202110727416A CN 113348895 B CN113348895 B CN 113348895B
- Authority
- CN
- China
- Prior art keywords
- fixedly connected
- shaped
- garden
- shielding plate
- sliding
- Prior art date
- Legal status (The legal status is an assumption and is not a legal conclusion. Google has not performed a legal analysis and makes no representation as to the accuracy of the status listed.)
- Active
Links
- 230000007246 mechanism Effects 0.000 claims abstract description 45
- 238000013138 pruning Methods 0.000 claims abstract description 26
- 230000005540 biological transmission Effects 0.000 claims abstract description 4
- 230000017525 heat dissipation Effects 0.000 claims description 5
- 230000001681 protective effect Effects 0.000 claims description 4
- 230000009471 action Effects 0.000 abstract description 8
- 238000006748 scratching Methods 0.000 abstract 2
- 230000002393 scratching effect Effects 0.000 abstract 2
- 238000009966 trimming Methods 0.000 description 9
- 238000003898 horticulture Methods 0.000 description 8
- 244000141353 Prunus domestica Species 0.000 description 6
- 238000000034 method Methods 0.000 description 6
- 241000196324 Embryophyta Species 0.000 description 4
- 230000008569 process Effects 0.000 description 4
- 230000008859 change Effects 0.000 description 2
- 235000013399 edible fruits Nutrition 0.000 description 2
- 230000000694 effects Effects 0.000 description 2
- 238000001125 extrusion Methods 0.000 description 2
- 238000007726 management method Methods 0.000 description 2
- 238000004519 manufacturing process Methods 0.000 description 2
- 235000013311 vegetables Nutrition 0.000 description 2
- 230000004075 alteration Effects 0.000 description 1
- 230000009286 beneficial effect Effects 0.000 description 1
- 238000009395 breeding Methods 0.000 description 1
- 230000001488 breeding effect Effects 0.000 description 1
- 230000006835 compression Effects 0.000 description 1
- 238000007906 compression Methods 0.000 description 1
- 230000008878 coupling Effects 0.000 description 1
- 238000010168 coupling process Methods 0.000 description 1
- 238000005859 coupling reaction Methods 0.000 description 1
- 230000007547 defect Effects 0.000 description 1
- 238000005516 engineering process Methods 0.000 description 1
- 230000007613 environmental effect Effects 0.000 description 1
- 230000006872 improvement Effects 0.000 description 1
- 238000010030 laminating Methods 0.000 description 1
- 230000004048 modification Effects 0.000 description 1
- 238000012986 modification Methods 0.000 description 1
- 230000035764 nutrition Effects 0.000 description 1
- 235000016709 nutrition Nutrition 0.000 description 1
- 238000002407 reforming Methods 0.000 description 1
- 238000006467 substitution reaction Methods 0.000 description 1
Images
Classifications
-
- A—HUMAN NECESSITIES
- A01—AGRICULTURE; FORESTRY; ANIMAL HUSBANDRY; HUNTING; TRAPPING; FISHING
- A01G—HORTICULTURE; CULTIVATION OF VEGETABLES, FLOWERS, RICE, FRUIT, VINES, HOPS OR SEAWEED; FORESTRY; WATERING
- A01G3/00—Cutting implements specially adapted for horticultural purposes; Delimbing standing trees
- A01G3/04—Apparatus for trimming hedges, e.g. hedge shears
- A01G3/0435—Machines specially adapted for shaping plants, e.g. topiaries
-
- A—HUMAN NECESSITIES
- A01—AGRICULTURE; FORESTRY; ANIMAL HUSBANDRY; HUNTING; TRAPPING; FISHING
- A01G—HORTICULTURE; CULTIVATION OF VEGETABLES, FLOWERS, RICE, FRUIT, VINES, HOPS OR SEAWEED; FORESTRY; WATERING
- A01G3/00—Cutting implements specially adapted for horticultural purposes; Delimbing standing trees
- A01G3/04—Apparatus for trimming hedges, e.g. hedge shears
- A01G3/047—Apparatus for trimming hedges, e.g. hedge shears portable
- A01G3/053—Apparatus for trimming hedges, e.g. hedge shears portable motor-driven
Landscapes
- Life Sciences & Earth Sciences (AREA)
- Biodiversity & Conservation Biology (AREA)
- Ecology (AREA)
- Forests & Forestry (AREA)
- Environmental Sciences (AREA)
- Scissors And Nippers (AREA)
Abstract
The invention relates to the technical field of garden pruning, and discloses a pruning device for garden sanitation, which comprises a power mechanism and a cutting mechanism in transmission connection with the bottom of the right side of the power mechanism, wherein the left side of the power mechanism is fixedly connected with an auxiliary handle, the right side of the power mechanism is symmetrically provided with T-shaped sliding grooves above the cutting mechanism, T-shaped sliding blocks are connected inside the T-shaped sliding grooves in a sliding manner, and the right sides of the two T-shaped sliding blocks are fixedly connected with a shielding plate; the invention can shield the branches flying out during pruning through the arranged shielding plate, so as to avoid easily scratching operators, when the device is not used, the two L-shaped half handles are in an M shape when viewed from the side under the action of the torsion spring, and the L-shaped protection plates and the shielding plate are in a vertical state, so that the two L-shaped protection plates can respectively shield the front side and the rear side of the cutting mechanism, and the tip of the cutting device is prevented from scratching other people.
Description
Technical Field
The invention relates to the technical field of garden pruning, in particular to a pruning device for garden sanitation.
Background
Horticulture, namely garden cultivation, cultivation of fruit trees, vegetables and ornamental plants, breeding technology and production and management method, can be divided into fruit tree horticulture, vegetable horticulture and ornamental horticulture accordingly, the term horticulture refers to the cultivation of plants in fence-protected garden, although modern horticulture has broken this limitation, still more intensive cultivation and management mode than other crop cultivation, the horticulture is a component of the cultivation in agriculture, the horticulture production is important for enriching human nutrition and beautifying, reforming human living environment, and with the improvement of living standard of people, people will grow some ornamental plants in their own courtyard, at this moment, the growers need to trim the plants in variable time.
The hedge trimmer is widely applied as one of main trimming tools of shrub greenbelts, but the existing hedge trimmers have various problems in the use process, trimmed branches and leaves are easy to splash in the trimming process, usually, a shielding plate is simply added for shielding, but the shielding plate added in the mode can only shield the splashed branches and leaves, the tips at two sides of a cutting mechanism cannot be protected when the hedge trimmer is not used, workers are prevented from being scratched, and when the hedge trimmer is used for trimming the side surfaces of the shrub greenbelts, a simple handheld device is quite laborious to use, so that a new trimmer for garden environmental sanitation is needed.
SUMMERY OF THE UTILITY MODEL
Technical problem to be solved
Aiming at the defects of the prior art, the invention provides a pruning device for garden sanitation, which solves the problems in the background.
(II) technical scheme
In order to achieve the purpose, the invention provides the following technical scheme: the utility model provides a clipping machine is used to gardens sanitation, includes power unit and the cutting mechanism who is connected with this power unit right side bottom transmission, power unit's left side fixedly connected with auxiliary handle, power unit's right side is located cutting mechanism's top symmetry has seted up T shape spout, the inside sliding connection of T shape spout has T shape slider, two the common fixedly connected with shielding plate in right side of T shape slider, the front surface and the rear surface of shielding plate all are connected with L shape backplate through the right angle hinge rotation, the last fixed surface of L shape backplate is connected with the slide bar, the lateral wall sliding connection of slide bar has the sliding sleeve, the top fixedly connected with L shape half handle of sliding sleeve, two the looks remote site homogeneous body of L shape half handle forms has the connecting block, the opposite side of two connecting blocks has all seted up the rotation hole, two rotate between the hole and be connected with the rotation post, the lateral wall cover of rotation post is equipped with the torsional spring, the both ends of torsional spring respectively with two the opposite side fixed connection in rotation hole.
Preferably, the front surface and the rear surface of the power mechanism are both provided with a heat dissipation opening.
Preferably, the bayonet socket has been seted up to power unit's upper surface right side symmetry, the slide bar is left side open-ended hollow cylinder structure, the inside fixedly connected with fixed block of slide bar, the left side fixedly connected with expanding spring of fixed block, expanding spring's left end fixedly connected with extension rod, the left end fixedly connected with fixture block of extension rod, the left side of fixture block with power unit's right side is laminated mutually.
Preferably, the outer side wall of the auxiliary handle is sleeved with a sponge sleeve.
Preferably, threaded holes are symmetrically formed in the right side of the shielding plate, a threaded rod is connected to the inner threads of the threaded holes in a threaded mode, the right end of the threaded rod penetrates through the threaded holes, and the right end of the threaded rod is fixedly connected with the idler wheel.
Preferably, the inner side wall of the sliding sleeve is fixedly connected with a rubber ring.
Preferably, the inner side wall of the bayonet is fixedly connected with a rubber pad.
Preferably, the left side of the clamping block is fixedly connected with an anti-skid pad.
Preferably, the outer side wall of the threaded rod is fixedly connected with a rotating sleeve close to the roller.
(III) advantageous effects
The invention provides a pruning device for garden sanitation, which has the following beneficial effects:
(1) The L-shaped protection plate and the shielding plate can be pulled upwards through the T-shaped sliding groove and the T-shaped sliding block, so that the distance between the shielding plate and the cutting mechanism is increased, and the trimmed branches are prevented from being clamped between the shielding plate and the cutting mechanism to influence cutting.
(2) The invention can change the positions of the two L-shaped handles through sliding by the arranged sliding rod and the sliding sleeve, so that the handheld position can be conveniently changed according to different habits of users, and when the device is used, when the L-shaped half handle is held by hands to drive the L-shaped guard plate and the shielding plate to move upwards to a certain position, the clamping block is separated from the side surface of the power mechanism, so that the extension rod can be pushed out by the telescopic spring, the clamping block can be clamped in the bayonet, the positions of the L-shaped guard plate and the shielding plate are limited, the phenomenon that the shielding plate descends along the T-shaped sliding groove when the L-shaped handle is loosened by hands to influence trimming is avoided, and when the device is not used, the clamping block can be attached to the right side of the power mechanism, the stable placement of the L-shaped guard plate and the shielding plate can be ensured by the extrusion of the telescopic spring, the L-shaped guard plate and the shielding plate are not easy to slide along the T-shaped sliding groove, so that the problem of shaking is generated.
(3) The telescopic type shrub green belt pruning tool is provided with the idler wheel, the telescopic type shrub green belt pruning tool can be controlled to stretch out and draw back through the threaded hole and the threaded rod, so that when the side face of a pruned shrub green belt needs to be pruned, the idler wheel can be in contact with the ground to play a supporting role and is convenient to move, the shrub green belt pruning tool can be vertically placed for pruning, the problem that a user only holds the shrub green belt with two hands to prune the side face is avoided, and the side face of the shrub green belt is simpler and more convenient to prune.
Drawings
FIG. 1 is a schematic structural view of the present invention;
FIG. 2 is a schematic structural view of the power mechanism of the present invention;
FIG. 3 is a schematic view of the structure of the shielding plate of the present invention;
FIG. 4 is a schematic view of the exploded structure of two L-shaped half handles of the present invention;
FIG. 5 is a schematic view showing a coupling structure of a slide bar and an extension bar according to the present invention;
FIG. 6 is an enlarged schematic view of the structure at A of FIG. 1 according to the present invention.
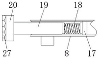
In the figure: 1. a power mechanism; 2. a cutting mechanism; 3. an auxiliary handle; 4. a T-shaped chute; 5. a T-shaped slider; 6. a shielding plate; 7. an L-shaped guard plate; 8. a slide bar; 9. a sliding sleeve; 10. an L-shaped half handle; 11. connecting blocks; 12. rotating the hole; 13. rotating the column; 14. a torsion spring; 15. a heat dissipation port; 16. a bayonet; 17. a fixed block; 18. a tension spring; 19. an extension pole; 20. a clamping block; 21. a sponge sleeve; 22. a threaded hole; 23. a threaded rod; 24. a roller; 25. a rubber ring; 26. a rubber pad; 27. a non-slip mat; 28. the sleeve is rotated.
Detailed Description
The technical solutions in the embodiments of the present invention will be clearly and completely described below with reference to the drawings in the embodiments of the present invention, and it is obvious that the described embodiments are only a part of the embodiments of the present invention, and not all of the embodiments. All other embodiments, which can be derived by a person skilled in the art from the embodiments given herein without making any creative effort, shall fall within the protection scope of the present invention.
As shown in fig. 1 to 6, the present invention provides a technical solution: a trimmer for garden sanitation comprises a power mechanism 1 and a cutting mechanism 2 in transmission connection with the bottom of the right side of the power mechanism 1, wherein an auxiliary handle 3 is fixedly connected to the left side of the power mechanism 1, T-shaped sliding grooves 4 are symmetrically formed in the right side of the power mechanism 1 above the cutting mechanism 2, T-shaped sliding blocks 5 are slidably connected inside the T-shaped sliding grooves 4, a shielding plate 6 is fixedly connected to the right sides of the two T-shaped sliding blocks 5 together, the front surface and the rear surface of the shielding plate 6 are rotatably connected with an L-shaped guard plate 7 through right-angle hinges, a sliding rod 8 is fixedly connected to the upper surface of the L-shaped guard plate 7, a sliding sleeve 9 is slidably connected to the outer side wall of the sliding rod 8, an L-shaped half handle 10 is fixedly connected to the top of the sliding sleeve 9, connecting blocks 11 are integrally formed at the opposite ends of the two L-shaped half handles 10, rotating holes 12 are formed at the opposite sides of the two connecting blocks 11, a rotating column 13 is rotatably connected between the two rotating holes 12, a torsional spring 14 is sleeved on the outer side wall of the rotating column 13, two ends of the torsional spring 14 are respectively and fixedly connected with the opposite sides of the two rotating holes 12, the whole device is driven by a cutting mechanism 2 through a power mechanism 1 to realize the pruning work of the shrub green belt, when the device is not used, because the two L-shaped half handles 10 can rotate mutually through the connecting block 11, the rotating holes 12 and the rotating column 13, the two L-shaped half handles 10 can be pulled to rotate under the action of the torsional spring 14, the L-shaped guard plate 7 which is rotatably connected with the shielding plate 6 through a right-angle hinge can be pushed to rotate towards one side of the cutting mechanism 2, at the moment, the L-shaped guard plate 7 and the shielding plate 6 are in a vertical state, the tip of the cutting mechanism 2 is protected, the problem that the tip can scratch other people when the device is not used is prevented, the auxiliary handle 3 is held by one hand, the two L-shaped half handles 10 are held by the other hand, the tops of the two L-shaped half handles 10 are rotated to be in a horizontal state, so that the L-shaped protective plate 7 can be driven to rotate to be located at the same horizontal plane with the shielding plate 6, the two L-shaped half handles 10 are separated from the outer side of the cutting mechanism 2, then the shielding plate 6 and the L-shaped protective plate 7 are pulled upwards under the action of the T-shaped sliding groove 4 and the T-shaped sliding block 5, the distance between the shielding plate 6 and the cutting mechanism 2 is increased, trimming is facilitated, the shielding plate 6 and the cutting mechanism 2 are prevented from being too close to each other at the same time, the trimming is easily blocked by trimmed branches and leaves, the trimming problem is influenced, the positions of the two L-shaped half handles 10 can be changed by the sliding sleeve 9 and the sliding rod 8, and the positions of the two L-shaped half handles can be adjusted according to different habits of users.
Furthermore, the power mechanism 1 is provided with heat dissipation ports 15 on both the front surface and the rear surface, so as to achieve an internal heat dissipation effect.
Further, bayonet 16 has been seted up to power unit 1's upper surface right side symmetry, slide bar 8 is left side open-ended hollow cylinder structure, the inside fixedly connected with fixed block 17 of slide bar 8, the left side fixedly connected with expanding spring 18 of fixed block 17, the left end fixedly connected with extension rod 19 of expanding spring 18, the left end fixedly connected with fixture block 20 of extension rod 19, the left side of fixture block 20 is laminated with power unit 1's right side, when driving L shape backplate 7 and shielding plate 6 rebound to a certain position through handheld L shape handle 10, fixture block 20 is deviate from power unit 1 side, make expanding spring 18 can release extension rod 19, thereby can block fixture block 20 in bayonet 16, restrict the position of L shape backplate 7 and shielding plate 6, shielding plate 6 can descend along T shape spout 4 when avoiding the hand to loosen L shape half handle 10, influence the pruning, and when the device is not used, fixture block 20 can laminate with power unit 1 right side, through the extrusion of expanding spring 18, can guarantee that L shape backplate 7 and shielding plate 6's stability is placed, be difficult for T shape spout 4 slides, thereby produce the problem of rocking.
Further, the outer side wall of the auxiliary handle 3 is sleeved with a sponge sleeve 21, so that the handheld comfort is guaranteed.
Further, threaded hole 22 has been seted up to the right side symmetry of shielding plate 6, threaded hole 22's inside threaded connection has threaded rod 23, threaded hole 22 is passed to the right-hand member of threaded rod 23, and fixedly connected with gyro wheel 24, gyro wheel 24 through setting up, can stretch out and draw back through threaded hole 22 and threaded rod 23 control, thereby when needs are pruned the bush greenbelt side of pruning, can contact gyro wheel 24 and ground, play the supporting role, and convenient the removal, can prune by vertical placer, avoid the user to rely on both hands to hold the device simply and prune, hard problem, make pruning bush greenbelt side simple and convenient more.
Furthermore, the rubber ring 25 is fixedly connected to the inner side wall of the sliding sleeve 9, so that the friction force between the sliding sleeve 9 and the sliding rod 8 is increased, and the two L-shaped half handles 10 can be stably stopped at the designated positions without being affected by external force after being adjusted in position, and cannot easily slide.
Furthermore, a rubber pad 26 is fixedly connected to the inner side wall of the bayonet 16, so that the friction force between the clamping block 20 and the clamping block 16 is increased, and stable clamping is ensured.
Further, the left side fixedly connected with slipmat 27 of fixture block 20 makes things convenient for the finger to press fixture block 20, compresses to in can slide bar 8 with extension rod 19 compression, make fixture block 20 deviate from the back from bayonet 16, can laminate power unit 1 right side again, and slipmat 27 can guarantee that can not slide easily after the laminating, guarantee the stable of shielding plate 6 and L shape backplate 7 and place.
Furthermore, the outer side wall of the threaded rod 23 is fixedly connected with a rotating sleeve 28 close to the roller 24, so that the hand holding is convenient, and the threaded rod 23 is conveniently driven to rotate and adjust.
In conclusion, the work flow of the invention is as follows: the device is integrally driven by a power mechanism 1 to drive a cutting mechanism 2, so that pruning work of shrub greenbelts is realized, when the device is not used, the two L-shaped half handles 10 can rotate mutually through a connecting block 11, a rotating hole 12 and a rotating column 13 which are arranged, so that the two L-shaped half handles 10 can be pulled to rotate under the action of a torsion spring 14, an L-shaped guard plate 7 which is rotatably connected with a shielding plate 6 through a right-angle hinge can be pushed to rotate towards one side of the cutting mechanism 2, at the moment, the L-shaped guard plate 7 and the shielding plate 6 are in a vertical state, the tip of the cutting mechanism 2 is protected, the problem that the tip can scratch other people when the device is not used is prevented, when the device is used, one hand holds an auxiliary handle 3, the other hand holds the two L-shaped half handles 10, and the top parts of the two L-shaped half handles 10 are rotated to a horizontal state, thereby driving the L-shaped guard plate 7 to rotate to be in the same horizontal plane with the shielding plate 6 and separate from the outer side of the cutting mechanism 2, then pulling the shielding plate 6 and the L-shaped guard plate 7 upwards under the action of the T-shaped sliding groove 4 and the T-shaped sliding block 5 by holding the two L-shaped half handles 10 by hand to increase the distance between the shielding plate 6 and the cutting mechanism 2, facilitating trimming work, and simultaneously avoiding the problem that the shielding plate 6 and the cutting mechanism 2 are too close to each other and are easily clamped by trimmed branches and leaves to influence trimming, when the shielding plate rises to a certain height, the telescopic spring 18 on the fixing block 17 pushes the extension rod 19 to move towards the left side when the height of the clamping block 20 is higher than that of the power mechanism 1, so that the clamping block 20 can be clamped in the bayonet 16 to ensure that the two L-shaped half handles 10 are loosened and held, the L-shaped guard plate 7 and the shielding plate 6 are also in a horizontal state, when the shielding plate 7 and the shielding plate 6 are retracted, as long as the two L-shaped half handles 10 are held by hand to slightly raise the L-shaped guard plate 7 and the shielding plate 6, press down the shrink of fixture block 20 through the finger, make fixture block 20 laminate power unit 1's right side can, thereby convenient pruning work, two half handles 10 of L shape, can be through slide bar 8 and sliding sleeve 9 sliding position, thereby can be different according to user's custom, change handheld position, wherein gyro wheel 24, can rotate cover 28 through rotating, control threaded hole 22 internal thread pole 23 is flexible, thereby when needs prune the bush greenbelt side of pruning, can contact gyro wheel 24 and ground, vertical placer prunes, avoid the user to rely on the both hands simply to hold the device pruning, hard problem, make pruning bush greenbelt side simple and convenient more.
It is noted that, herein, relational terms such as first and second, and the like may be used solely to distinguish one entity or action from another entity or action without necessarily requiring or implying any actual such relationship or order between such entities or actions. Also, the terms "comprises," "comprising," or any other variation thereof, are intended to cover a non-exclusive inclusion, such that a process, method, article, or apparatus that comprises a list of elements does not include only those elements but may include other elements not expressly listed or inherent to such process, method, article, or apparatus.
Although embodiments of the present invention have been shown and described, it will be appreciated by those skilled in the art that various changes, modifications, substitutions and alterations can be made in these embodiments without departing from the principles and spirit of the invention, the scope of which is defined in the appended claims and their equivalents.
Claims (8)
1. The utility model provides a clipping machine is used to gardens sanitation, includes power unit (1) and cutting mechanism (2) of being connected with this power unit (1) right side bottom transmission, its characterized in that: the left side of the power mechanism (1) is fixedly connected with an auxiliary handle (3), the right side of the power mechanism (1) is positioned above the cutting mechanism (2) and symmetrically provided with a T-shaped sliding chute (4), the inside of the T-shaped sliding chute (4) is slidably connected with a T-shaped sliding block (5), two right sides of the T-shaped sliding blocks (5) are fixedly connected with a shielding plate (6) together, the front surface and the rear surface of the shielding plate (6) are rotatably connected with an L-shaped protective plate (7) through right-angle hinges, the upper surface of the L-shaped protective plate (7) is fixedly connected with a sliding rod (8), the outer side wall of the sliding rod (8) is slidably connected with a sliding sleeve (9), the top of the sliding sleeve (9) is fixedly connected with an L-shaped half handle (10), the opposite ends of the two L-shaped half handles (10) are integrally formed with a connecting block (11), the opposite sides of the two connecting blocks (11) are respectively provided with a rotating hole (12), a rotating column (13) is rotatably connected between the two rotating holes (12), a torsion spring (14) is sleeved on the outer side of the rotating column (13), two ends of the torsion spring (14) are respectively connected with two rotating bayonet fixing holes (12) of the left side of the sliding rod (1), and the cylindrical surface of the opening (16) is symmetrically provided with the cylindrical surface of the cylindrical opening (16), the inside fixedly connected with fixed block (17) of slide bar (8), the left side fixedly connected with expanding spring (18) of fixed block (17), the left end fixedly connected with extension rod (19) of expanding spring (18), the left end fixedly connected with fixture block (20) of extension rod (19), the left side of fixture block (20) with the right side of power unit (1) is laminated mutually.
2. The pruning device for garden sanitation according to claim 1, wherein: the front surface and the rear surface of the power mechanism (1) are both provided with heat dissipation ports (15).
3. The pruning device for garden sanitation according to claim 1, wherein: the outer side wall of the auxiliary handle (3) is sleeved with a sponge sleeve (21).
4. The pruning device for garden sanitation according to claim 1, wherein: threaded holes (22) are symmetrically formed in the right side of the shielding plate (6), a threaded rod (23) is connected to the inner threads of the threaded holes (22), the right end of the threaded rod (23) penetrates through the threaded holes (22), and a roller (24) is fixedly connected with the right end of the threaded rod.
5. The pruning device for garden sanitation according to claim 1, wherein: the inner side wall of the sliding sleeve (9) is fixedly connected with a rubber ring (25).
6. The pruning device for garden sanitation according to claim 1, wherein: the inner side wall of the bayonet (16) is fixedly connected with a rubber pad (26).
7. The trimmer for use in garden sanitation according to claim 1, wherein: the left side of the clamping block (20) is fixedly connected with an anti-skid pad (27).
8. The pruning device for garden sanitation according to claim 4, wherein: the outer side wall of the threaded rod (23) close to the roller (24) is fixedly connected with a rotating sleeve (28).
Priority Applications (1)
| Application Number | Priority Date | Filing Date | Title |
|---|---|---|---|
| CN202110727416.3A CN113348895B (en) | 2021-06-29 | 2021-06-29 | Trimmer is used to gardens sanitation |
Applications Claiming Priority (1)
| Application Number | Priority Date | Filing Date | Title |
|---|---|---|---|
| CN202110727416.3A CN113348895B (en) | 2021-06-29 | 2021-06-29 | Trimmer is used to gardens sanitation |
Publications (2)
| Publication Number | Publication Date |
|---|---|
| CN113348895A CN113348895A (en) | 2021-09-07 |
| CN113348895B true CN113348895B (en) | 2022-12-13 |
Family
ID=77536997
Family Applications (1)
| Application Number | Title | Priority Date | Filing Date |
|---|---|---|---|
| CN202110727416.3A Active CN113348895B (en) | 2021-06-29 | 2021-06-29 | Trimmer is used to gardens sanitation |
Country Status (1)
| Country | Link |
|---|---|
| CN (1) | CN113348895B (en) |
Citations (5)
| Publication number | Priority date | Publication date | Assignee | Title |
|---|---|---|---|---|
| CN207235540U (en) * | 2017-09-18 | 2018-04-17 | 天津新分区科技有限公司 | A kind of Multifunctional electric saw |
| CN208836600U (en) * | 2018-08-28 | 2019-05-10 | 凡博(天津)建设工程有限公司 | A kind of afforestation band clipping device |
| CN210534667U (en) * | 2019-11-05 | 2020-05-15 | 东营三能科技有限公司 | Mainframe box convenient to dismantle |
| CN211745516U (en) * | 2019-12-16 | 2020-10-27 | 赖新权 | Protection mechanism of hedge trimmer for environmental greening |
| CN211881181U (en) * | 2019-11-21 | 2020-11-10 | 李传磊 | Environment-friendly electric hedge trimmer |
-
2021
- 2021-06-29 CN CN202110727416.3A patent/CN113348895B/en active Active
Patent Citations (5)
| Publication number | Priority date | Publication date | Assignee | Title |
|---|---|---|---|---|
| CN207235540U (en) * | 2017-09-18 | 2018-04-17 | 天津新分区科技有限公司 | A kind of Multifunctional electric saw |
| CN208836600U (en) * | 2018-08-28 | 2019-05-10 | 凡博(天津)建设工程有限公司 | A kind of afforestation band clipping device |
| CN210534667U (en) * | 2019-11-05 | 2020-05-15 | 东营三能科技有限公司 | Mainframe box convenient to dismantle |
| CN211881181U (en) * | 2019-11-21 | 2020-11-10 | 李传磊 | Environment-friendly electric hedge trimmer |
| CN211745516U (en) * | 2019-12-16 | 2020-10-27 | 赖新权 | Protection mechanism of hedge trimmer for environmental greening |
Also Published As
| Publication number | Publication date |
|---|---|
| CN113348895A (en) | 2021-09-07 |
Similar Documents
| Publication | Publication Date | Title |
|---|---|---|
| CN210226293U (en) | Trimming means that ornamental trees and shrubs maintenance was used | |
| CN113348895B (en) | Trimmer is used to gardens sanitation | |
| CN207382902U (en) | A kind of height-adjustable garden lawn trimmer | |
| CN105145137B (en) | The rotating mechanism of GREEB HEDGE MACHINE auxiliary-handle | |
| CN210275191U (en) | A garden nursery pruning and residual branch cleaning device | |
| CN220528684U (en) | Ornamental trees and shrubs trimming means | |
| CN207369652U (en) | A kind of Telescopic scissors to cut the grass on a lawn | |
| CN204860235U (en) | Intelligent trimming means of afforestation | |
| CN211406937U (en) | Ornamental trees and shrubs trimming means | |
| CN220383610U (en) | A prune structure is planted in green for afforestation maintenance | |
| CN210053949U (en) | High branch trimming shears for gardening | |
| CN210226277U (en) | Gardening flower and tree trimmer | |
| CN216163618U (en) | A new type of peony pruning equipment | |
| CN205611248U (en) | Straw articles is repaiied in gardens | |
| CN214178175U (en) | Novel landscape is pruned and is used pruning device | |
| CN112042414B (en) | Gardens bush side pruning equipment | |
| CN211064239U (en) | Be used for hickory branch trimming means | |
| CN207665566U (en) | A kind of Multifunction controllable Nursery Stock apparatus for shaping | |
| CN204811166U (en) | Hedgerow trimming means of area molding support | |
| CN213427150U (en) | Multi-functional gardens clipper | |
| CN218388826U (en) | Gardens are pruned and are used device convenient to carry | |
| CN221615648U (en) | Mulberry fruit is planted and is beaten branch instrument | |
| CN214482362U (en) | Greenhouse planting trimming device with adjusting structure | |
| CN215301698U (en) | Garden trimming device | |
| CN219612617U (en) | Ornamental trees and shrubs prune mechanical device |
Legal Events
| Date | Code | Title | Description |
|---|---|---|---|
| PB01 | Publication | ||
| PB01 | Publication | ||
| SE01 | Entry into force of request for substantive examination | ||
| SE01 | Entry into force of request for substantive examination | ||
| GR01 | Patent grant | ||
| GR01 | Patent grant |