CN113292174A - Waste water purification treatment device - Google Patents

Waste water purification treatment device Download PDF

Info

Publication number
CN113292174A
CN113292174A CN202110389010.9A CN202110389010A CN113292174A CN 113292174 A CN113292174 A CN 113292174A CN 202110389010 A CN202110389010 A CN 202110389010A CN 113292174 A CN113292174 A CN 113292174A
Authority
CN
China
Prior art keywords
cavity
aeration tank
filter
slag
aeration
Prior art date
Legal status (The legal status is an assumption and is not a legal conclusion. Google has not performed a legal analysis and makes no representation as to the accuracy of the status listed.)
Pending
Application number
CN202110389010.9A
Other languages
Chinese (zh)
Inventor
杜歆桐
李龙海
Current Assignee (The listed assignees may be inaccurate. Google has not performed a legal analysis and makes no representation or warranty as to the accuracy of the list.)
Jiangsu University
Original Assignee
Jiangsu University
Priority date (The priority date is an assumption and is not a legal conclusion. Google has not performed a legal analysis and makes no representation as to the accuracy of the date listed.)
Filing date
Publication date
Application filed by Jiangsu University filed Critical Jiangsu University
Priority to CN202110389010.9A priority Critical patent/CN113292174A/en
Publication of CN113292174A publication Critical patent/CN113292174A/en
Pending legal-status Critical Current

Links

Images

Classifications

    • CCHEMISTRY; METALLURGY
    • C02TREATMENT OF WATER, WASTE WATER, SEWAGE, OR SLUDGE
    • C02FTREATMENT OF WATER, WASTE WATER, SEWAGE, OR SLUDGE
    • C02F9/00Multistage treatment of water, waste water or sewage
    • CCHEMISTRY; METALLURGY
    • C02TREATMENT OF WATER, WASTE WATER, SEWAGE, OR SLUDGE
    • C02FTREATMENT OF WATER, WASTE WATER, SEWAGE, OR SLUDGE
    • C02F1/00Treatment of water, waste water, or sewage
    • C02F1/001Processes for the treatment of water whereby the filtration technique is of importance
    • CCHEMISTRY; METALLURGY
    • C02TREATMENT OF WATER, WASTE WATER, SEWAGE, OR SLUDGE
    • C02FTREATMENT OF WATER, WASTE WATER, SEWAGE, OR SLUDGE
    • C02F1/00Treatment of water, waste water, or sewage
    • C02F1/30Treatment of water, waste water, or sewage by irradiation
    • C02F1/32Treatment of water, waste water, or sewage by irradiation with ultraviolet light
    • CCHEMISTRY; METALLURGY
    • C02TREATMENT OF WATER, WASTE WATER, SEWAGE, OR SLUDGE
    • C02FTREATMENT OF WATER, WASTE WATER, SEWAGE, OR SLUDGE
    • C02F7/00Aeration of stretches of water
    • CCHEMISTRY; METALLURGY
    • C02TREATMENT OF WATER, WASTE WATER, SEWAGE, OR SLUDGE
    • C02FTREATMENT OF WATER, WASTE WATER, SEWAGE, OR SLUDGE
    • C02F2201/00Apparatus for treatment of water, waste water or sewage
    • C02F2201/008Mobile apparatus and plants, e.g. mounted on a vehicle
    • CCHEMISTRY; METALLURGY
    • C02TREATMENT OF WATER, WASTE WATER, SEWAGE, OR SLUDGE
    • C02FTREATMENT OF WATER, WASTE WATER, SEWAGE, OR SLUDGE
    • C02F2201/00Apparatus for treatment of water, waste water or sewage
    • C02F2201/32Details relating to UV-irradiation devices
    • CCHEMISTRY; METALLURGY
    • C02TREATMENT OF WATER, WASTE WATER, SEWAGE, OR SLUDGE
    • C02FTREATMENT OF WATER, WASTE WATER, SEWAGE, OR SLUDGE
    • C02F2303/00Specific treatment goals
    • C02F2303/22Eliminating or preventing deposits, scale removal, scale prevention
    • YGENERAL TAGGING OF NEW TECHNOLOGICAL DEVELOPMENTS; GENERAL TAGGING OF CROSS-SECTIONAL TECHNOLOGIES SPANNING OVER SEVERAL SECTIONS OF THE IPC; TECHNICAL SUBJECTS COVERED BY FORMER USPC CROSS-REFERENCE ART COLLECTIONS [XRACs] AND DIGESTS
    • Y02TECHNOLOGIES OR APPLICATIONS FOR MITIGATION OR ADAPTATION AGAINST CLIMATE CHANGE
    • Y02WCLIMATE CHANGE MITIGATION TECHNOLOGIES RELATED TO WASTEWATER TREATMENT OR WASTE MANAGEMENT
    • Y02W10/00Technologies for wastewater treatment
    • Y02W10/10Biological treatment of water, waste water, or sewage

Landscapes

  • Life Sciences & Earth Sciences (AREA)
  • Hydrology & Water Resources (AREA)
  • Engineering & Computer Science (AREA)
  • Environmental & Geological Engineering (AREA)
  • Water Supply & Treatment (AREA)
  • Chemical & Material Sciences (AREA)
  • Organic Chemistry (AREA)
  • Health & Medical Sciences (AREA)
  • Toxicology (AREA)
  • Physical Water Treatments (AREA)

Abstract

本发明提供了一种废水净化处理装置,主体为处理箱,处理箱内设有曝气池、过滤腔、消毒腔、混合腔和粉碎腔;其中曝气池位于顶部;过滤腔位于曝气池下方且两者之间连接有过滤管;消毒腔设在过滤腔侧面且两者之间通过过滤板分隔;混合腔位于消毒腔下方且两者之间通过消毒口连通;混合腔外壁设有加药斗,内部设有搅拌机构,混合腔侧面连接有出水管;粉碎腔位于过滤腔下方且两者之间连接有粉碎管;粉碎腔内部设有粉碎机,粉碎腔侧面连接有出渣管。本发明废水净化处理装置通过在处理箱内划分出多个区域,实现对废水的多级处理,废水依次经曝气、过滤和消毒后再最终由药剂混合净化实现达标排放;对废水的净化处理较为彻底。

Figure 202110389010

The invention provides a wastewater purification and treatment device, the main body is a treatment box, and the treatment box is provided with an aeration tank, a filter cavity, a disinfection cavity, a mixing cavity and a pulverization cavity; wherein the aeration tank is located at the top; the filter cavity is located under the aeration tank The sterilizing cavity is located on the side of the filtration cavity and the two are separated by a filter plate; the mixing cavity is located below the sterilizing cavity and the two are communicated through a sterilizing port; the outer wall of the mixing cavity is provided with a The medicine hopper is provided with a stirring mechanism inside, and the side of the mixing chamber is connected with a water outlet pipe; the crushing chamber is located under the filter chamber and a crushing pipe is connected between the two; The wastewater purification and treatment device of the present invention realizes multi-stage treatment of wastewater by dividing a plurality of areas in the treatment box. The wastewater is aerated, filtered and sterilized in sequence, and then finally mixed and purified by chemicals to achieve standard discharge; purification treatment of wastewater more thorough.

Figure 202110389010

Description

Waste water purification treatment device
Technical Field
The invention belongs to the field of wastewater treatment, and particularly relates to a wastewater purification treatment device.
Background
Wastewater treatment is a process of purifying wastewater to meet the water quality requirement of discharging the wastewater into a certain water body or reusing the wastewater, and is widely applied to various fields of buildings, agriculture, traffic, energy, petrifaction, environmental protection, urban landscape, medical treatment, catering and the like.
The device that prior art used in handling waste water is structurally too complicated, and manufacturing cost is too high, can not reach fine treatment effect moreover, is thorough inadequately to the processing of waste water, can't realize the cyclic utilization of water, when being used for separating waste water and impurity in addition, takes place to block up because impurity is too big easily, needs artifical mediation, influences subsequent waste water treatment, and is comparatively time-consuming and energy-consuming, and the operation is inconvenient. Therefore, a novel wastewater treatment device needs to be developed.
Disclosure of Invention
Aiming at the defects in the prior art, the invention provides a wastewater purification treatment device.
The present invention achieves the above technical objects by the following technical means.
A wastewater purification treatment device is characterized in that an aeration tank, a filter chamber, a disinfection chamber, a mixing chamber and a crushing chamber are arranged in a treatment box; the aeration tank is positioned at the top of the treatment tank, an aeration disc of an aeration assembly is arranged in the aeration tank, a slag scraping assembly is arranged at the top of the aeration tank, and a slag receiving tank is connected to the side surface of the aeration tank;
the filter cavity is positioned below the aeration tank, a filter pipe is connected between the filter cavity and the aeration tank, and a valve is arranged on the filter pipe; the disinfection chamber is arranged on the side surface of the filter chamber and is separated from the filter chamber by a filter plate;
the mixing cavity is positioned below the disinfection cavity and is communicated with the disinfection cavity through a disinfection port; a medicine feeding hopper is arranged on the outer wall of the mixing cavity, a stirring mechanism is arranged in the mixing cavity, and a water outlet pipe is connected to the side surface of the mixing cavity;
the crushing cavity is positioned below the filtering cavity, a crushing pipe is connected between the filtering cavity and the crushing cavity, and a valve is arranged on the crushing pipe; the crushing cavity is internally provided with a crusher, and the side surface of the crushing cavity is connected with a slag discharging pipe.
Further, the aeration component is also provided with an aerator and an aeration tank, wherein the aerator is connected with the aeration tank and fixed outside the treatment box, and the aeration disc is connected with an aeration pipe through a pipeline.
Further, the slag scraping assembly comprises a slag scraping motor, a scraping plate and a belt guide rail; the belt guide rails are divided into two belts which are symmetrically arranged on two sides of the top of the aeration tank, the belt guide rails are driven by a slag scraping motor, and the scraper blades are fixed on the belt guide rails.
Further, connect the sediment case to be hopper-shaped, open-topped to be fixed in and handle the case outside, connect the opening at sediment roof portion with scrape the sediment subassembly and cooperate.
Furthermore, a slag discharge port is arranged at the bottom of the slag receiving box.
Furthermore, the filter plate comprises three layers, and a gauze filter plate, an active carbon filter plate and a quartz sand filter plate are sequentially arranged from the filter chamber to the disinfection chamber.
Further, an ultraviolet lamp is arranged at the top of the disinfection cavity.
Furthermore, the stirring mechanism in the mixing cavity is formed by connecting a plurality of mixing blades in series and is driven by a mixing motor.
Furthermore, a dryer is arranged in the crushing cavity and is positioned below the crusher.
Furthermore, the bottom surface of the aeration tank, the bottom surface of the filter cavity and the bottom surface of the disinfection cavity are provided with slopes matched with connecting pipelines at the respective bottoms.
Further, the bottom of the treatment box is provided with universal wheels.
The invention has the beneficial effects that:
(1) the wastewater purification treatment device realizes the multi-stage treatment of the wastewater by dividing a plurality of areas in the treatment box, and the wastewater is subjected to aeration, filtration and disinfection in sequence and then finally is mixed and purified by medicaments to realize standard discharge; the purification treatment of the waste water is more thorough.
(2) The top of the aeration tank is provided with the slag scraping component, so that waste slag floating on the surface of the wastewater is scraped into the slag receiving box in advance in the aeration process; the waste water is aerated and then solid residues are further filtered, and finally the crushing cavity is utilized to crush and dry the solid residues, so that the solid-liquid separation purpose is achieved and the blockage of the solid residues is avoided.
(3) The wastewater purification treatment device is a movable small-sized wastewater treatment device, has high integration level and strong integrity, is provided with the universal wheels convenient to move at the bottom, has high flexibility, and is suitable for various small-batch or temporary emergency treatment occasions.
Drawings
FIG. 1 is a schematic view of a wastewater purification treatment apparatus according to the present invention;
FIG. 2 is a cross-sectional view of a treatment tank of the present invention;
FIG. 3 is a schematic view of the structure of the aeration assembly of the present invention;
FIG. 4 is a schematic structural view of a slag scraping assembly according to the present invention;
FIG. 5 is a schematic view of the filter plate structure of the present invention.
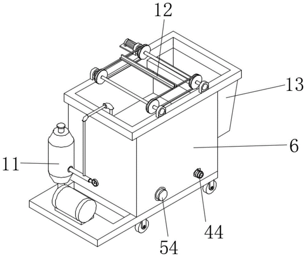
Reference numerals:
1-an aeration tank; 11-an aeration assembly; 111-an aerator; 112-an aeration tank;
113-an aeration disc; 12-a slag scraping assembly; 121-a slag scraping motor; 122-a scraper;
123-belt guide rail; 13-a slag receiving box; 2-a filter chamber; 21-a filter tube;
22-a filter plate; 221-screen filter plate; 222-an activated carbon filter plate; 223-quartz sand filter plate;
3-a disinfection chamber; 31-an ultraviolet lamp; 32-a disinfection port; 4-a mixing chamber;
41-adding a medicine hopper; 42-hybrid electric machine; 43-mixing blades; 44-a water outlet pipe;
5-crushing cavity; 51-a crushing tube; 52-a pulverizer; 53-drying machine;
54-a slag tapping pipe; 6-treatment box.
Detailed Description
Reference will now be made in detail to the embodiments of the present invention, examples of which are illustrated in the accompanying drawings, wherein like reference numerals refer to the same or similar elements or elements having the same or similar functions throughout. The embodiments described below with reference to the drawings are illustrative and intended to be illustrative of the invention and are not to be construed as limiting the invention.
As shown in fig. 1 and fig. 2, the main body of the wastewater purification treatment device is a cubic treatment tank 6, universal wheels for moving the treatment device are arranged at the bottom of the treatment tank 6, the inside of the treatment tank 6 is divided into five areas of three layers by partition plates, namely an aeration tank 1, a filter cavity 2, a disinfection cavity 3, a mixing cavity 4 and a crushing cavity 5; wherein the aeration tank 1 is positioned at the top layer, the filter cavity 2 and the disinfection cavity 3 are positioned at the middle layer and are horizontally arranged, the mixing cavity 4 and the crushing cavity 5 are positioned at the bottom layer, the crushing cavity 5 is positioned below the filter cavity 2, and the mixing cavity 4 is positioned below the disinfection cavity 3; it should be noted that the above-mentioned expression "a certain cavity is located below a certain cavity" does not require the areas of the upper and lower cavities to be the same; the aeration tank 1 is communicated with the filter cavity 2 through a filter pipe 21, and the filter pipe 21 is provided with an electromagnetic valve; a filter plate 22 is arranged between the filter chamber 2 and the disinfection chamber 3; the filter cavity 2 is communicated with the crushing cavity 5 through a crushing pipe 51, and the crushing pipe 51 is provided with an electromagnetic valve; the disinfection chamber 3 is communicated with the mixing chamber 4 through a disinfection port 32.
The top of the aeration tank 1 is of an open structure, one side of the aeration tank 1 is connected with an aeration component 11, the other side of the aeration tank 1 is connected with a slag receiving box 13, and the top of the aeration tank 1 is provided with a slag scraping component 12; the aeration component 11 is used for carrying out aeration treatment on the wastewater in the aeration tank 1, and the waste residue floating on the water surface after aeration is scraped into the residue receiving tank 13 by the residue scraping component 12.
The aeration assembly 11 shown in fig. 3 comprises an aerator 111, an aeration tank 112 and an aeration disc 113; wherein the aerator 111 and the aeration tank 112 are fixed outside the treatment tank 6, the aerator 111 is connected with the aeration tank 112, the aeration tank 112 is connected with the aeration disc 113 through a pipeline, and the aeration disc 113 is positioned inside the aeration tank 1; the aeration assembly 11 is a conventional device, and the specific internal structure thereof will not be described in detail.
The slag scraping assembly 12 shown in FIG. 4 comprises a slag scraping motor 121, a scraping plate 122 and a belt guide rail 123; the belt guide rails 123 are divided into two parts which are symmetrically arranged on two sides of the top of the aeration tank 1, the scraping plates 122 are fixed on the two belt guide rails 123, and the slag scraping motor 121 is responsible for driving the belt guide rails 123 to further drive the scraping plates 122 to rotate along the direction F shown in the figure, so that the purpose of periodically scraping waste slag into the slag receiving box 13 on the surface of the aeration tank 1 is achieved.
The slag receiving box 13 is funnel-shaped and is fixed on the outer side of the treatment box 6, the top of the slag receiving box is open and is flush with the top of the aeration tank 1, and the opening at the top of the slag receiving box 13 is matched with the slag scraping component 12 and is used for receiving waste slag scraped from the aeration tank 1; the bottom of the slag receiving box 13 can be additionally provided with a slag discharge port convenient for slag discharge.
As shown in fig. 5 and 2, the filter plate 22 has three layers, and the directions from the filter chamber 2 to the disinfection chamber 3 are as follows: a screen filter plate 221, an activated carbon filter plate 222, and a quartz sand filter plate 223. The wastewater flowing into the filter chamber 2 is filtered layer by layer through the three layers of filter plates 22.
As shown in fig. 2, an ultraviolet lamp 31 is disposed at the top of the disinfection chamber 3 for ultraviolet irradiation disinfection treatment of the inflowing wastewater.
As shown in fig. 2, a chemical feeding hopper 41 is arranged on the outer wall of the mixing cavity 4, the lower end of the chemical feeding hopper 41 is communicated with the mixing cavity 4, and a valve is arranged at the communication position; a plurality of mixing blades 43 connected in series are arranged in the mixing cavity 4, and the mixing blades 43 are driven by a mixing motor 42 arranged outside, so that the waste water in the mixing cavity 4 and the medicament filled by the medicament adding hopper 41 are mixed and stirred; the outer wall of the mixing cavity 4 is also provided with a water outlet pipe 44 for discharging the mixed wastewater, the position of the water outlet pipe 44 is shown in figure 1, and the water outlet pipe 44 is provided with a valve.
A pulverizer 52 and a dryer 53 are arranged in the pulverizing cavity 5, the pulverizer 52 comprises two rollers which are matched with each other and provided with pulverizing teeth on the surfaces, and the pulverizer 52 is arranged below the pulverizing pipe 51 so as to pulverize solid residues falling from the pulverizing pipe 51; the dryer 53 is arranged below the crusher 52 and is responsible for drying and dehydrating crushed solid residues; the outer wall of the crushing cavity 5 is provided with a slag outlet pipe 54, the position of which is shown in figure 1, and the slag outlet pipe 54 is provided with a valve.
As shown in figure 2, slopes matched with respective bottom connecting pipelines are arranged on the bottom surface of the aeration tank 1, the bottom surface of the filter cavity 2 and the bottom surface of the disinfection cavity 3, so that waste water or waste residues can flow out downwards conveniently.
The working process of the wastewater purification treatment device comprises the following steps:
the waste water is firstly poured into the aeration tank 1 for aeration treatment, during which the filter pipe 21 connected with the bottom of the aeration tank 1 is kept closed, and during the aeration process, the slag scraping component 12 is used for scraping the waste slag floating on the water surface under the action of aeration into the slag receiving tank 13.
After the aeration is completed, the filter pipe 21 is opened and the pulverizing pipe 51 is kept closed, so that the wastewater flows down from the aeration tank 1 into the filter chamber 2, and then flows into the sterilizing chamber 3 after being filtered by the filter plate 22; during this period, the ultraviolet lamp 31 in the disinfection chamber 3 is kept on, and the wastewater flowing into the disinfection chamber 3 is disinfected by ultraviolet irradiation, and finally the wastewater is poured into the mixing chamber 4 from the disinfection port 32 at the bottom of the disinfection chamber 3.
A medicament or liquid medicament for sewage treatment is filled into the mixing cavity 4 from the medicament adding hopper 41, and the mixing motor 42 is utilized to drive the mixing blade 43 to stir the wastewater in the mixing cavity 4, so that the wastewater and the medicament are fully mixed and react, and finally the purification treatment of the wastewater is completed; after the treatment is completed, the water outlet pipe 44 is opened to discharge the purified wastewater.
After all the wastewater in the aeration tank 1 is filtered by the filter chamber 2, the crushing pipe 51 is opened, and the filtered solid residue in the filter chamber 2 is poured downwards into the crushing chamber 5; in the crushing cavity 5, the solid residue is firstly crushed by the crusher 52, then is further dried and dehydrated by the dryer 53, and finally is discharged by opening the slag discharging pipe 54.
In the description of the present invention, it is to be understood that the terms "upper", "lower", "front", "rear", "left", "right", "vertical", "horizontal", "top", "bottom", "inner", "outer", etc., indicate orientations or positional relationships based on those shown in the drawings, and are only for convenience of description and simplicity of description, but do not indicate or imply that the device or element being referred to must have a particular orientation, be constructed and operated in a particular orientation, and thus, are not to be construed as limiting the present invention. The present invention is not limited to the above-described embodiments, and any obvious improvement, replacement or modification by those skilled in the art can be made without departing from the spirit of the present invention.

Claims (10)

1. The utility model provides a waste water purification treatment device which characterized in that: an aeration tank (1), a filter cavity (2), a disinfection cavity (3), a mixing cavity (4) and a crushing cavity (5) are arranged in the treatment box (6);
the aeration tank (1) is positioned at the top of the treatment tank (6), an aeration disc (113) of an aeration component (11) is arranged in the aeration tank (1), a slag scraping component (12) is arranged at the top of the aeration tank (1), and a slag receiving tank (13) is connected to the side surface of the aeration tank (1);
the filter cavity (2) is positioned below the aeration tank (1), a filter pipe (21) is connected between the filter cavity and the aeration tank, and a valve is arranged on the filter pipe (21); the disinfection chamber (3) is arranged on the side surface of the filter chamber (2) and is separated from the filter chamber by a filter plate (22);
the mixing cavity (4) is positioned below the disinfection cavity (3) and is communicated with the disinfection cavity through a disinfection port (32); a medicine feeding hopper (41) is arranged on the outer wall of the mixing cavity (4), a stirring mechanism is arranged in the mixing cavity (4), and a water outlet pipe (44) is connected to the side surface of the mixing cavity (4);
the crushing cavity (5) is positioned below the filtering cavity (2), a crushing pipe (51) is connected between the crushing cavity and the filtering cavity, and a valve is arranged on the crushing pipe (51); a crusher (52) is arranged in the crushing cavity (5), and a slag discharging pipe (54) is connected to the side surface of the crushing cavity (5).
2. The wastewater purification treatment apparatus according to claim 1, characterized in that: the aeration assembly (11) further comprises an aerator (111) and an aeration tank (112), wherein the aerator (111) is connected with the aeration tank (112) and is fixed on the outer side of the treatment box (6), and the aeration disc (113) is connected with the aeration tank (112) through a pipeline.
3. The wastewater purification treatment apparatus according to claim 1, characterized in that: the slag scraping assembly (12) comprises a slag scraping motor (121), a scraping plate (122) and a belt guide rail (123); the belt guide rails (123) are symmetrically arranged on two sides of the top of the aeration tank (1), the belt guide rails (123) are driven by a slag scraping motor (121), and the scraping plates (122) are fixed on the belt guide rails (123).
4. The wastewater purification treatment apparatus according to claim 1, characterized in that: the slag receiving box (13) is funnel-shaped, the top of the slag receiving box is open, the slag receiving box is fixed on the outer side of the treatment box (6), and the opening in the top of the slag receiving box (13) is matched with the slag scraping component (12); the bottom of the slag receiving box (13) is provided with a slag discharge port.
5. The wastewater purification treatment apparatus according to claim 1, characterized in that: the filter plate (22) comprises three layers, and a gauze filter plate (221), an active carbon filter plate (222) and a quartz sand filter plate (223) are sequentially arranged from the filter chamber (2) to the disinfection chamber (3).
6. The wastewater purification treatment apparatus according to claim 1, characterized in that: an ultraviolet lamp (31) is arranged at the top of the disinfection cavity (3).
7. The wastewater purification treatment apparatus according to claim 1, characterized in that: the stirring mechanism in the mixing cavity (4) is formed by connecting a plurality of mixing blades (43) in series and is driven by a mixing motor (42).
8. The wastewater purification treatment apparatus according to claim 1, characterized in that: a dryer (53) is further arranged in the crushing cavity (5), and the dryer (53) is located below the crusher (52).
9. The wastewater purification treatment apparatus according to claim 1, characterized in that: the bottom surfaces of the aeration tank (1), the filter cavity (2) and the disinfection cavity (3) are all provided with slopes matched with the bottom connecting pipelines respectively.
10. The wastewater purification treatment apparatus according to claim 1, characterized in that: the bottom of the treatment box (6) is provided with universal wheels.
CN202110389010.9A 2021-04-12 2021-04-12 Waste water purification treatment device Pending CN113292174A (en)

Priority Applications (1)

Application Number Priority Date Filing Date Title
CN202110389010.9A CN113292174A (en) 2021-04-12 2021-04-12 Waste water purification treatment device

Applications Claiming Priority (1)

Application Number Priority Date Filing Date Title
CN202110389010.9A CN113292174A (en) 2021-04-12 2021-04-12 Waste water purification treatment device

Publications (1)

Publication Number Publication Date
CN113292174A true CN113292174A (en) 2021-08-24

Family

ID=77319570

Family Applications (1)

Application Number Title Priority Date Filing Date
CN202110389010.9A Pending CN113292174A (en) 2021-04-12 2021-04-12 Waste water purification treatment device

Country Status (1)

Country Link
CN (1) CN113292174A (en)

Cited By (1)

* Cited by examiner, † Cited by third party
Publication number Priority date Publication date Assignee Title
CN114617095A (en) * 2022-02-18 2022-06-14 通威股份有限公司 Shrimp culture system and use method thereof

Citations (5)

* Cited by examiner, † Cited by third party
Publication number Priority date Publication date Assignee Title
EP2468686A1 (en) * 2010-12-21 2012-06-27 Vladimir Petrovich Kolesnikov Integrated wastewater purification assembly
CN108892277A (en) * 2018-07-27 2018-11-27 刘洁 A kind of medical waste water integrated treatment unit
CN111747567A (en) * 2020-07-06 2020-10-09 那玉金 Multi-stage impurity removal treatment method for wastewater treatment
CN111762914A (en) * 2020-06-30 2020-10-13 烟台南山学院 A petrochemical wastewater treatment system
CN212222719U (en) * 2019-11-29 2020-12-25 宜昌中威清洗机有限公司 A kind of cleaning liquid automatic filtering processing equipment

Patent Citations (5)

* Cited by examiner, † Cited by third party
Publication number Priority date Publication date Assignee Title
EP2468686A1 (en) * 2010-12-21 2012-06-27 Vladimir Petrovich Kolesnikov Integrated wastewater purification assembly
CN108892277A (en) * 2018-07-27 2018-11-27 刘洁 A kind of medical waste water integrated treatment unit
CN212222719U (en) * 2019-11-29 2020-12-25 宜昌中威清洗机有限公司 A kind of cleaning liquid automatic filtering processing equipment
CN111762914A (en) * 2020-06-30 2020-10-13 烟台南山学院 A petrochemical wastewater treatment system
CN111747567A (en) * 2020-07-06 2020-10-09 那玉金 Multi-stage impurity removal treatment method for wastewater treatment

Cited By (1)

* Cited by examiner, † Cited by third party
Publication number Priority date Publication date Assignee Title
CN114617095A (en) * 2022-02-18 2022-06-14 通威股份有限公司 Shrimp culture system and use method thereof

Similar Documents

Publication Publication Date Title
CN206337103U (en) A kind of Multifunction septic-tank sludge, sewage, dirt disposer
CN109433788B (en) Medical waste environment-friendly treatment device
CN110127826A (en) A kind of environment protection field sedimentation basin of sewage disposal
CN110984271A (en) Water conservancy construction dredging device convenient to adjust and using method thereof
CN108658383B (en) Septic tank pipeline filtering method
CN113292174A (en) Waste water purification treatment device
CN107298498A (en) Industrial and mineral waste water high-efficiency purifies and recycled equipment
CN107311348A (en) Hu Chi river courses muddy water and sludge high-efficient purification processing equipment
CN209383637U (en) A kind of sewage disposal device silt cleaning device
CN216808399U (en) Softening and turbidity removing integrated equipment
CN115594342A (en) Energy-concerving and environment-protective type landfill leachate processing system
CN108033643A (en) A kind of Heihe road sewage treatment process
CN211896601U (en) Silt solid-liquid separation all-in-one machine
CN100443425C (en) Rapid treatment process of small and medium-sized sewage sources and its integrated rapid sewage treatment station
CN210313814U (en) Sewage treatment device
CN210065281U (en) Novel sewage treatment equipment
CN208151131U (en) A kind of Heihe road sewage disposal system
CN219567745U (en) Multistage purifier for sewage treatment
CN218290557U (en) A multistage filter equipment for water pollution prevention and cure
CN219991414U (en) Environment-friendly dredging ship suitable for wide area water surface
CN218879669U (en) Industrial waste water treatment equipment with clearance
CN206858402U (en) Sludge dewatering treatment equipment
CN220460039U (en) Domestic sewage treatment device
CN217323687U (en) Black and odorous water body sludge stirring device
CN216863864U (en) Dangerous waste water recovery device

Legal Events

Date Code Title Description
PB01 Publication
PB01 Publication
SE01 Entry into force of request for substantive examination
SE01 Entry into force of request for substantive examination
RJ01 Rejection of invention patent application after publication

Application publication date: 20210824

RJ01 Rejection of invention patent application after publication