CN113280881A - Split radio frequency card intelligent water meter - Google Patents

Split radio frequency card intelligent water meter Download PDF

Info

Publication number
CN113280881A
CN113280881A CN202011106103.8A CN202011106103A CN113280881A CN 113280881 A CN113280881 A CN 113280881A CN 202011106103 A CN202011106103 A CN 202011106103A CN 113280881 A CN113280881 A CN 113280881A
Authority
CN
China
Prior art keywords
water meter
cover
radio frequency
water
frequency card
Prior art date
Legal status (The legal status is an assumption and is not a legal conclusion. Google has not performed a legal analysis and makes no representation as to the accuracy of the status listed.)
Pending
Application number
CN202011106103.8A
Other languages
Chinese (zh)
Inventor
柴海涛
Current Assignee (The listed assignees may be inaccurate. Google has not performed a legal analysis and makes no representation or warranty as to the accuracy of the list.)
Jiangsu Tangli Intelligent Technology Co Ltd
Original Assignee
Jiangsu Tangli Intelligent Technology Co Ltd
Priority date (The priority date is an assumption and is not a legal conclusion. Google has not performed a legal analysis and makes no representation as to the accuracy of the date listed.)
Filing date
Publication date
Application filed by Jiangsu Tangli Intelligent Technology Co Ltd filed Critical Jiangsu Tangli Intelligent Technology Co Ltd
Priority to CN202011106103.8A priority Critical patent/CN113280881A/en
Publication of CN113280881A publication Critical patent/CN113280881A/en
Pending legal-status Critical Current

Links

Images

Classifications

    • GPHYSICS
    • G01MEASURING; TESTING
    • G01FMEASURING VOLUME, VOLUME FLOW, MASS FLOW OR LIQUID LEVEL; METERING BY VOLUME
    • G01F15/00Details of, or accessories for, apparatus of groups G01F1/00 - G01F13/00 insofar as such details or appliances are not adapted to particular types of such apparatus
    • G01F15/12Cleaning arrangements; Filters
    • G01F15/125Filters
    • GPHYSICS
    • G01MEASURING; TESTING
    • G01FMEASURING VOLUME, VOLUME FLOW, MASS FLOW OR LIQUID LEVEL; METERING BY VOLUME
    • G01F15/00Details of, or accessories for, apparatus of groups G01F1/00 - G01F13/00 insofar as such details or appliances are not adapted to particular types of such apparatus
    • G01F15/14Casings, e.g. of special material
    • GPHYSICS
    • G06COMPUTING OR CALCULATING; COUNTING
    • G06KGRAPHICAL DATA READING; PRESENTATION OF DATA; RECORD CARRIERS; HANDLING RECORD CARRIERS
    • G06K7/00Methods or arrangements for sensing record carriers, e.g. for reading patterns
    • G06K7/10Methods or arrangements for sensing record carriers, e.g. for reading patterns by electromagnetic radiation, e.g. optical sensing; by corpuscular radiation
    • GPHYSICS
    • G07CHECKING-DEVICES
    • G07FCOIN-FREED OR LIKE APPARATUS
    • G07F15/00Coin-freed apparatus with meter-controlled dispensing of liquid, gas or electricity
    • G07F15/06Coin-freed apparatus with meter-controlled dispensing of liquid, gas or electricity with means for prepaying basic charges, e.g. rent for meters
    • GPHYSICS
    • G07CHECKING-DEVICES
    • G07FCOIN-FREED OR LIKE APPARATUS
    • G07F15/00Coin-freed apparatus with meter-controlled dispensing of liquid, gas or electricity
    • G07F15/08Coin-freed apparatus with meter-controlled dispensing of liquid, gas or electricity with means for varying the tariff or changing the price

Landscapes

  • Physics & Mathematics (AREA)
  • General Physics & Mathematics (AREA)
  • Fluid Mechanics (AREA)
  • Engineering & Computer Science (AREA)
  • Health & Medical Sciences (AREA)
  • Electromagnetism (AREA)
  • General Health & Medical Sciences (AREA)
  • Toxicology (AREA)
  • Artificial Intelligence (AREA)
  • Computer Vision & Pattern Recognition (AREA)
  • Theoretical Computer Science (AREA)
  • Measuring Volume Flow (AREA)

Abstract

本发明公开了一种分体式射频卡智能水表,包括水表本体,水表本体包括水表壳,水表壳顶部固定安装有水表盖,水表壳内部固定安装有读数表盘,水表盖在读数表盘对应位置安装有表盘盖,水表壳的底部固定安装有过水管道,过水管道内部固定安装有转轴,转轴外侧套设有叶轮,叶轮外侧固定安装有滤网,过水管道一侧设置有进水管,过水管道在远离进水管的一侧设置有出水管。该种分体式射频卡智能水表,结构简单合理,使用方便,有效解决了射频读卡器不便安装和移动的问题,具有较高的实用价值。

Figure 202011106103

The invention discloses a split-type radio frequency card smart water meter, which comprises a water meter body, the water meter body includes a water meter case, a water meter cover is fixedly installed on the top of the water meter case, a reading dial is fixedly installed inside the water meter case, and the water meter cover is installed at the corresponding position of the reading dial. The dial cover, the bottom of the water meter case is fixedly installed with a water passage pipe, the inside of the water passage pipe is fixedly installed with a rotating shaft, the outer side of the rotating shaft is sleeved with an impeller, the outer side of the impeller is fixedly installed with a filter screen, and one side of the water passage pipe is provided with a water inlet pipe to pass the water. The pipe is provided with a water outlet pipe on the side away from the water inlet pipe. The split-type radio frequency card smart water meter has a simple and reasonable structure, is convenient to use, effectively solves the problem of inconvenient installation and movement of the radio frequency card reader, and has high practical value.

Figure 202011106103

Description

Split radio frequency card intelligent water meter
Technical Field
The invention relates to the technical field of intelligent water meters, in particular to a split type radio frequency card intelligent water meter.
Background
The water meter is a meter for measuring water flow, mostly for measuring the accumulated flow of water, and generally divided into a positive displacement water meter and a speed water meter, which originate from the united kingdom, the development of the water meter has a history of nearly two hundred years, when selecting the specification of the water meter, the size and the flow range of the used flow under the normal condition should be estimated first, and then the water meter with the specification of which the common flow is closest to the value is selected as the first choice. The intelligent water meter is a novel water meter which measures the water consumption by utilizing the modern microelectronic technology, the modern sensing technology and the intelligent IC card technology and transmits and settles the transaction of water consumption data. Compared with the traditional water meter which only has the functions of flow acquisition and mechanical pointer display of water consumption, the water meter is a great improvement. The intelligent water meter can record and electronically display the water consumption, can control the water consumption according to convention, automatically complete the water fee calculation of the stepped water price, and simultaneously can perform the function of water data storage.
Most of the existing radio frequency card intelligent water meters are integrated and inconvenient to swipe cards, so that split radio frequency card intelligent water meters are derived, but the water meters of the most of the split radio frequency card intelligent water meters are connected with a card reader through a data line, so that the split radio frequency card intelligent water meters are inconvenient to install, and on the other hand, the radio frequency card reader is fixedly installed and is inconvenient to move; therefore, we improve the above and provide a split type radio frequency card intelligent water meter.
Disclosure of Invention
In order to solve the technical problems, the invention provides the following technical scheme:
the invention discloses a split type radio frequency card intelligent water meter which comprises a water meter body, wherein the water meter body comprises a water meter shell, a water meter cover is fixedly arranged at the top of the water meter shell, a reading dial is fixedly arranged inside the water meter shell, the water meter cover is provided with a dial cover at a position corresponding to the reading dial, the bottom of the water meter shell is fixedly provided with a water passing pipeline, a rotating shaft is fixedly arranged inside the water passing pipeline, an impeller is sleeved on the outer side of the rotating shaft, a filter screen is fixedly arranged on the outer side of the impeller, a water inlet pipe is arranged on one side of the water passing pipeline, and a water outlet pipe is arranged on one side of the water passing pipeline, which is far away from the water inlet pipe.
The radio frequency card reader comprises a shell, a sliding cover is fixedly installed at the top of the shell, and an installation base is fixedly installed at the bottom of the shell.
As a preferred technical scheme of the invention, one side of the casing is provided with a sound hole, a dust cover is arranged in the sound hole, the top of the casing is provided with a groove, and a plurality of control keys are fixedly arranged in the groove.
As a preferred technical scheme of the invention, sliding grooves are arranged on two sides of the top of the shell, sliding strips are arranged on two sides of the bottom of the sliding cover, and the sliding strips are mutually clamped with the sliding grooves.
As a preferred technical scheme of the invention, one side of the top of the sliding cover is provided with a liquid crystal display, and one side of the top of the sliding cover, which is close to the liquid crystal display, is provided with a clamping groove.
According to a preferable technical scheme of the invention, the four corners of the top of the installation base are fixedly provided with the magnet columns, the outer parts of the magnet columns are sleeved with the rubber protective sleeves, and the center of the top of the installation base is provided with the charging seat.
As a preferred technical scheme of the invention, the top of the rotating shaft is sleeved with a driving gear, the bottom of the rotating shaft of the reading dial plate is sleeved with a driven gear, and the driving gear and the driven gear are in meshed transmission connection.
As a preferred technical scheme of the present invention, a hinge is fixedly installed between the dial cover and the water meter cover, and the dial cover is fixedly connected with the water meter cover through the hinge.
As a preferred technical scheme of the invention, counter bores are formed in four corners of the water meter cover, screws penetrate through the counter bores, the water meter cover is fixedly mounted at the top of the water meter shell through the screws, and sealant is coated at the joint of the water meter shell and the water meter cover.
The invention has the beneficial effects that: according to the split type radio frequency card intelligent water meter, the dust cover is arranged, so that external dust is prevented from entering the machine; the sliding cover is convenient to move by arranging the sliding rail and the sliding groove, and the control key is protected from being damaged; by installing the liquid crystal display, people can conveniently read data, and the displayed data content is more; the radio frequency card reader is conveniently fixed on the mounting base by mounting the magnet column, and the radio frequency card reader is convenient and quick to mount and convenient to move and operate; the transmission precision is high, the efficiency is high, and the transmission is stable by using the gear engagement transmission connection; the meter dial cover is convenient to open and close by installing the hinge, so that the reading meter dial is effectively protected; the sealing performance of the device is improved, and the device is dampproof and anticorrosive by coating the sealing glue at the joint of the water meter shell and the water meter cover; the device has simple and reasonable structure and convenient use, effectively solves the problem that the radio frequency card reader is inconvenient to install and move, and has higher practical value.
Drawings
The accompanying drawings, which are included to provide a further understanding of the invention and are incorporated in and constitute a part of this specification, illustrate embodiments of the invention and together with the description serve to explain the principles of the invention and not to limit the invention. In the drawings:
fig. 1 is a schematic view of a water meter body three-dimensional mechanism of a split type radio frequency card intelligent water meter of the invention;
fig. 2 is a schematic structural view of a front cross-sectional view of a water meter body of a split-type radio frequency card intelligent water meter according to the invention;
FIG. 3 is a schematic view of a three-dimensional structure of a radio frequency card reader of a split type radio frequency card intelligent water meter according to the invention;
fig. 4 is a schematic view of a three-dimensional structure of an installation base of the split type radio frequency card intelligent water meter of the invention.
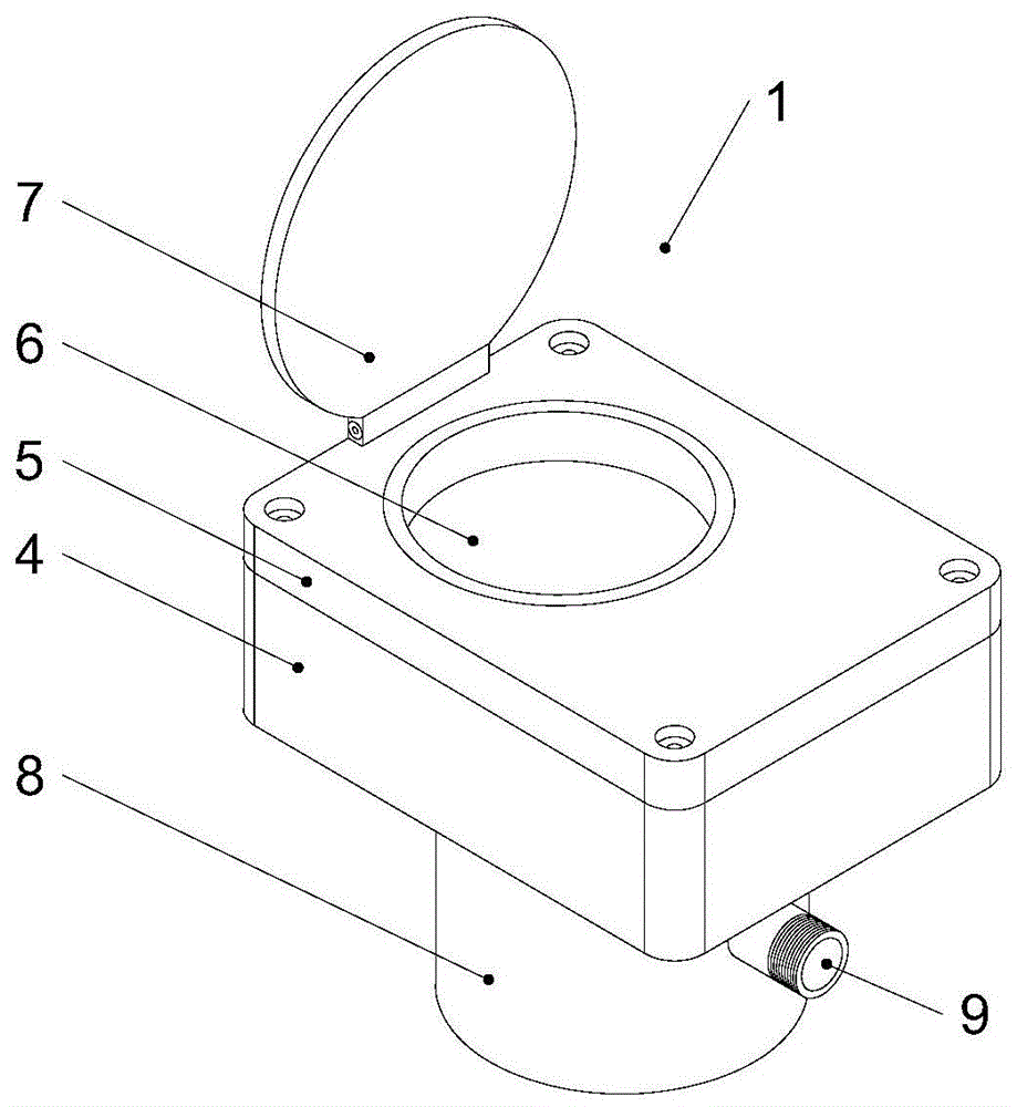
In the figure: 1. a water meter body; 2. a radio frequency card reader; 3. installing a base; 4. a water meter housing; 5. a water meter cover; 6. a reading dial plate; 7. a dial cover; 8. a water passing pipeline; 9. a water inlet pipe; 10. a water outlet pipe; 11. a rotating shaft; 12. an impeller; 13. filtering with a screen; 14. a housing; 15. a sound hole; 16. a sliding cover; 17. a liquid crystal display; 18. a card slot; 19. a control key; 20. a magnetic column; 21. a charging seat.
Detailed Description
The preferred embodiments of the present invention will be described in conjunction with the accompanying drawings, and it will be understood that they are described herein for the purpose of illustration and explanation and not limitation.
Example (b): as shown in fig. 1-4, the split type radio frequency card intelligent water meter comprises a water meter body 1, wherein the water meter body 1 comprises a water meter shell 4, a water meter cover 5 is fixedly mounted at the top of the water meter shell 4, a reading dial 6 is fixedly mounted inside the water meter shell 4, a dial cover 7 is mounted at a position, corresponding to the reading dial 6, of the water meter cover 5, a water passing pipeline 8 is fixedly mounted at the bottom of the water meter shell 4, a rotating shaft 11 is fixedly mounted inside the water passing pipeline 8, an impeller 12 is sleeved outside the rotating shaft 11, a filter screen 13 is fixedly mounted outside the impeller 12, a water inlet pipe 9 is arranged on one side of the water passing pipeline 8, and a water outlet pipe 10 is arranged on one side, away from the water inlet pipe 9, of the water passing pipeline 8.
The radio frequency card reader 2 comprises a shell 14, a sliding cover 16 is fixedly installed at the top of the shell 14, and an installation base 3 is fixedly installed at the bottom of the shell 14.
Wherein, casing 14 one side is provided with sound hole 15, and sound hole 15 internally mounted has the dust cover, and the top of casing 14 is provided with the recess, and recess inside fixed mounting has a plurality of control button 19, through installing the dust cover, prevents that outside dust from getting into inside the machine.
The sliding grooves are formed in two sides of the top of the casing 14, the sliding strips are arranged on two sides of the bottom of the sliding cover 16 and clamped with the sliding grooves, and the sliding cover 16 is convenient to move by arranging the sliding rails and the sliding grooves, so that the control key 19 is protected from being damaged.
Wherein, the top one side of sliding closure 16 is provided with LCD 17, and the top of sliding closure 16 is provided with draw-in groove 18 near LCD 17 one side, through installing LCD 17, makes things convenient for people to read data, and the data content that shows is more.
Wherein, installation base 3 top four corners fixed mounting has magnet post 20, and the outside cover of magnet post 20 is equipped with rubber lag, and installation base 3 top center is provided with charging seat 21, through installation magnet post 20, is convenient for fix radio frequency card reader 2 on installation base 3, and simple to operate is swift, and the radio frequency card reader 2 of being convenient for removes the operation.
Wherein, the top cover of pivot 11 is equipped with the driving gear, and the bottom cover of the axis of rotation of reading dial plate 6 is equipped with driven gear, and the driving gear is connected with driven gear intermeshing transmission, connects through using gear engagement transmission, and transmission precision is high, and is efficient, and the transmission is steady.
Wherein, fixed mounting has the hinge between dial plate lid 7 and the water meter cover 5, and dial plate lid 7 passes through hinge and 5 fixed connection of water meter cover, through the installation hinge, makes things convenient for opening and closing of dial plate lid 7 to effectively protect reading dial plate 6.
Wherein, the counter bore has all been seted up in 5 four corners of water meter cover, runs through the screw in the counter bore, and water meter cover 5 passes through screw fixed mounting at the top of water meter case 4, and water meter case 4 scribbles sealed glue with 5 junctions of water meter cover, through scribbling sealed glue at water meter case 4 and 5 junctions of water meter cover, improves the leakproofness of device, and is dampproofing anticorrosive.
The working principle is as follows: this split type radio frequency card intelligence water gauge during operation, rivers enter into water piping 8 from inlet tube 9, filter through filter screen 13 and drive impeller 12 and rotate, impeller 12 drives pivot 11 and rotates, pivot 11 drive reading dial plate 6's pointer rotates, rivers flow from outlet pipe 10, the flow data that the treater in the water meter shell 4 will read transmit for radio frequency card reader 2 through wireless transmission's mode, radio frequency card reader 2 is according to the parameter feedback treater that the user set for, the control flow. According to the split type radio frequency card intelligent water meter, the dust cover is arranged, so that external dust is prevented from entering the machine; the sliding cover 16 is convenient to move by arranging the sliding rail and the sliding groove, so that the control key 19 is protected from being damaged; by installing the liquid crystal display 17, people can read data conveniently, and the displayed data content is more; the radio frequency card reader 2 is conveniently fixed on the mounting base 3 by mounting the magnet column 20, and the mounting is convenient and quick, so that the radio frequency card reader 2 can be conveniently moved and operated; the transmission precision is high, the efficiency is high, and the transmission is stable by using the gear engagement transmission connection; the meter dial cover 7 is convenient to open and close by installing the hinge, so that the reading meter dial 6 is effectively protected; the joint of the water meter shell 4 and the water meter cover 5 is coated with the sealant, so that the sealing performance of the device is improved, and the device is dampproof and anticorrosive; the device has simple and reasonable structure and convenient use, effectively solves the problem that the radio frequency card reader 2 is inconvenient to install and move, and has higher practical value.
Finally, it should be noted that: in the description of the present invention, it should be noted that the terms "vertical", "upper", "lower", "horizontal", and the like indicate orientations or positional relationships based on those shown in the drawings, and are only for convenience of describing the present invention and simplifying the description, but do not indicate or imply that the referred device or element must have a specific orientation, be constructed in a specific orientation, and be operated, and thus, should not be construed as limiting the present invention.
In the description of the present invention, it should also be noted that, unless otherwise explicitly specified or limited, the terms "disposed," "mounted," "connected," and "connected" are to be construed broadly and may, for example, be fixedly connected, detachably connected, or integrally connected; can be mechanically or electrically connected; they may be connected directly or indirectly through intervening media, or they may be interconnected between two elements. The specific meanings of the above terms in the present invention can be understood by those skilled in the art according to specific situations.
Although the present invention has been described in detail with reference to the foregoing embodiments, it will be apparent to those skilled in the art that changes may be made in the embodiments and/or equivalents thereof without departing from the spirit and scope of the invention. Any modification, equivalent replacement, or improvement made within the spirit and principle of the present invention should be included in the protection scope of the present invention.

Claims (8)

1.一种分体式射频卡智能水表,其特征在于,包括:1. a split type radio frequency card intelligent water meter, is characterized in that, comprises: 水表本体(1),所述水表本体(1)包括水表壳(4),所述水表壳(4)顶部固定安装有水表盖(5),所述水表壳(4)内部固定安装有读数表盘(6),所述水表盖(5)在读数表盘(6)对应位置安装有表盘盖(7),所述水表壳(4)的底部固定安装有过水管道(8),所述过水管道(8)内部固定安装有转轴(11),所述转轴(11)外侧套设有叶轮(12),所述叶轮(12)外侧固定安装有滤网(13),所述过水管道(8)一侧设置有进水管(9),所述过水管道(8)在远离进水管(9)的一侧设置有出水管(10),射频读卡器(2),所述射频读卡器(2)包括机壳(14),所述机壳(14)顶部固定安装有滑盖(16),所述机壳(14)底部固定安装有安装底座(3)。A water meter body (1), the water meter body (1) includes a water meter case (4), a water meter cover (5) is fixedly installed on the top of the water meter case (4), and a reading dial is fixedly installed inside the water meter case (4) (6), the water meter cover (5) is provided with a dial cover (7) at the corresponding position of the reading dial (6), and a water passage (8) is fixedly installed at the bottom of the water meter case (4). A rotating shaft (11) is fixedly installed inside the pipe (8), an impeller (12) is sleeved on the outside of the rotating shaft (11), and a filter screen (13) is fixedly installed on the outside of the impeller (12). 8) A water inlet pipe (9) is provided on one side, the water passage pipe (8) is provided with a water outlet pipe (10) on the side away from the water inlet pipe (9), a radio frequency card reader (2), the radio frequency reader The card holder (2) comprises a casing (14), a sliding cover (16) is fixedly mounted on the top of the casing (14), and a mounting base (3) is fixedly mounted on the bottom of the casing (14). 2.根据权利要求1所述的一种分体式射频卡智能水表,其特征在于,所述机壳(14)一侧设置有音孔(15),且所述音孔(15)内部安装有防尘罩,所述机壳(14)的顶部设置有凹槽,所述凹槽内部固定安装有若干控制按键(19)。2 . The split-type radio frequency card smart water meter according to claim 1 , wherein a sound hole ( 15 ) is provided on one side of the casing ( 14 ), and a sound hole ( 15 ) is installed inside the sound hole ( 15 ). 3 . In the dust cover, a groove is provided on the top of the casing (14), and a plurality of control buttons (19) are fixedly installed in the groove. 3.根据权利要求1所述的一种分体式射频卡智能水表,其特征在于,所述机壳(14)的顶部两侧设置有滑槽,所述滑盖(16)底部两侧设置有滑条,且所述滑条与滑槽相互卡合。3. A split-type radio frequency card smart water meter according to claim 1, characterized in that the casing (14) is provided with sliding grooves on both sides of the top, and the sliding cover (16) is provided with two sides of the bottom. A slide bar, and the slide bar and the chute are engaged with each other. 4.根据权利要求1所述的一种分体式射频卡智能水表,其特征在于,所述滑盖(16)的顶部一侧设置有液晶显示器(17),所述滑盖(16)的顶部在靠近液晶显示器(17)一侧设置有卡槽(18)。4. A split-type radio frequency card smart water meter according to claim 1, wherein a liquid crystal display (17) is provided on one side of the top of the sliding cover (16), and a top side of the sliding cover (16) is provided with a liquid crystal display (17). A card slot (18) is provided on the side close to the liquid crystal display (17). 5.根据权利要求1所述的一种分体式射频卡智能水表,其特征在于,所述安装底座(3)顶部四角固定安装有磁铁柱(20),且所述磁铁柱(20)外部套设有橡胶防护套,所述安装底座(3)顶部中心设置有充电座(21)。5. A split-type smart water meter with a radio frequency card according to claim 1, characterized in that, four corners of the top of the mounting base (3) are fixedly installed with magnet columns (20), and the magnet columns (20) are sleeved outside. A rubber protective sleeve is provided, and a charging base (21) is provided in the top center of the mounting base (3). 6.根据权利要求1所述的一种分体式射频卡智能水表,其特征在于,所述转轴(11)的顶部套设有主动齿轮,所述读数表盘(6)的转动轴的底部套设有从动齿轮,所述主动齿轮与从动齿轮相互啮合传动连接。6. The split-type radio frequency card smart water meter according to claim 1, characterized in that a driving gear is sleeved on the top of the rotating shaft (11), and a bottom of the rotating shaft of the reading dial (6) is sleeved There is a driven gear, and the driving gear and the driven gear are in meshing transmission connection with each other. 7.根据权利要求1所述的一种分体式射频卡智能水表,其特征在于,所述表盘盖(7)与水表盖(5)之间固定安装有铰链,所述表盘盖(7)通过铰链与水表盖(5)固定连接。7. A split-type radio frequency card smart water meter according to claim 1, characterized in that a hinge is fixedly installed between the dial cover (7) and the water meter cover (5), and the dial cover (7) passes through the The hinge is fixedly connected with the water meter cover (5). 8.根据权利要求1所述的一种分体式射频卡智能水表,其特征在于,所述水表盖(5)四角均开设有沉孔,所述沉孔内贯穿有螺钉,所述水表盖(5)通过螺钉固定安装在水表壳(4)的顶部,且所述水表壳(4)与水表盖(5)连接处涂有密封胶。8. A split-type smart water meter with a radio frequency card according to claim 1, characterized in that the water meter cover (5) is provided with counterbores at all four corners, the counterbores are pierced with screws, and the water meter cover (5). 5) It is fixed and installed on the top of the water meter case (4) by screws, and the connection between the water meter case (4) and the water meter cover (5) is coated with sealant.
CN202011106103.8A 2020-10-16 2020-10-16 Split radio frequency card intelligent water meter Pending CN113280881A (en)

Priority Applications (1)

Application Number Priority Date Filing Date Title
CN202011106103.8A CN113280881A (en) 2020-10-16 2020-10-16 Split radio frequency card intelligent water meter

Applications Claiming Priority (1)

Application Number Priority Date Filing Date Title
CN202011106103.8A CN113280881A (en) 2020-10-16 2020-10-16 Split radio frequency card intelligent water meter

Publications (1)

Publication Number Publication Date
CN113280881A true CN113280881A (en) 2021-08-20

Family

ID=77275274

Family Applications (1)

Application Number Title Priority Date Filing Date
CN202011106103.8A Pending CN113280881A (en) 2020-10-16 2020-10-16 Split radio frequency card intelligent water meter

Country Status (1)

Country Link
CN (1) CN113280881A (en)

Cited By (1)

* Cited by examiner, † Cited by third party
Publication number Priority date Publication date Assignee Title
CN114768363A (en) * 2022-04-25 2022-07-22 三川智慧科技股份有限公司 Intelligent water meter

Citations (18)

* Cited by examiner, † Cited by third party
Publication number Priority date Publication date Assignee Title
CN2687621Y (en) * 2003-03-06 2005-03-23 白月 Split intellight card water meter
CN201697679U (en) * 2010-06-11 2011-01-05 湖南威铭能源科技有限公司 Slide cover type intelligent water meter
CN202049552U (en) * 2011-04-26 2011-11-23 河南新天科技股份有限公司 Intelligent split water meter controller structure
CN202257762U (en) * 2011-10-17 2012-05-30 孙书玉 IC card split-type water meter
CN206019755U (en) * 2016-08-22 2017-03-15 山东晨晖电子科技有限公司 A kind of split type water meter
CN206248156U (en) * 2016-12-19 2017-06-13 湖北正源智能科技有限公司 A kind of intelligent water meter
CN206363452U (en) * 2017-01-11 2017-07-28 山东江花水表有限公司 A kind of separating type radio-frequency intellectual water meter
CN206929419U (en) * 2017-07-04 2018-01-26 中国石油化工股份有限公司 The dust-proof sub-assembly set of valve leading screw
CN208141514U (en) * 2018-05-28 2018-11-23 合肥星联网水表铸造有限公司 The split type water meter of intelligent radio
CN109269586A (en) * 2018-09-30 2019-01-25 济南瑞泉电子有限公司 A kind of fission IC card watch case
CN208636378U (en) * 2018-08-24 2019-03-22 王晓伟 Communication base station detection electromagnetic radiation detector
CN109887138A (en) * 2019-02-18 2019-06-14 武汉索速电子科技有限公司 A kind of managing caller integration apparatus system of face recognition technology
CN209297383U (en) * 2018-12-30 2019-08-23 杭州电堂科技有限公司 A kind of intelligent card door lock
CN111337095A (en) * 2020-03-19 2020-06-26 山东金雨莱智能仪表有限公司 IC-card intelligence thing networking water gauge that facilitates use
CN211087249U (en) * 2020-03-08 2020-07-24 苏州标新力亿信息科技有限公司 RFID read write line is used in storage
CN211234595U (en) * 2019-11-01 2020-08-11 浙江阳光纳米科技有限公司 Novel water meter shell
CN211262334U (en) * 2019-12-06 2020-08-14 山东淏泉仪表有限公司 Wet-type smart card meter
CN212539316U (en) * 2020-10-16 2021-02-12 江苏棠梨智能科技有限公司 Split type radio frequency card intelligent water meter

Patent Citations (18)

* Cited by examiner, † Cited by third party
Publication number Priority date Publication date Assignee Title
CN2687621Y (en) * 2003-03-06 2005-03-23 白月 Split intellight card water meter
CN201697679U (en) * 2010-06-11 2011-01-05 湖南威铭能源科技有限公司 Slide cover type intelligent water meter
CN202049552U (en) * 2011-04-26 2011-11-23 河南新天科技股份有限公司 Intelligent split water meter controller structure
CN202257762U (en) * 2011-10-17 2012-05-30 孙书玉 IC card split-type water meter
CN206019755U (en) * 2016-08-22 2017-03-15 山东晨晖电子科技有限公司 A kind of split type water meter
CN206248156U (en) * 2016-12-19 2017-06-13 湖北正源智能科技有限公司 A kind of intelligent water meter
CN206363452U (en) * 2017-01-11 2017-07-28 山东江花水表有限公司 A kind of separating type radio-frequency intellectual water meter
CN206929419U (en) * 2017-07-04 2018-01-26 中国石油化工股份有限公司 The dust-proof sub-assembly set of valve leading screw
CN208141514U (en) * 2018-05-28 2018-11-23 合肥星联网水表铸造有限公司 The split type water meter of intelligent radio
CN208636378U (en) * 2018-08-24 2019-03-22 王晓伟 Communication base station detection electromagnetic radiation detector
CN109269586A (en) * 2018-09-30 2019-01-25 济南瑞泉电子有限公司 A kind of fission IC card watch case
CN209297383U (en) * 2018-12-30 2019-08-23 杭州电堂科技有限公司 A kind of intelligent card door lock
CN109887138A (en) * 2019-02-18 2019-06-14 武汉索速电子科技有限公司 A kind of managing caller integration apparatus system of face recognition technology
CN211234595U (en) * 2019-11-01 2020-08-11 浙江阳光纳米科技有限公司 Novel water meter shell
CN211262334U (en) * 2019-12-06 2020-08-14 山东淏泉仪表有限公司 Wet-type smart card meter
CN211087249U (en) * 2020-03-08 2020-07-24 苏州标新力亿信息科技有限公司 RFID read write line is used in storage
CN111337095A (en) * 2020-03-19 2020-06-26 山东金雨莱智能仪表有限公司 IC-card intelligence thing networking water gauge that facilitates use
CN212539316U (en) * 2020-10-16 2021-02-12 江苏棠梨智能科技有限公司 Split type radio frequency card intelligent water meter

Cited By (2)

* Cited by examiner, † Cited by third party
Publication number Priority date Publication date Assignee Title
CN114768363A (en) * 2022-04-25 2022-07-22 三川智慧科技股份有限公司 Intelligent water meter
CN114768363B (en) * 2022-04-25 2023-05-23 三川智慧科技股份有限公司 Intelligent water meter

Similar Documents

Publication Publication Date Title
CN108426619B (en) High-precision two-way electronic water meter
CN212539316U (en) Split type radio frequency card intelligent water meter
US4489615A (en) Fluid flow meter
CN113280881A (en) Split radio frequency card intelligent water meter
CN208588421U (en) High precision bidirectional metering electronic water meter
CN218411330U (en) Intelligent prepayment water meter with filtering function
CN110274637B (en) Rotary wing type water meter
CN2679655Y (en) RF IC card water meter
CN203100789U (en) Multifunctional gas meter
CN111337088A (en) The structure of the direct reading counter and the mechanical meter with the structure
CN211740315U (en) Metering data reading device for counting character wheel and intelligent gas meter
CN205582121U (en) An IC Card Gas Meter with Inclined Valve Closing Function
GB2101219A (en) Rotary fluid-flow meter
JPS601377Y2 (en) fluid flow meter
CN222617969U (en) A single-flow meter with a rotatable movement
CN213582372U (en) IC card water meter with external protection mechanism
CN214372689U (en) Flowmeter for industrial automatic control instrument system
CN212133752U (en) Protective electromagnetic flowmeter
CN2876719Y (en) Electronic water-meter
KR200401439Y1 (en) Digital gas meter
CN219064607U (en) Anti-interference nonmagnetic water meter
CN110608774A (en) Infrared Photoelectric Encoding Flowmeter
CN115479645A (en) A Smart Meter Counter
CN221506060U (en) Intelligent electronic mechanical irrigation water meter
CN216621294U (en) Corrosion-resistant, anti-disassembly's ultrasonic water meter

Legal Events

Date Code Title Description
PB01 Publication
PB01 Publication
SE01 Entry into force of request for substantive examination
SE01 Entry into force of request for substantive examination
RJ01 Rejection of invention patent application after publication

Application publication date: 20210820

RJ01 Rejection of invention patent application after publication