CN113277353A - cPp packaging film rolling and storage device - Google Patents

cPp packaging film rolling and storage device Download PDF

Info

Publication number
CN113277353A
CN113277353A CN202110841097.9A CN202110841097A CN113277353A CN 113277353 A CN113277353 A CN 113277353A CN 202110841097 A CN202110841097 A CN 202110841097A CN 113277353 A CN113277353 A CN 113277353A
Authority
CN
China
Prior art keywords
winding
packaging film
unit
winding roller
cpp
Prior art date
Legal status (The legal status is an assumption and is not a legal conclusion. Google has not performed a legal analysis and makes no representation as to the accuracy of the status listed.)
Granted
Application number
CN202110841097.9A
Other languages
Chinese (zh)
Other versions
CN113277353B (en
Inventor
梅山玮
Current Assignee (The listed assignees may be inaccurate. Google has not performed a legal analysis and makes no representation or warranty as to the accuracy of the list.)
Xuzhou Hongen Packaging New Material Co ltd
Original Assignee
Xuzhou Hongen Packaging New Material Co ltd
Priority date (The priority date is an assumption and is not a legal conclusion. Google has not performed a legal analysis and makes no representation as to the accuracy of the date listed.)
Filing date
Publication date
Application filed by Xuzhou Hongen Packaging New Material Co ltd filed Critical Xuzhou Hongen Packaging New Material Co ltd
Priority to CN202110841097.9A priority Critical patent/CN113277353B/en
Publication of CN113277353A publication Critical patent/CN113277353A/en
Application granted granted Critical
Publication of CN113277353B publication Critical patent/CN113277353B/en
Active legal-status Critical Current
Anticipated expiration legal-status Critical

Links

Images

Classifications

    • BPERFORMING OPERATIONS; TRANSPORTING
    • B65CONVEYING; PACKING; STORING; HANDLING THIN OR FILAMENTARY MATERIAL
    • B65HHANDLING THIN OR FILAMENTARY MATERIAL, e.g. SHEETS, WEBS, CABLES
    • B65H18/00Winding webs
    • B65H18/08Web-winding mechanisms
    • B65H18/10Mechanisms in which power is applied to web-roll spindle
    • BPERFORMING OPERATIONS; TRANSPORTING
    • B65CONVEYING; PACKING; STORING; HANDLING THIN OR FILAMENTARY MATERIAL
    • B65HHANDLING THIN OR FILAMENTARY MATERIAL, e.g. SHEETS, WEBS, CABLES
    • B65H18/00Winding webs
    • B65H18/02Supporting web roll
    • B65H18/028Both ends type
    • BPERFORMING OPERATIONS; TRANSPORTING
    • B65CONVEYING; PACKING; STORING; HANDLING THIN OR FILAMENTARY MATERIAL
    • B65HHANDLING THIN OR FILAMENTARY MATERIAL, e.g. SHEETS, WEBS, CABLES
    • B65H19/00Changing the web roll
    • B65H19/22Changing the web roll in winding mechanisms or in connection with winding operations
    • B65H19/30Lifting, transporting, or removing the web roll; Inserting core
    • BPERFORMING OPERATIONS; TRANSPORTING
    • B65CONVEYING; PACKING; STORING; HANDLING THIN OR FILAMENTARY MATERIAL
    • B65HHANDLING THIN OR FILAMENTARY MATERIAL, e.g. SHEETS, WEBS, CABLES
    • B65H75/00Storing webs, tapes, or filamentary material, e.g. on reels
    • B65H75/02Cores, formers, supports, or holders for coiled, wound, or folded material, e.g. reels, spindles, bobbins, cop tubes, cans, mandrels or chucks
    • B65H75/18Constructional details
    • BPERFORMING OPERATIONS; TRANSPORTING
    • B65CONVEYING; PACKING; STORING; HANDLING THIN OR FILAMENTARY MATERIAL
    • B65HHANDLING THIN OR FILAMENTARY MATERIAL, e.g. SHEETS, WEBS, CABLES
    • B65H75/00Storing webs, tapes, or filamentary material, e.g. on reels
    • B65H75/02Cores, formers, supports, or holders for coiled, wound, or folded material, e.g. reels, spindles, bobbins, cop tubes, cans, mandrels or chucks
    • B65H75/18Constructional details
    • B65H75/24Constructional details adjustable in configuration, e.g. expansible
    • B65H75/242Expansible spindles, mandrels or chucks, e.g. for securing or releasing cores, holders or packages
    • BPERFORMING OPERATIONS; TRANSPORTING
    • B65CONVEYING; PACKING; STORING; HANDLING THIN OR FILAMENTARY MATERIAL
    • B65HHANDLING THIN OR FILAMENTARY MATERIAL, e.g. SHEETS, WEBS, CABLES
    • B65H2701/00Handled material; Storage means
    • B65H2701/10Handled articles or webs
    • B65H2701/17Nature of material
    • B65H2701/175Plastic
    • B65H2701/1752Polymer film

Landscapes

  • Winding Of Webs (AREA)

Abstract

本发明公开了一种cpp包装薄膜收卷和存储装置,其包括,收卷单元,包括收卷辊,所述收卷辊设有中空腔体,中空腔体内设有涨紧件,所述收卷辊外部套设有收卷筒;推送单元,位于所述收卷单元上方,包括第二驱动电机和与第二驱动电机连接的推送螺杆;存储单元,位于所述收卷单元的斜下方。通过在收卷辊内部设置涨紧件搭配外侧的收卷筒,通过涨紧件实现收卷辊和收卷筒的协同转动和分离,以便完成对cpp包装薄膜的收卷工作和收卷完成后的移除工作,收卷完成后,通过推送单元将收卷筒退出收卷辊至存储单元进行存储,实现对cpp包装薄膜的收卷、传送、存储的一体全自动化工作,大幅提高了对cpp包装薄膜的收集存储效率。

Figure 202110841097

The invention discloses a CPP packaging film winding and storage device, which comprises a winding unit, including a winding roller, the winding roller is provided with a hollow cavity, and a tensioning member is arranged in the hollow cavity, and the winding A winding drum is sleeved on the outside of the winding roller; a pushing unit, located above the winding unit, includes a second driving motor and a pushing screw connected to the second driving motor; and a storage unit, which is located obliquely below the winding unit. By setting the tensioning member inside the winding roller to match the outer winding drum, the coordinated rotation and separation of the winding roller and the winding drum are realized through the tensioning member, so as to complete the winding work of the cpp packaging film and after the winding is completed After the rewinding is completed, the reel is withdrawn from the rewinding roller to the storage unit for storage through the push unit, so as to realize the integrated and fully automated work of rewinding, conveying and storage of the cpp packaging film, which greatly improves the cpp packaging film. Collection storage efficiency of packaging films.

Figure 202110841097

Description

cPp packaging film rolling and storage device
Technical Field
The invention relates to the field of film rolling and storage, in particular to a cpp packaging film rolling and storage device.
Background
The CPP film is a casting polypropylene film, also called a stretching polypropylene film, and can be divided into a general CPP film, an aluminized CPP film, a cooking CPP film and the like according to different purposes. CPP is a polypropylene film produced by a cast extrusion process in the plastics industry, which is a non-oriented film, strictly speaking, CPP films only have a certain orientation in the longitudinal direction, mainly due to the process properties. By rapidly cooling on the chill roll, excellent clarity and finish are formed on the film.
In CPP film production process, need carry out storage after the rolling to the CPP film, in prior art, generally utilize the wind-up roll to carry out the rolling to the CPP film, the cover of receipts reel is established, the removal and the transport of the reel and overlap again and establish the receipts reel and all need the manual work to accomplish after accomplishing the rolling, this greatly increased operating personnel's work load to and need for one kind can complete the device that rolls, conveys, stores and repeat this work flow to the CPP film fully automatically urgently.
Disclosure of Invention
This section is for the purpose of summarizing some aspects of embodiments of the invention and to briefly introduce some preferred embodiments. In this section, as well as in the abstract and the title of the invention of this application, simplifications or omissions may be made to avoid obscuring the purpose of the section, the abstract and the title, and such simplifications or omissions are not intended to limit the scope of the invention.
In order to solve the technical problems, the invention provides the following technical scheme: a cpp packaging film winding and storing device comprises a winding unit, a winding unit and a control unit, wherein the winding unit comprises a winding roller and a first driving motor connected with the winding roller, the winding roller is provided with a hollow cavity, a tensioning piece is arranged in the hollow cavity, and a winding drum is sleeved outside the winding roller; the pushing unit is positioned above the winding unit and comprises a second driving motor and a pushing screw rod connected with the second driving motor, a nut is arranged on the outer side of the pushing screw rod, and the bottom of the nut is connected with a pushing block sleeved on the outer side of the winding roller; and the storage unit is positioned obliquely below the winding unit.
As a preferable aspect of the cpp packaging film take-up and storage device of the present invention, wherein: one side of the winding roller, which is close to the first driving motor, is provided with a sliding groove which is transversely communicated, and the outer edge of the winding roller is provided with a tensioning groove.
As a preferable aspect of the cpp packaging film take-up and storage device of the present invention, wherein: the tensioning piece comprises a control mechanism and a tensioning mechanism connected with the control mechanism.
As a preferable aspect of the cpp packaging film take-up and storage device of the present invention, wherein: the control mechanism comprises a sliding rod arranged in the sliding groove and a pull rod connected with the sliding rod, a limiting block connected with the cavity in the winding roller is arranged on the outer side of the pull rod, and the limiting block is connected with a spring.
As a preferable aspect of the cpp packaging film take-up and storage device of the present invention, wherein: the winding roller outside cover that the pole that slides is close to stopper one side is equipped with the pull ring, the pull ring is connected with the driving piece.
As a preferable aspect of the cpp packaging film take-up and storage device of the present invention, wherein: the tensioning mechanism comprises a plurality of tensioning sleeves which are mutually connected through rubber rings and a tensioning seat which is arranged at the tail end of the tensioning mechanism and connected with the pull rod.
As a preferable aspect of the cpp packaging film take-up and storage device of the present invention, wherein: the storage unit is internally provided with a winding drum accommodating box, the inner wall of one side of the winding drum accommodating box is provided with an inclined block, the bottom of the other side of the winding drum accommodating box is provided with a drum outlet, and the side wall above the storage unit is provided with a through hole connected with the drum outlet.
As a preferable aspect of the cpp packaging film take-up and storage device of the present invention, wherein: the pushing block is a hollow annular magnetic block.
As a preferable aspect of the cpp packaging film take-up and storage device of the present invention, wherein: the winding cylinder is provided with a magnetic block on the outer side, and a check block is arranged at the tail end far away from the magnetic block.
As a preferable aspect of the cpp packaging film take-up and storage device of the present invention, wherein: the storage unit comprises a conveyor belt and a storage tank located at an end of the conveyor belt.
The invention has the beneficial effects that:
1. through set up the receipts reel that rises in tight piece collocation outside inside the wind-up roll, realize the cooperation rotation and the separation of wind-up roll and reel through rising tight piece to accomplish the rolling work and the removal work after the rolling of cpp packaging film are accomplished, the back is accomplished in the rolling, withdraws from the wind-up roll to the memory cell through the propelling movement unit with the reel and saves, realizes the integrative full automatization work of rolling, conveying, storage to cpp packaging film, has improved the collection storage efficiency to cpp packaging film by a wide margin.
2. Through the setting of a winding drum accommodating box, the matching pushing unit realizes that the winding drum which is not subjected to winding operation is sleeved outside the winding roller again so as to carry out the next winding operation, and after the winding drum at the lowest part of the winding drum accommodating box is taken away, the winding drum at the lowest part is automatically replaced by the winding drum at the upper part under the action of an inclined block in the winding drum accommodating box so as to continuously sleeve the winding drum.
Drawings
In order to more clearly illustrate the technical solutions of the embodiments of the present invention, the drawings needed to be used in the description of the embodiments will be briefly introduced below, and it is obvious that the drawings in the following description are only some embodiments of the present invention, and it is obvious for those skilled in the art to obtain other drawings based on these drawings without inventive exercise. Wherein:
fig. 1 is a schematic view of the overall structure of the present invention.
Fig. 2 is a schematic structural diagram of a winding unit-pushing unit of the present invention.
Fig. 3 is a partially enlarged view of a in fig. 2.
Fig. 4 is a schematic view of the winding unit.
Fig. 5 is a schematic structural view of the tension member in embodiment 2.
Fig. 6 is a schematic structural view of a wind-up roll in embodiment 2.
Fig. 7 is a schematic structural view of the winding drum in embodiment 2.
Fig. 8 is a schematic view of a winding drum accommodating box in embodiment 3.
Fig. 9 is a schematic view of the internal structure of the winding reel accommodating box in embodiment 3.
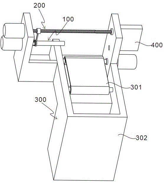
Wherein: the winding device comprises a winding unit 100, a winding roller 101, a driving motor 102, a tensioning member 103, a winding drum 104, a sliding groove 101a, a tensioning groove 101b, a control mechanism 103a, a tensioning mechanism 103b, a sliding rod 103a-1, a pull rod 103a-2, a limiting block 103a-3, a spring 103a-4, a pull ring 103a-5, a driving member 103a-6, a rubber ring 103b-1, an expansion sleeve 103b-2, a tensioning seat 103b-3, a magnetic block 104a, a block 104b, a pushing unit 200, a second driving motor 201, a pushing screw 202, a nut 203, a pushing block 204, a storage unit 300, a transmission belt 301, a storage box 302, a winding drum accommodating box 400, an inclined block 401, a drum outlet 402 and a through hole 403.
Detailed Description
In order to make the aforementioned objects, features and advantages of the present invention comprehensible, embodiments accompanied with figures are described in detail below.
Example 1
Referring to fig. 1 to 4, a cpp packaging film winding and storing apparatus according to a first embodiment of the present invention includes a winding unit 100, a pushing unit 200, and a storing unit 300. The winding unit 100 comprises a winding roller 101 and a first driving motor 102 connected with the winding roller 101, the winding roller 101 is provided with a hollow cavity, a tensioning piece 103 is arranged in the hollow cavity, and a winding drum 104 is sleeved outside the winding roller 101. The pushing unit 200 is located above the winding unit 100 and includes a second driving motor 201 and a pushing screw 202 connected to the second driving motor 201, a nut 203 is disposed on the outer side of the pushing screw 202, and a pushing block 204 sleeved on the outer side of the winding roller 101 is connected to the bottom of the nut 203. And a storage unit 300 located obliquely below the winding unit 100.
The winding unit 100 is used for winding the cpp packaging film, the cpp packaging film is convenient to store after winding, the winding unit 100 comprises a winding roller 101 and a first driving motor 102 connected with the winding roller 101, the first driving motor 102 rotates to drive the winding roller 101 to rotate, a tensioning piece 103 is arranged inside the winding roller 101, a winding drum 104 is arranged outside the winding roller 101, the tensioning piece 103 extends out of a hollow cavity of the winding roller 101 through tensioning operation and extrudes with the inner wall of the winding drum 104, so that the winding drum 104 and the winding roller 101 rotate together, and the winding work of the cpp packaging film is completed. After the winding operation is completed, the tension member 103 cancels the tension state, the winding drum 104 is separated from the winding roller 101, and at this time, the winding drum 104 is ejected from the winding roller 101 to the storage unit 300 for storage through the pushing unit 200.
The pushing unit 200 comprises a second driving motor 201 and a pushing screw 202 connected with the second driving motor 201, the second driving motor 201 works to drive the pushing screw 202 to rotate, a nut 203 is arranged on the outer side of the pushing screw 202, the nut 203 displaces along the pushing screw 202 in the direction away from the second driving motor 201, a pushing block 204 sleeved on the outer side of the winding roller 101 is connected to the bottom of the nut 203, the pushing block 204 displaces along the direction away from the first driving motor 102 along with the nut 203, and when the pushing block 204 contacts the winding roller 104, the winding roller 104 is driven to displace together, so that the winding roller 104 exits from the winding roller 101 to the storage unit 300 for storage.
According to the invention, the winding roller 101 is internally provided with the tensioning piece 103 matched with the winding cylinder 104 at the outer side, and the tensioning piece 103 is used for realizing the cooperative rotation and separation of the winding roller 101 and the winding cylinder 104, so that the winding work of the cpp packaging film and the removal work after the winding work are finished. After the winding is completed, the winding drum 104 is withdrawn from the winding roller 101 to the storage unit 300 through the pushing unit 200 for storage, so that the integrated full-automatic winding, transmission and storage of the cpp packaging film is realized, and the collection and storage efficiency of the cpp packaging film is greatly improved.
Example 2
Referring to fig. 1 to 7, a second embodiment of the present invention is different from the first embodiment in that: the tightening member 103 comprises a control mechanism 103a and a tightening mechanism 103b connected with the control mechanism 103a, and the control mechanism 103a controls the tightening state of the tightening member 103, so that the cooperative rotation and separation of the winding roller 101 and the winding drum 104 are realized.
Furthermore, a sliding groove 101a is transversely formed in one side of the winding roller 101, which is close to the first driving motor 102, and the outer edge of the winding roller 101 is arranged in the tensioning groove 101 b. The control mechanism 103a comprises a sliding rod 103a-1 arranged in the sliding groove 101a and a pull rod 103a-2 connected with the sliding rod 103a-1, a limiting block 103a-3 connected with the cavity of the winding roller 101 is arranged on the outer side of the pull rod 103a-2, and the limiting block 103a-3 is connected with a spring 103 a-4. The outer side of the wind-up roll 101 on one side of the sliding rod 103a-1 close to the limiting block 103a-3 is sleeved with a pull ring 103a-5, and the pull ring 103a-5 is connected with a driving piece 103 a-6. The tensioning mechanism 103b comprises a plurality of tensioning sleeves 103b-2 which are mutually connected through rubber rings 103b-1, and a tensioning seat 103b-3 which is arranged at the tail end of the tensioning mechanism 103b and connected with the pull rod 103 a-2.
In an initial state, the tensioning mechanism 103b is in a tensioning state, a group of expansion sleeves 103b-2 at the tail end of the tensioning mechanism 103b far away from the control mechanism 103a is in a fixed state, and the rubber rings 103b-1 between the adjacent expansion sleeves 103b-2 are deformed and increased in outer diameter under the extrusion of the two groups of expansion sleeves 103b-2, so that the expansion grooves 101b arranged on the winding roller 101 protrude out, the inner wall of the winding drum 104 sleeved outside the winding roller 101 is extruded, and the winding drum 104 and the winding roller 101 can cooperatively rotate under the action of the first driving motor 102 to wind the cpp packaging film. After the winding operation is completed, the driving member 103a-6 operates to drive the pull ring 103a-5 connected to the driving member 103a-6 to displace towards the first driving motor 102, the pull ring 103a-5 displaces and contacts the sliding rod 103a-1, so as to drive the sliding rod 103a-1 to displace towards the first driving motor 102 in the sliding groove 101a, the sliding rod 103a displaces and drives the pull rod 103a-2 connected to the sliding rod 103a to displace, the pull rod 103a-2 drives the whole tension mechanism 103b to displace and compress the spring 103a-4, since a set of expansion sleeves 103b-2 of the tension mechanism 103b far from the end of the control mechanism 103a are in a fixed state, the displacement of the tension mechanism 103b increases, the extrusion force of two sets of adjacent expansion sleeves 103b-2 decreases, the deformation force of the rubber ring 103b-1 between the adjacent expansion sleeves 103b-2 decreases, the outer diameter is reduced until the winding roller is retracted into the built-in cavity of the winding roller 101, the tensioning state of the tensioning member 103 is cancelled, the winding drum 104 is separated from the winding roller 101, and the winding drum 104 is convenient to withdraw from the winding roller 101. In order to facilitate the protrusion and retraction of the rubber ring 103b-1 from the tension groove 101b, the width of the tension groove 101b is larger than that of the rubber ring 103 b-1. When the next winding operation is carried out, the driving part 103a-6 stops working, the tensioning mechanism 103b is restored under the action of the spring 103a-4, and the extrusion force generated between the adjacent expansion sleeves 103b-2 extrudes the rubber ring 103b-1 between the adjacent expansion sleeves, so that the rubber ring is deformed, the outer diameter of the rubber ring is increased, and the rubber ring is extruded with the inner wall of the winding drum 104 sleeved outside the winding roller 101 again.
The control mechanism 103a is matched with the tensioning mechanism 103b to change the state of the tensioning member 103, so that the winding roller 101 and the winding drum 104 are cooperatively rotated and separated, the winding work of the cpp packaging film and the removal work after the winding work are quickly and efficiently completed, the work efficiency is greatly improved, and the workload of operators is reduced.
Example 3
Referring to fig. 1 to 9, a third embodiment of the present invention is different from the first two embodiments: the storage unit 300 is provided with a winding drum accommodating box 400 on the side wall above, an inclined block 401 is arranged on the inner wall of one side of the winding drum accommodating box 400, a drum outlet 402 is arranged at the bottom of the other side of the winding drum accommodating box 400, and a through hole 403 connected with the drum outlet 402 is arranged on the side wall above the storage unit 300. The pushing block 204 is a hollow ring-shaped magnetic block. The outer side of the winding drum 104 is provided with a magnetic block 104a, and the tail end far away from the magnetic block 104a is provided with a check block 104 b.
The bobbin outlet 402 and the winding roller 101 are located on the same axis, a plurality of sets of stacked winding bobbins 104 are stored in the winding bobbin accommodating box 400, the lowermost winding bobbin 104 passes through the through hole 403 from the bobbin outlet 402 to the outside of the upper side wall of the storage unit 300, the magnet 104a arranged on the outer side of the winding bobbin 104 is also exposed on the outside of the upper side wall of the storage unit 300, when the pushing unit 200 pushes the winding bobbin 104 out of the winding bobbin 101, the winding bobbin 104 drops to the storage unit 300, the pushing unit 200 continues to move forwards until the position of the through hole on the upper side wall of the storage unit 300, when the pushing block 204 of the pushing unit 200 passes through the lowermost winding bobbin 104 to the position of the magnet 104a arranged on the outer side wall of the winding bobbin 104, the pushing block 204 and the magnet 104a generate mutually attracted magnetic force, the winding bobbin 104 is adsorbed on the pushing unit 200, the second driving motor 201 adopts a forward and reverse rotation motor, and then the working state of the second, the pushing unit 200 drives the winding roll 104 to move towards the second driving motor 201, the lowermost winding roll 104 in the winding roll accommodating box 400 is taken out of the winding roll accommodating box 400 to move towards the winding roll 101, so that the winding roll 104 which is not wound is sleeved on the winding roll 101 again, when the grid stopper 104b arranged at the tail end of the winding roll 104 contacts the tail end of the winding roll 101, the winding roll 104 cannot move forwards any more, the pushing unit 200 is separated from the winding roll 104, the pushing unit 200 continues to move forwards for a certain distance until the pushing block 204 is completely separated from the winding roll 104, so that the rotation of the winding roll 104 and the winding work of the winding roll 104 on the cpp packaging film cannot be influenced, after the lowermost winding roll 104 in the winding roll accommodating box 400 is taken away by the pushing unit 200, a group of winding rolls 104 above the lowermost winding roll 104 naturally fall off, and as the inner wall of the winding roll accommodating box 400 is provided with the inclined block 401, the sloping block 401 is narrow at the top and wide at the bottom, and under the action of the sloping block 401, the winding drum 104 naturally drops and penetrates through the drum outlet 402 and the through hole 403 to the outside of the side wall above the storage unit 300, so that the pushing unit 200 can conveniently take and deliver the winding drum at the next time and is sleeved outside the winding drum 101.
Through the arrangement of the winding drum accommodating box 400, the matching pushing unit 200 realizes that the winding drum 104 which is not subjected to winding operation is sleeved outside the winding drum 101 again so as to carry out the next winding operation, and after the winding drum 104 at the lowest part of the winding drum accommodating box 400 is taken away, the winding drum 104 at the lowest part is replaced by the winding drum 104 at the upper part under the action of the inclined block 401 in the winding drum accommodating box 400 so as to continuously sleeve the winding drum 104 and the winding operation.
Further, the storage unit 300 comprises a transmission belt 301 and a storage box 302 located at the tail end of the transmission belt 301, the winding drum 104 completing the winding operation is pushed out of the winding drum 101 by the pushing unit 200, when the winding drum 104 is completely separated from the winding drum 101, the winding drum 104 drops to the transmission belt 301 below, and under the action of the transmission belt 301, the winding drum 104 completing the winding operation is conveyed to the storage box 302 for storage, so that the winding, transmission and storage of the cpp packaging film are completed automatically, and the collection and storage efficiency of the cpp packaging film is greatly improved.
It should be noted that the above-mentioned embodiments are only for illustrating the technical solutions of the present invention and not for limiting, and although the present invention has been described in detail with reference to the preferred embodiments, it should be understood by those skilled in the art that modifications or equivalent substitutions may be made on the technical solutions of the present invention without departing from the spirit and scope of the technical solutions of the present invention, which should be covered by the claims of the present invention.

Claims (9)

1. A cpp packaging film rolling and storing device which is characterized in that: comprises that
The winding unit (100) comprises a winding roller (101) and a first driving motor (102) connected with the winding roller (101), the winding roller (101) is provided with a hollow cavity, a tensioning piece (103) is arranged in the hollow cavity, and a winding drum (104) is sleeved outside the winding roller (101);
the pushing unit (200) is positioned above the winding unit (100) and comprises a second driving motor (201) and a pushing screw rod (202) connected with the second driving motor (201), a nut (203) is arranged on the outer side of the pushing screw rod (202), and the bottom of the nut (203) is connected with a pushing block (204) sleeved on the outer side of the winding roller (101);
a storage unit (300) located obliquely below the winding unit (100);
the winding drum accommodating box (400) is arranged in the storage unit (300), an inclined block (401) is arranged on the inner wall of one side of the winding drum accommodating box (400), a drum outlet (402) is arranged at the bottom of the other side of the winding drum accommodating box (400), and a through hole (403) connected with the drum outlet (402) is formed in the side wall of the upper side of the storage unit (300).
2. The cpp packaging film take-up and storage device of claim 1, wherein: one side of the winding roller (101) close to the first driving motor (102) is provided with a sliding groove (101 a) which is transversely communicated, and the outer edge of the winding roller (101) is provided with a tensioning groove (101 b).
3. The cpp packaging film take-up and storage device of claim 2, wherein: the tensioning piece (103) comprises a control mechanism (103 a) and a tensioning mechanism (103 b) connected with the control mechanism (103 a).
4. The cpp packaging film take-up and storage device of claim 3, wherein: the control mechanism (103 a) comprises a sliding rod (103 a-1) arranged in the sliding groove (101 a) and a pull rod (103 a-2) connected with the sliding rod (103 a-1), a limiting block (103 a-3) connected with a cavity of the winding roller (101) is arranged on the outer side of the pull rod (103 a-2), and the limiting block (103 a-3) is connected with a spring (103 a-4).
5. The cpp packaging film take-up and storage device of claim 4, wherein: the outer side of the winding roller (101) on one side, close to the limiting block (103 a-3), of the sliding rod (103 a-1) is sleeved with a pull ring (103 a-5), and the pull ring (103 a-5) is connected with a driving piece (103 a-6).
6. The cpp packaging film take-up and storage device of claim 5, wherein: the tensioning mechanism (103 b) comprises a plurality of tensioning sleeves (103 b-2) which are mutually connected through rubber rings (103 b-1), and a tensioning seat (103 b-3) which is arranged at the tail end of the tensioning mechanism (103 b) and connected with the pull rod (103 a-2).
7. The cpp packaging film take-up and storage device of any one of claims 1-6, wherein: the pushing block (204) is a hollow annular magnetic block.
8. The cpp packaging film take-up and storage device of claim 7, wherein: the outer side of the winding drum (104) is provided with a magnetic block (104 a), and the tail end far away from the magnetic block (104 a) is provided with a check block (104 b).
9. The cpp packaging film take-up and storage device of claim 8, wherein: the storage unit (300) comprises a conveyor belt (301) and a storage bin (302) located at an end of the conveyor belt (301).
CN202110841097.9A 2021-07-26 2021-07-26 cPp packaging film rolling and storage device Active CN113277353B (en)

Priority Applications (1)

Application Number Priority Date Filing Date Title
CN202110841097.9A CN113277353B (en) 2021-07-26 2021-07-26 cPp packaging film rolling and storage device

Applications Claiming Priority (1)

Application Number Priority Date Filing Date Title
CN202110841097.9A CN113277353B (en) 2021-07-26 2021-07-26 cPp packaging film rolling and storage device

Publications (2)

Publication Number Publication Date
CN113277353A true CN113277353A (en) 2021-08-20
CN113277353B CN113277353B (en) 2021-11-12

Family

ID=77287089

Family Applications (1)

Application Number Title Priority Date Filing Date
CN202110841097.9A Active CN113277353B (en) 2021-07-26 2021-07-26 cPp packaging film rolling and storage device

Country Status (1)

Country Link
CN (1) CN113277353B (en)

Cited By (5)

* Cited by examiner, † Cited by third party
Publication number Priority date Publication date Assignee Title
CN115009934A (en) * 2022-08-05 2022-09-06 常州市金马高分子材料有限公司 Packaging device and method for producing tetrafluoroethylene and ethylene copolymer
CN115385142A (en) * 2022-08-31 2022-11-25 海宁市徐达特种薄膜有限公司 LDPE film production equipment and production process
CN115594023A (en) * 2022-10-10 2023-01-13 北京中丽制机工程技术有限公司(Cn) Fixing device for tube tube of filament winding machine
CN115648576A (en) * 2022-11-01 2023-01-31 江苏加富新材料科技有限公司 Heat-resistant oil-resistant film production equipment and production process thereof
CN116252501A (en) * 2022-12-30 2023-06-13 常州佐邦包装科技有限公司 Preparation process of PET plastic steel belt

Citations (9)

* Cited by examiner, † Cited by third party
Publication number Priority date Publication date Assignee Title
JPH04197520A (en) * 1990-11-29 1992-07-17 Kawasaki Steel Corp Method and device for carrying out scrap coil wound round tension reel
CN206511712U (en) * 2016-11-30 2017-09-22 张家港爱铝铝箔科技有限公司 Huan Guan mechanisms and rewinding machine for rewinding
CN107499996A (en) * 2017-09-11 2017-12-22 松力(广东)电子科技有限公司 A kind of rolling-up mechanism roll-switching device of rewinding machine
CN207827594U (en) * 2017-12-26 2018-09-07 苏州市福英电子有限公司 A kind of adhesive tape hand scroll frame
CN109850694A (en) * 2019-03-22 2019-06-07 廊坊鸿禹乔防水材料有限公司 A kind of coiled material wrap-up
CN211110186U (en) * 2019-11-29 2020-07-28 武汉市江汇塑业有限公司 A PE film changing and unloading device
CN211545330U (en) * 2019-10-21 2020-09-22 广东蒙泰高新纤维股份有限公司 Convenient stable barrel anchor clamps
CN112478900A (en) * 2020-11-27 2021-03-12 郭妙云 Full-automatic adhesive tape packing apparatus
CN213170636U (en) * 2020-06-16 2021-05-11 浙江圣帝亚建筑科技有限公司 Automatic sleeve device for circular tube

Patent Citations (9)

* Cited by examiner, † Cited by third party
Publication number Priority date Publication date Assignee Title
JPH04197520A (en) * 1990-11-29 1992-07-17 Kawasaki Steel Corp Method and device for carrying out scrap coil wound round tension reel
CN206511712U (en) * 2016-11-30 2017-09-22 张家港爱铝铝箔科技有限公司 Huan Guan mechanisms and rewinding machine for rewinding
CN107499996A (en) * 2017-09-11 2017-12-22 松力(广东)电子科技有限公司 A kind of rolling-up mechanism roll-switching device of rewinding machine
CN207827594U (en) * 2017-12-26 2018-09-07 苏州市福英电子有限公司 A kind of adhesive tape hand scroll frame
CN109850694A (en) * 2019-03-22 2019-06-07 廊坊鸿禹乔防水材料有限公司 A kind of coiled material wrap-up
CN211545330U (en) * 2019-10-21 2020-09-22 广东蒙泰高新纤维股份有限公司 Convenient stable barrel anchor clamps
CN211110186U (en) * 2019-11-29 2020-07-28 武汉市江汇塑业有限公司 A PE film changing and unloading device
CN213170636U (en) * 2020-06-16 2021-05-11 浙江圣帝亚建筑科技有限公司 Automatic sleeve device for circular tube
CN112478900A (en) * 2020-11-27 2021-03-12 郭妙云 Full-automatic adhesive tape packing apparatus

Cited By (6)

* Cited by examiner, † Cited by third party
Publication number Priority date Publication date Assignee Title
CN115009934A (en) * 2022-08-05 2022-09-06 常州市金马高分子材料有限公司 Packaging device and method for producing tetrafluoroethylene and ethylene copolymer
CN115385142A (en) * 2022-08-31 2022-11-25 海宁市徐达特种薄膜有限公司 LDPE film production equipment and production process
CN115594023A (en) * 2022-10-10 2023-01-13 北京中丽制机工程技术有限公司(Cn) Fixing device for tube tube of filament winding machine
CN115648576A (en) * 2022-11-01 2023-01-31 江苏加富新材料科技有限公司 Heat-resistant oil-resistant film production equipment and production process thereof
CN115648576B (en) * 2022-11-01 2024-01-30 江苏加富新材料科技有限公司 Heat-resistant and oil-film-resistant production equipment and production process thereof
CN116252501A (en) * 2022-12-30 2023-06-13 常州佐邦包装科技有限公司 Preparation process of PET plastic steel belt

Also Published As

Publication number Publication date
CN113277353B (en) 2021-11-12

Similar Documents

Publication Publication Date Title
CN113277353B (en) cPp packaging film rolling and storage device
US12027283B2 (en) Batching system for producing special cables
US9604809B2 (en) Film roll/bag-on-a-roll making machine
US3062465A (en) Method of and apparatus for reeling sheet material continuously
WO2015070362A1 (en) Winding-up and roll-replacing apparatus for wide thin-film
CN102795500A (en) Device and method for reeling and replacing reel without stop
CN204607181U (en) A kind of winding film wrap-up
CN111516281A (en) A fully automatic composite hose pipe making machine
JP2022518915A (en) Coilers and methods for dunnage converters
CN116142864A (en) Cloth leveling, drying and winding integrated equipment
CN205820455U (en) a cutting machine
CN109398845B (en) A 3D printing filament packaging method and packaging device without rewinding disc
CN206939236U (en) A kind of natural fiber based high molecular polymer composites fixed length packing machine
CN205076517U (en) Inflation film manufacturing machine automatic winding device
CN110817519B (en) Composite cloth winding device
CN210176183U (en) Pipe rolling device with automatic pipe arranging function
CN210792158U (en) Special knockout core machine of fishing rod
CN220785811U (en) Transfer device for hose machining
CN114180379A (en) Film surface and center winding and roll changing device and method
US3934449A (en) Drawing elongated stock, such as copper tubing
CN119389837B (en) Glass fiber paint mist felt compression rolling equipment
CN204727280U (en) A kind of plastic sheeting rolling-up mechanism
CN216512213U (en) Transfer device for hose processing
CN222630748U (en) Cable winding equipment
CN215618469U (en) Edge film winding equipment for finished film

Legal Events

Date Code Title Description
PB01 Publication
PB01 Publication
SE01 Entry into force of request for substantive examination
SE01 Entry into force of request for substantive examination
GR01 Patent grant
GR01 Patent grant
PE01 Entry into force of the registration of the contract for pledge of patent right

Denomination of invention: A winding and storage device for a CPP film

Granted publication date: 20211112

Pledgee: Peixian Jiangsu rural commercial bank Limited by Share Ltd.

Pledgor: Xuzhou Hongen packaging new material Co.,Ltd.

Registration number: Y2025980046022

PE01 Entry into force of the registration of the contract for pledge of patent right