CN113274020B - Blood sample collecting and taking device - Google Patents
Blood sample collecting and taking device Download PDFInfo
- Publication number
- CN113274020B CN113274020B CN202110532234.0A CN202110532234A CN113274020B CN 113274020 B CN113274020 B CN 113274020B CN 202110532234 A CN202110532234 A CN 202110532234A CN 113274020 B CN113274020 B CN 113274020B
- Authority
- CN
- China
- Prior art keywords
- liquid
- storage bottle
- liquid storage
- puncture tube
- hole
- Prior art date
- Legal status (The legal status is an assumption and is not a legal conclusion. Google has not performed a legal analysis and makes no representation as to the accuracy of the status listed.)
- Active
Links
- 239000008280 blood Substances 0.000 title claims abstract description 62
- 210000004369 blood Anatomy 0.000 title claims abstract description 62
- 239000007788 liquid Substances 0.000 claims abstract description 192
- 238000007599 discharging Methods 0.000 claims abstract description 4
- 238000007789 sealing Methods 0.000 claims description 11
- 238000000605 extraction Methods 0.000 claims description 7
- 230000001105 regulatory effect Effects 0.000 claims description 7
- 239000012780 transparent material Substances 0.000 claims description 3
- 238000004146 energy storage Methods 0.000 claims 1
- 101150038956 cup-4 gene Proteins 0.000 description 27
- 238000005070 sampling Methods 0.000 description 11
- 238000000034 method Methods 0.000 description 6
- 210000003462 vein Anatomy 0.000 description 5
- 238000011109 contamination Methods 0.000 description 4
- 238000010586 diagram Methods 0.000 description 4
- 239000003146 anticoagulant agent Substances 0.000 description 3
- 229940127219 anticoagulant drug Drugs 0.000 description 3
- 238000009534 blood test Methods 0.000 description 3
- 238000011084 recovery Methods 0.000 description 3
- 238000003915 air pollution Methods 0.000 description 2
- 230000023555 blood coagulation Effects 0.000 description 2
- 239000011248 coating agent Substances 0.000 description 2
- 238000000576 coating method Methods 0.000 description 2
- 201000010099 disease Diseases 0.000 description 2
- 208000037265 diseases, disorders, signs and symptoms Diseases 0.000 description 2
- 238000012360 testing method Methods 0.000 description 2
- HTTJABKRGRZYRN-UHFFFAOYSA-N Heparin Chemical compound OC1C(NC(=O)C)C(O)OC(COS(O)(=O)=O)C1OC1C(OS(O)(=O)=O)C(O)C(OC2C(C(OS(O)(=O)=O)C(OC3C(C(O)C(O)C(O3)C(O)=O)OS(O)(=O)=O)C(CO)O2)NS(O)(=O)=O)C(C(O)=O)O1 HTTJABKRGRZYRN-UHFFFAOYSA-N 0.000 description 1
- 230000009286 beneficial effect Effects 0.000 description 1
- 230000017531 blood circulation Effects 0.000 description 1
- 230000006835 compression Effects 0.000 description 1
- 238000007906 compression Methods 0.000 description 1
- 238000005516 engineering process Methods 0.000 description 1
- 239000000284 extract Substances 0.000 description 1
- 229960002897 heparin Drugs 0.000 description 1
- 229920000669 heparin Polymers 0.000 description 1
- 238000003780 insertion Methods 0.000 description 1
- 230000037431 insertion Effects 0.000 description 1
- 238000004519 manufacturing process Methods 0.000 description 1
- 239000000463 material Substances 0.000 description 1
- 238000000968 medical method and process Methods 0.000 description 1
- 230000035515 penetration Effects 0.000 description 1
- 238000004804 winding Methods 0.000 description 1
Images
Classifications
-
- A—HUMAN NECESSITIES
- A61—MEDICAL OR VETERINARY SCIENCE; HYGIENE
- A61B—DIAGNOSIS; SURGERY; IDENTIFICATION
- A61B5/00—Measuring for diagnostic purposes; Identification of persons
- A61B5/15—Devices for taking samples of blood
- A61B5/153—Devices specially adapted for taking samples of venous or arterial blood, e.g. with syringes
- A61B5/154—Devices using pre-evacuated means
-
- A—HUMAN NECESSITIES
- A61—MEDICAL OR VETERINARY SCIENCE; HYGIENE
- A61B—DIAGNOSIS; SURGERY; IDENTIFICATION
- A61B5/00—Measuring for diagnostic purposes; Identification of persons
- A61B5/15—Devices for taking samples of blood
- A61B5/150007—Details
- A61B5/150015—Source of blood
- A61B5/15003—Source of blood for venous or arterial blood
-
- A—HUMAN NECESSITIES
- A61—MEDICAL OR VETERINARY SCIENCE; HYGIENE
- A61B—DIAGNOSIS; SURGERY; IDENTIFICATION
- A61B5/00—Measuring for diagnostic purposes; Identification of persons
- A61B5/15—Devices for taking samples of blood
- A61B5/150007—Details
- A61B5/150053—Details for enhanced collection of blood or interstitial fluid at the sample site, e.g. by applying compression, heat, vibration, ultrasound, suction or vacuum to tissue; for reduction of pain or discomfort; Skin piercing elements, e.g. blades, needles, lancets or canulas, with adjustable piercing speed
- A61B5/150061—Means for enhancing collection
- A61B5/150099—Means for enhancing collection by negative pressure, other than vacuum extraction into a syringe by pulling on the piston rod or into pre-evacuated tubes
-
- A—HUMAN NECESSITIES
- A61—MEDICAL OR VETERINARY SCIENCE; HYGIENE
- A61B—DIAGNOSIS; SURGERY; IDENTIFICATION
- A61B5/00—Measuring for diagnostic purposes; Identification of persons
- A61B5/15—Devices for taking samples of blood
- A61B5/150007—Details
- A61B5/150351—Caps, stoppers or lids for sealing or closing a blood collection vessel or container, e.g. a test-tube or syringe barrel
Landscapes
- Health & Medical Sciences (AREA)
- Life Sciences & Earth Sciences (AREA)
- Engineering & Computer Science (AREA)
- Medical Informatics (AREA)
- Physics & Mathematics (AREA)
- Veterinary Medicine (AREA)
- Biophysics (AREA)
- Pathology (AREA)
- Public Health (AREA)
- Biomedical Technology (AREA)
- Heart & Thoracic Surgery (AREA)
- Hematology (AREA)
- Molecular Biology (AREA)
- Surgery (AREA)
- Animal Behavior & Ethology (AREA)
- General Health & Medical Sciences (AREA)
- Dermatology (AREA)
- Pain & Pain Management (AREA)
- Measurement Of The Respiration, Hearing Ability, Form, And Blood Characteristics Of Living Organisms (AREA)
Abstract
一种血液样本采集及取用装置,包括储液瓶、导流件、调节件、取液杯和排液机构,储液瓶内部设有朝外开口的负压腔,储液瓶的首端设有用于盖合负压腔开口的第一胶塞,储液瓶的尾端设有还设有朝外开口的排液腔;导流件内部设有导流通道,导流件的两端分别设有接通导流通道的针头接口和第一穿刺管;且导流件可活动地安装在储液瓶的首端,以使第一穿刺管具备远离第一胶塞的第一状态,以及刺破第一胶塞至负压腔内第二状态;调节件安装在储液瓶的首端并与导流件驱动连接,以驱使第一穿刺管切换第一状态或第二状态;取液杯设置在排液腔的开口处并与储液瓶可拆卸地连接;排液机构安装在排液腔内,以用于将负压腔内的血液排放至取液杯内。
A blood sample collection and taking device, including a liquid storage bottle, a flow guide, an adjustment piece, a liquid taking cup, and a liquid discharge mechanism. The inside of the liquid storage bottle is provided with a negative pressure chamber that opens outward, and the head end of the liquid storage bottle There is a first rubber plug used to cover the opening of the negative pressure chamber, and the tail end of the liquid storage bottle is provided with a liquid discharge chamber that opens outward; the inside of the guide is provided with a guide channel, and the two ends of the guide are The needle interface and the first puncture tube connected to the diversion channel are respectively provided; and the guide member is movably installed on the head end of the liquid storage bottle, so that the first puncture tube has a first state away from the first rubber stopper, And puncture the first rubber plug to the second state in the negative pressure chamber; the adjustment member is installed on the head end of the liquid storage bottle and connected with the flow guide to drive the first puncture tube to switch the first state or the second state; take The liquid cup is arranged at the opening of the liquid discharge chamber and is detachably connected with the liquid storage bottle; the liquid discharge mechanism is installed in the liquid discharge chamber for discharging the blood in the negative pressure chamber into the liquid taking cup.
Description
技术领域technical field
本发明涉及医疗器械技术领域,具体为一种血液样本采集及取用装置。The invention relates to the technical field of medical devices, in particular to a device for collecting and taking blood samples.
背景技术Background technique
众所周知,血液检查是预防和诊断疾病的一种常见的医疗手段,其通过检测血液样本中的各项指标,以此检验各类疾病;此外,针对一些珍稀物种,在抽取其血液样本后需要进行储存,以供多次抽查使用。As we all know, blood test is a common medical method for preventing and diagnosing diseases. It detects various diseases by detecting various indicators in blood samples; Stored for multiple spot checks.
临床上一般采用血液采集器进行血液样本的收集,现有的血液采集器一般由储液瓶、采集软管和医用针头组成,储液瓶内设有负气压的负压腔;使用时,将采集软管连接储液瓶和医用针头,并将医用针头刺入采集对象的静脉,血液样本在负气压的作用下进入负压腔内,此时将采集软管从储液瓶处取下即可储存血液样本;而当需要取用血液样本时,使用注射器的针头插入负压腔内然后抽取瓶内的血液样本即可;现有的血液采集器虽然采集血液样本十分方便,但是仍存在以下缺点:Clinically, a blood collector is generally used to collect blood samples. The existing blood collector is generally composed of a liquid storage bottle, a collection hose and a medical needle. The collection hose is connected to the liquid storage bottle and the medical needle, and the medical needle is inserted into the vein of the subject to be collected. The blood sample enters the negative pressure chamber under the action of negative air pressure. At this time, the collection hose is removed from the liquid storage bottle. It can store blood samples; when it is necessary to take blood samples, use the needle of the syringe to insert into the negative pressure cavity and then take the blood samples in the bottle; although the existing blood collectors are very convenient for collecting blood samples, there are still the following shortcoming:
其一,采集软管裸露在外,在使用过程中容易发生折叠或缠绕,导致血液无法正常通过;First, the collection hose is exposed, and it is prone to folding or winding during use, resulting in the inability of blood to pass through normally;
其二,为了方便将采集软管连接至负压腔内,现有技术中一般会在采集软管一端安装穿刺管,然后通过穿刺管刺入负压腔内,此过程中,容易因手误而导致穿刺管刺伤使用者;Second, in order to facilitate the connection of the collection hose to the negative pressure chamber, in the prior art, a puncture tube is generally installed at one end of the collection hose, and then pierced into the negative pressure chamber through the puncture tube. causing the puncture tube to puncture the user;
其三,在使用注射器取用储液瓶内的部分血液样本时,由于注射器的针头端先与空气频繁接触,然后再伸入储液瓶内,有可能造成储液瓶内采集的血液样本污染,不利于血液样本的储存,且降低了血液检验的精度。Third, when using a syringe to take part of the blood samples in the liquid storage bottle, because the needle end of the syringe is in frequent contact with the air first, and then extends into the liquid storage bottle, it may cause contamination of the blood samples collected in the liquid storage bottle , is not conducive to the storage of blood samples, and reduces the accuracy of blood testing.
发明内容Contents of the invention
(一)解决的技术问题(1) Solved technical problems
为解决以上问题,本发明提供了一种血液样本采集及取用装置,解决了背景技术中提出的问题。In order to solve the above problems, the present invention provides a blood sample collection and taking device, which solves the problems raised in the background technology.
(二)技术方案(2) Technical solution
为实现上述目的,本发明提供如下技术方案:To achieve the above object, the present invention provides the following technical solutions:
一种血液样本采集及取用装置,包括储液瓶、导流件、调节件、取液杯和排液机构,所述储液瓶内部设有朝外开口的负压腔,所述储液瓶的首端设有用于盖合所述负压腔开口的第一胶塞,所述储液瓶的尾端设有还设有朝外开口的排液腔;所述导流件内部设有导流通道,所述导流件的两端分别设有接通导流通道的针头接口和第一穿刺管;且所述导流件可活动地安装在所述储液瓶的首端,以使所述第一穿刺管具备远离所述第一胶塞的第一状态,以及刺破所述第一胶塞至所述负压腔内第二状态;所述调节件安装在所述储液瓶的首端并与所述导流件驱动连接,以驱使所述第一穿刺管切换第一状态或第二状态;所述取液杯设置在所述排液腔的开口处并与所述储液瓶可拆卸地连接;所述排液机构安装在所述排液腔内,以用于将所述负压腔内的血液排放至所述取液杯内。A device for collecting and taking blood samples, including a liquid storage bottle, a flow guide, an adjustment member, a liquid taking cup, and a liquid discharge mechanism. The head end of the bottle is provided with a first rubber plug for covering the opening of the negative pressure chamber, and the tail end of the liquid storage bottle is provided with a liquid discharge chamber opening outward; The two ends of the guide channel are respectively provided with a needle interface connected to the guide channel and a first puncture tube; and the guide member is movably installed on the head end of the liquid storage bottle to Make the first puncture tube have a first state away from the first rubber plug, and puncture the first rubber plug to a second state in the negative pressure chamber; the adjustment member is installed in the liquid storage The head end of the bottle is driven and connected with the deflector to drive the first puncture tube to switch between the first state and the second state; the liquid taking cup is arranged at the opening of the liquid discharge chamber and The liquid storage bottle is detachably connected; the liquid discharge mechanism is installed in the liquid discharge chamber for discharging the blood in the negative pressure chamber into the liquid taking cup.
优选地,所述储液瓶上设有连通所述负压腔和外界的调压孔,所述调压孔内部安装有密封塞。Preferably, the liquid storage bottle is provided with a pressure regulating hole connecting the negative pressure chamber and the outside world, and a sealing plug is installed inside the pressure regulating hole.
优选地,所述储液瓶的首端设有滑柱,所述导流件靠近所述第一穿刺管的一端上设有限位块,所述限位块上设有与所述滑柱滑动连接的滑孔,以使所述导流件可活动地安装在所述储液瓶的首端;所述调节件可转动地安装在所述储液瓶的首端,且所述调节件内部设有螺孔;所述导流件靠近所述第一穿刺管的一端贯穿所述螺孔,且该端上外侧设有螺纹,以使所述导流件与所述螺孔螺纹连接;转动所述调节件可驱使所述导流件沿所述滑柱长度方向移动。Preferably, the first end of the liquid storage bottle is provided with a sliding column, and the end of the guide member close to the first puncture tube is provided with a limiting block, and the limiting block is provided with a sliding column that slides with the sliding column. connected sliding holes so that the deflector is movably installed at the head end of the liquid storage bottle; the adjustment member is rotatably installed at the head end of the liquid storage bottle, and the inside of the adjustment member A screw hole is provided; one end of the guide member close to the first puncture tube passes through the screw hole, and a thread is provided on the outside of the end, so that the guide member is threadedly connected with the screw hole; rotate The adjusting member can drive the deflector to move along the length direction of the sliding column.
优选地,所述导流通道呈弯曲状设计。Preferably, the guide channel is designed in a curved shape.
优选地,所述排液机构包括排液漏斗和转杆,所述储液瓶内部设有连通所述负压腔和所述排液腔的漏孔,所述排液漏斗设置在所述排液腔内,且所述排液漏斗的进液端与所述漏孔接通;所述排液漏斗的排液端处设有转孔,所述转杆可转动地安装在所述储液瓶内,所述转杆第一端伸入所述转孔内,且所述转杆第一端上设有排液孔,所述转杆第二端延伸贯穿所述排液腔至外界;转动所述转杆可驱使所述排液孔连通或阻隔所述负压腔与所述取液杯。Preferably, the liquid discharge mechanism includes a liquid discharge funnel and a rotating rod, and a leak hole connecting the negative pressure chamber and the liquid discharge chamber is provided inside the liquid storage bottle, and the liquid discharge funnel is arranged on the discharge chamber. In the liquid cavity, and the liquid inlet end of the liquid discharge funnel is connected with the leak hole; the liquid discharge end of the liquid discharge funnel is provided with a rotating hole, and the rotating rod is rotatably installed on the liquid storage In the bottle, the first end of the rotating rod extends into the rotating hole, and the first end of the rotating rod is provided with a drain hole, and the second end of the rotating rod extends through the draining cavity to the outside; Rotating the rotating rod can drive the liquid discharge hole to communicate with or block the negative pressure chamber and the liquid taking cup.
优选地,所述排液机构还包括第二穿刺管,所述储液瓶的尾端设有用于盖合所述排液腔开口的盖板,所述盖板内部设有第二胶塞,且所述第二胶塞上设有“凵”形橡胶块;所述第二穿刺管的第一端与所述排液漏斗的排液端连接,第二穿刺管的第二端贯穿所述盖板并置于所述“凵”形橡胶块内;所述取液杯内设有挡块,所述挡块上对应所述第二穿刺管设有出液口;所述取液杯与所述储液瓶的尾端连接时,所述挡块挤压所述“凵”形橡胶块,以使所述第二穿刺管的第二端依次贯穿所述“凵”形橡胶块和所述出液口至所述取液杯内部。Preferably, the liquid discharge mechanism further includes a second puncture tube, the tail end of the liquid storage bottle is provided with a cover plate for covering the opening of the liquid discharge chamber, and a second rubber stopper is provided inside the cover plate, And the second rubber plug is provided with a "凵" shaped rubber block; the first end of the second puncture tube is connected to the discharge end of the discharge funnel, and the second end of the second puncture tube runs through the The cover plate is placed in the "凵" shaped rubber block; a stopper is provided in the liquid taking cup, and a liquid outlet is arranged on the stopper corresponding to the second puncture tube; the liquid taking cup and the When the tail end of the liquid storage bottle is connected, the stopper squeezes the “凵”-shaped rubber block so that the second end of the second puncture tube passes through the “凵”-shaped rubber block and the “凵”-shaped rubber block in turn. The liquid outlet is connected to the inside of the liquid taking cup.
优选地,还包括弹性件,所述“凵”形橡胶块内部设有缓冲槽,所述第二穿刺管的第二端置于所述缓冲槽内;所述弹性件套设于所述第二穿刺管的第二端上,且所述弹性件一端与所述盖板相抵,所述弹性件另一端与所述缓冲槽底壁相抵;所述挡块挤压所述“凵”形橡胶块时,所述弹性件压缩蓄能。Preferably, an elastic piece is also included. A buffer groove is provided inside the “凵” shaped rubber block, and the second end of the second puncture tube is placed in the buffer groove; the elastic piece is sleeved on the first On the second end of the two puncture tubes, and one end of the elastic member is against the cover plate, and the other end of the elastic member is against the bottom wall of the buffer tank; the stopper presses the “凵” shaped rubber When block, the elastic member compresses and stores energy.
优选地,还包括封盖,所述封盖可拆卸地安装在所述调节件上,且所述封盖上设有用于盖合所述针头接口的盖孔。Preferably, a cover is further included, the cover is detachably mounted on the adjustment member, and the cover is provided with a cover hole for covering the needle interface.
优选地,所述调节件上设有卡块,所述封盖上对应所述卡块设有卡孔,所述卡块与所述卡孔过渡配合卡接。Preferably, a clamping block is provided on the adjusting member, and a clamping hole is provided on the cover corresponding to the clamping block, and the clamping block and the clamping hole are transition-fitted and clamped.
优选地,所述储液瓶和所述取液杯均由透明材质制成,且所述取液杯上设有刻度。Preferably, both the liquid storage bottle and the liquid taking cup are made of transparent material, and a scale is provided on the liquid taking cup.
(三)有益效果(3) Beneficial effects
本发明提供的一种血液样本采集及取用装置,通过设计在储液瓶的负压腔开口处设计具备恢复能力的第一胶塞,以增加负压腔的密闭性;通过在导流件内部设计导流通道,以用于代替传统的采集软管,导流通道的设计不会发生折叠或缠绕,从而保证血液可顺利通过;进一步的,由于导流件靠近第一胶塞的一端设有第一穿刺管,因此通过设计调节件用于调整第一穿刺管的刺入负压腔内或从负压腔内取出,可避免因手误而导致第一穿刺管刺伤使用者;最后,通过设计在排液腔内设计排液机构用于排放负压腔内的血液样本,通过在储液瓶底端设计可拆卸连接的取液杯用于承接取出的血液样本,以代替传统的使用注射器取样的方式;且在取用血液样本的过程中,由于取液杯安装于储液瓶尾端并将排液腔盖合在内,因此可避免外界空气进入负压腔内而造成血液样本污染,提高了对血液样本的储存能力,且提高了血液检验的精度。A blood sample collection and taking device provided by the present invention, by designing the first rubber plug with recovery ability at the opening of the negative pressure chamber of the liquid storage bottle, to increase the airtightness of the negative pressure chamber; The internal design of the diversion channel is used to replace the traditional collection hose. The design of the diversion channel will not be folded or twisted, so as to ensure that the blood can pass through smoothly; There is a first puncture tube, so by designing the adjustment part to adjust the insertion of the first puncture tube into the negative pressure cavity or taking it out of the negative pressure cavity, it is possible to avoid the first puncture tube from being stabbed by the user due to manual error; finally , by designing a liquid discharge mechanism in the liquid discharge chamber to discharge the blood sample in the negative pressure chamber, and by designing a detachable connection cup at the bottom of the liquid storage bottle to accept the blood sample taken out, instead of the traditional one The method of sampling with a syringe; and in the process of taking blood samples, since the liquid collection cup is installed at the end of the liquid storage bottle and the liquid discharge chamber is covered, it can prevent the outside air from entering the negative pressure chamber and causing blood Sample contamination improves the storage capacity of blood samples and improves the accuracy of blood testing.
附图说明Description of drawings
附图用来提供对本发明的进一步理解,并且构成说明书的一部分,与本发明的实施例一起用于解释本发明,并不构成对本发明的限制,在附图中:The accompanying drawings are used to provide a further understanding of the present invention, and constitute a part of the description, and are used to explain the present invention together with the embodiments of the present invention, and do not constitute a limitation of the present invention. In the accompanying drawings:
图1示出了本发明的整体结构示意图一;Figure 1 shows a schematic diagram of the overall structure of the present invention;
图2示出了本发明的整体结构示意图二;Fig. 2 shows the overall structural schematic diagram II of the present invention;
图3示出了图2的剖视图A-A;Fig. 3 shows the sectional view A-A of Fig. 2;
图4示出了图3中A处的放大图;Fig. 4 shows the enlarged view of place A in Fig. 3;
图5示出了图3中B处的放大图;Figure 5 shows an enlarged view at B in Figure 3;
图6示出了本发明的整体结构的分解示意图一;Fig. 6 shows an exploded
图7示出了本发明的整体结构的分解示意图二;Fig. 7 shows the exploded schematic diagram II of the overall structure of the present invention;
图8示出了图7的剖视图B-B;Fig. 8 shows the sectional view B-B of Fig. 7;
图9示出了图8中C处的放大图;Figure 9 shows an enlarged view at C in Figure 8;
图10示出了图8中D处的放大图;Figure 10 shows an enlarged view at D in Figure 8;
图11示出了本发明的部分结构的分解示意图一;Fig. 11 shows an exploded
图12示出了本发明的部分结构的分解示意图二。Fig. 12 shows the second exploded schematic diagram of the partial structure of the present invention.
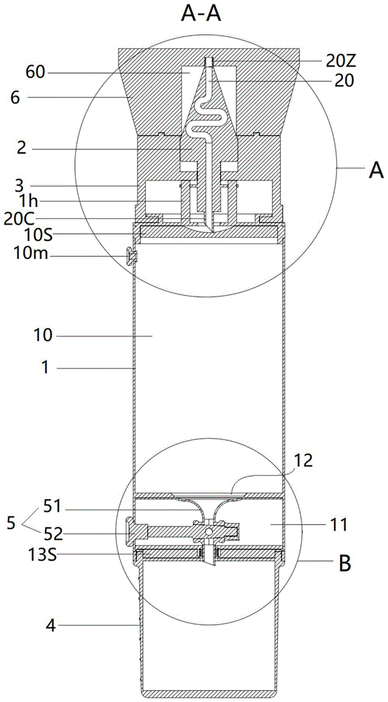
图中:1储液瓶、10负压腔、100调压孔、10m密封塞、10S第一胶塞、11排液腔、1h滑柱、12漏孔、13盖板、13S第二胶塞、13S0“凵”形橡胶块、13S1缓冲槽、2导流件、20导流通道、20C第一穿刺管、20Z针头接口、21限位块、21h滑孔、3调节件、3L螺孔、3k卡块、4取液杯、4D挡块、4D0出液口、4P刻度、5排液机构、51排液漏斗、510转孔、51P排液管道、52转杆、520排液孔、53第二穿刺管、6封盖、60盖孔、6k卡孔、Q密封圈、T弹性件、Y医用针头。In the figure: 1 liquid storage bottle, 10 negative pressure chamber, 100 pressure regulating hole, 10m sealing plug, 10S first rubber plug, 11 liquid discharge chamber, 1h sliding column, 12 leak hole, 13 cover plate, 13S second rubber plug , 13S0 "凵" shaped rubber block, 13S1 buffer groove, 2 flow guides, 20 flow guide channels, 20C first puncture tube, 20Z needle interface, 21 limit block, 21h sliding hole, 3 adjustment parts, 3L screw hole, 3k blocks, 4 liquid cups, 4D block, 4D0 liquid outlet, 4P scale, 5 liquid discharge mechanism, 51 liquid discharge funnel, 510 rotary hole, 51P liquid discharge pipe, 52 rotary rod, 520 liquid discharge hole, 53 The second puncture tube, 6 caps, 60 cap holes, 6k card holes, Q sealing ring, T elastic piece, Y medical needle.
具体实施方式detailed description
下面将结合本发明实施例中的附图,对本发明实施例中的技术方案进行清楚、完整地描述,显然,所描述的实施例仅仅是本发明一部分实施例,而不是全部的实施例。基于本发明中的实施例,本领域普通技术人员在没有做出创造性劳动前提下所获得的所有其他实施例,都属于本发明保护的范围。The following will clearly and completely describe the technical solutions in the embodiments of the present invention with reference to the accompanying drawings in the embodiments of the present invention. Obviously, the described embodiments are only some, not all, embodiments of the present invention. Based on the embodiments of the present invention, all other embodiments obtained by persons of ordinary skill in the art without making creative efforts belong to the protection scope of the present invention.
参阅附图1-附图10,一种血液样本采集及取用装置,包括储液瓶1、导流件2、调节件3、取液杯4和排液机构5,储液瓶1内部设有朝外开口的负压腔10,储液瓶1的首端设有用于盖合负压腔10开口的第一胶塞10S,储液瓶1的尾端设有还设有朝外开口的排液腔11;导流件2内部设有导流通道20,导流件2的两端分别设有接通导流通道20的针头接口20Z和第一穿刺管20C;且导流件2可活动地安装在储液瓶1的首端,以使第一穿刺管20C具备远离第一胶塞10S的第一状态,以及刺破第一胶塞10S至负压腔10内第二状态;调节件3安装在储液瓶1的首端并与导流件2驱动连接,以驱使第一穿刺管20C切换第一状态或第二状态;取液杯4设置在排液腔11的开口处并与储液瓶1可拆卸地连接;排液机构5安装在排液腔11内,以用于将负压腔10内的血液排放至取液杯4内。Referring to accompanying drawings 1-10, a device for collecting and taking blood samples includes a
具体的,常规情况下,第一穿刺管20C处于第一状态,此时负压腔10被第一胶塞10S封堵处于密封状态,且负压腔10内部呈负气压;Specifically, under normal circumstances, the
当需要采集血液样本时,将医用针头Y安装至针头接口20Z处,然后通过调整调节件3驱使导流件2正方向移动,使得第一穿刺管20C由第一状态移动至第二状态,此时第一穿刺管20C穿过第一胶塞10S至负压腔10内,导流通道20接通负压腔10;接着将医用针头Y刺入采集对象的静脉内,静脉内的血液在负压的作用下依次通过医用针头Y、导流通道20和第一穿刺管20C并进入负压腔10内;待抽血完毕后,取下医用针头Y,再次通过调整调节件3驱使导流件2反方向移动,使得第一穿刺管20C由第二状态移动至第一状态,此时第一胶塞10S复原并重新封堵负压腔10,即可将血液样本储存于负压腔10内;When it is necessary to collect a blood sample, the medical needle Y is installed at the
当需要取用负压腔10内的血液样本时,打开排液机构5直接将负压腔10内部分血液排放至取液杯4内,然后关闭排液机构5,将取液杯4取下即可。When it is necessary to take the blood sample in the
综上,本发明通过设计在储液瓶1的负压腔10开口处设计具备恢复能力的第一胶塞10S,以增加负压腔10的密闭性;通过在导流件2内部设计导流通道20,以用于代替传统的采集软管,导流通道20的设计不会发生折叠或缠绕,从而保证血液可顺利通过;In summary, the present invention designs the
进一步的,由于导流件2靠近第一胶塞10S的一端设有第一穿刺管20C,因此通过设计调节件3用于调整第一穿刺管20C的刺入负压腔10内或从负压腔10内取出,可避免因手误而导致第一穿刺管20C刺伤使用者;Further, since the
最后,通过设计在排液腔11内设计排液机构5用于排放负压腔10内的血液样本,通过在储液瓶1底端设计可拆卸连接的取液杯4用于承接取出的血液样本,以代替传统的使用注射器取样的方式;且在取用血液样本的过程中,由于取液杯4安装于储液瓶1尾端并将排液腔11盖合在内,因此可避免外界空气进入负压腔10内而造成血液样本污染,提高了对血液样本的储存能力,且提高了血液检验的精度。Finally, by designing the
需要注意的是,考虑到在一些特殊情况下,导流件2难以伸至静脉处,为此,本发明实施例中,针头接口20Z也可直接先与采集软管连接,然后在采集软管远离针头接口20Z的一端上连接医用针头Y,以延长采集范围;此外,本发明中的第一胶塞10S为橡胶材质制成。It should be noted that, considering that in some special cases, it is difficult for the
参阅附图1-附图4,负压腔10具备负压有两种方式,其一,在生产过程中直接将负压腔10内的气体抽出,其二,在使用时通过注射器或抽气设备将负压腔10内的气体抽出;前者技术成本高,且容易造成储液瓶1炸裂,故本发明中采用后者;为此,本发明中储液瓶1上设有连通负压腔10和外界的调压孔100,调压孔100内部安装有密封塞10m;其中密封塞10m为橡胶材质。Referring to accompanying drawing 1-accompanying
使用时,可直接使用针头连接注射器或其他抽气设备,并将针头贯穿密封塞10m至负压腔10内将负压腔10内的气体抽出,然后拔出针头,密封塞10m复位,即可使得负压腔10具备负压。When in use, you can directly use the needle to connect the syringe or other air extraction equipment, and insert the needle through the sealing
参阅附图3-附图9,储液瓶1的首端设有滑柱1h,导流件2靠近第一穿刺管20C的一端上设有限位块21,限位块21上设有与滑柱1h滑动连接的滑孔21h,以使导流件2可活动地安装在储液瓶1的首端;调节件3可转动地安装在储液瓶1的首端,且调节件3内部设有螺孔3L;导流件2靠近第一穿刺管20C的一端贯穿螺孔3L,且该端上外侧设有螺纹,以使导流件2与螺孔3L螺纹连接;转动调节件3可驱使导流件2沿滑柱1h长度方向移动。Referring to accompanying drawing 3-accompanying
具体的,使用时,正方向转动调节件3即可驱使限位块21沿滑柱1h长度方向下移,使得导流件2正方向移动至第二状态;同理,反方向转动调节件3即可驱使限位块21沿滑柱1h长度方向上移,使得导流件2反方向移动至第一状态。Specifically, when in use, turning the adjusting
其中,滑孔21h与滑柱1h的滑动连接设计,以及导流件2与螺孔3L螺纹连接设计,使得导流件2可稳定地沿滑柱1h长度方向移动,并提高导流件2的移动稳定性。Among them, the sliding connection design of the sliding
参阅附图3-附图4,导流通道20呈弯曲状设计,从而在导流件2有限的体积内增加导流通道20的总体长度,并可减缓血液流速,避免血液过快地从静脉进入负压腔10内,有效地减少取样对象的疼痛感。Referring to accompanying drawings 3-4, the
参阅附图6-附图12,排液机构5包括排液漏斗51和转杆52,储液瓶1内部设有连通负压腔10和排液腔11的漏孔12,排液漏斗51设置在排液腔11内,且排液漏斗51的进液端与漏孔12接通;排液漏斗51的排液端处设有转孔510,转杆52可转动地安装在储液瓶1内,转杆52第一端伸入转孔510内,且转杆52第一端上设有排液孔520,转杆52第二端延伸贯穿排液腔11至外界;转动转杆52可驱使排液孔520连通或阻隔负压腔10与取液杯4。Referring to accompanying drawings 6-12, the
具体的,排液漏斗51的结构与日常生活中的漏斗相似,其内部设有排液管道51P,常规情况下,排液孔520与排液漏斗51的排液管道51P错位,以封堵排液漏斗51而关闭负压腔10,使得负压腔10呈密闭状态;Specifically, the structure of the
当需要取出负压腔10内的血液样本时,转动转杆52驱使排液孔520与排液漏斗51的排液管道51P接通,从而使得负压腔10内储存的血液样本通过漏孔12、排液漏斗51和排液孔520进入取液杯4内;带取样完毕后,转动转杆52驱使排液孔520与排液漏斗51的排液管道51P错位以封堵负压腔10,此时即可将取液杯4取下;此过程中,极大程度上避免负压腔10内的血液样本与外界接触。When it is necessary to take out the blood sample in the
因此,上述设计可避免外界空气进入负压腔10内而造成血液样本污染,提高了对血液样本的储存能力,且提高了血液检验的精度。Therefore, the above-mentioned design can avoid contamination of the blood sample caused by outside air entering the
参阅附图6-附图12,排液机构5还包括第二穿刺管53,储液瓶1的尾端设有用于盖合排液腔11开口的盖板13,盖板13内部设有第二胶塞13S,且第二胶塞13S上设有“凵”形橡胶块13S0;第二穿刺管53的第一端与排液漏斗51的排液端连接,第二穿刺管53的第二端贯穿盖板13并置于“凵”形橡胶块13S0内;取液杯4内设有挡块4D,挡块4D上对应第二穿刺管53设有出液口4D0。Referring to accompanying drawings 6-12, the
具体的,常规情况下,取液杯4与储液瓶1的尾端连接,挡块4D挤压“凵”形橡胶块13S0,以使第二穿刺管53的第二端依次贯穿“凵”形橡胶块13S0和出液口4D0至取液杯4内部;此时第二穿刺管53被取液杯4围合在内,免受外界空气污染,而“凵”形橡胶块13S0受挤压蓄能压缩;Specifically, under normal circumstances, the
当取样完毕后,使用者取下取液杯4的过程中,“凵”形橡胶块13S0释能恢复,并逐渐包裹第二穿刺管53的第二端,使得取液杯4被取下后,第二穿刺管53的第二端完全被裹覆在内,免受外界空气污染。After the sampling is completed, when the user removes the liquid-taking
重新安装取液杯4至储液瓶1的尾端时,挡块4D挤压“凵”形橡胶块13S0蓄能,以使第二穿刺管53的第二端依次贯穿“凵”形橡胶块13S0和出液口4D0至取液杯4内部,以待再次取样。When reinstalling the liquid-taking
综上,通过设计盖板13和第二胶塞13S用于封堵排液腔11,提高排液腔11的密闭性;而取液杯4上的挡块4D则用于辅助第二胶塞13S的“凵”形橡胶块13S0移动,使得安装在排液漏斗51的排液端的第二穿刺管53刺破第二胶塞13S,方便取样;且由于“凵”形橡胶块13S0具备弹性和一定的恢复能力,因此当挡块4D脱离时,“凵”形橡胶块13S0复位重新包裹第二穿刺管53;因此上述设计能在取样过程中避免第二穿刺管53受到污染,实现多次取样。To sum up, by designing the
特别的,为实现多次取样,应当避免血液凝结于负压腔10、排液漏斗51和第二穿刺管53内,为此,本身发明实施例中,储液瓶1、排液漏斗51和第二穿刺管53均经过抗凝剂处理,从而形成抗凝涂层;此外,导流件2上的针头接口20Z、导流通道20和第一穿刺管20C也设有抗凝涂层,以使得血液能顺利地进入负压腔10内。Particularly, in order to realize multiple sampling, blood coagulation in the
此外,也可通过在导流件2、储液瓶1和排液漏斗51内添加肝素来避免血液凝结。In addition, blood coagulation can also be avoided by adding heparin in the
参阅附图7-附图12,进一步的,为辅助“凵”形橡胶块13S0复位,本发明中还包括弹性件T,“凵”形橡胶块13S0内部设有缓冲槽13S1,第二穿刺管53的第二端置于缓冲槽13S1内;弹性件T套设于第二穿刺管53的第二端上,且弹性件T一端与盖板13相抵,弹性件T另一端与缓冲槽13S1底壁相抵;当挡块4D挤压“凵”形橡胶块13S0时,弹性件T压缩蓄能;当挡块4D脱离“凵”形橡胶块13S0时,弹性件T释能恢复,并带动“凵”形橡胶块13S0复位。Referring to accompanying drawings 7-12, further, in order to assist the reset of the "凵"-shaped rubber block 13S0, the present invention also includes an elastic part T, and the inside of the "凵"-shaped rubber block 13S0 is provided with a buffer groove 13S1, and the second puncture tube The second end of 53 is placed in the buffer groove 13S1; the elastic member T is sleeved on the second end of the
参阅附图1-附图12,本发明实施例中,取液杯4与储液瓶1为螺纹连接,既能使得取液杯4与储液瓶1可相互拆卸,又能保证取液杯4与储液瓶1连接时,排液腔11处于密闭状态;此外,本发明中还设有密封圈Q,密封圈Q设置盖板13圆周外侧边缘,取液杯4与储液瓶1为螺纹连接是,取液杯4顶部边缘与密封圈Q相抵。以进一步地提高排液腔11的密闭性。Referring to accompanying drawing 1-accompanying
参阅附图1-附图6,还包括封盖6,封盖6可拆卸地安装在调节件3上,且封盖6上设有用于盖合针头接口20Z的盖孔60。Referring to accompanying drawings 1-6, it also includes a
常规情况下,封盖6与调节件3连接,盖孔60盖合针头接口20Z和导流件2远离第一胶塞10S的一端,以避免导流件2的针头接口20Z受污染;使用时取下封盖6即可;使用完毕后,再次将封盖6盖合导流件2,一面导流通道20内的血液通过针头接口20Z溅射至外界造成污染;因此封盖6的设计可避免导流件2与外界接触而造成系列污染。Under normal circumstances, the
参阅附图1-附图6,进一步的,为使得封盖6与调节件3可拆卸地连接,调节件3上设有卡块3k,封盖6上对应卡块3k设有卡孔6k,卡块3k与卡孔6k过渡配合卡接;当需要取下封盖6时,需使用一定的力度拨动封盖6,使卡块3k脱离卡孔6k,同理,当需要使用封盖6盖合导流件2时,需要用力推动封盖6,驱使卡块3k与卡孔6k卡接。Referring to accompanying drawings 1-6, further, in order to detachably connect the
参阅附图1-附图2,储液瓶1和取液杯4均由透明材质制成,以便于使用者观察负压腔10内的血液样本余量,以及观察取液杯4上的取出量;且取液杯4上设有刻度4P,以便于使用者确认每次取用的血液样本的具体取用量。Referring to accompanying drawings 1-2, both the
还需要注意的是,这里所使用的术语仅是为了描述具体实施方式,而非意图限制根据本申请的示例性实施方式。如在这里所使用的,除非上下文另外明确指出,否则单数形式也意图包括复数形式,此外,还应当理解的是,当在本说明书中使用术语“包含”和/或“包括”时,其指明存在特征、步骤、操作、器件、组件和/或它们的组合。It should also be noted that the terminology used here is only for describing specific embodiments, and is not intended to limit exemplary embodiments according to the present application. As used herein, unless the context clearly dictates otherwise, the singular is intended to include the plural, and it should also be understood that when the terms "comprising" and/or "comprising" are used in this specification, they mean There are features, steps, operations, means, components and/or combinations thereof.
Claims (7)
Priority Applications (1)
| Application Number | Priority Date | Filing Date | Title |
|---|---|---|---|
| CN202110532234.0A CN113274020B (en) | 2021-05-17 | 2021-05-17 | Blood sample collecting and taking device |
Applications Claiming Priority (1)
| Application Number | Priority Date | Filing Date | Title |
|---|---|---|---|
| CN202110532234.0A CN113274020B (en) | 2021-05-17 | 2021-05-17 | Blood sample collecting and taking device |
Publications (2)
| Publication Number | Publication Date |
|---|---|
| CN113274020A CN113274020A (en) | 2021-08-20 |
| CN113274020B true CN113274020B (en) | 2022-12-20 |
Family
ID=77279392
Family Applications (1)
| Application Number | Title | Priority Date | Filing Date |
|---|---|---|---|
| CN202110532234.0A Active CN113274020B (en) | 2021-05-17 | 2021-05-17 | Blood sample collecting and taking device |
Country Status (1)
| Country | Link |
|---|---|
| CN (1) | CN113274020B (en) |
Families Citing this family (1)
| Publication number | Priority date | Publication date | Assignee | Title |
|---|---|---|---|---|
| CN118356191B (en) * | 2024-06-19 | 2024-08-09 | 北京安吉贝玛健康科技有限公司 | Clinical laboratory's self-service fingertip blood sampling device |
Citations (13)
| Publication number | Priority date | Publication date | Assignee | Title |
|---|---|---|---|---|
| US6179787B1 (en) * | 1997-09-12 | 2001-01-30 | Becton Dickinson And Company | Collection container assembly |
| US6506167B1 (en) * | 1997-12-24 | 2003-01-14 | I-Design Co., Ltd. | Blood-collecting tubes |
| CN202069595U (en) * | 2011-05-10 | 2011-12-14 | 钟伟萍 | Negative-pressure blood sampling device |
| DE102012202197B3 (en) * | 2012-02-14 | 2013-04-18 | Siemens Aktiengesellschaft | Blood collection tube with integrated sensor device |
| CN204679313U (en) * | 2015-06-26 | 2015-09-30 | 中国人民解放军第一八七中心医院 | A kind of follow-on urine detection harvester |
| CN205076233U (en) * | 2015-11-04 | 2016-03-09 | 皖南医学院 | Quantitative liquid taking container |
| CN106175798A (en) * | 2016-07-13 | 2016-12-07 | 哈尔滨三联药业股份有限公司 | A kind of vacuum test tube of one-hand operation |
| CN207323474U (en) * | 2017-03-11 | 2018-05-08 | 阿提开姆·阿布都克热木 | Cross infection prevention controllable hemostix |
| CN108871908A (en) * | 2018-09-06 | 2018-11-23 | 杭州优思达生物技术有限公司 | Biological sample processing unit |
| CN109187959A (en) * | 2018-08-27 | 2019-01-11 | 刘小玲 | A personal self-test chromatography reagent detection device |
| CN210697652U (en) * | 2019-06-01 | 2020-06-09 | 柳杰 | Clinical medicine clinical laboratory vacuum test tube |
| CN210843078U (en) * | 2019-07-20 | 2020-06-26 | 南昌豪仕医学检验实验室有限公司 | Hemostix with venous indwelling needle |
| CN211749659U (en) * | 2019-11-07 | 2020-10-27 | 四川企易标信息科技有限公司 | Sampler for blood detection |
-
2021
- 2021-05-17 CN CN202110532234.0A patent/CN113274020B/en active Active
Patent Citations (13)
| Publication number | Priority date | Publication date | Assignee | Title |
|---|---|---|---|---|
| US6179787B1 (en) * | 1997-09-12 | 2001-01-30 | Becton Dickinson And Company | Collection container assembly |
| US6506167B1 (en) * | 1997-12-24 | 2003-01-14 | I-Design Co., Ltd. | Blood-collecting tubes |
| CN202069595U (en) * | 2011-05-10 | 2011-12-14 | 钟伟萍 | Negative-pressure blood sampling device |
| DE102012202197B3 (en) * | 2012-02-14 | 2013-04-18 | Siemens Aktiengesellschaft | Blood collection tube with integrated sensor device |
| CN204679313U (en) * | 2015-06-26 | 2015-09-30 | 中国人民解放军第一八七中心医院 | A kind of follow-on urine detection harvester |
| CN205076233U (en) * | 2015-11-04 | 2016-03-09 | 皖南医学院 | Quantitative liquid taking container |
| CN106175798A (en) * | 2016-07-13 | 2016-12-07 | 哈尔滨三联药业股份有限公司 | A kind of vacuum test tube of one-hand operation |
| CN207323474U (en) * | 2017-03-11 | 2018-05-08 | 阿提开姆·阿布都克热木 | Cross infection prevention controllable hemostix |
| CN109187959A (en) * | 2018-08-27 | 2019-01-11 | 刘小玲 | A personal self-test chromatography reagent detection device |
| CN108871908A (en) * | 2018-09-06 | 2018-11-23 | 杭州优思达生物技术有限公司 | Biological sample processing unit |
| CN210697652U (en) * | 2019-06-01 | 2020-06-09 | 柳杰 | Clinical medicine clinical laboratory vacuum test tube |
| CN210843078U (en) * | 2019-07-20 | 2020-06-26 | 南昌豪仕医学检验实验室有限公司 | Hemostix with venous indwelling needle |
| CN211749659U (en) * | 2019-11-07 | 2020-10-27 | 四川企易标信息科技有限公司 | Sampler for blood detection |
Also Published As
| Publication number | Publication date |
|---|---|
| CN113274020A (en) | 2021-08-20 |
Similar Documents
| Publication | Publication Date | Title |
|---|---|---|
| CN113274020B (en) | Blood sample collecting and taking device | |
| CN212134199U (en) | A sampling device for environmental detection | |
| CN112304931A (en) | Oral cavity nasal cavity extract product acquisition and detection device | |
| CN111166353B (en) | Blood sampling device for collecting blood samples | |
| CN211094173U (en) | Special ammonia vacuum blood collection tube | |
| CN116058834B (en) | Blood sampling analysis integral type device | |
| CN220069701U (en) | Peripheral blood sampling device | |
| CN215078635U (en) | Vacuum hemostix and blood collection tube | |
| CN106901782B (en) | Urine sample collector | |
| CN216349779U (en) | Collecting assembly for cell sap samples | |
| CN217717098U (en) | Food detection is with portable sample device of preserving | |
| CN207734170U (en) | A kind of double-deck centrifugation blood sampling casing | |
| CN212213769U (en) | Endocrine hydrops sampling device | |
| CN209984679U (en) | A special component for peritoneal dialysis with sampling bag | |
| CN215078906U (en) | A mid-section urine sample collection device for female subjects in a phase I clinical trial of a drug | |
| CN113274018B (en) | Offset type negative pressure tip blood sampling device | |
| CN213189601U (en) | Blood sampling tube with conveniently-jointed needle head | |
| CN211131101U (en) | Clinical medicine inspection vacuum test tube | |
| CN211504696U (en) | PBS (Poly Butylene succinate) collecting liquid injection type excrement sampler | |
| CN110806333B (en) | Disposable feces centrifugal collector | |
| CN223126961U (en) | A medical drainage bag | |
| CN117243605B (en) | Blood sampling device based on laminating formula carries out negative pressure drainage | |
| CN223134452U (en) | A sampling device for gene detection | |
| CN217489376U (en) | A new type of drainage device | |
| CN220940813U (en) | Centrifuge tube for PRP collection |
Legal Events
| Date | Code | Title | Description |
|---|---|---|---|
| PB01 | Publication | ||
| PB01 | Publication | ||
| SE01 | Entry into force of request for substantive examination | ||
| SE01 | Entry into force of request for substantive examination | ||
| GR01 | Patent grant | ||
| GR01 | Patent grant | ||
| PE01 | Entry into force of the registration of the contract for pledge of patent right | ||
| PE01 | Entry into force of the registration of the contract for pledge of patent right |
Denomination of invention: A blood sample collection and retrieval device Granted publication date: 20221220 Pledgee: Agricultural Bank of China Limited Guangdong pilot Free Trade Zone Nansha branch Pledgor: Kehui Jianyuan (Guangzhou) Intelligent Equipment Co.,Ltd. Registration number: Y2025980002753 |
