CN113263130A - Automatic riveting machine for scaffold cross bar - Google Patents

Automatic riveting machine for scaffold cross bar Download PDF

Info

Publication number
CN113263130A
CN113263130A CN202110612286.9A CN202110612286A CN113263130A CN 113263130 A CN113263130 A CN 113263130A CN 202110612286 A CN202110612286 A CN 202110612286A CN 113263130 A CN113263130 A CN 113263130A
Authority
CN
China
Prior art keywords
rivet
cylinder
feeding
rod
plate
Prior art date
Legal status (The legal status is an assumption and is not a legal conclusion. Google has not performed a legal analysis and makes no representation as to the accuracy of the status listed.)
Pending
Application number
CN202110612286.9A
Other languages
Chinese (zh)
Inventor
王永山
Current Assignee (The listed assignees may be inaccurate. Google has not performed a legal analysis and makes no representation or warranty as to the accuracy of the list.)
Renqiu City Jinshi Welding Machine Manufacturing Co ltd
Original Assignee
Renqiu City Jinshi Welding Machine Manufacturing Co ltd
Priority date (The priority date is an assumption and is not a legal conclusion. Google has not performed a legal analysis and makes no representation as to the accuracy of the date listed.)
Filing date
Publication date
Application filed by Renqiu City Jinshi Welding Machine Manufacturing Co ltd filed Critical Renqiu City Jinshi Welding Machine Manufacturing Co ltd
Priority to CN202110612286.9A priority Critical patent/CN113263130A/en
Publication of CN113263130A publication Critical patent/CN113263130A/en
Pending legal-status Critical Current

Links

Images

Classifications

    • BPERFORMING OPERATIONS; TRANSPORTING
    • B21MECHANICAL METAL-WORKING WITHOUT ESSENTIALLY REMOVING MATERIAL; PUNCHING METAL
    • B21JFORGING; HAMMERING; PRESSING METAL; RIVETING; FORGE FURNACES
    • B21J15/00Riveting
    • B21J15/10Riveting machines
    • B21J15/14Riveting machines specially adapted for riveting specific articles, e.g. brake lining machines
    • BPERFORMING OPERATIONS; TRANSPORTING
    • B21MECHANICAL METAL-WORKING WITHOUT ESSENTIALLY REMOVING MATERIAL; PUNCHING METAL
    • B21JFORGING; HAMMERING; PRESSING METAL; RIVETING; FORGE FURNACES
    • B21J15/00Riveting
    • B21J15/10Riveting machines
    • B21J15/16Drives for riveting machines; Transmission means therefor
    • B21J15/20Drives for riveting machines; Transmission means therefor operated by hydraulic or liquid pressure
    • BPERFORMING OPERATIONS; TRANSPORTING
    • B21MECHANICAL METAL-WORKING WITHOUT ESSENTIALLY REMOVING MATERIAL; PUNCHING METAL
    • B21JFORGING; HAMMERING; PRESSING METAL; RIVETING; FORGE FURNACES
    • B21J15/00Riveting
    • B21J15/10Riveting machines
    • B21J15/30Particular elements, e.g. supports; Suspension equipment specially adapted for portable riveters
    • B21J15/32Devices for inserting or holding rivets in position with or without feeding arrangements
    • BPERFORMING OPERATIONS; TRANSPORTING
    • B21MECHANICAL METAL-WORKING WITHOUT ESSENTIALLY REMOVING MATERIAL; PUNCHING METAL
    • B21JFORGING; HAMMERING; PRESSING METAL; RIVETING; FORGE FURNACES
    • B21J15/00Riveting
    • B21J15/38Accessories for use in connection with riveting, e.g. pliers for upsetting; Hand tools for riveting
    • B21J15/42Special clamping devices for workpieces to be riveted together, e.g. operating through the rivet holes

Landscapes

  • Engineering & Computer Science (AREA)
  • Mechanical Engineering (AREA)
  • Automatic Assembly (AREA)

Abstract

本发明公开了一种脚手架横杆自动铆钉机,包括,底座,底座上设置有导轨,导轨上滑动安装有左滑动底板和右滑动底板,左滑动底板和右滑动底板上均设置有铆钉送片装置,所述的铆钉送片装置分别与放置铆钉的铆钉震动筛和放置插片的插片震动筛相连,通过铆钉送片装置可将铆钉和插片送入铆接位置;在左滑动底板和右滑动底板之间的导轨上滑动安装有左送料装置和右送料装置,所述的左送料装置和右送料装置可将横杆定位,并送入铆接位置进行两端铆压。本发明有省时、省力,生产效率高、劳动强度低,并且安全性高,大大降低了生产成本。

Figure 202110612286

The invention discloses an automatic riveting machine for scaffolding cross bars. The rivet sheet feeding device is respectively connected with the rivet vibrating screen for placing the rivet and the insert sheet vibrating screen for placing the insert sheet, and the rivet and the insert sheet can be sent to the riveting position through the rivet sheet feeding device; A left feeding device and a right feeding device are slidably installed on the guide rail between the sliding bottom plates, and the left feeding device and the right feeding device can position the cross bar and send it into the riveting position for riveting at both ends. The invention has the advantages of saving time and labor, high production efficiency, low labor intensity, high safety, and greatly reducing the production cost.

Figure 202110612286

Description

Automatic riveting machine for scaffold cross bar
Technical Field
The invention relates to an automatic riveting machine, in particular to an automatic riveting machine for a cross bar of a scaffold.
Background
At present, the operation mode of the existing scaffold cross bar rivet is that the inserting piece is firstly inserted into a cross bar lock head hole by manpower, then the inserting piece is placed on a mould, then the rivet is inserted into the inserting piece hole, and a riveting device is started to rivet the rivet on the inserting piece. And riveting the other end after one end is riveted. This method is time consuming, laborious, inefficient and unsafe, and is prone to squeezing the hand.
Disclosure of Invention
Aiming at the defects of the technical problems, the invention provides the automatic riveting machine for the cross rod of the scaffold, which realizes the automatic riveting of the two ends of the cross rod of the scaffold and improves the production efficiency. The specific scheme is as follows:
the utility model provides an automatic riveter of scaffold frame horizontal pole which characterized in that: the rivet and insert feeding device is connected with a rivet vibrating screen for placing rivets and an insert vibrating screen for placing inserts respectively, and can feed the rivets and the inserts into riveting positions; and a left feeding device and a right feeding device are slidably mounted on the guide rail between the left sliding bottom plate and the right sliding bottom plate, and the left feeding device and the right feeding device can position the cross rod and send the cross rod into a riveting position for riveting two ends.
The rivet feeding device comprises a rivet frame, a rivet guide groove is formed in the front end of the rivet frame, one end of the rivet guide groove is connected with a rivet vibrating screen, the other end of the rivet guide groove is connected with a push rod guide groove, a rivet feeding cylinder is arranged on the push rod guide groove, one end of a rivet push rod is inserted into the push rod guide groove, the other end of the rivet push rod is connected with a cylinder rod of the rivet feeding cylinder, and the rivet push rod is driven to move in the rivet guide groove through the action of the rivet feeding cylinder so as to feed rivets into the die core.
Rivet frame rear end is provided with the inserted sheet feed bin, and this inserted sheet feed bin links to each other with the inserted sheet reciprocating sieve, pushes away the inserted sheet cylinder and fixes on the inserted sheet feed bin, and inserted sheet feed bin bottom is inserted to inserted sheet push pedal one end, and the other end is connected with the cylinder pole that pushes away the inserted sheet cylinder, pushes away the action of inserted sheet cylinder, drives the inserted sheet push pedal and removes in inserted sheet feed bin bottom, and then pushes away the inserted sheet from the inserted sheet feed bin, send into the mold core top.
The rivet frame is provided with a die core base, a left die core and a right die core are arranged in the die core base, the left die core and the right die core are both provided with a notch, and the two notches are aligned together, so that the rivet can just enter the die core through the notch; springs are arranged between the die core base and the left and right die cores, and the left die core and the right die core are extruded by the springs, so that the left die core and the right die core can clamp rivets and the rivets are upright and do not topple over; the mold core base is provided with a baffle plate which is used for stopping the insert so that the hole at the front end of the insert which is sent to the upper part of the mold core is just opposite to the rivet.
The rivet frame at the lower end of the mold core base is provided with an upward-pushing oil cylinder, an apex is arranged on an oil cylinder rod of the upward-pushing oil cylinder, the apex penetrates through a hole at the bottom of the mold core base to support a rivet, a downward-pressing oil cylinder is fixed at the upper end of the rivet frame, and the oil cylinder rod of the downward-pressing oil cylinder extrudes the rivet through the action of the downward-pressing oil cylinder to rivet the rivet on the inserting piece.
The left feeding device comprises a left feeding support, wherein two pinions are arranged at the front end of a vertical plate of the left feeding support, a sensor is arranged beside each pinion, a speed reducer is arranged at the lower ends of the two pinions, an input shaft of the speed reducer is connected with a motor shaft of a positioning motor, a large gear is arranged on an output shaft of the speed reducer, the large gear is meshed with the two pinions, one end of a transverse rod is arranged between the two pinions, the large gear is driven by the positioning motor to drive the two pinions to rotate, the transverse rod is driven to rotate, when the sensor senses a signal, the positioning motor stops, and transverse rod positioning is completed.
A left feeding air cylinder is also arranged on the left feeding support, an air cylinder rod of the left feeding air cylinder is connected with a left feeding sliding plate, and the left feeding sliding plate is arranged on a guide rail C of the left feeding support through a sliding block C; a left upper supporting cylinder is arranged on the left feeding sliding plate, a cylinder rod of the left upper supporting cylinder is connected with a left supporting plate, and the left supporting plate is used for supporting a cross rod; and a left clamping cylinder is arranged on the vertical plate of the left feeding support and used for tightly holding the cross rod.
The right feeding device comprises a right feeding support, two pipe supporting bearings are arranged at the front end of a vertical plate of the right feeding support, one end of a cross rod is arranged between the two pipe supporting bearings, a lining cylinder fixing plate is arranged on the right feeding device below the pipe supporting bearings, a lining cylinder is fixed on the lining cylinder fixing plate, a cylinder rod of the lining cylinder is connected with a lining push plate, and the lining cylinder acts to drive the lining push plate to push the cross rod to move leftwards so as to line the cross rod.
A right feeding air cylinder is also arranged at the lower end of the right feeding support, an air cylinder rod of the right feeding air cylinder is connected with a right feeding sliding plate, and the right feeding sliding plate is arranged on a guide rail B of the right feeding support through a sliding block B; a right upper supporting cylinder is arranged on the right feeding sliding plate, a cylinder rod of the right upper supporting cylinder is connected with a right supporting plate, and the right supporting plate is used for supporting the cross rod; and a right clamping cylinder is arranged on the vertical plate of the right feeding support and used for tightly holding the cross rod.
A left clamping oil cylinder is arranged on the left sliding bottom plate, an oil cylinder rod of the left clamping oil cylinder is connected with a left clamping fixing plate fixed on the base, and the left sliding bottom plate can be driven to slide on the guide rail through the action of the left clamping oil cylinder; and a right clamping oil cylinder is arranged on the right sliding bottom plate, an oil cylinder rod of the right clamping oil cylinder is connected with a right clamping fixing plate fixed on the base, and the right sliding bottom plate can be driven to slide on the guide rail through the action of the right clamping oil cylinder.
The invention has the beneficial effects that: realized the automatic rivet at scaffold frame horizontal pole both ends, the workman only need put into corresponding vibrations dish rivet and inserted sheet, and vibrator can be automatic with inserted sheet and rivet letter sorting good and send into the feed bin in. The cross rod is positioned by the feeding positioning device, the cross rod positioned in the position is sent into the riveting position, the two ends of the cross rod are automatically riveted, and the riveting is completed and the cross rod is automatically sent into the material frame. 1 workman can operate 2 equipment, and labour saving and time saving, production efficiency is high, low in labor strength to the security is high, greatly reduced manufacturing cost.
Drawings
FIG. 1 is a front view of the present invention;
FIG. 2 is a top view of the present invention;
FIG. 3 is a right side view of the present invention;
FIG. 4 is a front view of the rivet feed apparatus of the present invention;
FIG. 5 is a left side view of the rivet feed apparatus of the present invention;
FIG. 6 is a top plan view of the rivet feed apparatus of the present invention;
FIG. 7 is a front view of the left feed assembly of the present invention;
FIG. 8 is a right side view of the left feed assembly of the present invention;
FIG. 9 is a top plan view of the left feed assembly of the present invention;
FIG. 10 is a front view of the right feed assembly of the present invention;
FIG. 11 is a left side view of the right feed assembly of the present invention;
FIG. 12 is a top view of the right feed assembly of the present invention;
FIG. 13 is a schematic view of a rivet of the present invention;
FIG. 14 is a schematic view of an insert of the present invention;
fig. 15 is a schematic view of a cross-bar of the present invention.
Detailed Description
The automatic scaffold cross bar riveting machine of the present invention will be described in further detail with reference to the accompanying drawings.
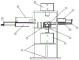
As shown in fig. 1-3, three parallel guide rails 2 are disposed on a base 1, two sets of sliders 24 are slidably mounted on the guide rails 2, wherein a left sliding bottom plate 26 is fixedly mounted on one set of sliders 24, and a right sliding bottom plate 23 is fixedly mounted on the other set of sliders 24. The rivet feeding device 11 is provided at both the right end of the left slide base 26 and the left end of the right slide base 23. A slide block A3 is slidably mounted on the middle guide rail 2 at one end of the left slide base plate 26, a left clamping and fixing plate 4 is fixedly mounted on the slide block A3, and after the position of the left clamping and fixing plate 4 is adjusted by the slide block A3, the left clamping and fixing plate 4 is fixed on the base 1 by bolts. A left clamping oil cylinder 28 is arranged in the middle of the left end of the left sliding bottom plate 26, and an oil cylinder rod of the left clamping oil cylinder 28 is connected with the left clamping fixing plate 4. The left sliding bottom plate 26 can be driven to slide on the guide rail 2 by the action of the left clamping cylinder 28.
A left oil way distributor bracket 5 is arranged on the left sliding bottom plate 26, a left oil way distributor 6 is arranged on the left oil way distributor bracket 5, the outlet of the left oil way distributor 6 is connected with a left clamping oil cylinder 28 through an oil pipe, a left oil valve 7 is arranged at the upper end of the left oil way distributor 6, and the left oil valve 7 is connected with the control box 16 through a cable.
A left oil pump motor 30 is arranged on the left sliding bottom plate 26, a left oil pump 31 is installed on the left oil pump motor 30, an oil inlet of the left oil pump 31 is connected with the left oil tank 27 through an oil pipe, and an oil outlet of the left oil pump 31 is connected with an oil inlet of the left oil way distributor 6. The left oil tank 27 is fixed on the left sliding bottom plate 26, and the left rivet vibrating screen 10 is placed on the left oil tank 27. Left inserted sheet reciprocating sieve 8 has been placed by the rear end position in the centre of left sliding bottom plate 26, the export of left side inserted sheet reciprocating sieve 8 links to each other with the inserted sheet feed bin 45 of rivet film feeding device 11 on the left sliding bottom plate 26, makes the inserted sheet in the left inserted sheet reciprocating sieve 8 just in time fall into inserted sheet feed bin 45 after being shaken out. The outlet of the left rivet vibrating screen 10 is connected with the rivet guide groove 50 of the rivet feeding device 11 on the left sliding bottom plate 26, and the left rivet vibrating screen 10 is connected with the control box 16 through a cable, so that the rivets in the left rivet vibrating screen 10 are vibrated out and then are fed into the rivet guide groove 50. The left sliding bottom plate 26 is covered with a left protective cover 9, and all the devices on the left sliding bottom plate 26 can be covered by the left protective cover 9.
A right clamping oil cylinder 21 is arranged in the middle of the right end of the right sliding bottom plate 23, an oil cylinder rod of the right clamping oil cylinder 21 is connected with a right clamping fixing plate 22 welded on the base 1, and the right sliding bottom plate 23 can be driven to slide on the guide rail 2 through the action of the right clamping oil cylinder 21. A right oil way distributor bracket 29 is arranged on the right sliding bottom plate 23, a right oil way distributor 20 is arranged on the right oil way distributor bracket 29, the outlet of the right oil way distributor 20 is connected with the right clamping oil cylinder 21 through an oil pipe, a right oil valve 19 is arranged at the upper end of the right oil way distributor 20, and the right oil valve 19 is connected with the control box 16 through a cable.
A right oil pump motor 32 is arranged on the right sliding bottom plate 23, a right oil pump 33 is installed on the right oil pump motor 32, an oil inlet of the right oil pump 33 is connected with the right oil tank 25 through an oil pipe, and an oil outlet of the right oil pump 33 is connected with an oil inlet of the right oil way distributor 20. The right oil tank 25 is fixed on the right sliding bottom plate 23, and the right rivet vibrating screen 18 is placed on the right oil tank 25. The middle of right sliding bottom plate 23 leans on the rear end position to place right inserted sheet reciprocating sieve 17, the export of right inserted sheet reciprocating sieve 17 links to each other with the inserted sheet feed bin 45 of rivet film feeding device 11 on the right sliding bottom plate 23, makes the inserted sheet in the right inserted sheet reciprocating sieve 17 just in time fall into inserted sheet feed bin 45 after being shaken out. The outlet of the right rivet vibrating screen 18 is connected with the rivet guide groove 50 of the rivet feeding device 11 on the right sliding bottom plate 23, and the right rivet vibrating screen 18 is connected with the control box 16 through a cable, so that the rivets in the right rivet vibrating screen 18 are vibrated out and then are fed into the rivet guide groove 50. The right sliding bottom plate 23 is covered with a right protective cover 14, and the right protective cover 14 can cover all the devices on the right sliding bottom plate 23. An operation box 15 is arranged on the right protective cover 14, the operation box 15 is connected with a control box 16 through a cable, and a touch screen and start and emergency stop keys are arranged in the operation box 15. The start, stop and parameter setting of the apparatus are performed in the operation box 15.
A left feeding device 12 and a right feeding device 13 are slidably mounted on the guide rail 2 between the left sliding bottom plate 26 and the right sliding bottom plate 23.
As shown in fig. 4 to 6, a push-up cylinder 38 is provided at an intermediate position of the rivet frame 39, and a center 40 is attached to a cylinder rod of the push-up cylinder 38. A die core base 35 is arranged on a rivet frame 39 above the push-up oil cylinder 38, and a hole is formed in the middle of the lower end of the die core base 35, so that a tip 40 can just penetrate into the hole. A left mold core 41 and a right mold core 37 are arranged in the middle of the mold core base 35, a notch is formed in each of the left mold core 41 and the right mold core 37, and the two notches are aligned together, so that rivets can just enter the mold cores through the notches. Springs 36 are arranged between the die core base 35 and the left and right die cores, and the left die core 41 and the right die core 37 are extruded by the springs 36, so that the left die core 41 and the right die core 37 can clamp rivets, and the rivets can stand upright without toppling. A baffle 44 is mounted on the mold core base 35, and when the insert is fed above the mold core notch, the baffle 44 is used for stopping the insert, so that the hole at the front end of the insert is right opposite to the rivet position.
And a lower pressing oil cylinder 43 is arranged at the upper end of the rivet frame 39, and the lower pressing oil cylinder 43 and the push-up oil cylinder 38 are respectively connected with an oil outlet of the oil way distributor through oil pipes. The front end of the rivet frame 39 is provided with a rivet feeding cylinder 34, a push rod guide groove 49 is arranged below the rivet feeding cylinder 34, one end of a rivet push rod 42 is inserted into the push rod guide groove 49, and the other end of the rivet push rod 42 is connected with a cylinder rod of the rivet feeding cylinder 34. A rivet guide groove 50 is provided at the front end of the rivet frame 39, one end of the rivet guide groove 50 communicates with an outlet of a rivet vibrating screen, and the other end communicates with a push rod guide groove 49, and rivets are vibrated out by the rivet vibrating screen and fed into the rivet guide groove 50 to be arranged in a row. The rivet feeding cylinder 34 is operated to drive the rivet push rod 42 to move in the push rod guide groove 49, so that the rivet at the leftmost end of the rivet guide groove 50 is fed into the gap position between the left die core and the right die core, and the rivet is supported below by the tip 40.
An insert storage bin 45 is arranged at the rear end of the rivet frame 39, and an insert pushing cylinder 48 is arranged below the insert storage bin 45. One end of the inserting sheet pushing plate 46 is inserted into the bottom of the inserting sheet bin 45, and the other end of the inserting sheet pushing plate is connected with a cylinder rod of the inserting sheet pushing cylinder 48. The insert pushing cylinder 48 is actuated to drive the insert pushing plate 46 to move at the bottom of the insert bin 45, so that the inserts are pushed out of the insert bin 45 and fed into the gap in the middle of the upper parts of the left and right mold cores, and the hole at the front end of each insert is just opposite to the rivet below.
As shown in fig. 7-9, the three guide rails 2 are each slidably mounted with a left slider 56, the three left sliders 56 are each fixed with a left feeding bracket 57, the bottom of the left feeding bracket 57 is mounted with a left feeding cylinder 55, and the cylinder rod of the left feeding cylinder 55 is connected with the left feeding sliding plate 54. A guide rail C58 is arranged on the plane of the left feeding bracket 57, two slide blocks C59 are slidably mounted on the guide rail C58, and the left feeding slide plate 54 is fixed on the two slide blocks C59. Two left upper supporting cylinders 53 are arranged on the vertical surface of the left feeding sliding plate 54, a left supporting plate 51 is arranged on the cylinder rods of the two left upper supporting cylinders 53, and two ends of the left supporting plate 51 are in a semicircular arc shape.
Two pinions 62 are arranged at the front end of the vertical plate of the left feeding bracket 57, an inductor 63 is arranged beside the pinions 62, and the inductor 63 is connected with the control box 16 through a cable. A reduction gear 60 is mounted on the lower ends of the two pinions 62, the input shaft of the reduction gear 60 is connected to the motor shaft of the positioning motor 52, a large gear 61 is provided on the output shaft of the reduction gear 60, and the large gear 61 is engaged with the two pinions 62. Positioning motor 52 passes through the cable and is connected with control box 16, and positioning motor 52 gets electricity, drives gear wheel 61 and rotates to drive two pinion 62 and rotate, the horizontal pole is placed in the groove that two pinion 62 are constituteed, and it is rotatory to drive the horizontal pole through the frictional force between pinion and the horizontal pole, and inductor 63 senses the signal, and positioning motor 52 stops rotatoryly, and the location is accomplished.
A left clamping cylinder 64 is arranged in the middle of the vertical plate of the left feeding support 57, and the center of the left clamping cylinder 64 is aligned with the semicircular arc at one end of the left supporting plate 51. The semicircular arc at the other end of the left supporting plate 51 and the two pinion gears 62 form a groove which is also in a same line.
As shown in fig. 11-13, right sliding blocks 70 are slidably mounted on the three guide rails 2, a right feeding bracket 68 is fixed on the three right sliding blocks 70, a right feeding cylinder 71 is mounted at the lower end of the right feeding bracket 68, and a cylinder rod of the right feeding cylinder 71 is connected with a right feeding sliding plate 73. A guide rail B69 is arranged on the plane of the right feeding bracket 68, two sliding blocks B72 are slidably mounted on the guide rail B69, a right feeding sliding plate 73 is fixed on the two sliding blocks B72, two right upper supporting cylinders 74 are fixed on the vertical surface of the right feeding sliding plate 73, right supporting plates 75 are mounted on the cylinder rods of the two right upper supporting cylinders 74, and two ends of each right supporting plate 75 are in a semi-circular arc shape.
Two support tube bearings 77 are installed at the front end of a vertical plate of the right feeding support 68, an alignment cylinder fixing plate 78 is welded below the two support tube bearings 77, an alignment cylinder 65 is installed on the vertical surface of the alignment cylinder fixing plate 78, an alignment push plate 66 is installed on a cylinder rod of the alignment cylinder 65, a guide pillar 67 is welded below the alignment push plate 66, one end of the guide pillar 67 is inserted into a hole below the alignment cylinder fixing plate 78, the alignment cylinder 65 acts to drive the alignment push plate 66 to move, so that the guide pillar 67 moves in the hole of the alignment cylinder fixing plate 78, and the alignment push plate 66 can be prevented from inclining and keeping upright.
A right clamping cylinder 76 is arranged in the middle of the vertical plate of the right feeding support 68, the center of the right clamping cylinder 76 is aligned with the semi-circular arc at one end of the right supporting plate 75, and the semi-circular arc at the other end of the right supporting plate 75 and two support pipe bearings 77 form a groove which is also aligned.
The two support tube bearings 77 of the right feeding device are arranged on the same line of the groove and the two pinions 62 of the left feeding device 12 are arranged on the same line of the groove.
As shown in fig. 1-15, firstly, a proper amount of rivets 79 are manually placed into the left rivet vibrating screen 10 and the right rivet vibrating screen 18, a proper amount of inserts 80 are placed into the left insert vibrating screen 8 and the right insert vibrating screen 17, and the vibrating screens are started to shake the inserts 80 and the rivets 79 into the corresponding insert bins 45 and rivet guide grooves 50.
The rivet feeding cylinder 34 is operated to move the rivet push rod 42 in the push rod guide groove 49, and the rivet 79 at the leftmost end in the rivet guide groove 50 is fed into the groove formed by the left mold core 41 and the right mold core 37. Meanwhile, the cross rod 81 is placed in a groove formed by two pinions 62 on the left feeding device 12 and a groove formed by two pipe supporting bearings 77 on the right feeding device 13, and the aligning cylinder 65 acts to drive the aligning push plate 66 to act to push the cross rod 81 to move leftwards so as to align the cross rod 81. The positioning motor 52 is powered on to drive the gearwheel 61 to rotate so as to drive the two pinions 62 to rotate, the cross rod 81 is driven to rotate through friction, the positioning motor 52 stops rotating after the sensor 63 senses a signal, and the positioning of the cross rod 81 is completed. The left upper supporting cylinder 53 and the right upper supporting cylinder 74 act simultaneously to support the cross bar 81 upwards, and after the cross bar is supported in place, the left feeding cylinder 55 and the right feeding cylinder 71 act again to feed the cross bar 81 to the riveting position. The left clamping cylinder 64 and the right clamping cylinder 76 act simultaneously to clamp the cross bar 81, and the left clamping cylinder 28 and the right clamping cylinder 21 act simultaneously to drive the left sliding bottom plate 26 and the right sliding bottom plate 23 to move inwards respectively to clamp the cross bar 81 left and right.
The insert pushing cylinder 48 is actuated to drive the insert pushing plate 46 to move to push the insert 80 to pass through the lock head hole of the cross rod 81 and to be pushed above the rivet 79, and the hole on the insert 80 is just opposite to the position of the rivet 79. The push-up oil cylinder 38 acts to drive the center 40 to jack the rivet 79 into the hole of the insertion sheet 80, the lower pressing oil cylinder 43 acts to flatten and rivet the rivet 79 on the insertion sheet 80, the push-up oil cylinder 38 and the lower pressing oil cylinder 43 reset after riveting is completed, and the left clamping oil cylinder 28 and the right clamping oil cylinder 21 also reset to loosen workpieces. The left and right clamp cylinders 64 and 76 are then released. At this time, the next cross bar 81 is positioned, the left upper supporting cylinder 53 and the right upper supporting cylinder 74 act again to simultaneously support the positioned cross bar 81 and the riveted workpiece cross bar upwards, and the left feeding cylinder 55 and the right feeding cylinder 71 act to send the positioned cross bar 81 to the riveting position. The riveted workpiece cross rod is sent to the slopes of the left feeding support 57 and the right feeding support 68, the left upper supporting air cylinder 53 and the right upper supporting air cylinder 74 reset and fall down, and the riveted workpiece cross rod falls into the material frame along the slopes. And (5) completing the whole riveting, repeating the steps and performing circulating operation. After the left upper supporting cylinder 53 and the right upper supporting cylinder 74 reset and fall in place, the left feeding cylinder 55 and the right feeding cylinder 71 also reset, and a next workpiece cross rod 81 is placed into the groove to be aligned and rotationally positioned again while riveting.
Finally, it should be noted that: the above examples are only intended to illustrate the technical solution of the present invention, but not to limit it; although the present invention has been described in detail with reference to the foregoing embodiments, it will be understood by those of ordinary skill in the art that: the technical solutions described in the foregoing embodiments may still be modified, or some technical features may be equivalently replaced; and such modifications or substitutions do not depart from the spirit and scope of the corresponding technical solutions of the embodiments of the present invention.

Claims (10)

1. The utility model provides an automatic riveter of scaffold frame horizontal pole which characterized in that: the rivet and insert feeding device is connected with a rivet vibrating screen for placing rivets and an insert vibrating screen for placing inserts respectively, and can feed the rivets and the inserts into riveting positions; and a left feeding device and a right feeding device are slidably mounted on the guide rail between the left sliding bottom plate and the right sliding bottom plate, and the left feeding device and the right feeding device can position the cross rod and send the cross rod into a riveting position for riveting two ends.
2. The automatic scaffold rail riveting machine of claim 1, wherein: the rivet feeding device comprises a rivet frame, a rivet guide groove is formed in the front end of the rivet frame, one end of the rivet guide groove is connected with a rivet vibrating screen, the other end of the rivet guide groove is connected with a push rod guide groove, a rivet feeding cylinder is arranged on the push rod guide groove, one end of a rivet push rod is inserted into the push rod guide groove, the other end of the rivet push rod is connected with a cylinder rod of the rivet feeding cylinder, and the rivet push rod is driven to move in the rivet guide groove through the action of the rivet feeding cylinder so as to feed rivets into the die core.
3. The automatic scaffold rail riveting machine of claim 2, wherein: rivet frame rear end is provided with the inserted sheet feed bin, and this inserted sheet feed bin links to each other with the inserted sheet reciprocating sieve, pushes away the inserted sheet cylinder and fixes on the inserted sheet feed bin, and inserted sheet feed bin bottom is inserted to inserted sheet push pedal one end, and the other end is connected with the cylinder pole that pushes away the inserted sheet cylinder, pushes away the action of inserted sheet cylinder, drives the inserted sheet push pedal and removes in inserted sheet feed bin bottom, and then pushes away the inserted sheet from the inserted sheet feed bin, send into the mold core top.
4. An automatic scaffold rail riveting machine according to claim 2 or 3, characterized in that: the rivet frame is provided with a die core base, a left die core and a right die core are arranged in the die core base, the left die core and the right die core are both provided with a notch, and the two notches are aligned together, so that the rivet can just enter the die core through the notch; springs are arranged between the die core base and the left and right die cores, and the left die core and the right die core are extruded by the springs, so that the left die core and the right die core can clamp rivets and the rivets are upright and do not topple over; the mold core base is provided with a baffle plate which is used for stopping the insert so that the hole at the front end of the insert which is sent to the upper part of the mold core is just opposite to the rivet.
5. The automatic scaffold rail riveting machine of claim 4, wherein: the rivet frame at the lower end of the mold core base is provided with an upward-pushing oil cylinder, an apex is arranged on an oil cylinder rod of the upward-pushing oil cylinder, the apex penetrates through a hole at the bottom of the mold core base to support a rivet, a downward-pressing oil cylinder is fixed at the upper end of the rivet frame, and the oil cylinder rod of the downward-pressing oil cylinder extrudes the rivet through the action of the downward-pressing oil cylinder to rivet the rivet on the inserting piece.
6. The automatic scaffold rail riveting machine of claim 1, wherein: the left feeding device comprises a left feeding support, wherein two pinions are arranged at the front end of a vertical plate of the left feeding support, a sensor is arranged beside each pinion, a speed reducer is arranged at the lower ends of the two pinions, an input shaft of the speed reducer is connected with a motor shaft of a positioning motor, a large gear is arranged on an output shaft of the speed reducer, the large gear is meshed with the two pinions, one end of a transverse rod is arranged between the two pinions, the large gear is driven by the positioning motor to drive the two pinions to rotate, the transverse rod is driven to rotate, when the sensor senses a signal, the positioning motor stops, and transverse rod positioning is completed.
7. The automatic scaffold rail riveting machine of claim 6, wherein: a left feeding air cylinder is also arranged on the left feeding support, an air cylinder rod of the left feeding air cylinder is connected with a left feeding sliding plate, and the left feeding sliding plate is arranged on a guide rail C of the left feeding support through a sliding block C; a left upper supporting cylinder is arranged on the left feeding sliding plate, a cylinder rod of the left upper supporting cylinder is connected with a left supporting plate, and the left supporting plate is used for supporting a cross rod; and a left clamping cylinder is arranged on the vertical plate of the left feeding support and used for tightly holding the cross rod.
8. The automatic scaffold rail riveting machine of claim 1, wherein: the right feeding device comprises a right feeding support, two pipe supporting bearings are arranged at the front end of a vertical plate of the right feeding support, one end of a cross rod is arranged between the two pipe supporting bearings, a lining cylinder fixing plate is arranged on the right feeding device below the pipe supporting bearings, a lining cylinder is fixed on the lining cylinder fixing plate, a cylinder rod of the lining cylinder is connected with a lining push plate, and the lining cylinder acts to drive the lining push plate to push the cross rod to move leftwards so as to line the cross rod.
9. The automatic scaffold rail riveting machine of claim 8, wherein: a right feeding air cylinder is also arranged at the lower end of the right feeding support, an air cylinder rod of the right feeding air cylinder is connected with a right feeding sliding plate, and the right feeding sliding plate is arranged on a guide rail B of the right feeding support through a sliding block B; a right upper supporting cylinder is arranged on the right feeding sliding plate, a cylinder rod of the right upper supporting cylinder is connected with a right supporting plate, and the right supporting plate is used for supporting the cross rod; and a right clamping cylinder is arranged on the vertical plate of the right feeding support and used for tightly holding the cross rod.
10. The automatic scaffold rail riveting machine of claim 1, wherein: a left clamping oil cylinder is arranged on the left sliding bottom plate, an oil cylinder rod of the left clamping oil cylinder is connected with a left clamping fixing plate fixed on the base, and the left sliding bottom plate can be driven to slide on the guide rail through the action of the left clamping oil cylinder; and a right clamping oil cylinder is arranged on the right sliding bottom plate, an oil cylinder rod of the right clamping oil cylinder is connected with a right clamping fixing plate fixed on the base, and the right sliding bottom plate can be driven to slide on the guide rail through the action of the right clamping oil cylinder.
CN202110612286.9A 2021-06-02 2021-06-02 Automatic riveting machine for scaffold cross bar Pending CN113263130A (en)

Priority Applications (1)

Application Number Priority Date Filing Date Title
CN202110612286.9A CN113263130A (en) 2021-06-02 2021-06-02 Automatic riveting machine for scaffold cross bar

Applications Claiming Priority (1)

Application Number Priority Date Filing Date Title
CN202110612286.9A CN113263130A (en) 2021-06-02 2021-06-02 Automatic riveting machine for scaffold cross bar

Publications (1)

Publication Number Publication Date
CN113263130A true CN113263130A (en) 2021-08-17

Family

ID=77233930

Family Applications (1)

Application Number Title Priority Date Filing Date
CN202110612286.9A Pending CN113263130A (en) 2021-06-02 2021-06-02 Automatic riveting machine for scaffold cross bar

Country Status (1)

Country Link
CN (1) CN113263130A (en)

Cited By (2)

* Cited by examiner, † Cited by third party
Publication number Priority date Publication date Assignee Title
CN114260412A (en) * 2021-12-24 2022-04-01 友材科技(杭州)有限公司 Hydraulic punching and riveting device for processing springboard
CN115156468A (en) * 2022-07-08 2022-10-11 南昌锌之蓝节能环保新材料有限公司 Automatic riveting equipment for cross rod of disc buckle scaffold

Citations (11)

* Cited by examiner, † Cited by third party
Publication number Priority date Publication date Assignee Title
GB532557A (en) * 1938-09-06 1941-01-27 Frankfurter Maschb Ag Improvements in or relating to riveting machines
JPH05277613A (en) * 1992-03-27 1993-10-26 Hiroyuki Ishikawa Riveting machine
CN101537566A (en) * 2009-04-14 2009-09-23 宁波市开利刀片制造有限公司 Cutter head automatic assembly machine
CN103691872A (en) * 2013-12-15 2014-04-02 青岛海通车桥有限公司 Automatic riveting machine for connection between shoe and brake pad, and use method thereof
CN103831387A (en) * 2014-03-10 2014-06-04 许姜德 Automatic assembling pulley riveting machine
CN209272374U (en) * 2018-11-15 2019-08-20 万盛兴精密技术(惠州)有限公司 Automatic Riveted screw pole machine in a kind of mould
CN209811127U (en) * 2019-04-30 2019-12-20 蔡言 Automatic assembling equipment for multifunctional clamp
CN210059683U (en) * 2019-05-24 2020-02-14 东莞市华隆机械制造有限公司 An electronic component assembly riveting machine
CN210359087U (en) * 2019-03-20 2020-04-21 深圳市坤亚电子有限公司 Be used for conducting board automatic feeding riveting equipment
CN112692220A (en) * 2021-01-12 2021-04-23 安徽华友工程设备有限责任公司 Scaffold fastener production is with riveter that has anti-injury hand structure
CN215279740U (en) * 2021-06-02 2021-12-24 任丘市金狮焊机制造有限公司 Automatic riveting machine for scaffold cross bar

Patent Citations (11)

* Cited by examiner, † Cited by third party
Publication number Priority date Publication date Assignee Title
GB532557A (en) * 1938-09-06 1941-01-27 Frankfurter Maschb Ag Improvements in or relating to riveting machines
JPH05277613A (en) * 1992-03-27 1993-10-26 Hiroyuki Ishikawa Riveting machine
CN101537566A (en) * 2009-04-14 2009-09-23 宁波市开利刀片制造有限公司 Cutter head automatic assembly machine
CN103691872A (en) * 2013-12-15 2014-04-02 青岛海通车桥有限公司 Automatic riveting machine for connection between shoe and brake pad, and use method thereof
CN103831387A (en) * 2014-03-10 2014-06-04 许姜德 Automatic assembling pulley riveting machine
CN209272374U (en) * 2018-11-15 2019-08-20 万盛兴精密技术(惠州)有限公司 Automatic Riveted screw pole machine in a kind of mould
CN210359087U (en) * 2019-03-20 2020-04-21 深圳市坤亚电子有限公司 Be used for conducting board automatic feeding riveting equipment
CN209811127U (en) * 2019-04-30 2019-12-20 蔡言 Automatic assembling equipment for multifunctional clamp
CN210059683U (en) * 2019-05-24 2020-02-14 东莞市华隆机械制造有限公司 An electronic component assembly riveting machine
CN112692220A (en) * 2021-01-12 2021-04-23 安徽华友工程设备有限责任公司 Scaffold fastener production is with riveter that has anti-injury hand structure
CN215279740U (en) * 2021-06-02 2021-12-24 任丘市金狮焊机制造有限公司 Automatic riveting machine for scaffold cross bar

Cited By (2)

* Cited by examiner, † Cited by third party
Publication number Priority date Publication date Assignee Title
CN114260412A (en) * 2021-12-24 2022-04-01 友材科技(杭州)有限公司 Hydraulic punching and riveting device for processing springboard
CN115156468A (en) * 2022-07-08 2022-10-11 南昌锌之蓝节能环保新材料有限公司 Automatic riveting equipment for cross rod of disc buckle scaffold

Similar Documents

Publication Publication Date Title
CN110270736B (en) Full-automatic welding machine for scaffold upright rod disc buckle
CN104942460B (en) Flange automatic soldering device
CN111266498B (en) A steel bar welding automated production system and production method
CN103846659A (en) Transmission case positioning pin and bearing full-automatic press-fitting unit
CN101979175B (en) High-speed automatic punching machine
CN210208503U (en) Hydraulic riveting device for large-sized workpiece
CN113263130A (en) Automatic riveting machine for scaffold cross bar
CN109926831B (en) Hot Forging Combination Machine Tool
CN103522037B (en) Mine motor belt pulley automatic dismantling forcing press
CN215279740U (en) Automatic riveting machine for scaffold cross bar
CN113414349B (en) Sand mold production structure and casting production process applying same
CN214979042U (en) Speed reducer shell press-fitting device
CN105328057A (en) Pipe-expanding method for automatic pipe-expanding machine
CN117066334A (en) A new type of stamping machine with the function of automatically collecting remaining materials
CN214867581U (en) Dust removal filter bag skeleton apparatus for producing
CN114406233A (en) Automatic detaching equipment for main nozzle of die casting
CN216297883U (en) Automatic riveting machine for scaffold cross bar
CN114559184A (en) Automatic welding device and welding method for metal mesh
CN114603358B (en) Operation method of semi-automatic de-gating and drilling equipment of communication base station fixing support
CN210754949U (en) Automatic forging production line
CN105344851A (en) Pipe expanding device of automatic pipe expanding machine
CN201997589U (en) A high-speed automatic punching machine
CN205967925U (en) Cylinder mould tool equipment
CN218135337U (en) Automatic material loading pipe cutting device
CN219233788U (en) Blanking device for punching machine table

Legal Events

Date Code Title Description
PB01 Publication
PB01 Publication
SE01 Entry into force of request for substantive examination
SE01 Entry into force of request for substantive examination