CN113262438B - Walking trainer for orthopedic rehabilitation - Google Patents

Walking trainer for orthopedic rehabilitation Download PDF

Info

Publication number
CN113262438B
CN113262438B CN202110680601.1A CN202110680601A CN113262438B CN 113262438 B CN113262438 B CN 113262438B CN 202110680601 A CN202110680601 A CN 202110680601A CN 113262438 B CN113262438 B CN 113262438B
Authority
CN
China
Prior art keywords
load
human body
support
walking
training
Prior art date
Legal status (The legal status is an assumption and is not a legal conclusion. Google has not performed a legal analysis and makes no representation as to the accuracy of the status listed.)
Active
Application number
CN202110680601.1A
Other languages
Chinese (zh)
Other versions
CN113262438A (en
Inventor
高凤辉
Current Assignee (The listed assignees may be inaccurate. Google has not performed a legal analysis and makes no representation or warranty as to the accuracy of the list.)
Jilin University
Original Assignee
Jilin University
Priority date (The priority date is an assumption and is not a legal conclusion. Google has not performed a legal analysis and makes no representation as to the accuracy of the date listed.)
Filing date
Publication date
Application filed by Jilin University filed Critical Jilin University
Priority to CN202110680601.1A priority Critical patent/CN113262438B/en
Publication of CN113262438A publication Critical patent/CN113262438A/en
Application granted granted Critical
Publication of CN113262438B publication Critical patent/CN113262438B/en
Active legal-status Critical Current
Anticipated expiration legal-status Critical

Links

Images

Classifications

    • AHUMAN NECESSITIES
    • A63SPORTS; GAMES; AMUSEMENTS
    • A63BAPPARATUS FOR PHYSICAL TRAINING, GYMNASTICS, SWIMMING, CLIMBING, OR FENCING; BALL GAMES; TRAINING EQUIPMENT
    • A63B23/00Exercising apparatus specially adapted for particular parts of the body
    • A63B23/035Exercising apparatus specially adapted for particular parts of the body for limbs, i.e. upper or lower limbs, e.g. simultaneously
    • A63B23/04Exercising apparatus specially adapted for particular parts of the body for limbs, i.e. upper or lower limbs, e.g. simultaneously for lower limbs
    • AHUMAN NECESSITIES
    • A61MEDICAL OR VETERINARY SCIENCE; HYGIENE
    • A61HPHYSICAL THERAPY APPARATUS, e.g. DEVICES FOR LOCATING OR STIMULATING REFLEX POINTS IN THE BODY; ARTIFICIAL RESPIRATION; MASSAGE; BATHING DEVICES FOR SPECIAL THERAPEUTIC OR HYGIENIC PURPOSES OR SPECIFIC PARTS OF THE BODY
    • A61H3/00Appliances for aiding patients or disabled persons to walk about
    • A61H3/008Appliances for aiding patients or disabled persons to walk about using suspension devices for supporting the body in an upright walking or standing position, e.g. harnesses
    • AHUMAN NECESSITIES
    • A61MEDICAL OR VETERINARY SCIENCE; HYGIENE
    • A61HPHYSICAL THERAPY APPARATUS, e.g. DEVICES FOR LOCATING OR STIMULATING REFLEX POINTS IN THE BODY; ARTIFICIAL RESPIRATION; MASSAGE; BATHING DEVICES FOR SPECIAL THERAPEUTIC OR HYGIENIC PURPOSES OR SPECIFIC PARTS OF THE BODY
    • A61H3/00Appliances for aiding patients or disabled persons to walk about
    • A61H3/04Wheeled walking aids for patients or disabled persons
    • AHUMAN NECESSITIES
    • A63SPORTS; GAMES; AMUSEMENTS
    • A63BAPPARATUS FOR PHYSICAL TRAINING, GYMNASTICS, SWIMMING, CLIMBING, OR FENCING; BALL GAMES; TRAINING EQUIPMENT
    • A63B21/00Exercising apparatus for developing or strengthening the muscles or joints of the body by working against a counterforce, with or without measuring devices
    • A63B21/02Exercising apparatus for developing or strengthening the muscles or joints of the body by working against a counterforce, with or without measuring devices using resilient force-resisters
    • A63B21/055Exercising apparatus for developing or strengthening the muscles or joints of the body by working against a counterforce, with or without measuring devices using resilient force-resisters extension element type

Landscapes

  • Health & Medical Sciences (AREA)
  • General Health & Medical Sciences (AREA)
  • Physical Education & Sports Medicine (AREA)
  • Life Sciences & Earth Sciences (AREA)
  • Orthopedic Medicine & Surgery (AREA)
  • Animal Behavior & Ethology (AREA)
  • Rehabilitation Therapy (AREA)
  • Pain & Pain Management (AREA)
  • Public Health (AREA)
  • Veterinary Medicine (AREA)
  • Epidemiology (AREA)
  • Biophysics (AREA)
  • Rehabilitation Tools (AREA)

Abstract

本发明涉及骨科康复领域,具体是一种骨科康复用行走训练器,包括行走支撑机构、安装机构和训练强度调节机构,所述训练强度调节机构,通过安装机构安装在行走支撑机构上;训练强度调节机构包括驱动机构、减负机构、增负机构和人体固定衣,所述减负机构和增负机构均与驱动机构连接,减负机构和增负机构与人体固定衣可拆卸连接,当对患者减负时,减负机构与人体固定衣连接,增负机构不与人体固定衣连接,通过驱动机构驱动减负机构上升,对人体固定衣提供向上的拉力,实现减负训练。本装置的结构设置,可以根据患者的情况,选择不同的训练强度,满足不同的训练需求,从而保证训练的效果,实用性强。

Figure 202110680601

The invention relates to the field of orthopedic rehabilitation, in particular to a walking trainer for orthopedic rehabilitation, comprising a walking support mechanism, an installation mechanism and a training intensity adjustment mechanism, wherein the training intensity adjustment mechanism is installed on the walking support mechanism through the installation mechanism; The adjustment mechanism includes a drive mechanism, a load reduction mechanism, a load increase mechanism, and a human body fixation garment. The load reduction mechanism and the load increase mechanism are both connected with the drive mechanism. The load reduction mechanism and the load increase mechanism are detachably connected to the human body fixation garment. When reducing the burden on the patient , The load reducing mechanism is connected with the human body fixed clothing, the load increasing mechanism is not connected with the human body fixed clothing, and the load reducing mechanism is driven by the driving mechanism to rise, providing upward pulling force to the human body fixed clothing, and realizing load reducing training. The structural setting of the device can select different training intensities according to the patient's condition to meet different training needs, thereby ensuring the training effect and having strong practicability.

Figure 202110680601

Description

Walking trainer for orthopedic rehabilitation
Technical Field
The invention relates to the field of orthopedic rehabilitation, in particular to a walking trainer for orthopedic rehabilitation.
Background
Rehabilitation refers to physical activity after injury that is beneficial to recovery or improvement of function. General injuries do not have to stop physical exercise completely, except for severe injuries that require rest treatment. Proper, scientific physical exercise has a positive effect on the rapid healing of injuries and promoting functional recovery.
At present, in the rehabilitation training of orthopedics, often need use walking training ware for orthopedics rehabilitation, present walking training ware for orthopedics rehabilitation function ratio is single, mostly all only possesses the effect of supporting, can not select different training intensity according to patient's health, and the training effect is limited to cause the damage to the patient easily.
Disclosure of Invention
The invention aims to provide a walking trainer for orthopedic rehabilitation, which aims to solve the problems in the background technology.
In order to achieve the purpose, the invention provides the following technical scheme:
a walking trainer for orthopedic rehabilitation comprises a walking support mechanism, an installation mechanism and a training intensity adjusting mechanism, wherein the training intensity adjusting mechanism is installed on the walking support mechanism through the installation mechanism;
the training intensity adjusting mechanism comprises a driving mechanism, a load reducing mechanism, a load increasing mechanism and a human body fixing coat, wherein the load reducing mechanism and the load increasing mechanism are connected with the driving mechanism, and the load reducing mechanism and the load increasing mechanism are detachably connected with the human body fixing coat;
when the burden of a patient is relieved, the burden relieving mechanism is connected with the human body fixing coat, the burden increasing mechanism is not connected with the human body fixing coat, the burden relieving mechanism is driven to ascend through the driving mechanism, upward pulling force is provided for the human body fixing coat, and burden relieving training is achieved;
when the burden of a patient is increased, the burden reducing mechanism is not connected with the human body fixing clothes, the burden increasing mechanism is driven to descend by the driving mechanism, downward pulling force is provided for the human body fixing clothes, and burden increasing training is achieved.
As a still further scheme of the invention: the burden increasing mechanism and the burden reducing mechanism are identical in structure and comprise elastic components, a plurality of connecting belts are arranged at two ends of the human body fixing clothes, and the elastic components are connected with the connecting belts through hooks.
As a still further scheme of the invention: the elastic component comprises a supporting seat, a cavity is arranged in the supporting seat, a sliding plate is connected to the inside of the cavity in a sliding mode, a plurality of tension springs are arranged between the sliding plate and the cavity, a connecting rod is arranged on the other side of the sliding plate, and the other end of the connecting rod extends out of the supporting seat and is connected with a hook.
As a still further scheme of the invention: still be provided with the pulling force on the slide and resume the mechanism, including installing the roating seat on the slide, swivelling joint has the direction slide bar on the roating seat, and the roating seat is stretched out and be provided with the drive wheel to the outer end of direction slide bar, and the part that the direction slide bar is close to the roating seat is provided with the spacing portion of screw thread, and the junction of supporting seat and spacing slide bar is provided with the internal thread hole with the spacing portion complex of screw thread.
As a still further scheme of the invention: the mounting mechanism comprises a supporting column mounted on the walking supporting mechanism, and a cross beam is arranged at the other end of the supporting column.
As a still further scheme of the invention: the driving mechanism comprises a driving motor installed on the cross beam, a driving shaft is arranged at the output end of the driving motor, an upper threaded portion and a lower threaded portion are arranged on the driving shaft, a supporting plate is connected to the upper threaded portion and the lower threaded portion in a threaded mode, and the supporting plate is connected with the elastic assembly.
As a still further scheme of the invention: be provided with spacing guiding mechanism between the other end of backup pad and the support column, spacing guiding mechanism is provided with spacing spout, spacing slider and spacing spout sliding connection including installing the spacing slider in the backup pad on the support column.
As a still further scheme of the invention: the walking supporting mechanism comprises a lower supporting frame, a plurality of walking wheels are arranged on the lower supporting frame, and the lower supporting frame is connected with an upper supporting frame through supporting legs.
As a still further scheme of the invention: the supporting legs are telescopic mechanisms.
Compared with the prior art, the invention has the beneficial effects that: when the device is used, a patient stands in the walking support mechanism, the walking support mechanism is used for supporting the patient, then the human body fixing clothes are used for fixing the body of the patient, when the burden of the patient is relieved, the burden reducing mechanism is connected with the human body fixing clothes, the burden increasing mechanism is not connected with the human body fixing clothes, the burden reducing mechanism is driven to ascend through the driving mechanism, upward pulling force is provided for the human body fixing clothes, and burden reducing training is achieved; when increasing burden to the patient, subtract burden mechanism and human fixed clothing and do not connect, increase burden mechanism and human fixed clothing and be connected, increase burden mechanism through actuating mechanism drive and descend, provide decurrent pulling force to the fixed clothing of human body, realize increasing burden training, can select different training intensity according to the condition of patient, satisfy different training demands to guarantee the effect of training, the practicality is strong.
Drawings
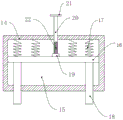
Fig. 1 is a schematic structural view of a walking trainer for orthopedic rehabilitation.
Fig. 2 is a schematic structural diagram of an elastic component in the walking trainer for orthopedic rehabilitation.
Fig. 3 is a schematic structural view of a walking support mechanism in the walking trainer for orthopedic rehabilitation.
1. A walking support mechanism; 2. a support pillar; 3. a cross beam; 4. a drive motor; 5. a drive shaft; 6. an upper threaded portion; 7. a lower threaded portion; 8. a limiting chute; 9. a limiting slide block; 10. an elastic component; 11. hooking; 12. a connecting belt; 13. a human body fixing coat; 14. a supporting seat; 15. a cavity; 16. a slide plate; 17. a tension spring; 18. a connecting rod; 19. a rotating base; 20. a guide slide bar; 21. a drive wheel; 22. a threaded limiting part; 23. an upper support frame; 24. supporting legs; 25. a lower support frame; 26. and (5) traveling wheels.
Detailed Description
Reference will now be made in detail to embodiments of the present invention, examples of which are illustrated in the accompanying drawings, wherein like or similar reference numerals refer to the same or similar elements or elements having the same or similar function throughout. The embodiments described below with reference to the drawings are illustrative and intended to be illustrative of the invention and are not to be construed as limiting the invention.
The following disclosure provides many different embodiments, or examples, for implementing different features of the invention. To simplify the disclosure of the present invention, the components and arrangements of specific examples are described below. Of course, they are merely examples and are not intended to limit the present invention. Furthermore, the present invention may repeat reference numerals and/or letters in the various examples. This repetition is for the purpose of simplicity and clarity and does not in itself dictate a relationship between the various embodiments and/or configurations discussed.
Referring to fig. 1, in an embodiment of the present invention, a walking trainer for orthopedic rehabilitation includes a walking support mechanism 1, an installation mechanism, and a training intensity adjustment mechanism, where the training intensity adjustment mechanism is installed on the walking support mechanism 1 through the installation mechanism; the training intensity adjusting mechanism comprises a driving mechanism, a burden reducing mechanism, a burden increasing mechanism and a human body fixing coat 13, wherein the burden reducing mechanism and the burden increasing mechanism are connected with the driving mechanism, and are detachably connected with the human body fixing coat 13; when increasing burden to the patient, subtract burden mechanism and human fixed clothing 13 and do not connect, increase burden mechanism and human fixed clothing 13 and be connected, increase burden mechanism through actuating mechanism drive and descend, provide decurrent pulling force to human fixed clothing 13, realize increasing burden training, can select different training intensity according to the condition of patient, satisfy different training demands to guarantee the effect of training, the practicality is strong.
In this embodiment, referring to fig. 2, the burden increasing mechanism and the burden reducing mechanism have the same structure and each include an elastic assembly 10, a plurality of connecting bands 12 are disposed at two ends of a human body fixing garment 13, the elastic assembly 10 is connected with the connecting bands 12 through a hook 11, the elastic assembly 10 includes a supporting seat 14, a cavity 15 is disposed inside the supporting seat 14, a sliding plate 16 is slidably connected inside the cavity 15, a plurality of tension springs 17 are disposed between the sliding plate 16 and the cavity 15, a connecting rod 18 is disposed on the other side of the sliding plate 16, and the other end of the connecting rod 18 extends out of the supporting seat 14 and is connected with the hook 11. Specifically, the cooperation through couple 11 and connecting band 12 realizes being connected and dismantling of elastic component 10 and the fixed clothing 13 of human body, when the burden reduction training, make the elastic component 10 of top rise, because the human body can not rise, will pull open extension spring 17 through connecting rod 18 and slide 16, thereby utilize extension spring 17 to provide an ascending pulling force for the human body, thereby reduce the pressure that the shank received, reduce the intensity of training, when increasing the burden training, the elastic component 10 that utilizes the below provides decurrent pulling force for the human body can.
In one embodiment, the sliding plate 16 is further provided with a tension recovery mechanism, which includes a rotating base 19 mounted on the sliding plate 16, a guiding slide bar 20 is rotatably connected to the rotating base 19, an outer end of the guiding slide bar 20 extends out of the rotating base 19 and is provided with a driving wheel 21, a portion of the guiding slide bar 20 close to the rotating base 19 is provided with a thread limiting portion 22, and a connection portion of the supporting base 14 and the limiting slide bar is provided with an internal thread hole matched with the thread limiting portion 22. When the device does not work, the tension spring 17 can be compressed by the limiting slide rod, the slide plate 16 is limited by the matching of the thread limiting part 22 and the internal thread hole, long-time compression is realized, the tension of the tension spring 17 is recovered, and the service cycle of the tension spring 17 is prolonged.
In one embodiment, as shown in fig. 1, the mounting mechanism includes a supporting column 2 mounted on the walking supporting mechanism 1, a cross beam 3 is provided at the other end of the supporting column 2, the driving mechanism includes a driving motor 4 mounted on the cross beam 3, a driving shaft 5 is provided at the output end of the driving motor 4, an upper threaded portion 6 and a lower threaded portion 7 are provided on the driving shaft 5, a supporting plate is connected to both the upper threaded portion 6 and the lower threaded portion 7 in a threaded manner, and the supporting plate is connected to the elastic component 10. Specifically, the driving shaft 5 is driven to rotate positively and negatively through positive and negative rotation of the motor, so that the supporting plate moves on the driving shaft 5, and tension adjustment is achieved.
In this embodiment, be provided with spacing guiding mechanism between the other end of backup pad and the support column 2, spacing guiding mechanism is provided with spacing spout 8, spacing slider 9 and 8 sliding connection of spacing spout including installing spacing slider 9 in the backup pad on the support column 2. When the elastic component 10 moves, the guide limiting can be carried out by utilizing the limiting sliding groove 8 and the limiting sliding block 9, so that the running stability of the device is improved, and the service life of the device is prolonged.
In this embodiment, the walking support mechanism 1 includes a lower support frame 25, a plurality of walking wheels 26 are provided on the lower support frame 25, and the lower support frame 25 is connected with an upper support frame 23 through support legs 24. Specifically, the lower support frame 25 and the upper support frame 23 are both U-shaped mechanisms, so that when the device is used, a patient can hold the upper support frame 23 by hands to prevent the patient from falling down, and the walking training is realized by moving the walking wheels 26.
In this embodiment, the support legs 24 are telescoping mechanisms. Specifically, adopt electronic flexible leg, can realize the regulation of upper bracket 23 height, satisfy the training demand of different heights cushions.
In the description herein, references to the description of the term "one embodiment," "some embodiments," "an example," "a specific example," or "some examples," etc., mean that a particular feature, structure, material, or characteristic described in connection with the embodiment or example is included in at least one embodiment or example of the invention. In this specification, the schematic representations of the terms used above are not necessarily intended to refer to the same embodiment or example. Furthermore, the particular features, structures, materials, or characteristics described may be combined in any suitable manner in any one or more embodiments or examples. Furthermore, various embodiments or examples and features of different embodiments or examples described in this specification can be combined and combined by one skilled in the art without contradiction.
While embodiments of the invention have been shown and described, it will be understood by those of ordinary skill in the art that: various changes, modifications, substitutions and alterations can be made to the embodiments without departing from the principles and spirit of the invention, the scope of which is defined by the claims and their equivalents.

Claims (8)

1.一种骨科康复用行走训练器,其特征在于,包括行走支撑机构、安装机构和训练强度调节机构,1. a walking trainer for orthopaedic rehabilitation, is characterized in that, comprises walking support mechanism, installation mechanism and training intensity adjustment mechanism, 所述训练强度调节机构,通过安装机构安装在行走支撑机构上;The training intensity adjustment mechanism is installed on the walking support mechanism through the installation mechanism; 训练强度调节机构包括驱动机构、减负机构、增负机构和人体固定衣,所述减负机构和增负机构均与驱动机构连接,减负机构和增负机构与人体固定衣可拆卸连接,The training intensity adjustment mechanism includes a drive mechanism, a load reduction mechanism, a load increase mechanism and a human body immobilization garment. The load reduction mechanism and the load increase mechanism are both connected with the drive mechanism, and the load reduction mechanism and the load increase mechanism are detachably connected to the human body immobilization garment. 当对患者减负时,减负机构与人体固定衣连接,增负机构不与人体固定衣连接,通过驱动机构驱动减负机构上升,对人体固定衣提供向上的拉力,实现减负训练;When reducing the load on the patient, the load-reducing mechanism is connected with the human body immobilization garment, and the load-increasing mechanism is not connected with the human body immobilization garment, and the load-reducing mechanism is driven to rise by the driving mechanism, providing upward pulling force to the human body immobilizing garment to realize load-reducing training; 当对患者增负时,减负机构与人体固定衣不连接,增负机构与人体固定衣连接,通过驱动机构驱动增负机构下降,对人体固定衣提供向下的拉力,实现增负训练;When increasing the load on the patient, the load reducing mechanism is not connected with the human body immobilization suit, the load increasing mechanism is connected with the human body immobilization suit, and the load increasing mechanism is driven to descend by the driving mechanism to provide downward pulling force on the human body immobilization suit to realize the load increasing training; 所述增负机构和减负机构的结构相同,均包括弹性组件,人体固定衣的两端均设置有若干连接带,弹性组件通过挂钩与连接带连接。The load-increasing mechanism and the load-reducing mechanism have the same structure, and both include elastic components. Both ends of the human body immobilization garment are provided with a plurality of connecting belts, and the elastic components are connected with the connecting belts through hooks. 2.根据权利要求1所述的一种骨科康复用行走训练器,其特征在于,所述弹性组件包括支撑座,支撑座的内部设置有空腔,空腔的内部滑动连接有滑板,滑板与空腔之间设置有若干拉簧,滑板的另一侧设置有连接杆,连接杆的另一端伸出支撑座并与挂钩连接。2 . The walking trainer for orthopaedic rehabilitation according to claim 1 , wherein the elastic component comprises a support seat, a cavity is provided inside the support seat, and a sliding plate is slidably connected to the interior of the cavity, and the sliding plate is connected with the sliding plate. 3 . Several tension springs are arranged between the cavities, and a connecting rod is arranged on the other side of the slide plate, and the other end of the connecting rod extends out of the support seat and is connected with the hook. 3.根据权利要求2所述的一种骨科康复用行走训练器,其特征在于,所述滑板上还设置有拉力恢复机构,包括安装在滑板上的旋转座,旋转座上旋转连接有导向滑杆,导向滑杆的外端伸出旋转座并设置有驱动轮,导向滑杆靠近旋转座的部分设置有螺纹限位部,支撑座与限位滑杆的连接处设置有与螺纹限位部配合的内螺纹孔。3. A walking trainer for orthopaedic rehabilitation according to claim 2, characterized in that, the sliding plate is also provided with a tensile force recovery mechanism, comprising a rotating seat installed on the sliding plate, and a guide slider is rotatably connected to the rotating seat. The outer end of the guide sliding rod protrudes from the rotating seat and is provided with a driving wheel, the part of the guiding sliding rod close to the rotating seat is provided with a threaded limit part, and the connection between the support seat and the limit sliding rod is provided with a threaded limit part Mating internally threaded holes. 4.根据权利要求1所述的一种骨科康复用行走训练器,其特征在于,所述安装机构包括安装在行走支撑机构上的支撑柱,支撑柱的另一端设置有横梁。4 . The walking trainer for orthopaedic rehabilitation according to claim 1 , wherein the installation mechanism comprises a support column installed on the walking support mechanism, and the other end of the support column is provided with a beam. 5 . 5.根据权利要求4所述的一种骨科康复用行走训练器,其特征在于,所述驱动机构包括安装在横梁上的驱动电机,驱动电机的输出端设置有驱动轴,驱动轴上设置有上螺纹部和下螺纹部,上螺纹部和下螺纹部上均螺纹连接有支撑板,支撑板与弹性组件连接。5 . The walking trainer for orthopaedic rehabilitation according to claim 4 , wherein the drive mechanism comprises a drive motor mounted on the beam, the output end of the drive motor is provided with a drive shaft, and the drive shaft is provided with a drive shaft. 6 . The upper threaded part and the lower threaded part, and the upper threaded part and the lower threaded part are threadedly connected with a support plate, and the support plate is connected with the elastic component. 6.根据权利要求5所述的一种骨科康复用行走训练器,其特征在于,所述支撑板的另一端与支撑柱之间设置有限位导向机构,限位导向机构包括安装在支撑板上的限位滑块,支撑柱上设置有限位滑槽,限位滑块与限位滑槽滑动连接。6 . The walking trainer for orthopaedic rehabilitation according to claim 5 , wherein a limit guide mechanism is arranged between the other end of the support plate and the support column, and the limit guide mechanism comprises a limit guide mechanism installed on the support plate. 7 . The limit slider is provided with a limit chute on the support column, and the limit slider is slidably connected with the limit chute. 7.根据权利要求1所述的一种骨科康复用行走训练器,其特征在于,所述行走支撑机构包括下支撑架,下支撑架上设置有若干行走轮,下支撑架通过支撑腿连接有上支撑架。7 . The walking trainer for orthopaedic rehabilitation according to claim 1 , wherein the walking support mechanism comprises a lower support frame, a number of walking wheels are arranged on the lower support frame, and the lower support frame is connected with a upper support frame. 8.根据权利要求7所述的一种骨科康复用行走训练器,其特征在于,所述支撑腿为伸缩式机构。8 . The walking trainer for orthopaedic rehabilitation according to claim 7 , wherein the support leg is a telescopic mechanism. 9 .
CN202110680601.1A 2021-06-18 2021-06-18 Walking trainer for orthopedic rehabilitation Active CN113262438B (en)

Priority Applications (1)

Application Number Priority Date Filing Date Title
CN202110680601.1A CN113262438B (en) 2021-06-18 2021-06-18 Walking trainer for orthopedic rehabilitation

Applications Claiming Priority (1)

Application Number Priority Date Filing Date Title
CN202110680601.1A CN113262438B (en) 2021-06-18 2021-06-18 Walking trainer for orthopedic rehabilitation

Publications (2)

Publication Number Publication Date
CN113262438A CN113262438A (en) 2021-08-17
CN113262438B true CN113262438B (en) 2021-12-07

Family

ID=77235429

Family Applications (1)

Application Number Title Priority Date Filing Date
CN202110680601.1A Active CN113262438B (en) 2021-06-18 2021-06-18 Walking trainer for orthopedic rehabilitation

Country Status (1)

Country Link
CN (1) CN113262438B (en)

Citations (13)

* Cited by examiner, † Cited by third party
Publication number Priority date Publication date Assignee Title
US5603677A (en) * 1995-03-28 1997-02-18 Sollo; Robert E. Weight assisted rehabilitation system
CN1181278A (en) * 1996-10-29 1998-05-13 伍德威股份公司 Treadmill
US6578594B1 (en) * 1999-08-20 2003-06-17 Wade Hawkes Mobile rehabilitative walker
CN201189267Y (en) * 2008-04-05 2009-02-04 于培润 Multifunctional limbs and trunk sports rehabilitation device
CN103889514A (en) * 2011-08-23 2014-06-25 朴勋根 weight-adjustable treadmill
CN104688486A (en) * 2015-02-10 2015-06-10 三峡大学 Lower limbs rehabilitation robot motion control system
CN108606907A (en) * 2018-05-02 2018-10-02 中国石油大学(华东) A kind of packaged type parallel wire driven lower limb rehabilitation robot and its implementation
CN208741836U (en) * 2018-05-30 2019-04-16 潘金梦 A kind of leg nerve convalescence device
CN210021010U (en) * 2019-05-30 2020-02-07 成都黄再军医院有限责任公司 Leg rehabilitation training device
CN210131079U (en) * 2019-04-17 2020-03-10 福州大学 Fall-proof weight-reducing walking aid
CN210903955U (en) * 2019-05-31 2020-07-03 广东智爱机器人科技有限公司 Mobile transfer weight loss walking trainer
CN111671623A (en) * 2020-06-16 2020-09-18 南京工程学院 A waist training recovery device based on rope traction
CN112691003A (en) * 2020-12-25 2021-04-23 航天科工智能机器人有限责任公司 A rehabilitation device for low limbs rehabilitation training

Family Cites Families (7)

* Cited by examiner, † Cited by third party
Publication number Priority date Publication date Assignee Title
JP2003339801A (en) * 2002-05-22 2003-12-02 Kumagai Gumi Co Ltd Exercise assisting device
US9649243B2 (en) * 2008-01-07 2017-05-16 Lite Run, Inc. Body lift-assist walker device
KR101430823B1 (en) * 2012-10-23 2014-08-14 주식회사 싸이버메딕 Walking analysis treadmill of unweight control
US9795825B2 (en) * 2014-05-21 2017-10-24 Cynthia Louise Johnson Patient aid devices, particularly for mobile upper extremity support in railed devices such as parallel bars and treadmills
CN104027226B (en) * 2014-06-17 2016-11-23 国家康复辅具研究中心 Walking dynamic balance training device
CN105534680B (en) * 2016-01-25 2018-04-27 营口春港康复辅助器具科技有限公司 The autonomous exercising device of rehabilitation
WO2019116093A1 (en) * 2017-12-14 2019-06-20 Bionic Yantra Private Limited Apparatus and system for limb rehabitation

Patent Citations (13)

* Cited by examiner, † Cited by third party
Publication number Priority date Publication date Assignee Title
US5603677A (en) * 1995-03-28 1997-02-18 Sollo; Robert E. Weight assisted rehabilitation system
CN1181278A (en) * 1996-10-29 1998-05-13 伍德威股份公司 Treadmill
US6578594B1 (en) * 1999-08-20 2003-06-17 Wade Hawkes Mobile rehabilitative walker
CN201189267Y (en) * 2008-04-05 2009-02-04 于培润 Multifunctional limbs and trunk sports rehabilitation device
CN103889514A (en) * 2011-08-23 2014-06-25 朴勋根 weight-adjustable treadmill
CN104688486A (en) * 2015-02-10 2015-06-10 三峡大学 Lower limbs rehabilitation robot motion control system
CN108606907A (en) * 2018-05-02 2018-10-02 中国石油大学(华东) A kind of packaged type parallel wire driven lower limb rehabilitation robot and its implementation
CN208741836U (en) * 2018-05-30 2019-04-16 潘金梦 A kind of leg nerve convalescence device
CN210131079U (en) * 2019-04-17 2020-03-10 福州大学 Fall-proof weight-reducing walking aid
CN210021010U (en) * 2019-05-30 2020-02-07 成都黄再军医院有限责任公司 Leg rehabilitation training device
CN210903955U (en) * 2019-05-31 2020-07-03 广东智爱机器人科技有限公司 Mobile transfer weight loss walking trainer
CN111671623A (en) * 2020-06-16 2020-09-18 南京工程学院 A waist training recovery device based on rope traction
CN112691003A (en) * 2020-12-25 2021-04-23 航天科工智能机器人有限责任公司 A rehabilitation device for low limbs rehabilitation training

Also Published As

Publication number Publication date
CN113262438A (en) 2021-08-17

Similar Documents

Publication Publication Date Title
CN109730897B (en) A kind of leg injury rehabilitation training device
CN210472965U (en) Clinical regulation formula four limbs rehabilitation ware
CN108837406B (en) Recovered supplementary exercise equipment of shank for orthopedics
CN109620508A (en) A kind of bone distraction apparatus
CN208770764U (en) A kind of multifunctional lower limb training aids
CN113262438B (en) Walking trainer for orthopedic rehabilitation
CN102274611A (en) Gait rehabilitation load reducing training device
CN201727876U (en) Multifunctional sport rehabilitation device
CN208081467U (en) A kind of orthopaedics auxiliary rehabilitation exercise device
CN210645016U (en) Recovery training frame for exercise of orthopedic patients
CN111789746B (en) Back connection device for lower limb rehabilitation robot
CN222640879U (en) Ankle pump ware structure
CN208678276U (en) A kind of patients in neurological department device for healing and training
CN219481461U (en) Lower limb rehabilitation training device for bedridden hemiplegic patient
CN109316316B (en) Flexible wearable lower limb rehabilitation exoskeleton structure device
CN209630112U (en) A flexible wearable lower limb rehabilitation exoskeleton structure device
CN110898396A (en) An auxiliary walking exercise device for paralyzed patients
CN214435289U (en) Walking aid with knee supporting function
CN209033077U (en) Lower limbs of children intelligent rehabilitation system
CN115006198A (en) Orthopedic therapeutic instrument of shank
CN219000786U (en) Shoulder joint abduction support
CN220237125U (en) Limb traction device
CN208003363U (en) A kind of leg health rehabilitation practice mechanism
CN222488778U (en) Rehabilitation training equipment
CN212016613U (en) Training device for breast surgery

Legal Events

Date Code Title Description
PB01 Publication
PB01 Publication
SE01 Entry into force of request for substantive examination
SE01 Entry into force of request for substantive examination
GR01 Patent grant
GR01 Patent grant