CN113252798A - Scanning device for ultrasonic detection of small-diameter pipe - Google Patents

Scanning device for ultrasonic detection of small-diameter pipe Download PDF

Info

Publication number
CN113252798A
CN113252798A CN202110692348.1A CN202110692348A CN113252798A CN 113252798 A CN113252798 A CN 113252798A CN 202110692348 A CN202110692348 A CN 202110692348A CN 113252798 A CN113252798 A CN 113252798A
Authority
CN
China
Prior art keywords
piece
rectangular
sliding
shaped
supporting
Prior art date
Legal status (The legal status is an assumption and is not a legal conclusion. Google has not performed a legal analysis and makes no representation as to the accuracy of the status listed.)
Granted
Application number
CN202110692348.1A
Other languages
Chinese (zh)
Other versions
CN113252798B (en
Inventor
张建国
曹剑峰
李太江
王焱祥
蒋桂平
李毅龙
陈稳定
李轶名
Current Assignee (The listed assignees may be inaccurate. Google has not performed a legal analysis and makes no representation or warranty as to the accuracy of the list.)
Xian Thermal Power Research Institute Co Ltd
Original Assignee
Xian Thermal Power Research Institute Co Ltd
Priority date (The priority date is an assumption and is not a legal conclusion. Google has not performed a legal analysis and makes no representation as to the accuracy of the date listed.)
Filing date
Publication date
Application filed by Xian Thermal Power Research Institute Co Ltd filed Critical Xian Thermal Power Research Institute Co Ltd
Priority to CN202110692348.1A priority Critical patent/CN113252798B/en
Publication of CN113252798A publication Critical patent/CN113252798A/en
Application granted granted Critical
Publication of CN113252798B publication Critical patent/CN113252798B/en
Active legal-status Critical Current
Anticipated expiration legal-status Critical

Links

Images

Classifications

    • GPHYSICS
    • G01MEASURING; TESTING
    • G01NINVESTIGATING OR ANALYSING MATERIALS BY DETERMINING THEIR CHEMICAL OR PHYSICAL PROPERTIES
    • G01N29/00Investigating or analysing materials by the use of ultrasonic, sonic or infrasonic waves; Visualisation of the interior of objects by transmitting ultrasonic or sonic waves through the object
    • G01N29/22Details, e.g. general constructional or apparatus details
    • G01N29/26Arrangements for orientation or scanning by relative movement of the head and the sensor
    • G01N29/265Arrangements for orientation or scanning by relative movement of the head and the sensor by moving the sensor relative to a stationary material
    • GPHYSICS
    • G01MEASURING; TESTING
    • G01NINVESTIGATING OR ANALYSING MATERIALS BY DETERMINING THEIR CHEMICAL OR PHYSICAL PROPERTIES
    • G01N29/00Investigating or analysing materials by the use of ultrasonic, sonic or infrasonic waves; Visualisation of the interior of objects by transmitting ultrasonic or sonic waves through the object
    • G01N29/04Analysing solids

Landscapes

  • Physics & Mathematics (AREA)
  • Health & Medical Sciences (AREA)
  • Life Sciences & Earth Sciences (AREA)
  • Chemical & Material Sciences (AREA)
  • Analytical Chemistry (AREA)
  • Biochemistry (AREA)
  • General Health & Medical Sciences (AREA)
  • General Physics & Mathematics (AREA)
  • Immunology (AREA)
  • Pathology (AREA)
  • Acoustics & Sound (AREA)
  • Investigating Or Analyzing Materials By The Use Of Ultrasonic Waves (AREA)

Abstract

本发明提供一种小径管超声检测用扫查器,涉及焊接设备领域,以解决现有的焊缝超声自动扫查器整体较大,通常是将待测工件放入到装置内进行检测,不便于对已经安装的工件后期进行检测和维护的问题,包括安装机构,安装机构后端上下两侧安装有两个爬升机构;所述安装机构的前端安装有支撑机构;所述支撑机构的后端设有接触机构。滚动件A驱动件电机的带动,使装置整体在待测工件上滑动,进而可以在待测工件固定时,本装置可以方便的对待测工件较高位置的焊缝进行检测,同时,本装置整体较小,便于携带,不仅可以对未使用的待测工件的焊缝进行检测,也可以方便的对安装后工件的焊缝进行检修和维护。

Figure 202110692348

The invention provides a scanner for ultrasonic testing of small-diameter pipes, which relates to the field of welding equipment, so as to solve the problem that the existing ultrasonic automatic scanner for welding seam is relatively large as a whole. The problem of facilitating the later detection and maintenance of the installed workpiece includes the installation mechanism. Two climbing mechanisms are installed on the upper and lower sides of the rear end of the installation mechanism; the front end of the installation mechanism is installed with a support mechanism; the rear end of the support mechanism There is a contact mechanism. Driven by the motor of the driving part of the rolling element A, the whole device slides on the workpiece to be tested, so that when the workpiece to be tested is fixed, the device can conveniently detect the welding seam at the higher position of the workpiece to be tested. Small and easy to carry, it can not only detect the welding seam of the unused workpiece to be tested, but also conveniently inspect and maintain the welding seam of the workpiece after installation.

Figure 202110692348

Description

Scanning device for ultrasonic detection of small-diameter pipe
Technical Field
The invention belongs to the technical field of welding equipment, and particularly relates to a scanner for ultrasonic detection of a small-diameter pipe.
Background
When the weld joint detection is carried out, the weld joint of a workpiece to be detected is detected by using a weld joint ultrasonic detector, so that the defect in the weld joint is found, and the occurrence of defective products is prevented.
For example, application No.: CN201611024281.X relates to an automatic scanner for ultrasonic detection of butt weld of special-shaped pipe and its detection method, comprising main body assembly, probe arm assembly, probe clamping assembly, universal adsorption wheel assembly and flexible track assembly; the probe arm assembly is installed on the scanner main body assembly, and the probe clamping assembly and the universal adsorption wheel assembly are installed on the probe arm assembly in parallel; when the automatic scanning device is used, the flexible track assembly is fixed on a detected pipeline, the scanning device main body assembly provides power, the automatic scanning device moves on the track, the probe clamping assembly clamps the ultrasonic probe to move to a detected welding seam along the axis direction of the detected pipeline under the action of the probe arm assembly, and meanwhile, the universal adsorption wheel assembly and the pipeline surface around the detected welding seam support a gap, so that the distance between the ultrasonic probe and the detected pipeline is constant.
Based on the prior art, when the existing automatic ultrasonic welding seam scanner is used, the whole device is large, a workpiece to be detected is usually placed into the device for detection, and the installed workpiece is inconvenient to detect and maintain in the later period; meanwhile, when the existing automatic ultrasonic scanning device for the welding line is used, the ultrasonic scanner is usually always started, so that the waste of electric quantity is large, and the automatic ultrasonic scanning device is inconvenient to use for a long time.
Disclosure of Invention
In order to solve the technical problems, the invention provides a scanner for ultrasonic detection of a small-diameter pipe, which aims to solve the problems that when the existing automatic scanner for ultrasonic detection of a welding seam is used, the whole device is large, a workpiece to be detected is usually placed into the device for detection, and the later detection and maintenance of the installed workpiece are inconvenient; meanwhile, when the existing automatic ultrasonic scanning device for the welding line is used, the ultrasonic scanner is usually always started, so that the waste of electric quantity is large, and the device is inconvenient to use for a long time.
The invention relates to a scanning device for ultrasonic detection of a small-diameter pipe, which has the purpose and the effect realized by the following specific technical scheme:
a scanning device for ultrasonic detection of a small-diameter pipe comprises an installation mechanism, wherein two climbing mechanisms are installed on the upper side and the lower side of the rear end of the installation mechanism, the front ends of sliding pieces of the climbing mechanisms are connected with an installation piece of the installation mechanism through sliding rods, and the front ends of fixing pieces of the climbing mechanisms are connected with the installation piece through the sliding rods; the front end of the mounting mechanism is provided with a supporting mechanism, a supporting piece of the supporting mechanism is fixedly connected with the mounting piece through a screw, and a scanning piece is arranged on the supporting piece; the rear end of the supporting mechanism is provided with a contact mechanism, and an elastic part of the contact mechanism is fixedly connected with the supporting part through a screw.
Further, the installation mechanism includes:
the mounting piece is a rectangular box body, and a rectangular groove is formed in the mounting piece; the upper side and the lower side of the inside of the mounting piece are respectively provided with two sliding rods, a rectangular through hole is formed above the mounting piece, and the front end of the mounting piece is provided with four screw holes;
the battery, the battery adopts lithium electricity material, and the battery is installed inside the rectangular channel of installed part.
Further, the climbing mechanism comprises:
the sliding part is of a semicircular plate-shaped structure, and a rectangular bulge is arranged on the outer side of the sliding part; a plurality of inclined cylindrical grooves are formed in the inner surface of the sliding part, and circular through holes are formed in the upper side and the lower side of each cylindrical groove of the sliding part; the front end of the sliding piece is provided with a rectangular plate-shaped bulge, and the left side of the sliding piece is provided with a columnar bulge; two circular through holes are formed in the rectangular plate-shaped bulges of the sliding piece, and a sliding rod of the mounting piece is inserted into the circular through holes of the sliding piece;
the rolling piece A is an inclined columnar structure, the number of the inclined columnar structures is the same as that of inclined columnar grooves in the inner surface of the sliding piece, and the rolling piece A is inserted into the inclined columnar grooves of the sliding piece; the upper side and the lower side of the rolling part A are provided with rotating shafts, and the rotating shafts of the rolling part A are inserted into the through holes of the cylindrical grooves of the sliding part;
the fixing piece is of an arc-shaped plate structure, and a rectangular groove is formed in the inner surface of the fixing piece; the front end of the fixing piece is provided with a rectangular plate-shaped bulge, and three circular through holes are formed in the rectangular plate-shaped bulge of the fixing piece; the cylindrical bulge of the sliding part is inserted into the circular through hole of the fixed part, and the fixed part is connected with the sliding part through a spring; a handle is arranged above the fixing piece and penetrates through the rectangular through hole above the mounting piece;
the rolling part B is of a columnar structure, rotating shafts are arranged on the left side and the right side of the rolling part B, and the rolling part B is inserted into the rectangular groove of the fixing part;
the driving part adopts a motor, and a rotating shaft of the driving part is connected with a rotating shaft above the rolling part A through a gear box.
Six cylindrical grooves with inclination angles of thirty degrees are formed in the inner surface of the sliding piece (201).
Further, the supporting mechanism comprises:
the support piece is of an L-shaped sheet metal structure, four screw holes are formed in the front end of the support piece, and T-shaped bulges are formed in the upper surface and the lower surface of the interior of the support piece; the rear end of the supporting piece is provided with a plate-shaped bulge, a rectangular through hole is formed in the plate-shaped bulge of the supporting piece, and two screw holes are formed in the plate-shaped bulge of the supporting piece;
the scanning piece adopts an ultrasonic detector, the front end of the scanning piece is provided with a lead, and the lead of the scanning piece is inserted into the rectangular through hole of the supporting piece;
the rear end of the display is provided with a rectangular bulge, and the upper side and the lower side of the rectangular bulge of the display are provided with T-shaped grooves; the T-shaped bulge of the supporting piece is inserted into the T-shaped groove of the display, and the rear end of the display is connected with the lead of the scanning piece.
Further, the contact mechanism includes:
the elastic piece is of an arc-shaped plate-shaped structure, and a rectangular plate-shaped bulge is arranged at the rear end of the elastic piece; rectangular bulges are arranged on the upper and lower sides of the rectangular plate-shaped bulge of the elastic piece, and a circular through hole is formed in the rectangular bulge of the elastic piece; a rectangular through hole is formed in the rectangular plate-shaped bulge of the elastic piece, and the left and right scanning pieces are inserted into the rectangular through hole of the elastic piece;
the contact piece is of a columnar structure and is connected with the elastic piece through the rotating shaft.
Compared with the prior art, the invention has the following beneficial effects:
1. the device is provided with the climbing mechanism, a sliding part and a fixing part of the climbing mechanism are connected through an extension spring, so that the device can be integrally clamped on a workpiece to be detected, a rolling part A is arranged inside the sliding part of the climbing mechanism, the rolling part A is at an angle of thirty degrees relative to the sliding part, and the rolling part A can roll under the driving of a driving part motor, so that the device can integrally slide on the workpiece to be detected, and further, when the workpiece to be detected is fixed, the device can conveniently detect a welding seam at a higher position of the workpiece to be detected, meanwhile, the device is small in whole and convenient to carry, not only can detect the welding seam of the unused workpiece to be detected, but also can conveniently overhaul and maintain the welding seam of the workpiece after installation;
2. in this device, contact mechanism has been set up, contact mechanism's elastic component can make the contact member hug closely the surface of the work piece that awaits measuring all the time, when meetting the welding seam, can make the elastic component bounce, convey the signal of telecommunication to the scanning piece, make the scanning piece start working from the standby state, scan the welding seam and detect, then handle the data that the scanning reachs, and show through the display, through above mechanism, can just start working when this device contacts the welding seam, long when having improved the use of scanning piece fully, and the work efficiency is improved.
Drawings
Fig. 1 is a schematic perspective view of the present invention.
Fig. 2 is a schematic view of the internal part structure of the present invention.
Fig. 3 is a rear view of the internal components of the present invention.
Fig. 4 is a partially enlarged structural view of the present invention at a shown in fig. 2.
Fig. 5 is a partial enlarged structural view at B of fig. 2 according to the present invention.
In the drawings, the corresponding relationship between the component names and the reference numbers is as follows:
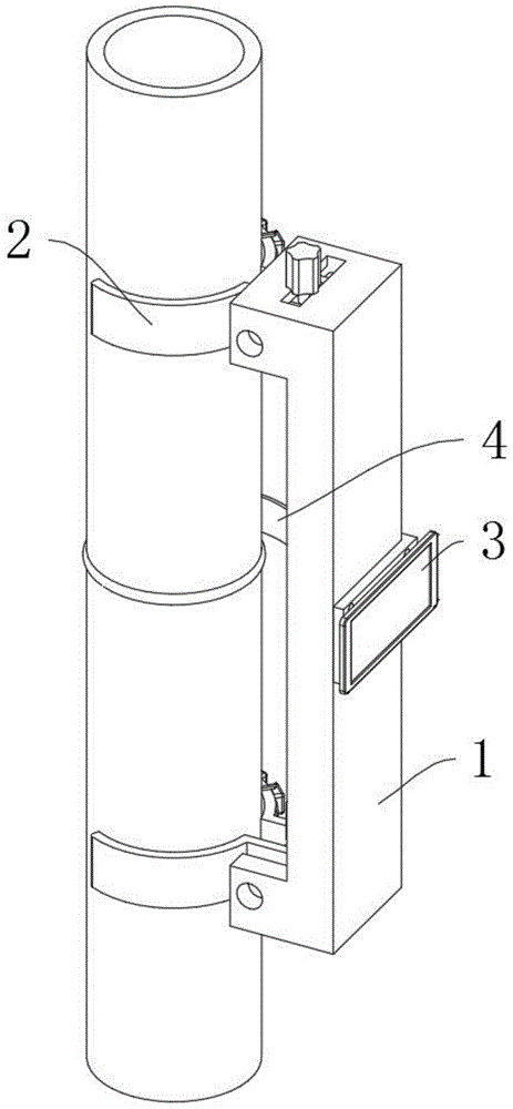
1. an installation mechanism;
101. a mounting member; 102. a battery;
2. a climbing mechanism;
201. a slider; 202. a rolling member A; 203. a fixing member; 204. a rolling member B; 205. a drive member;
3. a support mechanism;
301. a support member; 302. a scanning member; 303. a display;
4. a contact mechanism;
401. an elastic member; 402. a contact member.
Detailed Description
The embodiments of the present invention will be described in further detail with reference to the drawings and examples. The following examples are intended to illustrate the invention but are not intended to limit the scope of the invention.
In the description of the present invention, "a plurality" means two or more unless otherwise specified; the terms "upper", "lower", "left", "right", "inner", "outer", "front", "rear", "head", "tail", and the like, indicate orientations or positional relationships based on the orientations or positional relationships shown in the drawings, are only for convenience in describing and simplifying the description, and do not indicate or imply that the device or element referred to must have a particular orientation, be constructed in a particular orientation, and be operated, and thus, should not be construed as limiting the invention. Furthermore, the terms "first," "second," "third," and the like are used for descriptive purposes only and are not to be construed as indicating or implying relative importance.
In the description of the present invention, it is to be noted that, unless otherwise explicitly specified or limited, the terms "connected" and "connected" are to be interpreted broadly, e.g., as being fixed or detachable or integrally connected; can be mechanically or electrically connected; may be directly connected or indirectly connected through an intermediate. The specific meanings of the above terms in the present invention can be understood in specific cases to those skilled in the art.
Example (b):
as shown in figures 1 to 5:
the invention provides a scanning device for ultrasonic detection of a small-diameter pipe, which comprises: the climbing device comprises an installation mechanism 1, wherein two climbing mechanisms 2 are installed on the upper side and the lower side of the rear end of the installation mechanism 1, the front ends of sliding pieces 201 of the climbing mechanisms 2 are connected with an installation piece 101 of the installation mechanism 1 through sliding rods, and the front ends of fixing pieces 203 of the climbing mechanisms 2 are connected with the installation piece 101 through the sliding rods; the front end of the mounting mechanism 1 is provided with a supporting mechanism 3, and a supporting piece 301 of the supporting mechanism 3 is fixedly connected with the mounting piece 101 through a screw; the rear end of the supporting mechanism 3 is provided with a contact mechanism 4, and an elastic member 401 of the contact mechanism 4 is fixedly connected with the supporting member 301 through a screw.
As shown in fig. 3, the mounting mechanism 1 includes: the mounting piece 101 is a rectangular box body, and a rectangular groove is formed in the mounting piece 101; two sliding rods are respectively arranged on the upper side and the lower side inside the mounting piece 101, a rectangular through hole is formed above the mounting piece 101, and four screw holes are formed in the front end of the mounting piece 101; a battery 102, the battery 102 is made of a lithium battery material, and the battery 102 is mounted inside the rectangular groove of the mounting member 101.
As shown in fig. 2, the climbing mechanism 2 includes: the sliding piece 201 is of a semicircular plate-shaped structure, and a rectangular bulge is arranged on the outer side of the sliding piece 201; six cylindrical grooves with thirty-degree inclination angles are formed in the inner surface of the sliding part 201, and circular through holes are formed in the upper side and the lower side of each cylindrical groove of the sliding part 201; the front end of the sliding piece 201 is provided with a rectangular plate-shaped bulge, and the left side of the sliding piece 201 is provided with a columnar bulge; two circular through holes are formed in the rectangular plate-shaped protrusion of the sliding piece 201, and a sliding rod of the mounting piece 101 is inserted into the circular through hole of the sliding piece 201; the sliding part 201 comprises a sliding part A202, wherein the sliding part A202 is of a columnar structure with an inclination angle of thirty degrees, and six sliding parts A202 are inserted into six columnar grooves of the sliding part 201; the upper side and the lower side of the rolling element A202 are provided with rotating shafts, and the rotating shafts of the rolling element A202 are inserted into the through holes of the cylindrical grooves of the sliding element 201; the fixing piece 203 is of an arc-shaped plate structure, and a rectangular groove is formed in the inner surface of the fixing piece 203; a rectangular plate-shaped bulge is arranged at the front end of the fixing piece 203, and three circular through holes are formed in the rectangular plate-shaped bulge of the fixing piece 203; the cylindrical protrusion of the sliding part 201 is inserted into the circular through hole of the fixed part 203, and the fixed part 203 is connected with the sliding part 201 through a spring; a handle is arranged above the fixing piece 203, and the handle of the fixing piece 203 penetrates through the rectangular through hole above the mounting piece 101; the rolling member B204 is of a columnar structure, rotating shafts are arranged on the left side and the right side of the rolling member B204, and the rolling member B204 is inserted into the rectangular groove of the fixing member 203; a driving part 205, wherein the driving part 205 adopts a motor, and a rotating shaft of the driving part 205 is connected with a rotating shaft above the rolling part A202 through a gear box; the sliding part 201 and the fixing part 203 of the climbing mechanism 2 are connected through an extension spring, so that the device can be integrally clamped on a workpiece to be tested, a rolling part A202 is arranged inside the sliding part 201 of the climbing mechanism 2, the rolling part A202 forms a thirty-degree angle relative to the sliding part 201, and the rolling part A202 can roll under the driving of a motor of the driving part 205, so that the device can integrally slide on the workpiece to be tested.
As shown in fig. 2, the supporting mechanism 3 includes: the supporting piece 301 is of an L-shaped sheet metal structure, four screw holes are formed in the front end of the supporting piece 301, and T-shaped protrusions are formed in the upper surface and the lower surface of the inside of the supporting piece 301; a plate-shaped bulge is arranged at the rear end of the supporting piece 301, a rectangular through hole is formed in the plate-shaped bulge of the supporting piece 301, and two screw holes are formed in the plate-shaped bulge of the supporting piece 301; the scanning piece 302 is an ultrasonic detector, a lead is arranged at the front end of the scanning piece 302, and the lead of the scanning piece 302 is inserted into the rectangular through hole of the supporting piece 301; the display 303, the back end of the display 303 is provided with a rectangular bulge, and the upper and lower sides of the rectangular bulge of the display 303 are provided with T-shaped grooves; a T-shaped bulge of the supporting piece 301 is inserted into the T-shaped groove of the display 303, and the rear end of the display 303 is connected with a lead of the scanning piece 302; the scanning unit 302 starts to work from a standby state, scans and detects a welding seam, processes data obtained by scanning, and displays the data through the display 303.
As shown in fig. 2, the contact mechanism 4 includes: the elastic piece 401, the elastic piece 401 is an arc plate-shaped structure, and the rear end of the elastic piece 401 is provided with a rectangular plate-shaped bulge; rectangular bulges are arranged on the upper and lower sides of the rectangular plate-shaped bulge of the elastic part 401, and a circular through hole is formed in the rectangular bulge of the elastic part 401; a rectangular through hole is formed in the rectangular plate-shaped bulge of the elastic piece 401, and the left and right scanning pieces 302 are inserted into the rectangular through hole of the elastic piece 401; the contact piece 402 is of a columnar structure, and the contact piece 402 is connected with the elastic piece 401 through a rotating shaft; the elastic member 401 of the contact mechanism 4 can make the contact element 402 always cling to the surface of the workpiece to be measured, and can make the elastic member 401 bounce when meeting the welding seam.
When in use: the sliding part 201 and the fixing part 203 of the climbing mechanism 2 are connected through an extension spring, so that the device can be integrally clamped on a workpiece to be detected, the rolling part A202 is arranged inside the sliding part 201 of the climbing mechanism 2, the rolling part A202 forms a thirty-degree angle relative to the sliding part 201, the rolling part A202 can roll under the driving of the motor of the driving part 205, so that the device can integrally slide on the workpiece to be detected, and further, when the workpiece to be detected is fixed, the device can conveniently detect a welding seam at a higher position of the workpiece to be detected, meanwhile, the device is small in whole and convenient to carry, not only can detect the welding seam of the unused workpiece to be detected, but also can conveniently overhaul and maintain the welding seam of the workpiece after installation; this device removes on the work piece that awaits measuring, elastic component 401 of contact mechanism 4 can make contact member 402 hug closely the surface of the work piece that awaits measuring all the time, when meetting the welding seam, can make elastic component 401 bounce, convey the signal of telecommunication to scanning piece 302, make scanning piece 302 work from the standby state, scan the welding seam and detect, then handle the data that the scanning reachs, and show through display 303, through above mechanism, can just begin to work when this device contacts the welding seam, the length of time of use of scanning piece 302 has been improved fully, and the work efficiency is improved.
The embodiments of the present invention have been presented for purposes of illustration and description, and are not intended to be exhaustive or limited to the invention in the form disclosed. Many modifications and variations will be apparent to those of ordinary skill in the art. The embodiment was chosen and described in order to best explain the principles of the invention and the practical application, and to enable others of ordinary skill in the art to understand the invention for various embodiments with various modifications as are suited to the particular use contemplated.

Claims (7)

1. The utility model provides a small diameter tube ultrasonic testing is with scanning ware which characterized in that includes: the climbing mechanism comprises an installation mechanism (1), wherein two climbing mechanisms (2) are installed on the upper side and the lower side of the rear end of the installation mechanism (1), the front ends of sliding pieces (201) of the climbing mechanisms (2) are connected with an installation piece (101) of the installation mechanism (1) through sliding rods, and the front ends of fixing pieces (203) of the climbing mechanisms (2) are connected with the installation piece (101) through the sliding rods; the front end of the mounting mechanism (1) is provided with a supporting mechanism (3), a supporting piece (301) of the supporting mechanism (3) is fixedly connected with the mounting piece (101) through a screw, and a scanning piece (302) is arranged on the supporting piece (301); the rear end of the supporting mechanism (3) is provided with a contact mechanism (4), and an elastic part (401) of the contact mechanism (4) is fixedly connected with the supporting part (301) through a screw; when the workpiece to be detected moves and meets a weld joint, the elastic part 401 is bounced to transmit an electric signal to the scanning part 302, so that the scanning part 302 starts to work from a standby state to scan and detect the weld joint.
2. The ultrasonic testing scanner for the small-diameter pipes as claimed in claim 1, wherein the mounting mechanism (1) comprises:
the mounting piece (101), the mounting piece (101) is a rectangular box body, and a rectangular groove is formed in the mounting piece (101); two sliding rods are respectively arranged on the upper side and the lower side of the interior of the mounting piece (101), a rectangular through hole is formed above the mounting piece (101), and four screw holes are formed in the front end of the mounting piece (101);
the battery (102), the battery (102) adopts the lithium electricity material, and the battery (102) is installed in the rectangular groove inside of installation spare (101).
3. The scanner for ultrasonic testing of small-diameter pipes according to claim 1, wherein the climbing mechanism (2) comprises:
the sliding piece (201), the sliding piece (201) is a semicircular plate-shaped structure, and the outer side of the sliding piece (201) is provided with a rectangular bulge; a plurality of inclined cylindrical grooves are formed in the inner surface of the sliding part (201), and circular through holes are formed in the upper side and the lower side of each cylindrical groove of the sliding part (201); the front end of the sliding piece (201) is provided with a rectangular plate-shaped bulge, and the left side of the sliding piece (201) is provided with a columnar bulge; two circular through holes are formed in the rectangular plate-shaped protrusion of the sliding piece (201), and a sliding rod of the mounting piece (101) is inserted into the circular through hole of the sliding piece (201);
the rolling part A (202), the rolling part A (202) is an inclined columnar structure, the number of the inclined columnar structures is the same as that of inclined columnar grooves on the inner surface of the sliding part (201), and the rolling part A (202) is inserted into the inclined columnar grooves of the sliding part (201); rotating shafts are arranged on the upper side and the lower side of the rolling part A (202), and the rotating shafts of the rolling part A (202) are inserted into through holes of cylindrical grooves of the sliding part (201);
the fixing piece (203), the fixing piece (203) is an arc-shaped plate-shaped structure, and the inner surface of the fixing piece (203) is provided with a rectangular groove; a rectangular plate-shaped bulge is arranged at the front end of the fixing piece (203), and three circular through holes are formed in the rectangular plate-shaped bulge of the fixing piece (203); the cylindrical protrusion of the sliding piece (201) is inserted into the circular through hole of the fixed piece (203), and the fixed piece (203) is connected with the sliding piece (201) through a spring;
the rolling part B (204), the rolling part B (204) is a columnar structure, rotating shafts are arranged on the left side and the right side of the rolling part B (204), and the rolling part B (204) is inserted into the rectangular groove of the fixing part (203);
the driving part (205) adopts a motor, and a rotating shaft of the driving part (205) is connected with a rotating shaft above the rolling part A (202) through a gear box.
4. The ultrasonic testing scanner for the small-diameter pipes according to claim 3, wherein a handle is provided above the fixing member (203), and the handle of the fixing member (203) passes through the rectangular through hole above the mounting member (101).
5. The ultrasonic testing scanner for the small-diameter pipes as claimed in claim 3, wherein the inner surface of the sliding member (201) is provided with six cylindrical grooves having an inclination angle of thirty degrees.
6. The ultrasonic testing scanner for the small-diameter pipes according to claim 1, wherein the supporting mechanism (3) comprises:
the supporting piece (301) is of an L-shaped sheet metal structure, four screw holes are formed in the front end of the supporting piece (301), and T-shaped protrusions are formed in the upper surface and the lower surface of the inner portion of the supporting piece (301); the rear end of the supporting piece (301) is provided with a plate-shaped bulge, a rectangular through hole is formed in the plate-shaped bulge of the supporting piece (301), and two screw holes are formed in the plate-shaped bulge of the supporting piece (301);
the scanning piece (302) adopts an ultrasonic detector, the front end of the scanning piece (302) is provided with a lead, and the lead of the scanning piece (302) is inserted into the rectangular through hole of the supporting piece (301);
the rear end of the display (303) is provided with a rectangular bulge, and the upper side and the lower side of the rectangular bulge of the display (303) are provided with T-shaped grooves; t-shaped bulges of the supporting piece (301) are inserted into the T-shaped groove of the display (303), and the rear end of the display (303) is connected with a lead of the scanning piece (302).
7. The ultrasonic testing scanner for the small-diameter tube according to claim 1, wherein the contact mechanism (4) comprises:
the elastic piece (401), the elastic piece (401) is an arc plate-shaped structure, and the rear end of the elastic piece (401) is provided with a rectangular plate-shaped bulge; rectangular bulges are arranged on the upper and lower sides of the rectangular plate-shaped bulge of the elastic piece (401), and a circular through hole is formed in the rectangular bulge of the elastic piece (401); a rectangular through hole is formed in the rectangular plate-shaped bulge of the elastic piece (401), and the scanning piece (302) is inserted into the rectangular through hole of the elastic piece (401);
the contact piece (402), the contact piece (402) is a columnar structure, and the contact piece (402) is connected with the elastic piece (401) through a rotating shaft.
CN202110692348.1A 2021-06-22 2021-06-22 A scanner for ultrasonic testing of small diameter pipes Active CN113252798B (en)

Priority Applications (1)

Application Number Priority Date Filing Date Title
CN202110692348.1A CN113252798B (en) 2021-06-22 2021-06-22 A scanner for ultrasonic testing of small diameter pipes

Applications Claiming Priority (1)

Application Number Priority Date Filing Date Title
CN202110692348.1A CN113252798B (en) 2021-06-22 2021-06-22 A scanner for ultrasonic testing of small diameter pipes

Publications (2)

Publication Number Publication Date
CN113252798A true CN113252798A (en) 2021-08-13
CN113252798B CN113252798B (en) 2025-01-21

Family

ID=77189195

Family Applications (1)

Application Number Title Priority Date Filing Date
CN202110692348.1A Active CN113252798B (en) 2021-06-22 2021-06-22 A scanner for ultrasonic testing of small diameter pipes

Country Status (1)

Country Link
CN (1) CN113252798B (en)

Citations (13)

* Cited by examiner, † Cited by third party
Publication number Priority date Publication date Assignee Title
KR20000003652A (en) * 1998-06-29 2000-01-25 최병구 Apparatus for automatically testing ultrasonic wave to test a weld bead
US20070186671A1 (en) * 2004-07-19 2007-08-16 Unversity Of Virginia Patent Foundation High mast inspection system, equipment and method
KR20130003794A (en) * 2011-07-01 2013-01-09 한전케이피에스 주식회사 A measuring scanner for smallbore piping socket weld joint gap
CN106770684A (en) * 2016-11-17 2017-05-31 江苏方天电力技术有限公司 Special piece butt weld ultrasound detection automatic scanning device and detection method
CN206710388U (en) * 2017-05-19 2017-12-05 湘潭宏远电子科技有限公司 The ultrasonic wave detecting system of small diameter tube outside weld sliding block angle welding
CN109406634A (en) * 2018-12-21 2019-03-01 核动力运行研究所 A kind of probe laminating apparatus for weld seam detection
US20190150895A1 (en) * 2015-08-25 2019-05-23 SoftProbe Medical Systems, Inc. Fully automatic ultrasonic scanner and scan detection method
CN210690489U (en) * 2019-09-23 2020-06-05 中国长江电力股份有限公司 Nondestructive testing robot device for rod and pipe defects
CN211318453U (en) * 2019-12-30 2020-08-21 广西交通科学研究院有限公司 Self-adaptive detection device for grouting compactness of prestressed duct of bridge
CN212077619U (en) * 2020-03-18 2020-12-04 广州大广高速公路有限公司 Automatic climbing device for detecting height
CN112147220A (en) * 2020-09-02 2020-12-29 中石化工建设有限公司 Nondestructive testing device for internal defects of concrete member
CN112240908A (en) * 2020-10-27 2021-01-19 西安热工研究院有限公司 Phased array ultrasonic detection device for small-diameter pipe weld joint and working method thereof
CN216955873U (en) * 2021-06-22 2022-07-12 西安热工研究院有限公司 Scanning device for ultrasonic detection of small-diameter pipe

Patent Citations (13)

* Cited by examiner, † Cited by third party
Publication number Priority date Publication date Assignee Title
KR20000003652A (en) * 1998-06-29 2000-01-25 최병구 Apparatus for automatically testing ultrasonic wave to test a weld bead
US20070186671A1 (en) * 2004-07-19 2007-08-16 Unversity Of Virginia Patent Foundation High mast inspection system, equipment and method
KR20130003794A (en) * 2011-07-01 2013-01-09 한전케이피에스 주식회사 A measuring scanner for smallbore piping socket weld joint gap
US20190150895A1 (en) * 2015-08-25 2019-05-23 SoftProbe Medical Systems, Inc. Fully automatic ultrasonic scanner and scan detection method
CN106770684A (en) * 2016-11-17 2017-05-31 江苏方天电力技术有限公司 Special piece butt weld ultrasound detection automatic scanning device and detection method
CN206710388U (en) * 2017-05-19 2017-12-05 湘潭宏远电子科技有限公司 The ultrasonic wave detecting system of small diameter tube outside weld sliding block angle welding
CN109406634A (en) * 2018-12-21 2019-03-01 核动力运行研究所 A kind of probe laminating apparatus for weld seam detection
CN210690489U (en) * 2019-09-23 2020-06-05 中国长江电力股份有限公司 Nondestructive testing robot device for rod and pipe defects
CN211318453U (en) * 2019-12-30 2020-08-21 广西交通科学研究院有限公司 Self-adaptive detection device for grouting compactness of prestressed duct of bridge
CN212077619U (en) * 2020-03-18 2020-12-04 广州大广高速公路有限公司 Automatic climbing device for detecting height
CN112147220A (en) * 2020-09-02 2020-12-29 中石化工建设有限公司 Nondestructive testing device for internal defects of concrete member
CN112240908A (en) * 2020-10-27 2021-01-19 西安热工研究院有限公司 Phased array ultrasonic detection device for small-diameter pipe weld joint and working method thereof
CN216955873U (en) * 2021-06-22 2022-07-12 西安热工研究院有限公司 Scanning device for ultrasonic detection of small-diameter pipe

Also Published As

Publication number Publication date
CN113252798B (en) 2025-01-21

Similar Documents

Publication Publication Date Title
CN216955873U (en) Scanning device for ultrasonic detection of small-diameter pipe
CN109298077B (en) Nonrust steel pipe butt weld detection device
US20120060609A1 (en) Non-Destructive Inspection Scanning Apparatus And Non-Destructive Inspection Apparatus
CN210514178U (en) Pipe ultrasonic testing device
CN110907539B (en) Pipeline nondestructive inspection equipment
CN201060179Y (en) Aqueous medium ultrasonic inspection machine
CN215005141U (en) Automatic scanning device for ultrasonic phased array tube seat fillet weld detection
CN113252798A (en) Scanning device for ultrasonic detection of small-diameter pipe
CN204203170U (en) Dividing plate main weld detection system
CN209542519U (en) The ultrasonic scan imaging device of multifunction high-precision
CN109856240B (en) Multifunctional high-precision ultrasonic scanning imaging device
CN105717195A (en) Separator plate main welding line detection system and method
CN112986384B (en) Ultrasonic detection method for long and large longitudinal weld of semi-closed cavity
CN212904596U (en) Nondestructive testing device for steel pipe welding seam
CN220207532U (en) Pipeline flaw detection positioning device
CN221485315U (en) Portable bracket for adapting electromagnetic ultrasonic probe to move and detect workpiece
CN117074523B (en) An ultrasonic automatic detection device for girth welds of large equipment
CN203981635U (en) Measure the adjustable circular weld joint failure detector of radius
CN110530974B (en) Self-propelled nondestructive testing device for steel plate
CN216285068U (en) Ultrasonic steel pipe nondestructive inspection equipment
CN212693682U (en) Ultrasonic two-dimensional scanning automatic positioning device
CN214427527U (en) Transformer test machine
JP3723512B2 (en) Ultrasonic flaw detector and automatic flaw detector using the same
CN113447567B (en) Conventional ultrasonic and phased array probe scanning device
CN219915534U (en) A welding seam detection device

Legal Events

Date Code Title Description
PB01 Publication
PB01 Publication
SE01 Entry into force of request for substantive examination
SE01 Entry into force of request for substantive examination
GR01 Patent grant
GR01 Patent grant