CN113243980A - 一种心胸外科手术用穿刺器 - Google Patents

一种心胸外科手术用穿刺器 Download PDF

Info

Publication number
CN113243980A
CN113243980A CN202110713826.2A CN202110713826A CN113243980A CN 113243980 A CN113243980 A CN 113243980A CN 202110713826 A CN202110713826 A CN 202110713826A CN 113243980 A CN113243980 A CN 113243980A
Authority
CN
China
Prior art keywords
liquid
puncture
puncture outfit
main body
sealing cap
Prior art date
Legal status (The legal status is an assumption and is not a legal conclusion. Google has not performed a legal analysis and makes no representation as to the accuracy of the status listed.)
Pending
Application number
CN202110713826.2A
Other languages
English (en)
Inventor
黄涛
刘伟良
许建华
王勇
李俊彦
赵健良
张义均
Current Assignee (The listed assignees may be inaccurate. Google has not performed a legal analysis and makes no representation or warranty as to the accuracy of the list.)
321 Hospital
Original Assignee
321 Hospital
Priority date (The priority date is an assumption and is not a legal conclusion. Google has not performed a legal analysis and makes no representation as to the accuracy of the date listed.)
Filing date
Publication date
Application filed by 321 Hospital filed Critical 321 Hospital
Priority to CN202110713826.2A priority Critical patent/CN113243980A/zh
Publication of CN113243980A publication Critical patent/CN113243980A/zh
Pending legal-status Critical Current

Links

Images

Classifications

    • AHUMAN NECESSITIES
    • A61MEDICAL OR VETERINARY SCIENCE; HYGIENE
    • A61BDIAGNOSIS; SURGERY; IDENTIFICATION
    • A61B17/00Surgical instruments, devices or methods
    • A61B17/34Trocars; Puncturing needles
    • A61B17/3403Needle locating or guiding means
    • AHUMAN NECESSITIES
    • A61MEDICAL OR VETERINARY SCIENCE; HYGIENE
    • A61BDIAGNOSIS; SURGERY; IDENTIFICATION
    • A61B17/00Surgical instruments, devices or methods
    • A61B17/34Trocars; Puncturing needles
    • A61B17/3494Trocars; Puncturing needles with safety means for protection against accidental cutting or pricking, e.g. limiting insertion depth, pressure sensors

Landscapes

  • Health & Medical Sciences (AREA)
  • Surgery (AREA)
  • Life Sciences & Earth Sciences (AREA)
  • Biomedical Technology (AREA)
  • Nuclear Medicine, Radiotherapy & Molecular Imaging (AREA)
  • Engineering & Computer Science (AREA)
  • Pathology (AREA)
  • Heart & Thoracic Surgery (AREA)
  • Medical Informatics (AREA)
  • Molecular Biology (AREA)
  • Animal Behavior & Ethology (AREA)
  • General Health & Medical Sciences (AREA)
  • Public Health (AREA)
  • Veterinary Medicine (AREA)
  • Infusion, Injection, And Reservoir Apparatuses (AREA)

Abstract

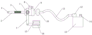
本发明属于医疗器械技术领域,尤其为一种心胸外科手术用穿刺器,包括穿刺器主体,所述穿刺器主体顶端安装有穿刺套管,所述穿刺器主体前表面安装有固定环,所述固定环右侧安装有连接转盘,所述连接转盘顶部安装有机械臂,所述穿刺器主体中间设置有注气阀,所述注气阀后面安装有密封帽,所述密封帽尾部设置有隔液舱,所述隔液舱后面安装有输液软管,所述输液软管尾部设置有吸液阀,所述吸液阀底部设置有集液箱;本发明的心胸外科手术用穿刺器,利用机械臂和固定板可以使穿刺器主体与手术台牢牢固定,利用防滑螺纹和固定环使穿刺器主体不会在手术位置滑动,利用隔液舱可防止积液回流,利用吸液阀和集液箱将积液进行无菌保存。

Description

一种心胸外科手术用穿刺器
技术领域
本发明属于医疗器械技术领域,具体涉及一种心胸外科手术用穿刺器。
背景技术
心胸外科包含了心脏外科和普胸外科的疾病,在心胸外科手术中,会用到穿刺技术,穿刺是将穿刺针刺入体腔抽取分泌物做化验,向体腔注入气体或造影剂做造影检查,因此心胸外科穿刺装置在医疗中较为常见,通过定位元件对穿刺器的位置进行限制定位,保证硬伤可以准确对患者心胸进行抽取积液。
原有的穿刺器在使用时,通常在穿刺后需要医生手持穿刺器进行操作,导致容易引发穿刺器晃动,增加患者痛苦的同时提高了医务人员的劳动强度,而且抽液完成后在取出针头时容易回流,影响手术效果。
发明内容
为解决现有技术中存在的上述问题,本发明提供了一种心胸外科手术用穿刺器,具有使用稳定、操作简单和提高手术效率的特点。
为实现上述目的,本发明提供如下技术方案:一种心胸外科手术用穿刺器,包括穿刺器主体,所述穿刺器主体顶端安装有穿刺套管,所述穿刺套管表面设置有防滑螺纹,所述穿刺套管内部设置有穿刺针,所述穿刺器主体前表面安装有固定环,所述固定环右侧安装有连接转盘,所述连接转盘顶部安装有机械臂,所述机械臂顶端设置有固定板,所述固定板底部安装有夹板,所述穿刺器主体中间设置有注气阀,所述注气阀后面安装有密封帽,所述密封帽尾部设置有隔液舱,所述隔液舱后面安装有输液软管,所述输液软管尾部设置有吸液阀,所述吸液阀底部设置有集液箱,所述集液箱顶部还设置有抽液口。
作为本发明的一种优选技术方案,所述穿刺针底端安装在所述密封帽顶部,所述密封帽可将所述穿刺针从所述穿刺套管中拔出。
作为本发明的一种优选技术方案,所述固定环可利用所述连接转盘使所述穿刺器主体旋转调节,所述机械臂可弯曲调整所述穿刺器主体的位置。
作为本发明的一种优选技术方案,所述固定板和所述夹板上都设置有螺孔,所述固定板和所述夹板利用所述螺孔螺纹连接并与手术台固定。
作为本发明的一种优选技术方案,所述隔液舱内部设置有单向阀,当所述穿刺针吸液时所述隔液舱内部单向阀受压开启。
作为本发明的一种优选技术方案,所述集液箱内部为封闭的无菌空间。
作为本发明的一种优选技术方案,所述抽液口可利用医用注射针管将液体吸出。
与现有技术相比,本发明的有益效果是:本发明的心胸外科手术用穿刺器,利用机械臂和固定板可以很方便的使穿刺器主体与手术台牢牢固定,减少了医务人员的劳动强度,提高了手术效率,利用防滑螺纹和固定环使穿刺器主体不会在手术位置滑动,保证了手术时穿刺器的稳定性,减少了患者的痛苦,方便医务人员进行手术操作,利用隔液舱可防止吸出的积液回流,保证了手术效果,利用吸液阀和集液箱将积液收集起来并进行无菌保存,方便了后续的化验,保证了治疗的严谨性。
附图说明
附图用来提供对本发明的进一步理解,并且构成说明书的一部分,与本发明的实施例一起用于解释本发明,并不构成对本发明的限制。在附图中:
图1为本发明的结构示意图;
图2为本发明中的轴侧结构示意图;
图3为本发明中的底部结构示意图;
图4为本发明中的右侧结构示意图;
图5为本发明中的尾部结构示意图;
图中:1、穿刺器主体;2、穿刺套管;3、防滑螺纹;4、穿刺针;5、固定环;6、连接转盘;7、机械臂;8、注气阀;9、密封帽;10、隔液舱;11、输液软管;12、吸液阀;13、集液箱;14、抽液口;15、固定板;16、夹板;17、螺孔。
具体实施方式
下面将结合本发明实施例中的附图,对本发明实施例中的技术方案进行清楚、完整地描述,显然,所描述的实施例仅仅是本发明一部分实施例,而不是全部的实施例。基于本发明中的实施例,本领域普通技术人员在没有做出创造性劳动前提下所获得的所有其他实施例,都属于本发明保护的范围。
实施例
请参阅图1-图5,本发明提供以下技术方案:一种心胸外科手术用穿刺器,包括穿刺器主体1,穿刺器主体1顶端安装有穿刺套管2,穿刺套管2表面设置有防滑螺纹3,穿刺套管2内部设置有穿刺针4,穿刺器主体1前表面安装有固定环5,固定环5右侧安装有连接转盘6,连接转盘6顶部安装有机械臂7,机械臂7顶端设置有固定板15,固定板15底部安装有夹板16,穿刺器主体1中间设置有注气阀8,注气阀8后面安装有密封帽9,密封帽9尾部设置有隔液舱10,隔液舱10后面安装有输液软管11,输液软管11尾部设置有吸液阀12,吸液阀12底部设置有集液箱13,集液箱13顶部还设置有抽液口14,在使用时,先将机械臂7利用固定板15和夹板16与手术台连接固定,再利用机械臂7和连接转盘6将穿刺器主体1与手术位置对准后进行穿刺,利用防滑螺纹3使穿刺器主体1不会从手术位置滑动,机械臂7保证了整体结构的稳定,方便医疗人员进行后续操作,再利用穿刺针4和吸液阀12将患者体内的积液通过输液软管11吸入集液箱13,十分方便,然后将穿刺针4利用密封帽9从穿刺器主体1拔出,拔出时利用隔夜舱10可防止积液倒流,之后将医疗气体通过注气阀8注入患者体内,保证了后续的手术和治疗方案,积液可利用医疗注射针管从抽液口14抽出,方便医疗人员进行化验。
具体的,根据附图1和附图4所示,本实施例中,穿刺针4底端安装在密封帽9顶部,密封帽9可将穿刺针4从穿刺套管2中拔出,方便了手术的后续进行。
具体的,根据附图1和附图2所示,本实施例中,固定环5可利用连接转盘6使穿刺器主体1旋转调节,机械臂7可弯曲调整穿刺器主体1的位置,保证了穿刺器主体1对手术环境的适应性。
具体的,根据附图1和附图3所示,本实施例中,固定板15和夹板16上都设置有螺孔17,固定板15和夹板16利用螺孔17螺纹连接并与手术台固定,保证了穿刺器主体1在手术台上的稳定性。
具体的,根据附图1和附图2所示,本实施例中,隔液舱10内部设置有单向阀,当穿刺针4吸液时隔液舱10内部单向阀受压开启,防止了抽出的积液倒流。
具体的,根据附图1和附图2所示,本实施例中,集液箱13内部为封闭的无菌空间,保证了抽出的积液不会被细菌感染。
具体的,根据附图1和附图2所示,本实施例中,抽液口14可利用医用注射针管将液体吸出,方便了医疗人员进行后续的化验。
本发明的工作原理及使用流程:本发明的心胸外科手术用穿刺器,在使用时,先将机械臂7利用固定板15和夹板16与手术台连接固定,再利用机械臂7和连接转盘6将穿刺器主体1与手术位置对准后进行穿刺,利用防滑螺纹3使穿刺器主体1不会从手术位置滑动,机械臂7保证了整体结构的稳定,方便医疗人员进行后续操作,再利用穿刺针4和吸液阀12将患者体内的积液通过输液软管11吸入集液箱13,十分方便,然后将穿刺针4利用密封帽9从穿刺器主体1拔出,拔出时利用隔夜舱10可防止积液倒流,之后将医疗气体通过注气阀8注入患者体内,保证了后续的手术和治疗方案,积液可利用医疗注射针管从抽液口14抽出,方便医疗人员进行化验。
最后应说明的是:以上所述仅为本发明的优选实施例而已,并不用于限制本发明,尽管参照前述实施例对本发明进行了详细的说明,对于本领域的技术人员来说,其依然可以对前述各实施例所记载的技术方案进行修改,或者对其中部分技术特征进行等同替换。凡在本发明的精神和原则之内,所作的任何修改、等同替换、改进等,均应包含在本发明的保护范围之内。

Claims (7)

1.一种心胸外科手术用穿刺器,包括穿刺器主体(1),其特征在于:所述穿刺器主体(1)顶端安装有穿刺套管(2),所述穿刺套管(2)表面设置有防滑螺纹(3),所述穿刺套管(2)内部设置有穿刺针(4),所述穿刺器主体(1)前表面安装有固定环(5),所述固定环(5)右侧安装有连接转盘(6),所述连接转盘(6)顶部安装有机械臂(7),所述机械臂(7)顶端设置有固定板(15),所述固定板(15)底部安装有夹板(16),所述穿刺器主体(1)中间设置有注气阀(8),所述注气阀(8)后面安装有密封帽(9),所述密封帽(9)尾部设置有隔液舱(10),所述隔液舱(10)后面安装有输液软管(11),所述输液软管(11)尾部设置有吸液阀(12),所述吸液阀(12)底部设置有集液箱(13),所述集液箱(13)顶部还设置有抽液口(14)。
2.根据权利要求1所述的一种心胸外科手术用穿刺器,其特征在于:所述穿刺针(4)底端安装在所述密封帽(9)顶部,所述密封帽(9)可将所述穿刺针(4)从所述穿刺套管(2)中拔出。
3.根据权利要求1所述的一种心胸外科手术用穿刺器,其特征在于:所述固定环(5)可利用所述连接转盘(6)使所述穿刺器主体(1)旋转调节,所述机械臂(7)可弯曲调整所述穿刺器主体(1)的位置。
4.根据权利要求1所述的一种心胸外科手术用穿刺器,其特征在于:所述固定板(15)和所述夹板(16)上都设置有螺孔(17),所述固定板(15)和所述夹板(16)利用所述螺孔(17)螺纹连接并与手术台固定。
5.根据权利要求1所述的一种心胸外科手术用穿刺器,其特征在于:所述隔液舱(10)内部设置有单向阀,当所述穿刺针(4)吸液时所述隔液舱(10)内部单向阀受压开启。
6.根据权利要求1所述的一种心胸外科手术用穿刺器,其特征在于:所述集液箱(13)内部为封闭的无菌空间。
7.根据权利要求1所述的一种心胸外科手术用穿刺器,其特征在于:所述抽液口(14)可利用医用注射针管将液体吸出。
CN202110713826.2A 2021-06-26 2021-06-26 一种心胸外科手术用穿刺器 Pending CN113243980A (zh)

Priority Applications (1)

Application Number Priority Date Filing Date Title
CN202110713826.2A CN113243980A (zh) 2021-06-26 2021-06-26 一种心胸外科手术用穿刺器

Applications Claiming Priority (1)

Application Number Priority Date Filing Date Title
CN202110713826.2A CN113243980A (zh) 2021-06-26 2021-06-26 一种心胸外科手术用穿刺器

Publications (1)

Publication Number Publication Date
CN113243980A true CN113243980A (zh) 2021-08-13

Family

ID=77189735

Family Applications (1)

Application Number Title Priority Date Filing Date
CN202110713826.2A Pending CN113243980A (zh) 2021-06-26 2021-06-26 一种心胸外科手术用穿刺器

Country Status (1)

Country Link
CN (1) CN113243980A (zh)

Cited By (1)

* Cited by examiner, † Cited by third party
Publication number Priority date Publication date Assignee Title
CN120242199A (zh) * 2025-06-05 2025-07-04 中国人民解放军联勤保障部队第九二〇医院 一种颅脑爆震伤模型建立用开颅吸引装置

Citations (6)

* Cited by examiner, † Cited by third party
Publication number Priority date Publication date Assignee Title
CN209574760U (zh) * 2019-01-02 2019-11-05 重庆金山医疗机器人有限公司 医用穿刺器的锁紧机构
CN110755698A (zh) * 2019-08-16 2020-02-07 柳州市人民医院 一种腹腔穿刺引流装置
CN111012458A (zh) * 2020-02-26 2020-04-17 夏喜明 一种医用内科抽液装置
CN210962232U (zh) * 2019-07-22 2020-07-10 贵州省人民医院 一种兼具b超探头固定结构的肾穿刺定位装置
CN211862918U (zh) * 2019-12-17 2020-11-06 常鹏 一种新型胸外科穿刺器
CN112641494A (zh) * 2021-01-11 2021-04-13 陈淑花 一种心胸外科手术用穿刺器

Patent Citations (6)

* Cited by examiner, † Cited by third party
Publication number Priority date Publication date Assignee Title
CN209574760U (zh) * 2019-01-02 2019-11-05 重庆金山医疗机器人有限公司 医用穿刺器的锁紧机构
CN210962232U (zh) * 2019-07-22 2020-07-10 贵州省人民医院 一种兼具b超探头固定结构的肾穿刺定位装置
CN110755698A (zh) * 2019-08-16 2020-02-07 柳州市人民医院 一种腹腔穿刺引流装置
CN211862918U (zh) * 2019-12-17 2020-11-06 常鹏 一种新型胸外科穿刺器
CN111012458A (zh) * 2020-02-26 2020-04-17 夏喜明 一种医用内科抽液装置
CN112641494A (zh) * 2021-01-11 2021-04-13 陈淑花 一种心胸外科手术用穿刺器

Cited By (1)

* Cited by examiner, † Cited by third party
Publication number Priority date Publication date Assignee Title
CN120242199A (zh) * 2025-06-05 2025-07-04 中国人民解放军联勤保障部队第九二〇医院 一种颅脑爆震伤模型建立用开颅吸引装置

Similar Documents

Publication Publication Date Title
US7662110B2 (en) Devices for collecting blood and administering medical fluids
CN209019538U (zh) 一种腹腔穿刺抽液装置
CN113243980A (zh) 一种心胸外科手术用穿刺器
CN201591899U (zh) 可抽血的留置针座
CN215458481U (zh) 一种呼吸内科临床用胸腔穿刺装置
CN111904563A (zh) 一种肿瘤穿刺针
CN208943089U (zh) 动静脉留置针真空采血装置
CN113892979B (zh) 一种肿瘤医用胰腺湿式负压穿刺针及其使用方法
CN213789148U (zh) 一种肿瘤科用积液引流装置
CN206391243U (zh) 肿瘤积液抽吸装置
CN214105466U (zh) 一种输液针头
CN210843343U (zh) 一种方便分离肿瘤的肿瘤取样装置
CN209187860U (zh) 一种穿刺引流装置
CN215688312U (zh) 一种肿瘤科用介入穿刺装置
CN210521016U (zh) 一种心胸外科临床用穿刺装置
CN201558361U (zh) 一种肿瘤吸取器
CN209075610U (zh) 一种穿刺引流装置
CN207306969U (zh) 脑脊液收集装置
CN202005912U (zh) 一种胸腔抽液器
CN112138225A (zh) 一次性医用皮下积液引流器
CN211131097U (zh) 一种内科临床治疗用穿刺装置
CN223601458U (zh) 一种适用于无针输液接头的采血器
CN219001331U (zh) 一次性过滤式消化液回输密闭式引流装置
CN213772029U (zh) 一种用于提取治疗肿瘤的自体免疫细胞装置
CN219071583U (zh) 一种改良留置针

Legal Events

Date Code Title Description
PB01 Publication
PB01 Publication
SE01 Entry into force of request for substantive examination
SE01 Entry into force of request for substantive examination
RJ01 Rejection of invention patent application after publication
RJ01 Rejection of invention patent application after publication

Application publication date: 20210813