CN113217701B - Double-safety anti-theft valve - Google Patents
Double-safety anti-theft valve Download PDFInfo
- Publication number
- CN113217701B CN113217701B CN202110578752.6A CN202110578752A CN113217701B CN 113217701 B CN113217701 B CN 113217701B CN 202110578752 A CN202110578752 A CN 202110578752A CN 113217701 B CN113217701 B CN 113217701B
- Authority
- CN
- China
- Prior art keywords
- magnetic
- magnetic block
- lock
- valve
- lock head
- Prior art date
- Legal status (The legal status is an assumption and is not a legal conclusion. Google has not performed a legal analysis and makes no representation as to the accuracy of the status listed.)
- Active
Links
- 239000012530 fluid Substances 0.000 claims abstract description 9
- 238000004891 communication Methods 0.000 claims abstract description 4
- 230000005389 magnetism Effects 0.000 claims abstract description 4
- 230000002093 peripheral effect Effects 0.000 claims description 3
- 230000001360 synchronised effect Effects 0.000 description 4
- 238000010586 diagram Methods 0.000 description 2
- 230000000423 heterosexual effect Effects 0.000 description 2
- 230000004888 barrier function Effects 0.000 description 1
- 230000009286 beneficial effect Effects 0.000 description 1
- 230000007547 defect Effects 0.000 description 1
- 238000000034 method Methods 0.000 description 1
- 238000012986 modification Methods 0.000 description 1
- 230000004048 modification Effects 0.000 description 1
- 239000003208 petroleum Substances 0.000 description 1
- 230000001681 protective effect Effects 0.000 description 1
- 239000000126 substance Substances 0.000 description 1
- 230000001960 triggered effect Effects 0.000 description 1
- XLYOFNOQVPJJNP-UHFFFAOYSA-N water Substances O XLYOFNOQVPJJNP-UHFFFAOYSA-N 0.000 description 1
Images
Classifications
-
- F—MECHANICAL ENGINEERING; LIGHTING; HEATING; WEAPONS; BLASTING
- F16—ENGINEERING ELEMENTS AND UNITS; GENERAL MEASURES FOR PRODUCING AND MAINTAINING EFFECTIVE FUNCTIONING OF MACHINES OR INSTALLATIONS; THERMAL INSULATION IN GENERAL
- F16K—VALVES; TAPS; COCKS; ACTUATING-FLOATS; DEVICES FOR VENTING OR AERATING
- F16K35/00—Means to prevent accidental or unauthorised actuation
-
- F—MECHANICAL ENGINEERING; LIGHTING; HEATING; WEAPONS; BLASTING
- F16—ENGINEERING ELEMENTS AND UNITS; GENERAL MEASURES FOR PRODUCING AND MAINTAINING EFFECTIVE FUNCTIONING OF MACHINES OR INSTALLATIONS; THERMAL INSULATION IN GENERAL
- F16K—VALVES; TAPS; COCKS; ACTUATING-FLOATS; DEVICES FOR VENTING OR AERATING
- F16K35/00—Means to prevent accidental or unauthorised actuation
- F16K35/16—Means to prevent accidental or unauthorised actuation with locking member actuated by magnet
-
- Y—GENERAL TAGGING OF NEW TECHNOLOGICAL DEVELOPMENTS; GENERAL TAGGING OF CROSS-SECTIONAL TECHNOLOGIES SPANNING OVER SEVERAL SECTIONS OF THE IPC; TECHNICAL SUBJECTS COVERED BY FORMER USPC CROSS-REFERENCE ART COLLECTIONS [XRACs] AND DIGESTS
- Y02—TECHNOLOGIES OR APPLICATIONS FOR MITIGATION OR ADAPTATION AGAINST CLIMATE CHANGE
- Y02E—REDUCTION OF GREENHOUSE GAS [GHG] EMISSIONS, RELATED TO ENERGY GENERATION, TRANSMISSION OR DISTRIBUTION
- Y02E60/00—Enabling technologies; Technologies with a potential or indirect contribution to GHG emissions mitigation
- Y02E60/10—Energy storage using batteries
Landscapes
- Engineering & Computer Science (AREA)
- General Engineering & Computer Science (AREA)
- Mechanical Engineering (AREA)
- Preventing Unauthorised Actuation Of Valves (AREA)
Abstract
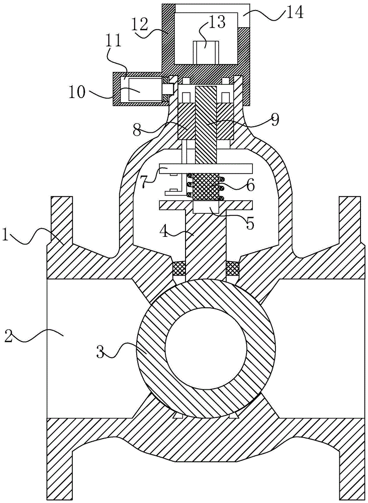
本发明提出一种双保险防盗开阀门,包括阀体,所述阀体内开设有贯通的流体通道,所述流体通道内转动安装有带有连通孔的阀球,所述阀球的顶部固定安装有阀杆,所述阀体的顶部转动安装有锁头,所述阀体内位于锁头和阀杆之间纵向滑动安装有磁块和磁柱,磁块与磁柱的磁性相反,所述磁柱穿设在所述磁块的中央处,所述磁柱的横截面为正多边形,磁块上开设有相同截面的穿孔,即磁柱相对于磁块纵向滑动,且磁块带动磁柱转动,所述磁块与锁头之间具有第三联动机构,该第三联动机构用于使磁块上移至最高位时与所述锁头结合并联动,当磁块位于最低位时,磁块与锁头脱离,所述磁柱远离锁头的一端固定安装有圆板,所述圆板与所述阀杆之间具有第一联动机构。
The present invention proposes a double-safety anti-theft opening valve, which includes a valve body, and a through-flow fluid channel is opened in the valve body, and a valve ball with a communication hole is rotatably installed in the fluid channel, and the top of the valve ball is fixedly installed. There is a valve stem, and a lock head is installed on the top of the valve body, and a magnetic block and a magnetic column are installed longitudinally sliding between the lock head and the valve stem in the valve body. The magnetism of the magnetic block is opposite to that of the magnetic column. The column is set in the center of the magnetic block, the cross section of the magnetic column is a regular polygon, and the magnetic block is provided with a perforation of the same section, that is, the magnetic column slides longitudinally relative to the magnetic block, and the magnetic block drives the magnetic column to rotate , there is a third linkage mechanism between the magnetic block and the lock head, and the third linkage mechanism is used to combine and link with the lock head when the magnetic block moves up to the highest position. When the magnetic block is at the lowest position, the magnetic block The block is separated from the lock head, and the end of the magnetic column away from the lock head is fixedly installed with a circular plate, and a first linkage mechanism is provided between the circular plate and the valve stem.
Description
技术领域technical field
本发明涉及一种阀门,特别涉及一种双保险防盗开阀门。The invention relates to a valve, in particular to a double-safety anti-theft opening valve.
背景技术Background technique
目前,球阀已经广泛的用于民用领域以及石油、化工等工业领域中。例如在民用领域中,球阀已成为住宅楼供水、燃气系统中不可缺少的控制部件。但现有的球阀在使用过程中却无法对其启闭操作加以限制,开、闭结构均突出在阀体外,无保护装置,易被破坏及偷开,并且任何能够接触到球阀的人都可以随意的开启或关闭,为了解决上述问题,专利号为201520640834.9的实用新型专利公开了一种磁性锁闭球阀,该球阀包括阀体以及设于阀体内的球芯与阀杆,阀杆内端与球芯相连,阀体上端具有连接部,阀杆外端向上伸出连接部上,手轮内侧设置有定位孔一,定位孔一内设有弹簧及磁块一,阀体的连接部上设有与定位孔一正对的定位孔二,在弹簧的弹力作用下磁块一的内端伸出手轮定部并伸入定位孔二内,该磁性锁闭球阀还包括能够连接于手轮上的钥匙,钥匙内对应设有与磁块一磁性相反的磁块二,阀体的连接部的上端外沿开设有呈现弧形的限位缺口,通过磁性锁头对球阀的阀杆进行限制开启,从而防止他人偷开,但其使用时仍然存在以下缺陷:At present, ball valves have been widely used in civil fields and industrial fields such as petroleum and chemical industry. For example, in the civil field, ball valves have become an indispensable control component in the water supply and gas systems of residential buildings. However, the existing ball valves cannot restrict their opening and closing operations during use. The opening and closing structures are protruding from the valve body without protective devices, so they are easy to be damaged and opened by stealing, and anyone who can touch the ball valve can It can be opened or closed at will. In order to solve the above problems, the utility model patent No. 201520640834.9 discloses a magnetic locking ball valve. The ball valve includes a valve body, a ball core and a valve stem arranged in the valve body. The ball cores are connected, the upper end of the valve body has a connecting part, the outer end of the valve stem protrudes upwards from the connecting part, a positioning hole 1 is arranged inside the hand wheel, and a spring and a magnetic block 1 are arranged in the positioning hole 1, and the connecting part of the valve body is provided with There is a positioning hole 2 facing the positioning hole 1. Under the elastic force of the spring, the inner end of the magnetic block 1 extends out of the fixed part of the hand wheel and extends into the positioning hole 2. The magnetic locking ball valve also includes a magnetic lock that can be connected to the hand wheel. The key is equipped with a magnetic block 2 which is magnetically opposite to the magnetic block 1. There is an arc-shaped limit gap on the outer edge of the upper end of the connecting part of the valve body, and the valve stem of the ball valve is restricted to open through the magnetic lock head. , so as to prevent others from stealing, but the following defects still exist in its use:
上述球阀只具备一级磁锁,且结构较为简单,因此,依然能够通过单级磁块进行开阀,其防盗等级较低。The above-mentioned ball valve has only one level of magnetic lock, and its structure is relatively simple. Therefore, the valve can still be opened by a single-level magnetic block, and its anti-theft level is low.
发明内容Contents of the invention
因此,针对上述的问题,本发明提出一种双保险防盗开阀门。Therefore, in view of the above problems, the present invention proposes a double insurance anti-theft opening valve.
为实现上述技术问题,本发明采取的解决方案为:双保险防盗开阀门,包括阀体,所述阀体内开设有贯通的流体通道,所述流体通道内转动安装有带有连通孔的阀球,所述阀球的顶部固定安装有阀杆,所述阀体的顶部转动安装有锁头,所述阀体内位于锁头和阀杆之间纵向滑动安装有磁块和磁柱,磁块与磁柱的磁性相反,所述磁柱穿设在所述磁块的中央处,所述磁柱的横截面为正多边形,磁块上开设有相同截面的穿孔,即磁柱相对于磁块纵向滑动,且磁块带动磁柱转动,所述磁块与锁头之间具有第三联动机构,该第三联动机构用于使磁块上移至最高位时与所述锁头结合并联动,当磁块位于最低位时,磁块与锁头脱离,所述磁柱远离锁头的一端固定安装有圆板,所述圆板与所述阀杆之间具有第一联动机构,所述第一联动机构用于使磁柱下移至低位时与阀杆结合并联动,磁柱上移至高位时与阀杆分离,所述圆板与阀杆之间设置有弹簧,该弹簧使磁柱向上顶起并保持在高位状态。In order to achieve the above technical problems, the solution adopted by the present invention is: double insurance anti-theft opening valve, including a valve body, the valve body is provided with a through fluid passage, and a valve ball with a communication hole is installed in the fluid passage , the top of the valve ball is fixedly installed with a valve stem, the top of the valve body is rotatably installed with a lock head, and the valve body is located between the lock head and the valve stem and is longitudinally slid to install a magnetic block and a magnetic column. The magnetism of the magnetic column is opposite, and the magnetic column is set in the center of the magnetic block. The cross section of the magnetic column is a regular polygon, and the magnetic block is provided with perforations with the same cross section, that is, the magnetic column is longitudinally opposite to the magnetic block. Sliding, and the magnetic block drives the magnetic column to rotate. There is a third linkage mechanism between the magnetic block and the lock head. The third linkage mechanism is used to combine and link with the lock head when the magnetic block moves up to the highest position. When the magnetic block is at the lowest position, the magnetic block is separated from the lock head, and the end of the magnetic column away from the lock head is fixedly equipped with a circular plate, and there is a first linkage mechanism between the circular plate and the valve stem. A linkage mechanism is used to make the magnetic column combine with the valve stem when it moves down to a low position, and separate from the valve stem when the magnetic column moves up to a high position. A spring is arranged between the disc and the valve stem, and the spring makes the magnetic column Jack up and hold high.
进一步改进的是:所述第一联动机构包括第一限位柱和第一限位孔,第一限位柱固定安装在圆板上,第一限位孔开设有所述阀杆的相应位置。A further improvement is: the first linkage mechanism includes a first limit post and a first limit hole, the first limit post is fixedly installed on the circular plate, and the first limit hole is provided with a corresponding position of the valve stem. .
进一步改进的是:所述第三联动机构包括第三限位柱和第三限位孔,所述第三限位柱固定安装在磁块上,所述第三限位孔开设有所述锁头上。A further improvement is that: the third linkage mechanism includes a third limit post and a third limit hole, the third limit post is fixedly installed on the magnetic block, and the third limit hole is provided with the lock on the head.
进一步改进的是:所述锁头内开设有锁库,所述锁库内装配有锁体,所述阀体的周侧开设有供所述锁体的锁舌插入的锁孔,还包括与所述锁体电连接用以控制锁体开关的开关装置,所述开关装置设置在所述磁块与所述圆板之间。A further improvement is: a lock storehouse is provided in the lock head, a lock body is assembled in the lock storehouse, a lock hole is provided on the peripheral side of the valve body for the lock tongue of the lock body to be inserted, and a The lock body is electrically connected to a switch device for controlling the switch of the lock body, and the switch device is arranged between the magnetic block and the circular plate.
进一步改进的是:所述开关装置包括行程开关和触头,所述行程开关固定安装在圆板上,所述磁块的底部安装有L型板,L型板穿过所述圆板,所述触头固定安装在L型板上并与所述行程开关位置对应。A further improvement is: the switch device includes a travel switch and contacts, the travel switch is fixedly installed on a circular plate, an L-shaped plate is installed on the bottom of the magnetic block, and the L-shaped plate passes through the circular plate, so The contacts are fixedly installed on the L-shaped board and correspond to the position of the travel switch.
本发明还提供一种加密板手,该加密扳手与权利要求1所述的双保险防盗开阀门配套使用,该加密扳手与锁头之间具有第二联动机构,以使加密扳手与锁头联动,锁头上开设有供加密扳手扣入的开口,该加密扳手包括位于外部的磁环以及位于磁环内的磁体,其中,磁环与所述磁块异性相吸,磁体与磁柱同性相斥。The present invention also provides an encryption wrench, the encryption wrench is matched with the double-safety anti-theft opening valve described in claim 1, and there is a second linkage mechanism between the encryption wrench and the lock head, so that the encryption wrench and the lock end are linked , there is an opening on the lock head for the encryption wrench to be buckled in. The encryption wrench includes an external magnetic ring and a magnet located inside the magnetic ring, wherein the magnetic ring attracts the magnetic block with opposite sex, and the magnet and the magnetic column are of the same sex Rebuke.
进一步改进的是:所述加密板手与锁头之间具有第二联动机构,所述第二联动机构包括位于锁头上的第二限位孔以及将加密扳手上的磁体设置成与第二限位孔相匹配的磁性限位柱。A further improvement is: there is a second linkage mechanism between the encryption wrench and the lock head, the second linkage mechanism includes a second limit hole on the lock head and the magnet on the encryption wrench is set to be in line with the second A magnetic limit post that matches the limit hole.
通过采用前述技术方案,本发明的有益效果是:By adopting the aforementioned technical scheme, the beneficial effects of the present invention are:
1、本发明采用二级异性磁体,即磁块与磁柱的滑动套接以及周向联动,且采用双向同步联动机制,即磁块与锁头的联动以及磁柱与阀杆的联动,从而实现同步联动开关阀,并在专用的加密扳手上同样采用双磁级设计,从而大幅度提高安全性以及防盗开性能;1. The present invention adopts two-level heterosexual magnets, that is, the sliding socket and circumferential linkage between the magnetic block and the magnetic column, and adopts a two-way synchronous linkage mechanism, that is, the linkage between the magnetic block and the lock head and the linkage between the magnetic column and the valve stem, so that Realize synchronous linkage switch valve, and also adopt double magnetic level design on the special encryption wrench, so as to greatly improve the safety and anti-theft opening performance;
2、本发明通过在锁头内安装锁体,并在闪体上开设有锁孔,且在圆板与磁块之间安装有用于控制锁体开关的开关装置,一方面能够防止锁头被随意转动,另一方面,防止普通的单磁级加密扳手对锁头进行转动,进一步提高安全性及其使用寿命。2. The present invention installs the lock body in the lock head, and provides a lock hole on the flash body, and a switch device for controlling the lock body switch is installed between the circular plate and the magnetic block. On the one hand, the lock head can be prevented from being blocked. Rotate at will, on the other hand, prevent the ordinary single-level encryption wrench from rotating the lock head, further improving safety and service life.
附图说明Description of drawings
图1是本发明实施例双保险防盗开阀门的结构示意图。Fig. 1 is a structural schematic diagram of a double-safe anti-theft opening valve according to an embodiment of the present invention.
图2是本发明实施例双保险防盗开阀门的局部放大图。Fig. 2 is a partially enlarged view of the double insurance anti-theft opening valve of the embodiment of the present invention.
图3是本发明实施例中扳手的结构示意图。Fig. 3 is a schematic structural diagram of a wrench in an embodiment of the present invention.
图中:阀体1、流体通道2、阀球3、阀杆4、第一限位孔5、第一限位柱6、圆板7、磁块8、磁柱9、锁体10、锁库11、锁头12、第二限位孔13、开口14、加密扳手15、磁性限位柱16、磁环17、锁库端板18、锁孔19、第三限位孔20、第三限位柱21、弹簧22、L型板23、触头24、行程开关25。In the figure: valve body 1, fluid channel 2, valve ball 3, valve stem 4, first limit hole 5,
具体实施方式Detailed ways
现结合附图和具体实施例对本发明进一步说明。The present invention will be further described in conjunction with the accompanying drawings and specific embodiments.
实施例一:Embodiment one:
参考图1和图2,本发明实施例所揭示的是双保险防盗开阀门,包括阀体1,所述阀体1内开设有贯通的流体通道2,所述流体通道2内转动安装有带有连通孔的阀球3,所述阀球3的顶部固定安装有阀杆4,阀杆4用于驱动阀球3转动,以实现开阀或闭阀,所述阀体1的顶部转动安装有锁头12,所述阀体1内位于锁头12和阀杆4之间纵向滑动安装有磁块8和磁柱9,磁块8与磁柱9的磁性相反,所述磁柱9穿设在所述磁块8的中央处,所述磁柱9的横截面为正多边形,例如正方形、正五边形或正六边形,磁块8上开设有相同截面的穿孔,即磁柱9可相对于磁块8纵向滑动,且磁块8可带动磁柱9转动,所述磁块8与锁头12之间具有第三联动机构,该第三联动机构用于使磁块8上移至最高位时与所述锁头12结合并联动,当磁块8位于最低位时,磁块8与锁头12脱离。Referring to Fig. 1 and Fig. 2, what the embodiment of the present invention discloses is a double insurance anti-theft opening valve, which includes a valve body 1, and a through fluid channel 2 is opened in the valve body 1, and a belt with a belt is rotatably installed in the fluid channel 2. There is a valve ball 3 with a communication hole, the top of the valve ball 3 is fixed with a valve stem 4, and the valve stem 4 is used to drive the valve ball 3 to rotate to realize opening or closing the valve. The top of the valve body 1 is rotated and installed There is a
其中,所述磁柱9远离锁头12的一端固定安装有圆板7,所述圆板7与所述阀杆4之间具有第一联动机构,所述第一联动机构用于使磁柱9下移至低位时与阀杆4结合并联动,磁柱9上移至高位时与阀杆4分离,所述圆板7与阀杆4之间设置有弹簧22,该弹簧22使磁柱9向上顶起并保持在高位状态。Wherein, the end of the
本实施例中的双保险防盗开阀门还配备有与锁头12相匹配的专用加密扳手15,该加密扳手15与锁头12之间具有第二联动机构,以使加密扳手15与锁头12联动,锁头12上开设有供加密扳手15扣入的开口14。The double insurance anti-theft opening valve in this embodiment is also equipped with a
参阅图3,该加密扳手15包括位于外部的磁环17以及位于磁环17内的磁体,其中,磁环17与所述磁块8异性相吸,磁体与磁柱9同性相斥,当加密扳手15扣在锁头12上时通过第二联动机构与之联动,加密扳手15可带动锁头12转动,此时,加密扳手15上的磁环17与磁块8异性相吸,从而使磁块8向上滑移,并通过第三联动机构与锁头12联动,进而使锁头12转动时带动磁块8转动。加密扳手15上的磁体与磁柱9同性相斥,从而使磁柱9向下挤压并通过第一联动机构与阀杆4联动,且磁柱9与磁块8之间周向同步转动,进而使加密扳手15、锁头12、磁块8、磁柱9以及阀杆4形成周向联动,从而使加密扳手15驱动阀杆4转动,最终带动阀球3转动,以完成开关阀。Referring to Fig. 3, the
该双保险防盗开阀门采用二级异性磁体,即磁块8与磁柱9的滑动套接以及周向联动,且采用双向同步联动机制,即磁块8与锁头12的联动以及磁柱9与阀杆4的联动,从而实现同步联动开关阀,并在专用的加密扳手15上同样采用双磁级设计,从而大幅度提高安全性以及防盗开性能。The double insurance anti-theft opening valve adopts two-stage heterosexual magnets, that is, the sliding socket of the magnetic block 8 and the
本实施例中,具体的,所述第一联动机构包括第一限位柱6和第一限位孔5,其中,第一限位柱6固定安装在圆板7上,第一限位孔5开设有所述阀杆4的相应位置。所述第三联动机构包括第三限位柱21和第三限位孔20,所述第三限位柱21固定安装在磁块8上,所述第三限位孔20开设有所述锁头12上。所述第二联动机构包括位于锁头12上的第二限位孔13以及将加密扳手15上的磁体设置成与第二限位孔13相匹配的磁性限位柱16。In this embodiment, specifically, the first linkage mechanism includes a
在上述实施例的基础上,该双保险防盗开阀门的锁头12内开设有锁库11,所述锁库11内装配有锁体10,该锁库11的锁库端板18位于锁头12的内侧,从而防止锁体10由外部暴力拆卸,所述阀体1的周侧开设有供所述锁体10的锁舌插入的锁孔19,还包括与所述锁体10电连接用以控制锁体10开关的开关装置,所述开关装置设置在所述磁块8与所述圆板7之间,即当磁块8与圆板7反向运动并均处于联动状态时,该开关装置触发以控制锁体10开锁,锁头12得以释放并自由转动,该设计用于防止锁头12被随意自由转动,以及使用普通的单磁级加密扳手15也无法使开关装置触发,锁头12同样无法自由转动,进而又增加一道防盗开屏障,进一步提高安全性,同时保护锁头12不被随意转动,提高其使用寿命。On the basis of the above-mentioned embodiments, a
具体的,该开关装置包括行程开关25和触头24,本实施例中,所述行程开关25固定安装在圆板7上,所述磁块8的底部安装有L型板23,L型板23穿过所述圆板7,所述触头24固定安装在L型板23上并与所述行程开关25位置对应。Specifically, the switch device includes a travel switch 25 and a
运用本创作所做的修饰、变化,皆属本创作主张的专利范围,而不限于实施例所揭示者。Modifications and changes made by using this creation all belong to the scope of patents claimed by this creation, and are not limited to those disclosed in the embodiments.
Claims (7)
Priority Applications (1)
| Application Number | Priority Date | Filing Date | Title |
|---|---|---|---|
| CN202110578752.6A CN113217701B (en) | 2021-05-26 | 2021-05-26 | Double-safety anti-theft valve |
Applications Claiming Priority (1)
| Application Number | Priority Date | Filing Date | Title |
|---|---|---|---|
| CN202110578752.6A CN113217701B (en) | 2021-05-26 | 2021-05-26 | Double-safety anti-theft valve |
Publications (2)
| Publication Number | Publication Date |
|---|---|
| CN113217701A CN113217701A (en) | 2021-08-06 |
| CN113217701B true CN113217701B (en) | 2023-06-27 |
Family
ID=77098617
Family Applications (1)
| Application Number | Title | Priority Date | Filing Date |
|---|---|---|---|
| CN202110578752.6A Active CN113217701B (en) | 2021-05-26 | 2021-05-26 | Double-safety anti-theft valve |
Country Status (1)
| Country | Link |
|---|---|
| CN (1) | CN113217701B (en) |
Family Cites Families (14)
| Publication number | Priority date | Publication date | Assignee | Title |
|---|---|---|---|---|
| JP2000120916A (en) * | 1998-10-09 | 2000-04-28 | Kitz Corp | Rotation-locking device for valve stem |
| CN2390075Y (en) * | 1999-09-20 | 2000-08-02 | 曹振平 | Valve opening and closing mechanism driven by crossbar magnetic path type cylindrical permanent-magnet magnetic coupler |
| CN2531188Y (en) * | 2002-03-04 | 2003-01-15 | 王文旭 | Adjustable magnetic lock-control sluice valve |
| CN2733338Y (en) * | 2004-06-17 | 2005-10-12 | 天津奥意玛机电技术有限公司 | Permanent-magnet magnetic-coupling device driven zero leakage anti-theft sampling valve |
| CN201225489Y (en) * | 2008-07-17 | 2009-04-22 | 大庆众鑫科技开发有限公司 | Permanent-magnet anti-theft plug for fixed-point pipeline |
| CN203940104U (en) * | 2014-05-27 | 2014-11-12 | 浙江瑞格铜业有限公司 | A kind of locking valve |
| US9587763B2 (en) * | 2015-03-09 | 2017-03-07 | Hydra-Shield Mfg. Inc. | Device for securing a fire hydrant valve using a moveable element |
| CN204922192U (en) * | 2015-08-22 | 2015-12-30 | 浙江达柏林阀门有限公司 | Magnetic locking ball valve |
| CN205226600U (en) * | 2015-11-12 | 2016-05-11 | 屈礼平 | Fire hydrant valve lock |
| CN205908852U (en) * | 2016-08-04 | 2017-01-25 | 玉环奥德华阀门有限公司 | Cross locking dual fail -safe lock valve |
| CN206159628U (en) * | 2016-11-07 | 2017-05-10 | 玉环秀辉阀业有限公司 | Double -locking who takes mechanical lock and magnetism lock closes valve |
| CN209262386U (en) * | 2018-08-31 | 2019-08-16 | 邛崃市欣凡尔阀业有限公司 | A kind of environmentally friendly gate valve of encryption |
| CN212080220U (en) * | 2020-03-17 | 2020-12-04 | 宁波埃美柯铜阀门有限公司 | Limit type magnetic ball valve with lock |
| CN212868708U (en) * | 2020-06-18 | 2021-04-02 | 苏州诚嵘机械有限公司 | Anti-theft safety gate valve |
-
2021
- 2021-05-26 CN CN202110578752.6A patent/CN113217701B/en active Active
Also Published As
| Publication number | Publication date |
|---|---|
| CN113217701A (en) | 2021-08-06 |
Similar Documents
| Publication | Publication Date | Title |
|---|---|---|
| CN109563947A (en) | Lock caliberating device and valve | |
| CN108361405A (en) | A kind of combination sealing ball valve | |
| CN108240143A (en) | Lockset and shield door | |
| CN113217701B (en) | Double-safety anti-theft valve | |
| CN201425099Y (en) | Magnetic anti-theft gate valve | |
| CN205118415U (en) | Novel encryption valve | |
| CN104089039B (en) | Improved anti-theft valve | |
| CN103090041B (en) | Anti-dismantling ball-valve | |
| CN106641420A (en) | Valve structure provided with coded lock | |
| CN206246810U (en) | Valve handle structure | |
| CN208138565U (en) | A kind of hidden-type valve lock construction | |
| CN207297948U (en) | Lock controlled ball valve and its component | |
| CN204628776U (en) | Dual-purpose tamper locking-valve | |
| CN100470108C (en) | A Locking Device for 90° Rotary Valve | |
| CN216519914U (en) | Multi-magnetic core magnetic locking anti-theft valve | |
| CN2610192Y (en) | Valve with locking device | |
| CN102235115B (en) | Magnetic fluid lock container device | |
| CN2601339Y (en) | Magnetic controlled valve | |
| CN219263257U (en) | Improved mechanical valve and faucet with same | |
| CN206385937U (en) | Lockset and shield door | |
| WO2018085980A1 (en) | Valve structure for combination lock | |
| CN220727298U (en) | Ball valve with lock | |
| CN222950530U (en) | Mechanical lock for gate valve | |
| CN203868467U (en) | Function-variable magnetic valve | |
| CN202215837U (en) | Magnetic locking ball valve |
Legal Events
| Date | Code | Title | Description |
|---|---|---|---|
| PB01 | Publication | ||
| PB01 | Publication | ||
| SE01 | Entry into force of request for substantive examination | ||
| SE01 | Entry into force of request for substantive examination | ||
| GR01 | Patent grant | ||
| GR01 | Patent grant |
