CN113172517B - Composite insulator production equipment - Google Patents
Composite insulator production equipment Download PDFInfo
- Publication number
- CN113172517B CN113172517B CN202010571000.2A CN202010571000A CN113172517B CN 113172517 B CN113172517 B CN 113172517B CN 202010571000 A CN202010571000 A CN 202010571000A CN 113172517 B CN113172517 B CN 113172517B
- Authority
- CN
- China
- Prior art keywords
- fixedly connected
- polishing
- dust
- motor
- box
- Prior art date
- Legal status (The legal status is an assumption and is not a legal conclusion. Google has not performed a legal analysis and makes no representation as to the accuracy of the status listed.)
- Expired - Fee Related
Links
- 239000012212 insulator Substances 0.000 title claims abstract description 41
- 239000002131 composite material Substances 0.000 title claims abstract description 36
- 238000004519 manufacturing process Methods 0.000 title claims abstract description 17
- 239000000428 dust Substances 0.000 claims abstract description 80
- 238000005498 polishing Methods 0.000 claims abstract description 46
- XLYOFNOQVPJJNP-UHFFFAOYSA-N water Substances O XLYOFNOQVPJJNP-UHFFFAOYSA-N 0.000 claims description 28
- 230000001681 protective effect Effects 0.000 claims description 14
- 239000007921 spray Substances 0.000 claims description 14
- 230000007246 mechanism Effects 0.000 claims description 9
- 238000009434 installation Methods 0.000 claims description 8
- 230000001105 regulatory effect Effects 0.000 claims description 5
- 239000010865 sewage Substances 0.000 claims description 4
- 238000005507 spraying Methods 0.000 claims 2
- 238000000034 method Methods 0.000 abstract description 6
- 230000006378 damage Effects 0.000 abstract description 3
- 239000003822 epoxy resin Substances 0.000 abstract description 3
- 238000007517 polishing process Methods 0.000 abstract description 3
- 229920000647 polyepoxide Polymers 0.000 abstract description 3
- 230000036541 health Effects 0.000 abstract description 2
- 208000027418 Wounds and injury Diseases 0.000 abstract 1
- 208000014674 injury Diseases 0.000 abstract 1
- 238000010521 absorption reaction Methods 0.000 description 7
- 239000003595 mist Substances 0.000 description 6
- 230000009471 action Effects 0.000 description 3
- 230000008569 process Effects 0.000 description 2
- 239000000779 smoke Substances 0.000 description 2
- 239000004593 Epoxy Substances 0.000 description 1
- 230000004075 alteration Effects 0.000 description 1
- 239000008346 aqueous phase Substances 0.000 description 1
- 230000009286 beneficial effect Effects 0.000 description 1
- 230000005540 biological transmission Effects 0.000 description 1
- 230000007547 defect Effects 0.000 description 1
- 239000004744 fabric Substances 0.000 description 1
- 238000002347 injection Methods 0.000 description 1
- 239000007924 injection Substances 0.000 description 1
- 238000001746 injection moulding Methods 0.000 description 1
- 230000004048 modification Effects 0.000 description 1
- 238000012986 modification Methods 0.000 description 1
- 239000012071 phase Substances 0.000 description 1
- 229920002379 silicone rubber Polymers 0.000 description 1
- 239000004945 silicone rubber Substances 0.000 description 1
- 239000000243 solution Substances 0.000 description 1
- 238000006467 substitution reaction Methods 0.000 description 1
- 239000000725 suspension Substances 0.000 description 1
- 230000001360 synchronised effect Effects 0.000 description 1
Images
Classifications
-
- B—PERFORMING OPERATIONS; TRANSPORTING
- B24—GRINDING; POLISHING
- B24B—MACHINES, DEVICES, OR PROCESSES FOR GRINDING OR POLISHING; DRESSING OR CONDITIONING OF ABRADING SURFACES; FEEDING OF GRINDING, POLISHING, OR LAPPING AGENTS
- B24B19/00—Single-purpose machines or devices for particular grinding operations not covered by any other main group
- B24B19/22—Single-purpose machines or devices for particular grinding operations not covered by any other main group characterised by a special design with respect to properties of the material of non-metallic articles to be ground
-
- B—PERFORMING OPERATIONS; TRANSPORTING
- B01—PHYSICAL OR CHEMICAL PROCESSES OR APPARATUS IN GENERAL
- B01D—SEPARATION
- B01D47/00—Separating dispersed particles from gases, air or vapours by liquid as separating agent
- B01D47/02—Separating dispersed particles from gases, air or vapours by liquid as separating agent by passing the gas or air or vapour over or through a liquid bath
-
- B—PERFORMING OPERATIONS; TRANSPORTING
- B01—PHYSICAL OR CHEMICAL PROCESSES OR APPARATUS IN GENERAL
- B01D—SEPARATION
- B01D47/00—Separating dispersed particles from gases, air or vapours by liquid as separating agent
- B01D47/06—Spray cleaning
-
- B—PERFORMING OPERATIONS; TRANSPORTING
- B24—GRINDING; POLISHING
- B24B—MACHINES, DEVICES, OR PROCESSES FOR GRINDING OR POLISHING; DRESSING OR CONDITIONING OF ABRADING SURFACES; FEEDING OF GRINDING, POLISHING, OR LAPPING AGENTS
- B24B41/00—Component parts such as frames, beds, carriages, headstocks
- B24B41/02—Frames; Beds; Carriages
-
- B—PERFORMING OPERATIONS; TRANSPORTING
- B24—GRINDING; POLISHING
- B24B—MACHINES, DEVICES, OR PROCESSES FOR GRINDING OR POLISHING; DRESSING OR CONDITIONING OF ABRADING SURFACES; FEEDING OF GRINDING, POLISHING, OR LAPPING AGENTS
- B24B41/00—Component parts such as frames, beds, carriages, headstocks
- B24B41/06—Work supports, e.g. adjustable steadies
-
- B—PERFORMING OPERATIONS; TRANSPORTING
- B24—GRINDING; POLISHING
- B24B—MACHINES, DEVICES, OR PROCESSES FOR GRINDING OR POLISHING; DRESSING OR CONDITIONING OF ABRADING SURFACES; FEEDING OF GRINDING, POLISHING, OR LAPPING AGENTS
- B24B47/00—Drives or gearings; Equipment therefor
- B24B47/10—Drives or gearings; Equipment therefor for rotating or reciprocating working-spindles carrying grinding wheels or workpieces
- B24B47/12—Drives or gearings; Equipment therefor for rotating or reciprocating working-spindles carrying grinding wheels or workpieces by mechanical gearing or electric power
-
- B—PERFORMING OPERATIONS; TRANSPORTING
- B24—GRINDING; POLISHING
- B24B—MACHINES, DEVICES, OR PROCESSES FOR GRINDING OR POLISHING; DRESSING OR CONDITIONING OF ABRADING SURFACES; FEEDING OF GRINDING, POLISHING, OR LAPPING AGENTS
- B24B55/00—Safety devices for grinding or polishing machines; Accessories fitted to grinding or polishing machines for keeping tools or parts of the machine in good working condition
- B24B55/06—Dust extraction equipment on grinding or polishing machines
Landscapes
- Engineering & Computer Science (AREA)
- Mechanical Engineering (AREA)
- Chemical & Material Sciences (AREA)
- Chemical Kinetics & Catalysis (AREA)
- Finish Polishing, Edge Sharpening, And Grinding By Specific Grinding Devices (AREA)
Abstract
The invention relates to the technical field of insulator production equipment, and discloses composite insulator production equipment, which solves the problems that a traditional polishing mode has potential safety hazards, in addition, a large amount of epoxy resin dust can be generated in the polishing process, the polishing is uneven and the efficiency is low; this composite insulator production facility can be safe use, can not cause the incident, and can effectually remove dust at the in-process of polishing, avoids the dust to cause the injury to workman's health, can at the uniform velocity polish simultaneously, the effectual efficiency of polishing that has improved.
Description
Technical Field
The invention belongs to the technical field of insulator production equipment, and particularly relates to composite insulator production equipment.
Background
The composite insulator is a special insulating control and can play an important role in an overhead transmission line; the composite insulator can be divided into: composite suspension insulators, composite pin insulators, silicone rubber composite insulators, synthetic insulators, supporting composite insulators and line composite insulators; composite insulators are often injection molded from epoxy resin.
After the injection molding of the composite insulator is finished, a surface part of the composite insulator needs to be polished, and the traditional polishing mode is that one end of the composite insulator is clamped by a simple lathe chuck, one end of the composite insulator is polished by abrasive cloth, and then the other end of the composite insulator is turned round and polished; the mode of polishing has certain potential safety hazard, causes the incident slightly carelessly easily, and the in-process of polishing can produce a large amount of epoxy dust in addition, can cause certain damage to workman's health like this, and the speed of polishing is decided by the manual work simultaneously, causes easily to polish inhomogeneous and inefficiency.
Disclosure of Invention
Aiming at the situation, in order to overcome the defects of the prior art, the invention provides the composite insulator production equipment, which effectively solves the problems that the traditional polishing mode has potential safety hazards, a large amount of epoxy resin dust is generated in the polishing process, and meanwhile, the polishing is uneven and the efficiency is low.
In order to achieve the purpose, the invention provides the following technical scheme: the utility model provides a composite insulator production facility, including the box of polishing, the middle part fixed mounting of box one end of polishing has first motor, the bottom fixed mounting of box one side of polishing has the protection groove, there is transparent protection casing at the top of box one side of polishing through hinge movable mounting, the opposite side fixed mounting of the box of polishing has the collection fill, the one end fixed mounting who collects the fill has the dust absorption fan, the one end fixed mounting of dust absorption fan has first dust removal case, one side fixedly connected with air duct of first dust removal case, the one end fixed mounting of air duct has the second dust removal case, the middle part movable mounting of box inner chamber of polishing has the rotation main shaft, the fixed surface who rotates the main shaft is connected with the wheel of polishing, all install the slide bar between the both sides of rotation main shaft and protection groove inner chamber bottom, install the carriage between two slide bars, fixed establishment is installed to the one end at carriage top.
Preferably, the top of the inner cavity of the first dust removal box is fixedly provided with a water spray pipe, the surfaces of the water spray pipes are equidistantly provided with water spray nozzles, and the bottom of the first dust removal box is connected with the upper part of one side of the second dust removal box through a sewage guide pipe.
Preferably, the exhaust port is seted up to the one end at second dust removal case top, and the top movable mounting of exhaust port has the protection network, and the outlet has been seted up on the well upper portion of second dust removal case opposite side, and the inboard movable mounting of outlet has the filter screen, and the outside of outlet just is located the fixed surface of second dust removal case and is connected with the drain pipe.
Preferably, the grinding wheel comprises a main grinding wheel and auxiliary grinding wheels, the main grinding wheel is fixedly connected to the surface of the rotating main shaft, and the auxiliary grinding wheels are fixedly connected to the surface of the main grinding wheel at equal intervals.
Preferably, two the slide bar all includes fixed block, the body of rod and spring, and two fixed block fixed connection are at the both ends of polishing bottom half one side, and body of rod fixed connection is between one side of fixed block and the inner wall of protecting groove, and the spring cup joints the one end at the body of rod, and the one end and the fixed phase of spring are connected.
Preferably, the movable rack comprises two sliders, a fixed rod, two vertical rods and two transverse rods, the two sliders are movably sleeved on the surfaces of the two rod bodies respectively, the fixed rod is fixedly connected between the two sliders, the two vertical rods are fixedly connected to the tops of the two sliders respectively, and the two transverse rods are fixedly connected to the upper portions of the two vertical rods respectively.
Preferably, the moving groove has all been seted up at the middle part of guard slot both sides, and the equal fixedly connected with in one side that two sliders carried on the back mutually removes the handle, and two remove the handle and all extend to the outside of guard slot through the moving groove, and the middle part of two removal handles all installs the speed governing switch, and one of them speed governing switch is connected with first motor electrical property.
Preferably, the two ends of one side of the surface of the transparent protective cover are both provided with vent holes, and the middle part of one side of the surface of the transparent protective cover is fixedly connected with a handle ring.
Preferably, the fixing mechanism comprises a bearing, an installation block, a first connecting rod, a second motor, a rotation auxiliary shaft, a second connecting rod and a connecting piece, the bearing and the installation block are respectively and fixedly installed at one end of the two cross rods, the first connecting rod is fixedly connected to the inner side of the bearing, the second motor is fixedly connected to one side of the installation block, the rotation auxiliary shaft is fixedly connected to the output end of the second motor and extends to one side of the installation block, the second connecting rod is movably connected to one end of the rotation auxiliary shaft, the first connecting rod and the second connecting rod are movably connected through the connecting piece, and the second motor is electrically connected with the first motor through another speed regulating switch.
Preferably, the thread groove has been seted up to the one end of connecting piece, and the one end of head rod extends to the inside and the fixedly connected with stopper of thread groove, and the screw thread mouth has been seted up to the one end of second connecting rod, and screw thread mouth swing joint is in the inside of thread groove, and the other end of second connecting rod is seted up flutedly, and the middle part fixedly connected with fixed axle of recess rotates the one end swing joint on the surface of fixed axle.
Compared with the prior art, the invention has the beneficial effects that:
(1) In the work, the grinding box body, the first motor, the protective groove, the transparent protective cover, the rotating main shaft and the grinding wheel are arranged, so that the composite insulator production equipment can be safely used without causing safety accidents; when the first motor is started, the rotating main shaft and the polishing wheel can be driven, the composite insulator mounted on the fixing mechanism can be effectively polished by the rotation of the polishing wheel, the interior of the polishing box body is polished, and meanwhile, the transparent protective cover is used for protecting;
(2) The composite insulator production equipment can effectively remove dust in the polishing process by arranging the collecting hopper, the dust absorption fan, the first dust removal box, the water mist spray head, the air guide pipe and the second dust removal box, so that the damage of dust to the body of a worker is avoided; when the composite insulator is polished, firstly, a dust suction fan and a water mist spray head are started, the dust polished in a polishing box body is guided into a first dust removal box by starting the dust suction fan, the dust is humidified by the water mist spray head, and the dust which is not humidified is guided into a second dust removal box by a gas guide pipe, so that the dust is contacted with water in the second dust removal box and falls into water;
(3) The composite insulator production equipment can polish at a constant speed by arranging the sliding rod, the moving frame, the fixing mechanism, the moving groove, the moving handle and the speed regulating switch, so that the polishing efficiency is effectively improved; at first install composite insulator at fixed establishment, then remove the frame through removing the handle on the slide bar to open and close first motor and second motor through removing the speed governing switch on hand, opening of second motor can drive composite insulator and rotate, thereby makes composite insulator and wheel of polishing can effectually polish.
Drawings
The accompanying drawings, which are included to provide a further understanding of the invention and are incorporated in and constitute a part of this specification, illustrate embodiments of the invention and together with the description serve to explain the principles of the invention and not to limit the invention.
In the drawings:
FIG. 1 is a schematic structural view of the present invention;
FIG. 2 is a schematic cross-sectional view of the polishing box and the shield bath of the present invention;
FIG. 3 is a schematic sectional view showing the connection structure of the first dust removing box and the second dust removing box according to the present invention;
FIG. 4 is a schematic top view of the movable frame and the fixing mechanism of the present invention;
FIG. 5 is a schematic cross-sectional view of the securing mechanism of the present invention;
FIG. 6 is a schematic top view of the rotating spindle and grinding wheel of the present invention;
in the figure: 1. polishing the box body; 2. a first motor; 3. a protective bath; 4. a transparent protective cover; 5. a collecting hopper; 6. a dust collection fan; 7. a first dust removal box; 701. a water spray pipe; 702. a water mist spray head; 8. a gas-guide tube; 9. a second dust removal box; 10. rotating the main shaft; 11. grinding the wheel; 1101. a main grinding wheel; 1102. a secondary grinding wheel; 12. a slide bar; 1201. a fixed block; 1202. a rod body; 1203. a spring; 13. a movable frame; 1301. a slider; 1302. fixing the rod; 1303. a vertical rod; 1304. a cross bar; 14. a fixing mechanism; 1401. a bearing; 1402. mounting blocks; 1403. a first connecting rod; 1404. a second motor; 1405. rotating the counter shaft; 1406. a second connecting rod; 1407. a connecting member; 15. a sewage guide pipe; 16. a moving groove; 17. the handle is moved.
Detailed Description
The technical solutions in the embodiments of the present invention will be clearly and completely described below with reference to the drawings in the embodiments of the present invention, and it is obvious that the described embodiments are only a part of the embodiments of the present invention, and not all of the embodiments; all other embodiments, which can be derived by a person skilled in the art from the embodiments given herein without making any creative effort, shall fall within the protection scope of the present invention.
In the first embodiment, as shown in fig. 1 and 2, the dust collection device comprises a polishing box body 1, a first motor 2 is fixedly installed in the middle of one end of the polishing box body 1, a protection groove 3 is fixedly installed at the bottom of one side of the polishing box body 1, a transparent protection cover 4 is movably installed at the top of one side of the polishing box body 1 through a hinge, through the arrangement of the transparent protection cover 4, dust can be effectively placed in the dust collection box, and the effective polishing cannot be hindered, a collection hopper 5 is fixedly installed at the other side of the polishing box body 1, a dust collection fan 6 is fixedly installed at one end of the collection hopper 5, through the arrangement of the dust collection fan 6, dust can be effectively sucked into the first dust collection box 7, a first dust collection box 7 is fixedly installed at one end of the dust collection fan 6, a rotating main shaft 10 is movably installed in the middle of the inner cavity of the polishing box body 1, a polishing wheel 11 is fixedly connected to one side of the first dust collection box 7, a second dust collection box 9 is fixedly installed at one end of the air guide pipe 8, through the arrangement of the first dust collection box 7 and the second dust collection box 9, double dust collection box can be effectively removed, a sliding rod 12 is installed between the two sliding rod 12 and a sliding frame 13 is installed between the top of the sliding frame 13.
In the second embodiment, based on the first embodiment, as shown in fig. 3, a water spray pipe 701 is fixedly installed at the top of the inner cavity of the first dust removing box 7, water mist spray heads 702 are installed on the surface of the water spray pipe 701 at equal intervals, the bottom of the first dust removing box 7 is connected with the upper part of one side of the second dust removing box 9 through a dirt guide pipe 15, and the arrangement of the water spray pipe 701, the water mist spray heads 702 and the dirt guide pipe 15 enables the dust removing box to effectively remove dust from the inside of the first dust removing box 7 and effectively discharge dirt.
In a third embodiment, on the basis of the first embodiment, as shown in fig. 3, an air outlet is formed in one end of the top of the second dust removing box 9, a protective net is movably mounted at the top of the air outlet, a water outlet is formed in the middle upper portion of the other side of the second dust removing box 9, a filter screen is movably mounted on the inner side of the water outlet, a drain pipe is fixedly connected to the outer side of the water outlet and located on the surface of the second dust removing box 9, and the second dust removing box 9 is enabled to remove dust again through the arrangement of the air outlet, the protective net, the water outlet, the filter screen and the drain pipe, and exhaust and sewage can be effectively filtered and discharged.
In a fourth embodiment, based on the first embodiment, as shown in fig. 6, the grinding wheel 11 includes a main grinding wheel 1101 and a sub-grinding wheel 1102, the main grinding wheel 1101 is fixedly connected to the surface of the rotating spindle 10, the sub-grinding wheel 1102 is fixedly connected to the surface of the main grinding wheel 1101 at equal intervals, and the main grinding wheel 1101 and the sub-grinding wheel 1102 are arranged to effectively grind the surface of the insulator.
Fifth embodiment, on the basis of the first embodiment, as shown in fig. 2 and 4, the two sliding rods 12 each include a fixing block 1201, a rod 1202 and a spring 1203, the two fixing blocks 1201 are fixedly connected to two ends of one side of the bottom of the polishing box 1, the rod 1202 is fixedly connected between one side of the fixing block 1201 and the inner wall of the protection tank 3, the spring 1203 is sleeved on one end of the rod 1202, one end of the spring 1203 is fixedly connected to the fixing block 1201, and the moving frame 13 can be effectively moved through the fixing blocks 1201, the rod 1202 and the spring 1203.
Sixth embodiment, on the basis of first embodiment, given by fig. 4, the movable frame 13 includes two sliders 1301, the fixed rod 1302, two montants 1303 and two horizontal poles 1304, two sliders 1301 are movably sleeved on the surfaces of two rods 1202 respectively, the fixed rod 1302 is fixedly connected between two sliders 1301, two montants 1303 are fixedly connected to the tops of two sliders 1301 respectively, two horizontal poles 1304 are fixedly connected to the upper portions of two montants 1303 respectively, through the two sliders 1301, the fixed rod 1302, two montants 1303 and the setting of two horizontal poles 1304, make it can be effectual drive fixed establishment 14 and move.
Seventh embodiment, on the basis of first embodiment, given by fig. 2 and 4, moving bath 16 has all been seted up at the middle part of guard bath 3 both sides, the equal fixedly connected with in one side that two sliders 1301 carried on the back mutually removes handle 17, two remove handle 17 all extend to the outside of guard bath 3 through moving bath 16, and the speed governing switch is all installed at the middle part of two removal handle 17, one of them speed governing switch is connected with first motor 2 electrical property, through moving bath 16, remove handle 17 and speed governing switch's setting, make it can be effectual move removal frame 13.
Eighth embodiment, on the basis of first embodiment, given by fig. 1 and 2, the air vent has all been seted up at the both ends of transparent protection casing 4 surface one side, and the middle part fixedly connected with of transparent protection casing 4 surface one side is the ring, through the air vent with the setting of ring, can effectually carry out the dust absorption after making dust absorption fan 6 start to and can effectually open and close transparent protection casing 4.
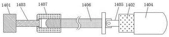
Ninth embodiment, on the basis of the first embodiment, as shown in fig. 4 and 5, the fixing mechanism 14 includes a bearing 1401, a mounting block 1402, a first connecting rod 1403, a second motor 1404, a rotating auxiliary shaft 1405, a second connecting rod 1406 and a connecting member 1407, the bearing 1401 and the mounting block 1402 are respectively fixedly mounted at one end of two cross rods 1304, the first connecting rod 1403 is fixedly connected at the inner side of the bearing 1401, the second motor 1404 is fixedly connected at one side of the mounting block 1402, the rotating auxiliary shaft 1405 is fixedly connected at the output end of the second motor 1404 and extends to one side of the mounting block 1402, the second connecting rod 1406 is movably connected at one end of the rotating auxiliary shaft 1405, the first connecting rod 1403 and the second connecting rod 1406 are movably connected through the connecting member 1407, and an insulator can be effectively mounted by the arrangement of the bearing 1401, the mounting block 1402, the first connecting rod 1403, the second motor 1404, the rotating auxiliary shaft 1405, the second connecting rod 1406 and the connecting member 1407, and the second motor 1404 and another speed regulating switch are electrically connected with the first motor 2.
Embodiment ten, on the basis of ninth embodiment, by figure 4 and 5, the thread groove has been seted up to connecting piece 1407's one end, the one end of head rod 1403 extends to the inside and the fixedly connected with stopper of thread groove, the screw thread mouth has been seted up to the one end of second connecting rod 1406, screw thread mouth swing joint is in the inside of thread groove, the other end of second connecting rod 1406 is seted up flutedly, the middle part fixedly connected with fixed axle of recess, the one end swing joint of rotation countershaft 1405 is on the surface of fixed axle, through the thread groove, the stopper, the screw thread mouth, the setting of recess and fixed axle, make head rod 1403 and second connecting rod 1406 can effectually connect.
In this embodiment: the first motor 2 is a 51/RK90GN-C type speed regulating motor, and the second motor 1404 is a 70KTYZ type synchronous motor.
The working principle is as follows: during operation, at first install composite insulator at fixed establishment 14, and open dust absorption fan 6 and water smoke shower nozzle 702, then move removal frame 13 on slide bar 12 through removal handle 17, and open and close first motor 2 and second motor 1404 through the speed governing switch on the removal handle 17, the opening of second motor 1404 can drive composite insulator and rotate, and can drive rotation main shaft 10 and grinding wheel 11 after the start-up of first motor 2, the rotation of grinding wheel 11 can carry out effectual polishing to the composite insulator of installing on fixed establishment 14, the dust absorption fan 6 open can be with the inside leading-in inside to first dust removal case 7 of the inside dust removal box 1 of polishing, and carry out the humidification to the dust through water smoke shower nozzle 702, the dust that does not have the humidification can lead-in the inside to second dust removal case 9 through air duct 8, make it contact with the inside aqueous phase of second case 9 and fall the aquatic.
It is noted that, herein, relational terms such as first and second, and the like may be used solely to distinguish one entity or action from another entity or action without necessarily requiring or implying any actual such relationship or order between such entities or actions. Also, the terms "comprises," "comprising," or any other variation thereof, are intended to cover a non-exclusive inclusion, such that a process, method, article, or apparatus that comprises a list of elements does not include only those elements but may include other elements not expressly listed or inherent to such process, method, article, or apparatus.
Although embodiments of the present invention have been shown and described, it will be appreciated by those skilled in the art that changes, modifications, substitutions and alterations can be made in these embodiments without departing from the principles and spirit of the invention, the scope of which is defined in the appended claims and their equivalents.
Claims (5)
1. The utility model provides a composite insulator production facility, is including box (1) of polishing, its characterized in that: the polishing machine is characterized in that a first motor (2) is fixedly installed in the middle of one end of a polishing box body (1), a protection groove (3) is fixedly installed at the bottom of one side of the polishing box body (1), a transparent protective cover (4) is movably installed at the top of one side of the polishing box body (1) through a hinge, a collecting hopper (5) is fixedly installed at the other side of the polishing box body (1), a dust suction fan (6) is fixedly installed at one end of the collecting hopper (5), a first dust removal box (7) is fixedly installed at one end of the dust suction fan (6), an air duct (8) is fixedly connected to one side of the first dust removal box (7), a second dust removal box (9) is fixedly installed at one end of the air duct (8), a rotating main shaft (10) is movably installed in the middle of an inner cavity of the polishing box body (1), a polishing wheel (11) is fixedly connected to the surface of the rotating main shaft (10), slide bars (12) are installed on two sides of the rotating main shaft (10) and located at the bottom of the inner cavity of the protection groove (3), a moving frame (13) is installed between the two slide bars (12), and a fixing mechanism (14) is installed at one end of the top of the moving frame (13); the top of the inner cavity of the first dust removing box (7) is fixedly provided with a water spraying pipe (701), the surfaces of the water spraying pipes (701) are equidistantly provided with water spray nozzles (702), and the bottom of the first dust removing box (7) is connected with the upper part of one side of the second dust removing box (9) through a sewage guide pipe (15); an exhaust port is formed in one end of the top of the second dust removing box (9), a protective net is movably mounted at the top of the exhaust port, a water outlet is formed in the middle upper portion of the other side of the second dust removing box (9), a filter screen is movably mounted on the inner side of the water outlet, and a water drain pipe is fixedly connected to the outer side of the water outlet and located on the surface of the second dust removing box (9); the grinding wheel (11) comprises a main grinding wheel (1101) and secondary grinding wheels (1102), the main grinding wheel (1101) is fixedly connected to the surface of the rotating spindle (10), and the secondary grinding wheels (1102) are fixedly connected to the surface of the main grinding wheel (1101) at equal intervals; the fixing mechanism (14) comprises a bearing (1401), an installation block (1402), a first connecting rod (1403), a second motor (1404), a rotary auxiliary shaft (1405), a second connecting rod (1406) and a connecting piece (1407), wherein the bearing (1401) and the installation block (1402) are respectively and fixedly installed at one end of two transverse rods (1304), the first connecting rod (1403) is fixedly connected to the inner side of the bearing (1401), the second motor (1404) is fixedly connected to one side of the installation block (1402), the rotary auxiliary shaft (1405) is fixedly connected to the output end of the second motor (1404) and extends to one side of the installation block (1402), the second connecting rod (1406) is movably connected to one end of the rotary auxiliary shaft (1405), the first connecting rod (1403) is movably connected with the second connecting rod (1406) through the connecting piece (1407), and the second motor (1404) is electrically connected with one speed regulating switch of the second motor (1404) and the first motor (2);
the thread groove has been seted up to the one end of connecting piece (1407), and the one end of head rod (1403) extends to the inside and the fixedly connected with stopper of thread groove, and the screw thread mouth has been seted up to the one end of second connecting rod (1406), and screw thread mouth swing joint is in the inside of thread groove, and the other end of second connecting rod (1406) is seted up flutedly, and the middle part fixedly connected with fixed axle of recess rotates the one end swing joint of countershaft (1405) on the surface of fixed axle.
2. The composite insulator production apparatus according to claim 1, wherein: two slide bar (12) all include fixed block (1201), the body of rod (1202) and spring (1203), and two fixed block (1201) fixed connection are at the both ends of polishing box (1) bottom one side, and the body of rod (1202) fixed connection is between the inner wall of one side of fixed block (1201) and protective housing (3), and spring (1203) cup joints the one end at the body of rod (1202), and the one end of spring (1203) is connected with fixed block (1201) is fixed.
3. The composite insulator production apparatus according to claim 2, wherein: the movable frame (13) comprises two sliding blocks (1301), a fixed rod (1302), two vertical rods (1303) and two transverse rods (1304), wherein the two sliding blocks (1301) are movably sleeved on the surfaces of the two rod bodies (1202) respectively, the fixed rod (1302) is fixedly connected between the two sliding blocks (1301), the two vertical rods (1303) are fixedly connected to the tops of the two sliding blocks (1301) respectively, and the two transverse rods (1304) are fixedly connected to the upper portions of the two vertical rods (1303) respectively.
4. A composite insulator manufacturing apparatus according to claim 3, wherein: moving bath (16) have all been seted up at the middle part of protective tank (3) both sides, and the equal fixedly connected with in one side that two sliders (1301) carried on the back mutually removes handle (17), and two remove handle (17) and all extend to the outside of protective tank (3) through moving bath (16), and the middle part of two removal handle (17) all installs the speed governing switch, and one of them speed governing switch is connected with first motor (2) electrical property.
5. The composite insulator production apparatus according to claim 4, wherein: the air vent has all been seted up at the both ends of transparent protection casing (4) surface one side, and the middle part fixedly connected with of transparent protection casing (4) surface one side is the ring.
Priority Applications (1)
| Application Number | Priority Date | Filing Date | Title |
|---|---|---|---|
| CN202010571000.2A CN113172517B (en) | 2020-06-22 | 2020-06-22 | Composite insulator production equipment |
Applications Claiming Priority (1)
| Application Number | Priority Date | Filing Date | Title |
|---|---|---|---|
| CN202010571000.2A CN113172517B (en) | 2020-06-22 | 2020-06-22 | Composite insulator production equipment |
Publications (2)
| Publication Number | Publication Date |
|---|---|
| CN113172517A CN113172517A (en) | 2021-07-27 |
| CN113172517B true CN113172517B (en) | 2023-01-20 |
Family
ID=76921472
Family Applications (1)
| Application Number | Title | Priority Date | Filing Date |
|---|---|---|---|
| CN202010571000.2A Expired - Fee Related CN113172517B (en) | 2020-06-22 | 2020-06-22 | Composite insulator production equipment |
Country Status (1)
| Country | Link |
|---|---|
| CN (1) | CN113172517B (en) |
Families Citing this family (1)
| Publication number | Priority date | Publication date | Assignee | Title |
|---|---|---|---|---|
| CN114055296B (en) * | 2021-11-30 | 2023-03-03 | 江西新龙电瓷电器制造有限公司 | Grinding wheel for processing porcelain insulator and grinding method thereof |
Citations (7)
| Publication number | Priority date | Publication date | Assignee | Title |
|---|---|---|---|---|
| AT216071B (en) * | 1959-06-30 | 1961-07-10 | Licentia Gmbh | Isolator for high and highest voltages |
| CN208841162U (en) * | 2018-10-28 | 2019-05-10 | 龙岩市金恒机械制造有限公司 | A kind of Steel Castings rough surface smooth treatment equipment |
| CN209060802U (en) * | 2018-10-26 | 2019-07-05 | 深圳市精创智能装备厂 | A kind of dust disposal device of numerical control processing center |
| CN209811777U (en) * | 2019-03-31 | 2019-12-20 | 江苏华田机械装备有限公司 | Clamping device convenient to adjust for machining |
| CN209831289U (en) * | 2019-05-08 | 2019-12-24 | 江西省益丰汽车零部件制造有限公司 | Special burnishing machine of auto parts |
| CN110900448A (en) * | 2019-12-20 | 2020-03-24 | 江西佳鸿电瓷制造有限公司 | Grinding device is used in insulator processing |
| CN210335614U (en) * | 2019-07-12 | 2020-04-17 | 徐振萍 | Concrete block surface grinding device for concrete impermeability experiments |
-
2020
- 2020-06-22 CN CN202010571000.2A patent/CN113172517B/en not_active Expired - Fee Related
Patent Citations (7)
| Publication number | Priority date | Publication date | Assignee | Title |
|---|---|---|---|---|
| AT216071B (en) * | 1959-06-30 | 1961-07-10 | Licentia Gmbh | Isolator for high and highest voltages |
| CN209060802U (en) * | 2018-10-26 | 2019-07-05 | 深圳市精创智能装备厂 | A kind of dust disposal device of numerical control processing center |
| CN208841162U (en) * | 2018-10-28 | 2019-05-10 | 龙岩市金恒机械制造有限公司 | A kind of Steel Castings rough surface smooth treatment equipment |
| CN209811777U (en) * | 2019-03-31 | 2019-12-20 | 江苏华田机械装备有限公司 | Clamping device convenient to adjust for machining |
| CN209831289U (en) * | 2019-05-08 | 2019-12-24 | 江西省益丰汽车零部件制造有限公司 | Special burnishing machine of auto parts |
| CN210335614U (en) * | 2019-07-12 | 2020-04-17 | 徐振萍 | Concrete block surface grinding device for concrete impermeability experiments |
| CN110900448A (en) * | 2019-12-20 | 2020-03-24 | 江西佳鸿电瓷制造有限公司 | Grinding device is used in insulator processing |
Also Published As
| Publication number | Publication date |
|---|---|
| CN113172517A (en) | 2021-07-27 |
Similar Documents
| Publication | Publication Date | Title |
|---|---|---|
| CN112171398A (en) | Flange processing is with burnishing and polishing device | |
| CN210588475U (en) | Bearing ring polishing and grinding equipment | |
| CN113172517B (en) | Composite insulator production equipment | |
| CN208663507U (en) | A kind of grinder dust collector | |
| CN205631881U (en) | Carpenter's engraver of dust absorption | |
| CN212287004U (en) | Deburring equipment with dust removal function for belt pulley machining | |
| CN211760338U (en) | Wall grinds paper-back edition and puts for building decoration | |
| CN115069711B (en) | Automatic change dust absorption and accurate instrument manufacturing platform of making an uproar that falls | |
| CN211490806U (en) | Polishing machine with good silencing effect for plate processing | |
| CN212553118U (en) | Clean efficient pottery apparatus for producing that polishes | |
| CN111085917B (en) | Trimming device for producing car lamp injection molding and using method thereof | |
| CN213319636U (en) | Dust removal device for production process of generator cover | |
| CN213164764U (en) | Burnishing device is used in mould contour machining | |
| CN210172166U (en) | Powder coating dust keeper | |
| CN211217625U (en) | Numerical control milling machine dust collector | |
| CN217368745U (en) | Novel stainless steel roller grinding equipment | |
| CN220533799U (en) | PU wheel abrasive machining mechanism convenient to clearance | |
| CN113245939A (en) | Deburring device is used in stop valve processing of environmental protection | |
| CN221849737U (en) | Dry-type dust collector that polishes | |
| CN223029320U (en) | A grinding device for processing accessories | |
| CN222155042U (en) | A mold grinding and maintenance device | |
| CN216577170U (en) | Automatic polishing machine | |
| CN214642609U (en) | Generator housing grinding device | |
| CN216542648U (en) | Polishing machine with automatic dust removal function for plate processing | |
| CN219444786U (en) | Dust collector for shot-blasting machine |
Legal Events
| Date | Code | Title | Description |
|---|---|---|---|
| PB01 | Publication | ||
| PB01 | Publication | ||
| SE01 | Entry into force of request for substantive examination | ||
| SE01 | Entry into force of request for substantive examination | ||
| GR01 | Patent grant | ||
| GR01 | Patent grant | ||
| CF01 | Termination of patent right due to non-payment of annual fee |
Granted publication date: 20230120 |
|
| CF01 | Termination of patent right due to non-payment of annual fee |